metalinstryment.com
Довідник по металорізальних верстатів та пресовому обладнанні

Електроустаткування і схеми фрезерных верстатів 6Р10, 6Р80, 6Р80Г, 6Р80Ш
схеми, опис, характеристики

Верстат горизонтальный фрезерный консольный 6Р80, 6Р80Г







Відомості про виробника консольно-фрезерных верстатів 6Р10, 6Р80, 6Р80Г, 6Р80Ш

Фрезерный горизонтальный верстат з поворотным столом (універсальний) моделі 6Т80 выпускался предприятием - Вильнюсский станкостроительный завод "Жальгирис".

Первую продукцию станкостроительный завод «Жальгирис» выпустил в 1947 году. Завод специализировался сначала на производстве сверлильных і поперечно-строгальных верстатів, затем выпускал головним образом горизонтальные, вертикальные, универсальные фрезерные верстати, фрезерные напівавтоматы, универсальные прецизионные специализированные фрезерные верстати





Верстати, выпускаемые Вильнюсским станкостроительным заводом "Жальгирис"



Електроустаткування консольно-фрезерных верстатів 6Р10, 6Р80, 6Р80Г, 6Р80Ш

Загальні відомості

Електроустаткування, установленное на станке, рассчитано на напряжение силовой ланцюги 380 В, 50 Гц трехфазного переменного тока. В ланцюги керування применены наступні напряжения:

На станке установлены три трехфазных короткозамкнутых асинхронных електродвигуна. Технічні данные електродвигателей приведены в перечне електроаппаратов к принципиальной електросхеме.

Електродвигун приводу фрезерной головки типа АОЛ2-21-4-С2, 1,1 кВт, 1400 об/мин, виконання М301.

Пускорегулирующая електроаппаратура смонтирована в навесном шкафу на правой боковой стенке верстата.

Ввод питающих проводов в електрошкаф може быть выполнен знизу или сверху через отверстие з резьбой TDV6 3/4", имеющееся в угольнике, установленном на задньої боковой стенке електрошафи. Для подключения сверху вводной угольник следует развернуть на 180°.

На передньої боковой стенке електрошафи установлена рукоятка вводного выключателя, сигнальная лампа, показывающая наличие напряжения в цепях керування при включенном вводном выключателе, і указатель нагрузки, показывающий нагрузку електродвигуна шпинделя в процентах к номинальной.

На левой боковой стенке верстата установлены выключатели електродвигателей шпинделя, фрезерной головки, подачі і електронасоса, а также кнопка «Толчок», предназначенная для кратковременного увімкнення електродвигателей.

На передньої стенке салазок установлена кнопочная станція з кнопками пуск верстата, останов верстата і ускоренное перемещение стола.

Для ускоренного переміщення стола в коробку подач встроена електромагнитная муфта МБХ.

Для лучшего освещения зоны обробки детали на станке установлены два светильника местного освещения.


Первоначальный пуск верстата

Перед пуском верстата необходимо проверить внешним осмотром надежность заземления верстата (пункт 1.5), исправность блокировок і монтажа електроустаткування.




Cхема електрична консольно-фрезерного верстата 6Р80, 6Р80Г. Силовая ланцюг

Схема електрична принципова 6Р80, 6Р80Г cтанок горизонтальный консольно-фрезерный

Електрична схема фрезерного верстата 6Р80

Схема електрична консольно-фрезерного верстата 6Р80. Дивитись у збільшеному масштабі



Cхема електрична фрезерного верстата 6Р80, 6Р80Г. Ланцюг керування

Схема електрична принципова 6Р80, 6Р80Г cтанок горизонтальный консольно-фрезерный

Електрична схема фрезерного верстата 6Р80

Схема електрична консольно-фрезерного верстата 6Р80. Дивитись у збільшеному масштабі




Опис роботи електросхеми

Принципиальная електросхема верстата показана на рис. 1 і 2 з перечнем електроаппаратов к ней.

Увімкненням вводного автоматичного выключателя А1 подается напряжение сети на зажимы А10, B10, C10, т. е. в первичные обмотки трансформаторов керування ТУ1, ТУ2, ТУЗ і на входные контакты магнитного пускателя КЛ.

Пуск верстата в работу осуществляется нажатием кнопки КУ2 (символ ---). При етом срабатывает магнитный пускатель КЛ, который, замкнув свои замыкающие контакты в силовой ланцюги, включает електродвигатели приводу шпинделя ДШ, приводу подачі ДП і електронасоса ДО.

Для раздельной роботи електродвигателей ДШ, ДГ, ДП, ДО имеются, соответственно, выключатели ПШ, ПГ, ВП, ВН. Кроме того, выключатель ПШ предназначен для изменения направления обертання електродвигуна ДШ, а выключатель ПГ - для изменения направления обертання електродвигуна ДГ.

Останов верстата осуществляется нажатием кнопки КУ1 (символ О). От нажатия післядней отключается магнитный пускатель КЛ, который, в свою очередь, выключает все електродвигатели.

При нажатии кнопки КУ1 замыкающим контактом включается магнитный пускатель КТ, который совместно з промежуточным реле РП, замкнув свои замыкающие контакты в ланцюги торможения, подает в ланцюг статоров електродвигателей постоянный ток. Происходит електродинамическое торможение електродвигателей. Длительность торможения определяет нажатое состояние кнопки КУ1.

Для увімкнення ускоренного переміщення стола имеется кнопка КУ4 (символ --), от нажатия которой, при включенном магнитном пускателе КЛ, включается електромагнитная муфта МБХ.

Для кратковременного увімкнення електродвигателей имеется кнопка КУ3 (символ Т).

Для увімкнення местного освещения на светильниках установлены выключатели BO1, BO2.


Захист, блокировки і сигналізація

Захист електроустаткування верстата от коротких замыканий в силовой ланцюги осуществляется автоматическими выключателями A1, A2 і в цепях керування — автоматическим выключателем A3 і предохранителями Пр1 — Пр3.

Захист от перегрузок електродвигателей приводу шпинделя ДШ і електронасоса ДО осуществляется, соответственно, тепловыми реле РТ1 і РТ2. Захист от перегрузок електродвигуна приводу подач ДП осуществляется автоматическим выключателем А2.

Минимальная защита електродвигателей обеспечивается магнитным пускателем КЛ.

Невозможность увімкнення електродвигателей при открытой задньої дверце верстата обеспечивается кінцівым выключателем ВК.

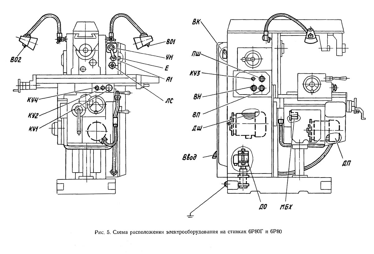
При включенном положении рукоятки вводного выключателя нельзя открыть дверцу електрошафи, а при открытой дверце — нельзя включить рукоятку вводного выключателя. Данная блокировка обеспечивается конструкцией рукоятки вводного выключателя. При необходимости включить вводной выключатель з открытой дверцей електрошафи для ремонтных целей необходимо нажать на шток Е (рис. 5 і 6), выдвигающийся при открывании дверцы.

О наличии напряжения сети в електрических цепях верстата при включенном вводном автоматическом выключателе А1 указывает сигнальная лампа ЛС.

После автоматичного отключения вводного выключателя рукоятка его остается в положении «включено». Сигнальная лампа при етом гаснет. Для повторного увімкнення необходимо отвести рукоятку в положение «Отключено» і затем переключить в положение «включено».




Список елементів схеми електрической принципиальной консольно-фрезерного верстата

Список елементів схеми електрической принципиальной консольно-фрезерного верстата

Список елементів схеми електрической фрезерного верстата

Список елементів схеми електрической фрезерного верстата. Скачать в увеличенном масштабе



Список елементів схеми електрической принципиальной консольно-фрезерного верстата

Список елементів схеми електрической фрезерного верстата

Список елементів схеми електрической фрезерного верстата. Скачать в увеличенном масштабе



Cхема розположення електроустаткування на вертикальних консольно-фрезерных верстатах 6Р10

Cхема розположення електроустаткування на консольно-фрезерных верстатах 6Р10

Cхема розположення електроустаткування на верстатах 6Р10

Cхема розположення електроустаткування на верстатах 6Р10. Скачать в увеличенном масштабе



Cхема розположення електроустаткування на горизонтальных консольно-фрезерных верстатах 6Р80, 6Р80Г

Cхема розположення електроустаткування на горизонтальных консольно-фрезерных верстатах 6Р80, 6Р80Г

Cхема розположення електроустаткування на верстатах 6Р80, 6Р80Г

Cхема розположення електроустаткування на фрезерных верстатах 6Р80, 6Р80Г. Скачать в увеличенном масштабе





Електроустаткування фрезерных верстатів Горьковского станкозавода, ГЗФС

Електроустаткування фрезерных верстатів 6T12, 6T13, 6T82, 6Т82Г, 6Т82Ш, 6T83, 6Т83Г, 6Т83Ш

Електроустаткування фрезерных верстатів 6P12, 6P13, 6Р82, 6Р82Г, 6Р82Ш, 6Р83, 6Р83Г, 6Р83Ш, 6Р12Б, 6Р13Б

Електроустаткування фрезерных верстатів 6М12П, 6М12ПБ, 6М13П, 6М13ПБ, 6М82, 6М82Ш, 6М82ГБ, 6М83, 6М83Ш

Електроустаткування фрезерных верстатів Вильнюсского станкозавода Жальгирис

Електроустаткування фрезерных верстатів 6Т10, 6Т80, 6Т80Г, 6Т80Ш

Електроустаткування фрезерных верстатів 6Р10, 6Р80, 6Р80Г, 6Р80Ш

Електроустаткування фрезерных верстатів 6Н10, 6Н80, 6Н80Г, 6Н80Ш

Електроустаткування фрезерных верстатів Дмитровского станкозавода, ДЗФС

Електроустаткування фрезерных верстатів 6Р11, 6Р81, 6Р81Г, 6Р81Ш

Електроустаткування фрезерных верстатів 6Н11, 6Н81, 6Н81Г, 6Н81А





Опис електроустаткування фрезерных верстатів. Відеоролик.





    Список литературы:

  1. Верстати фрезерные консольные 6Р80Г, 6Р80, 6Р10. Руководство по експлуатации 6Р80Г.00.000 РЭ, 1974
  2. Верстати фрезерные консольные 6Р80Г, 6Р80, 6Р10. Руководство по експлуатации електроустаткування 6Р80Г.00.000 РЭ1, 1974

  3. Игнатов В.А. Електроустаткування современных металлорежущих верстатів і обрабатывающих комплексов, 1991
  4. Комаров А.Ф. Наладка і експлуатация електроустаткування металлорежущих верстатів, 1975
  5. Розман Пристрій, наладка і експлуатация електроприводов металлорежущих верстатів, 1985
  6. Чернов Е.А. Комплектные електроприводы верстатів з ЧПУ, 1989
  7. Харизоменов И.В. Электрическое обладнання металлорежущих верстатів, 1958