metalinstryment.com
Довідник по металорізальних верстатів та пресовому обладнанні

6Т80Ш Верстат фрезерный консольный широкоуніверсальний
схеми, опис, характеристики

6Т80Ш Верстат широкоуніверсальний фрезерный консольный







Відомості про виробника широкоуниверсальных верстатів 6Т80Ш

Широкоуніверсальний фрезерный верстат 6Т80Ш выпускался предприятием - Вильнюсский станкостроительный завод "Жальгирис".

В 1947 году станкостроительный завод «Жальгирис» выпустил первую продукцию - 13 настольно-сверлильных верстатів.

В 1949 году было начато освоение более сложной продукции – поперечно–строгальных верстатів, за которыми післядовало производство горизонтальных, вертикальних і универсальных консольно–фрезерных верстатів.





Верстати, выпускаемые Вильнюсским станкостроительным заводом "Жальгирис"


6Т80Ш Верстат фрезерный консольный широкоуніверсальний. Назначение і область применения

Широкоуніверсальний консольно-фрезерный верстат 6Т80Ш выпускался в 80-х годах прошлого века і считался современным фрезерным универсальным верстатом. Верстат 6Т80Ш заменил в производстве устаревшую модель 6Р80ш і был заменен на более совершенную модель 6Е80ш.

Верстат 6Т80Ш к нулевому типоразмеру консольно-фрезерных верстатів (размер робочого стола нулевого типоразмера - 200 х 800 мм) і предназначен для обробки небольших деталей.

Широкоуніверсальний консольный верстат з вертикальным поворотным шпинделем моделі 6Т80Ш, предназначен для выполнения разнообразных фрезерных работ в условиях индивидуального і серийного производства.

На верстатах 6Т80Ш удобно фрезеровать плоскости, торцы, скосы, пазы на небольших деталях разнообразной конфигурации из стали, чугуна, цветных металлов і пластмасс.

Принцип роботи і особливості конструкції верстата

Технічні характеристики верстатів позволяют полностью использовать возможности инструмента из быстрорежущей стали, а также оснащенного пластинками из твердого сплава.

Верстати выпускаются в исполнениях:

Верстати 6Т80Ш выпускаются для електросети трехфазного переменного тока напряжением от 220 до 500 В, частотой 50 или 60 Гц і напряжением електросети местного освещения 24 или 36 В.

Виконання верстата оговаривается потребителем при заказе.

Поворотная шпиндельна головка з выдвижной пинолью на станке 6Т80Ш позволяет производить фрезерование наклонных поверхностей деталей.

Использование делительной головки, поворотного стола і тисков расширяет технологические возможности верстатів.

Класс точності верстата П по ГОСТ 8—77.


Верстати консольно-фрезерные. Загальні відомості

Горизонтальные консольно-фрезерные верстати имеют горизонтально расположенный, не меняющий своего места шпиндель. Стол може перемещаться перпендикулярно к оси шпинделя в горизонтальном і вертикальном направлениях і вдоль оси, параллельной ей.

Універсальные консольно-фрезерные верстати отличаются от горизонтальных тем, что имеют стол, который може поворачиваться на требуемый угол.

Вертикальные консольно-фрезерные верстати имеют вертикально расположенный шпиндель, перемещающийся вертикально і в некоторых моделях поворачивающийся. Стол може перемещаться в горизонтальном направлении перпендикулярно к оси шпинделя і в вертикальном направлении.

Широкоуниверсальные консольно-фрезерные верстати в отличие от универсальных имеют помимо основного горизонтального шпинделя приставную головку со шпинделем, поворачивающимся вокруг вертикальной і горизонтальной осей.

Бесконсольно-фрезерные верстати имеют шпиндель, расположенный вертикально і перемещающийся в етом направлении. Стол перемещается только в продольном і поперечном направлениях.

Консольно-фрезерные верстати горизонтальные і вертикальные - ето наиболее распространенный тип верстатів, применяемых для фрезерных работ. Название консольно-фрезерные верстати получили от консольного кронштейна (консоли), который перемещается по вертикальным направляющим станины верстата і служит опорой для горизонтальных перемещений стола.

Типорозміри консольно-фрезерных верстатів принято характеризовать по величине рабочей (крепежной) поверхности стола. Консольно-фрезерные верстати могут мати горизонтальное, универсальное (широкоуниверсальные) і вертикальное виконання при одной і той же величине рабочей поверхности стола. Сочетание разных исполнений верстата при одинаковой основной размерной характеристике стола называют размерной гаммой верстатів.

В СССР было освоено производство консольно-фрезерных верстатів пяти типорозмірів:
№ 0; № 1; № 2; № 3 і № 4, причем по каждому размеру выпускалась полная гамма верстатів — горизонтальные, универсальные і вертикальные. Каждый верстат одной размерной гаммы имел в шифре одинаковое обозначение, соответствующее размеру рабочей поверхности стола.

В зависимости от размера рабочей поверхности стола различают наступні розміри консольно-фрезерных верстатів:

Размер Гамма верстатів Размер стола, мм
0 6Р10, 6Р80, 6Р80Г, 6Р80Ш, 6Т80, 6Т80Ш 200 х 800
1 6Н11, 6Н81, 6Н81Г; 6Р11, 6Р81, 6Р81Г, 6Р81Ш 250 х 1000
2 6М12П, 6М82, 6М82Г; 6Р12, 6Р82, 6Р82Ш; 6Т12, 6Т82, 6Т82Г, 6Т82Ш 320 х 1250
3 6М13П, 6М83, 6М83Г; 6Р13, 6Р83; 6Т13, 6Т83, 6Т83Г 400 х 1600
4 6М14П, 6М84, 6М84Г 500 х 2000

В соответствии з размерами стола меняются габаритные розміри самого верстата і его основних вузлів (станины, стола, салазок, консоли, хобота), мощность електродвигуна і величина наибольшего переміщення (хода) стола в продольном, салазок в поперечном і консоли в вертикальном направлениях.


Обозначение консольно-фрезерных верстатів

6 - фрезерный верстат (номер группы по классификации ЭНИМС)

Т – серия (поколение) верстата (Б, К, Н, М, Р, Т)

8 – номер подгруппы (1, 2, 3, 4, 5, 6, 7, 8, 9) по классификации ЭНИМС (8 - горизонтально-фрезерный)

0 – виконання верстата - типоразмер (0, 1, 2, 3, 4) (0 - размер робочого стола - 200 х 800)


Буквы в кінці обозначения модели:

Г – верстат горизонтальный консольно-фрезерный з неповоротным столом

К – верстат з копировальным пристрійм для обробки криволинейной поверхности

Б – верстат з підвищеної производительностью (повышенный диапазон чисел оборотів шпинделя, подач стола і повышенная мощность двигуна головного руху).

П – повышенная точность верстата - (н, п, в, а, с) по ГОСТ 8-ХХ

Ш – верстат широкоуніверсальний

Ф1 – верстат з пристрійм цифровой индикации УЦИ і преднабором координат

Ф2 – верстат з позиционной системой числового керування ЧПУ

Ф3 – верстат з контурной (непрерывной) системой ЧПУ

Ф4 – верстат многоцелевой з контурной системой ЧПУ і магазином инструментов


Посадочные і присоединительные базы фрезерного верстата 6Т80Ш

6Т80Ш присоединительные базы універсального горизонтального консольно-фрезерного верстата

Посадочные і присоединительные базы фрезерного верстата 6Т80Ш


Загальний вигляд універсального фрезерного верстата 6Т80Ш

Загальний вигляд  6Т80Ш cтанок широкоуніверсальний консольно-фрезерный

Фото фрезерного верстата 6Т80Ш


Загальний вигляд  6Т80Ш cтанок широкоуніверсальний консольно-фрезерный

Фото консольного стола фрезерного верстата 6Т80Ш


Розташування складових частин на станке 6Т80Ш

Розташування складових частин на широкоуниверсальном консольно-фрезерном станке 6Т80Ш

Розташування складових частин на станке 6Т80Ш

Список складових частин фрезерного верстата 6Т80Ш

  1. Механізм переключения вертикального переміщення стола 6Р80Г.42
  2. Салазки - 6Т80Ш.50
  3. Стол - 6Т80Ш.51
  4. Система охлаждения - 6Т80Ш.60
  5. Электрошкаф - 6Р80Г.70
  6. Механізм переключения поперечного переміщення стола - 6Р80Г.42
  7. Станина - 6Т80Ш.10
  8. Коробка подач - 6Т80Г.30
  9. Механізм переключения подач - 6Т80Ш.32
  10. Механізм переключения частоти обертання горизонтального шпинделя - 6Р80Г.22
  11. Коробка швидкостей і шпиндель - 6Р80Г.20
  12. Хобот со шпиндельной головкой - 6Т80Ш.75
  13. Защитное пристрій - 6Р80Г.17
  14. Механізм переключения частоти обертання вертикального шпинделя - 6Т80Ш.73
  15. Защитное пристрій - 6P10.23
  16. Подвеска - 6Р80Г.16-03
  17. Подвеска - 6Р80Г.13-03
  18. Консоль - 6Т80Ш.40
  19. Хобот -
  20. Коробка швидкостей -
  21. Защитное пристрій -
  22. Головка шпиндельна -

Розташування органів керування широкоуниверсальным консольно-фрезерным верстатом 6Т80Ш

Органы керування 6Т80Ш cтанком широкоуниверсальным консольно-фрезерным

Розташування органів керування верстатом 6Т80Ш

Список органів керування фрезерным верстатом 6Т80Ш

  1. Рукоятка ручного вертикального переміщення стола
  2. Маховик ручного поперечного переміщення салазок
  3. Рукоятка увімкнення вертикальной подачі
  4. Червяк выборки люфта на продольном винте
  5. Маховик ручного переміщення стола
  6. Зажим стола
  7. Переключатель "Освещение"
  8. Рукоятка зажиму гильзы шпинделя
  9. Кран системы охлаждения
  10. Рукоятка увімкнення електросети
  11. Кнопка швидкого переміщення стола
  12. Кнопка "Пуск"
  13. Кнопка "Стоп" аварийная
  14. Рукоятка зажиму салазок
  15. Рукоятка увімкнення поперечної подачі
  16. Рукоятка зажиму консоли
  17. Выключатель електродвигуна подачі
  18. Выключатель електронасоса охлаждения
  19. Переключатель направления обертання горизонтального шпинделя
  20. Кнопка "Толчок"
  21. Переключатель направления обертання вертикального шпинделя
  22. Рукоятка переключения перебора горизонтального шпинделя
  23. Рукоятка переключения швидкостей горизонтального шпинделя
  24. Ручное перемещение хобота
  25. Зажим хобота на станине
  26. Зажим головки фрезерной к хоботу
  27. Червяк поворота головки фрезерной в поздовжньої плоскости стола
  28. Червяк поворота головки фрезерной в поперечної плоскости стола
  29. Рукоятка перебора вертикального шпинделя
  30. Ручка переключения перебора шкивов вертикального шпинделя
  31. Рукоятка переключения швидкостей вертикального шпинделя
  32. Рукоятка переміщення гильзы вертикального шпинделя
  33. Рукоятка увімкнення поздовжньої подачі
  34. Рукоятка перебора коробки подач
  35. Рукоятка переключения подач
  36. Винты зажиму салазок верстата 6Т80
  37. Кнопка "Стоп"




Кінематична схема фрезерного верстата 6Т80Ш

Кінематична схема 6Т80Ш cтанок широкоуніверсальний консольно-фрезерный

Кінематична схема фрезерного верстата 6Т80Ш

Схема кінематична консольно-фрезерного верстата 6Т80Ш. Скачать в увеличенном масштабе



Опис складових частин фрезерного верстата 6Т80Ш

Станина верстата

Станина является базовой частью верстата, на которой монтируется все остальные составные частини і механізмы. Стойка станины жестко соединена з плитой (основанием), являвшейся резервуаром охлаждающей жидкости.

Хобот верстата

На хоботе верстата 6Т80Ш смонтирована вертикальная шпиндельна головка, а на направляючих хобота крепятся подвески (рис. 21, 22) для роботи з длинными оправками. Подвески имеют опору качения і опору ковзання. Подвески на верстатах не взаимозаменяемые, Для установки подвесок головку развернуть вверх.

Коробка швидкостей

Коробка швидкостей консольно-фрезерного верстата 6Т80Ш

Коробка швидкостей консольно-фрезерного верстата 6Т80Ш

Коробка швидкостей консольно-фрезерного верстата 6Т80Ш. Скачать в увеличенном масштабе



Вертикальная шпиндельна головка консольно-фрезерного верстата 6Т80Ш

Вертикальная шпиндельна головка консольно-фрезерного верстата 6Т80Ш

Вертикальная шпиндельна головка консольно-фрезерного верстата 6Т80Ш. Скачать в увеличенном масштабе



Коробка швидкостей горизонтального шпинделя верстатів 6Т80Ш (рис. 23) і верстата 6Т10 (рис. 24) смонтирована в станине. Соединение з електродвигуном осуществляется через клиноременную передачу. Осмотр і доступ к коробке швидкостей - через окно вузла переключения швидкостей з левой стороны станины.

Привід вертикального шпинделя верстата 6Т80Ш осуществляется от електродвигуна, вынесенного на верх головки, через клиноременную передачу, роликовую муфту 8 сцепления і коробку швидкостей.

Шпиндель смонтирован в выдвижной гильзе 7.

Шпиндельная головка верстата 6Т80Ш крепится к хоботу через зажим (рис. 27) і имеет возможность поворота в поперечном і продольном направлениях стола.

Консоль і коробка подач

Коробка подач консольно-фрезерного верстата 6Т80Ш

Коробка подач консольно-фрезерного верстата 6Т80Ш

Коробка подач консольно-фрезерного верстата 6Т80Ш. Скачать в увеличенном масштабе



Привід подач размещен в консоли. Спереди, в нижнюю часть консоли встроен фланцевый електродвигатель, з левой стороны консоли крепится коробка подач з механізмом переключения подач і механізмом увімкнення вертикального переміщення стола, з правой - механізм увімкнення поперечного переміщення стола.

Восемнадцатиступенчатая коробка подач (рис. 30) имеет ланцюг ускоренного ходу з предохранительной муфтой 2, исключающей возможность поломки приводу подач при перегрузках.

На одном валу з предохранительной муфтой смонтированы електромагнитная муфта I і обгонная муфта 3. Увімкнення быстрых перемещений стола осуществляется кнопкой II (см.рис. 12). Механізм переключения подач (ряс. 31) состоит из рукояток I і 2, кулачка з профильными пазами 3, лимба 6 ж рычагов 5 для переключения зубчатых колес

Переключення зубчатых колес коробки подач происходит при вращении лимба 6 вокруг оси рукояткой 2 і при вращении оси 4 рукояткой I.

Увімкнення вертикального і поперечного механических перемещений стола осуществляется рукоятками 3 і 15 (см.рис. 12).

Направление руху рукояток мнемонически увязано з направлением руху стола.

Ручное вертикальное перемещение стола осуществляется рукояткой I, поперечное - маховиком 2.

Задня стенка консоли выполнена в виде направляючих "ласточкин хвост".

Верхня часть консоли имеет прямоугольные направляющие, по которым перемещаются салазки.

Стол з салазками

Стол з салазками консольно-фрезерного верстата 6Т80Ш

Стол з салазками консольно-фрезерного верстата 6Т80Ш

Стол з салазками консольно-фрезерного верстата 6Т80Ш. Скачать в увеличенном масштабе



Салазки перемещаются на консоли в поперечном направлении і имеют направляющие для стола (рис. 32).

Со столом связан винт 2 поздовжньої подачі. В салазках находятся конические шестерни 5, вращающие винт, рукоятки і механізм увімкнення поздовжньої подачі.

При работе методом попутного фрезерування предусмотрена выборка зазоров между резьбой ходового гвинта 2 ж гаек 3,4 поворотом червяка I.

При работе методом встречного фрезерування сильно изнашивается ходовой винт. Поетому, если на станке длительное время выполняется одна работа, следует менять участок роботи гвинта.

Кронштейн з гайкой

Для осуществления поперечної подачі служит кронштейн з гайкой (рис. 33), который закреплен на корпуса салазок і соединен з винтом консоли.





Схема електрична фрезерного верстата 6Т80Ш

Схема електрична 6Т80Ш cтанок широкоуніверсальний консольно-фрезерный

Електроустаткування верстата 6Т80Ш

Електроустаткування силовой ланцюги каждого из указанных верстатів може быть выполнено на наступні величины напряжений трехфазного переменного тока частотой 50 і 60 Гц: 220, 380, 400, 415, 440, 500 В.

В цепях керування применяются наступні напряжения:

Выбор робочого напряжения силовой ланцюги, ланцюги керування магнитных пускачів і ланцюги местного освещения производит Заказчик . Відомості об етих данных для каждого в отдельности верстата приводятся в свидетельстве о приемке верстата /см. руководство по експлуатации верстата 6Т80Ш.00.000 РЭ/.

На станке установлены четыре трехфазных асинхронных електродвигуна:


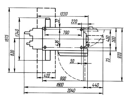
Настановне креслення фрезерного верстата 6Т80Ш

6Т80Ш Настановне креслення cтанок широкоуніверсальний консольно-фрезерный

Настановне креслення фрезерного верстата 6т80ш




6Т80Ш Верстат фрезерный консольный широкоуніверсальний. Відеоролик.



Технічні характеристики верстатів моделей 6Т80Ш

Наименование параметра 6Т10 6Т80 6Т80Г 6Т80Ш
Основні параметри верстата
Класс точності по ГОСТ 8-82 Н Н Н П
Розміри рабочей поверхности стола (длина х ширина), мм 200 х 800 200 х 800 200 х 800 200 х 800
Наименьшее і наибольшее расстояние от торца вертикального шпинделя до стола, мм 45..400 - - 15..400
Расстояние от оси горизонтального шпинделя до стола, мм - 0..360 0..360 0..400
Расстояние от оси горизонтального шпинделя до хобота, мм 123 123 123 123
Расстояние от оси шпинделя фрезерной головки до направляючих станины (вылет), мм 300 - - 130..625
Наибольший диаметр фрезы, устанавливаемой на станке, мм 100 100 100 100
Рабочий стол
Наибольшее перемещение стола продольное, мм 560 560 560 560
Наибольшее перемещение стола поперечное, мм 220 220 220 220
Наибольшее перемещение стола вертикальное механическое/ ручное, мм 355 360 360 400
Наибольшие розміри заготовки, устанавливаемой на столе (длина_ширина_высота), мм 800 х 260 х 450 800 х 260 х 400 800 х 260 х 400 800 х 260 х 450
Максимальная нагрузка на стол (по центру), кг 200 200 200 200
Число Т-образных пазов Розміри Т-образных пазов 3 3 3 3
Перемещение стола на одно деление лимба продольное/ поперечное/ вертикальное, мм 0,05/ 0,05/ 0,02 0,05/ 0,05/ 0,02 0,05/ 0,05/ 0,02 0,05/ 0,05/ 0,02
Быстрый ход стола продольный/ поперечний/ вертикальний, мм/мин 3,35/ 3,35/ 1,7 3,35/ 3,35/ 1,7 3,35/ 3,35/ 1,7 3,35/ 3,35/ 1,7
Число ступеней рабочих подач стола 18 18 18 18
Пределы рабочих подач. Продольных і поперечных, мм/мин 20..1000 20..1000 20..1000 20..1000
Пределы рабочих подач. Вертикальных, мм/мин 10..500 10..500 10..500 10..500
Угол поворота стола (в крайнем переднем положении), град - ±45 (-) - -
Усилие різання в продольном направлении, Н 6864,6 6864,6 6864,6 6864,6
Шпиндель
Количество швидкостей вертикального шпинделя 12 - - 12
Частота обертання горизонтального шпинделя, об/мин - 50..2240 50..2240 50..2240
Количество швидкостей горизонтального шпинделя - 12 12 12
Перемещение пиноли (гильзы) вертикального шпинделя, мм 60 - - 70
Перемещение пиноли шпинделя на одно деление лимба, мм 0,05 - - 0,05
Поворот головки шпинделя в поздовжньої плоскости, град ±45 - - ±45
Наибольший крутящий момент на горизонтальном шпинделе, Н.м - 155 155 155
Наибольший крутящий момент на вертикальном шпинделе, Н.м 155 - - 117
Ескіз кінця горизонтального шпинделя по ГОСТ 836-72, ГОСТ 24644-81 40 40 40 40
Ескіз кінця шпинделя фрезерной головки по ГОСТ 836-72, ГОСТ 24644-81 40 - - 40
Масса фрезерной головки, кг - - - 82
Шпиндель фрезерной головки
Угол поворота фрезерной головки в поперечної плоскости, град - - - +30°-45
Внутренний конус шпинделя фрезерной головки - - - 40
Частота обертання шпинделя фрезерной головки, об/мин - - - 56..2500
Количество швидкостей шпинделя фрезерной головки - - - 12
Привід і електрообладнання
Количество електродвигателей на станке 3 3 3 4
Електродвигун приводу головного руху М1, кВт 3,0 3,0 3,0 3,0
Електродвигун приводу шпинделя поворотной головки М2, кВт - - - 1,1
Електродвигун приводу подач М3, кВт 0,75 0,75 0,75 0,75
Электронасос охлаждающей жидкости М4, кВт 0,12 0,12 0,12 0,12
Габарити і масса верстата
Габарити верстата (длина х ширина х высота), мм 1500 х 1875 х 1808 1600 х 1875 х 1528 1600 х 1875 х 1528 1600 х 1875 х 2080
Масса верстата, кг 1340 1315 1300 1430

    Список литературы:

  1. Верстати фрезерные консольные консольно-фрезерные верстати 6Т80Ш, 6Т80Г, 6Т80 і 6Т10. Руководство по експлуатации 6Т80Ш.00.000 РЭ, 1987
  2. Верстати фрезерные консольные консольно-фрезерные верстати 6Т80Ш, 6Т80Г, 6Т80 і 6Т10. Руководство по експлуатации електроустаткування 6Т80Ш.00.000 РЭ1, 1987
  3. Верстати фрезерные консольные консольно-фрезерные верстати 6Т80Ш, 6Т80Г, 6Т80 і 6Т10. Альбом по запасным частям 6Т80Ш.00.000 РЭ2, 1987

  4. Аврутин С.В. Основы фрезерного дела, 1962
  5. Аврутин С.В. Фрезерне дело, 1963
  6. Ачеркан Н.С. Металлорежущие верстати, Том 1, 1965
  7. Барбашов Ф.А. Фрезерне дело 1973, с.141
  8. Барбашов Ф.А. Фрезерные роботи (Профтехобразование), 1986
  9. Блюмберг В.А. Справочник фрезеровщика, 1984
  10. Григорьев С.П. Практика координатно-расточных і фрезерных работ, 1980
  11. Копылов Р.Б. Работа на фрезерных верстатах,1971
  12. Косовский В.Л. Справочник молодого фрезеровщика, 1992, с.180
  13. Кувшинский В.В. Фрезерование,1977
  14. Ничков А.Г. Фрезерные верстати (Библиотека станочника), 1977
  15. Пикус М.Ю. Справочник слесаря по ремонту металлорежущих верстатів, 1987
  16. Плотицын В.Г. Расчёты настроек і наладок фрезерных верстатів, 1969
  17. Плотицын В.Г. Наладка фрезерных верстатів,1975
  18. Рябов С.А. Современные фрезерные верстати і их оснастка, 2006
  19. Схиртладзе А.Г., Новиков В.Ю. Технологическое обладнання машиностроительных производств, 1980
  20. Тепинкичиев В.К. Металлорежущие верстати, 1973
  21. Чернов Н.Н. Металлорежущие верстати, 1988
  22. Френкель С.Ш. Справочник молодого фрезеровщика (3-е изд.) (Профтехобразование), 1978