metalinstryment.com
Довідник по металорізальних верстатів та пресовому обладнанні

6Н10 Верстат консольно-фрезерный вертикальний
характеристики, схеми, опис

6Н10 Загальний вигляд  консольного фрезерного верстата







Відомості про виробника фрезерного вертикального верстата 6Н10

Вертикальный фрезерный верстат 6Н10 выпускался предприятием Вильнюсский станкостроительный завод "Жальгирис".

В 1947 году станкостроительный завод «Жальгирис» выпустил первую продукцию - 13 настольно-сверлильных верстатів.

В 1949 году было начато освоение более сложной продукции – поперечно–строгальных верстатів, за которыми післядовало производство горизонтальных, вертикальних і универсальных консольно–фрезерных верстатів.





Верстати, выпускаемые Вильнюсским станкостроительным заводом "Жальгирис"


6Н10 Верстат консольно-фрезерный вертикальний. Назначение, область применения

Верстат вертикальний консольно-фрезерный 6Н10 предназначен для фрезерування всевозможных деталей небольшого размера из стали, цветных металлов, пластмасс і других материалов.

Модели консольно-фрезерных верстатів: 6н80, 6н80г, 6Н10, 6н80ш составляют линейку фрезерных верстатів нулевого типоразмера (Стол 200 х 800 мм). Базовая модель линейки модель 6н80г, а моделі 6н80, 6Н10, 6н80ш — его модификации.

Особливості конструкції і принцип роботи верстата 6Н10

Вертикальный шпиндель верстата 6Н10 получает 12 ступеней скорости (50..2240 об/мин) от отдельного електродвигуна 3 кВт і коробки швидкостей. Перебор коробки швидкостей размещен на отдельном валу і вместе со шпинделем встроен во фрезерную головку.

Поворотная фрезерна головка з выдвижной гильзой вертикально-фрезерного верстата моделі 6Н10 позволяет производить фрезерные роботи на наклонных поверхностях детали.

Верстат предназначен для выполнения различных фрезерных работ в условиях единичного і серийного производства.

Шероховатость обработанной поверхности при чистовых режимах різання V 6.

Встраивание верстата в автоматическую линию не предусмотрено.

Класс точності верстата Н.

Пределы использования верстатів 6Н10

Пределы использования верстатів на полную величину указанных в паспорте ходов можно использовать только при отсутствии на столе верстата деталей і устройств, ограничивающих перемещение стола. Например, при использовании круглого поворотного стола і при установці в шпинделе оправки з фрезой сокращается вертикальний ход стола; при установці делительной головки з гітарою сокращается продольный ход стола; при установці обрабатываемых деталей между столом і зеркалом станины сокращается поперечний ход стола.

Для использования полных механических перемещений стола необходимо установить выключающие упоры в крайние положения. При етом необходимо следить за работой перемещающихся вузлів верстата, чтобы исключить возможность их поломки.

При работе з механическим приводом делительная головка устанавливается на правом кінці стола. Шпиндель делительной головки получает вращение от ходового гвинта стола через сменные шестерни гітари, для установки которых необходимо снять защитный кронштейн на правом кінці стола.

Режим роботи верстата 6Н10

При высоких і средних числах оборотів шпинделя пределы использования верстатів ограничены, головним образом, допустимыми значениями швидкостей різання для фрез і мощностью електродвигуна головного руху.

Если на некоторых режимах возникают вибрации, то рекомендуется изменить величину подачі на зуб или применить фрезы з неравномерным шагом і большим углом наклона стружечных канавок.

Для достижения високою чистоты поверхностей і високою точності размеров при работе фрезами из быстрорежущей стали рекомендуется работать при подаче на зуб S = 0,02..0,03 мм, при глубине фрезерування t = 0,3..0,5 мм і скорости різання V = 17..25 м/мин.


Габарит робочого простору консольно-фрезерного верстата 6Н10

6Н10 Габарит робочого простору універсального вертикального консольно-фрезерного верстата

Габарит робочого простору фрезерного верстата 6Н10


Загальний вигляд вертикального консольно-фрезерного верстата 6Н10

Фото вертикального консольно-фрезерного верстата 6н10

Фото консольно-фрезерного верстата 6н10

Фото консольно-фрезерного верстата 6н10. Дивитись у збільшеному масштабі



Фото вертикального консольно-фрезерного верстата 6н104

Фото консольно-фрезерного верстата 6н104

Фото консольно-фрезерного верстата 6н104. Дивитись у збільшеному масштабі



6Н10 Загальний вигляд  консольно-фрезерного верстата

Фото фрезерного верстата 6Н10


6Н10 Загальний вигляд  консольно-фрезерного верстата

Фото фрезерного верстата 6Н10


6Н10 Загальний вигляд  консольно-фрезерного верстата

Фото фрезерного верстата 6Н10


6Н10 Загальний вигляд  консольно-фрезерного верстата

Фото фрезерного верстата 6Н10. Коробка подач


Розташування складових частин консольно-фрезерного верстата 6Н10

6Н10 Список складових частин вертикально-фрезерного верстата

Розташування складових частин фрезерного верстата 6Н10

Список складових частин консольно-фрезерного верстата 6Н10

  1. Станина - Н10.10
  2. Хобот -
  3. Поддержки -
  4. Подвеска -
  5. Главный привід - H10.20
  6. Коробка швидкостей -
  7. Шпиндельный узел (для 6н10 - головка поворотная) - Н10.21
  8. Механізм переключения швидкостей - Н10.22
  9. Механізм переключения швидкостей -
  10. Головка переходная —
  11. Головка накладная -
  12. Коробка подач - 80Г.30
  13. Механізм переключения подач - 80Г.32
  14. Консоль - 80Г.40
  15. Механізм переключения поперечных і вертикальних подач - 80Г.42
  16. Стол - Н80Г.51
  17. Салазки - 80Г.50
  18. Електроустаткування - Н80Г.8

Розташування органів керування консольно-фрезерным верстатом 6Н10

6Н10 Органы керування вертикально-фрезерного верстата

Розташування органів керування фрезерным верстатом 6Н10

Список органів керування консольно-фрезерным верстатом 6Н10

  1. Рукоятка ручного переміщення консоли
  2. Рукоятка ручного переміщення салазок
  3. Рукоятка переключения подач
  4. Рукоятка увімкнення механической поперечної или вертикальной подачі
  5. Рукоятка ручного переміщення стола
  6. Упоры виключення механического переміщення стола
  7. Рукоятка увімкнення механической поздовжньої подачі
  8. Зажим пиноли шпинделя
  9. Рукоятка переміщення пиноли шпинделя
  10. Кнопки "Пуск" верстата
  11. Кнопка "Стоп" верстата
  12. Рукоятка зажиму салазок
  13. Рукоятка увімкнення ускоренного ходу
  14. Переключатель направления обертання шпинделя
  15. Выключатель електродвигуна подач
  16. Выключатель електронасоса охлаждения
  17. Выключатель електросети
  18. Рукоятка переключения швидкостей
  1. Рукоятка переключения перебора
  2. Кнопка "Толчок" шпинделя
  3. Упоры виключення механического переміщення салазок




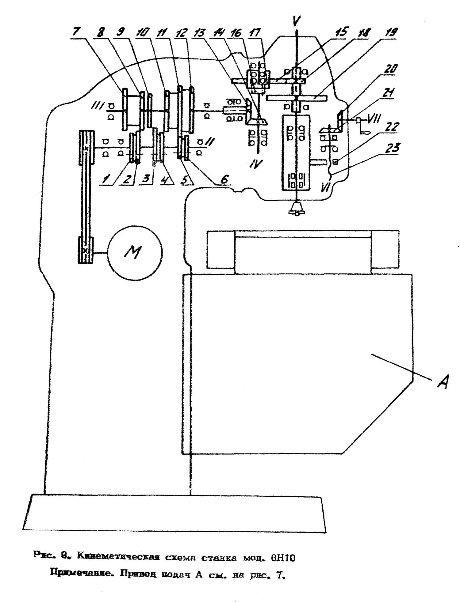
Схема кінематична консольно-фрезерного верстата 6Н10

6Н10 Схема кінематична вертикально-фрезерного верстата

Кінематична схема фрезерного верстата 6Н10

1. Кінематична схема вертикально-фрезерного верстата 6Н10. Дивитись у збільшеному масштабі

2. Cхема розположення підшибників фрезерного верстата 6Н10. Дивитись у збільшеному масштабі



6Н10 Схема кінематична вертикально-фрезерного верстата

Кінематична схема фрезерного верстата 6Н80ш

Кінематична схема вертикально-фрезерного верстата 6Н10. Дивитись у збільшеному масштабі



Пристрій і робота верстата 6Н10

Главный привід верстата 6Н10

Кинематические схеми головного приводу верстатів 6Р80Г і 6Р80 одинаковы. Вращение шпинделя осуществляется от електродвигуна через клиноременную передачу і коробку швидкостей. При перемещении блоков шестерен на валу II-II і переключении шестерен перебора на шпинделе получается 12 швидкостей.

Кінематична схема головного приводу верстата 6Н10 аналогична схеме верстатів 6Р80Г і 6Р80, только перебор размещен на отдельном валу і вместе со шпинделем встроен во фрезерную головку.

Привід подач верстата 6Н10

Кінематична схема приводу подач одинакова для всех верстатів. Вращение валов VIII, IX, X, XI, XII, XIII приводу подач осуществляется от електродвигуна.

Рабочая подача осуществляется при отключенной електромагнитной муфте. Вращение от коробки подач передається через обгонную муфту на вал консоли XIV.

Кинематическая ланцюг ускоренных перемещений стола идет от електродвигуна через валы VIII, IX, X, XIII, електромагнитную муфту, обгонную муфту і вал консоли XIV.

Увімкнення і реверсирование продольных, поперечных і вертикальних подач производится двухсторонними кулачковыми муфтами 25, 32, 39.

Станина верстата 6Н10

Станина верстатів состоит из основания, стойки, електрошафи і кожуха.

На основании установлены: стойка, кронштейн з гайкой гвинта подъема консоли і насос охлаждения.

Внутренняя полость основания является резервуаром для охлаждающей жидкости.

С правой стороны стойки прикреплен електрошкаф, в верхней частини — коробка швидкостей і механізм переключения швидкостей.

Особенностью станины верстата 6Н10 является наличие фланца в верхней її частини для крепления фрезерной головки.




Коробка швидкостей і шпиндель верстата 6Н10

Поворотная головка вертикального консольно-фрезерного верстата 6Н10

Поворотная головка вертикального консольно-фрезерного верстата 6Н10

Поворотная головка вертикального консольно-фрезерного верстата 6Н10. Дивитись у збільшеному масштабі



Привід шпинделя верстатів 6н10 состоит из електродвигуна, клиноременной передачи, шестиступенчатой коробки швидкостей, шпинделя, перебора і выдвижной гильзы, размещенных в корпусе фрезерной головки.

В качестве передньої опори шпинделя применены двухрядные роликовые підшипники з посадкой внутреннего кольца на конус. Для восприятия осевых усилий в задньої опоре установлены радиально-упорные шарикопідшипники.

Консоль і коробка подач верстата 6Н10

Привід подач размещен в консоли. Спереди, в нижнюю часть консоли, встроен фланцевый електродвигатель, з левой стороны консоли крепится коробка подач з механізмом переключения подач і механізмом увімкнення вертикального переміщення консоли, а з правой — механізм переміщення салазок.

12-ступенчатая коробка кроме ланцюги рабочих подач имеет ланцюг ускоренного ходу. В коробке подач расположена предохранительная муфта, исключающая возможность поломки шестерен при перегрузке.

На одном валу з предохранительной муфтой смонтированы електромагнитная муфта і обгонная муфта. Увімкнення быстрых перемещений стола, салазок і консоли осуществляется кнопкой, расположенной на передньої стенке салазок.

Рукоятка і маховик ручных перемещении стола в поперечном і вертикальном направлениях расположены на консоли спереди.

Механізм переключения подач состоит из рукоятки, диска з профильными пазами і рычагов. При движении рукоятки вверх или вниз диск поворачивается і рычаги перемещают вилки з шестернями.

Увімкнення механического переміщення консоли і салазок осуществляется при помощи рукояток, расположенных з левой і правой сторон консоли. Направление руху рукоятки мнемонически увязано з направлением руху консоли і салазок.

Задня стенка консоли выполнена в виде направляючих профиля «ласточкин хвост».

С правой стороны сзади консоли находится рукоятка для закрепления консоли на стойке.

Верхня часть консоли имеет прямоугольные направляющие, по которым перемещаются салазки.

Стол і салазки верстата 6Н10

Салазки перемещаются в поперечном направлении на консоли і имеют направляющие для стола.

Со столом связан винт поздовжньої подачі. В салазках находятся конические шестерни, вращающие винт, рукоятка і механізм увімкнення поздовжньої подачі стола.

Для роботи методом попутного фрезерування предусмотрен механізм выборки зазоров между резьбой ходового гвинта і гаек.

При работе методом встречного фрезерування сильно изнашивается ходовой винт. Поетому, когда на станке длительное время выполняется одна работа, следует менять участок роботи гвинта.





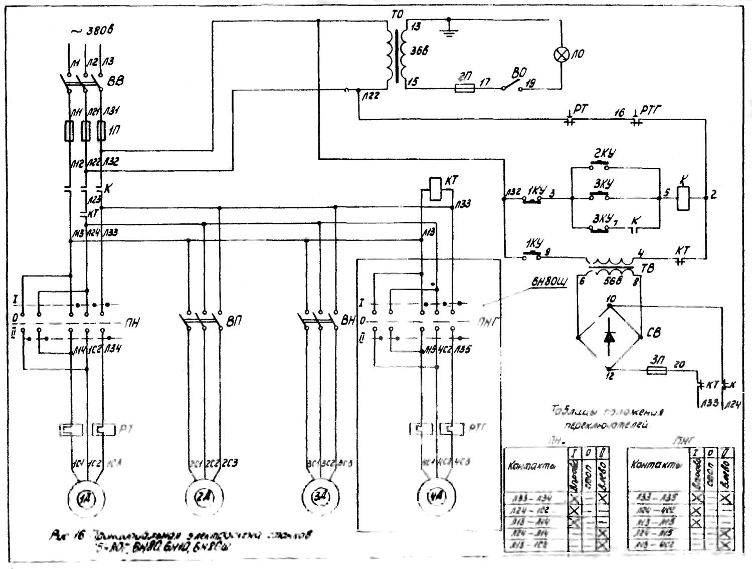
Схема електрична вертикально-фрезерного верстата 6Н10

6Н10 Схема електрична вертикально-фрезерного верстата 6Н10

Електрична схема фрезерного верстата 6Н10

Схема електрична консольно-фрезерного верстата 6Н10. Дивитись у збільшеному масштабі



Електроустаткування фрезерного верстата 6Н10

Електроустаткування, установленное на станке, рассчитано на напряжение силовой ланцюги 380 В, 50 Гц трехфазного переменного тока. В ланцюги керування применены наступні напряжения:

Увімкненням вводного выключателя ВВ подается напряжение на зажимы Л11, Л21, Л31, т.е. в ланцюг електродвигателей і ланцюг керування. При нажатии кнопки 2КУ "ПУСК" срабатывает магнитный пускатель К, который, замкнув свои контакты в силовой ланцюги, включает електродвигатели приводу шпинделя 1п или универсальной головки 4Д (для верстата 6н80ш), приводу подачі 2Д і електронасос 3Д.

Для раздельной роботи електродвигателей имеются выключатели ПН, ПНГ (для верстата 6Н80Ш), ВП, ВН, которые при необходимости выключают: ПН - електродвигатель приводу шпинделя 1Д, ПНГ - електродвигатель приводу универсальной головки 4Д (для верстата 6Н80Ш), ВП - електродвигатель приводу подачі 2Д і ВН - електронасос охлаждения 3Д.

Выключателем ПН также меняется направление обертання електродвигуна 1Д, а выключателем ПНГ — Направление обертання електродвигуна 4Д (для верстата 6Н80Ш).

Нажатием кнопки 1КУ "СТОП" отключается магнитный пускатель К, который, в свою очередь, выключает все електродвигатели. После отключения електродвигателей катушка контактора торможения КТ еще некоторое время остается включенной, питаясь за счет напряжения, индуктированного в статорах двигателей затухающими магнитными полями роторов. При достаточном снижении индуктированного в статорах напряжения контактор КТ отключается и, замкнув свои контакты в точках 2-4 і 20-ЛЗЗ, при нажатой кнопке "СТОП", подает в ланцюг статора електродвигуна 1Д или 4Д (для верстата 8Н80Ш) постоянный ток. Происходит електродинамическое торможение указанных електродвигателей.

Для кратковременного увімкнення електродвигуна 1Д или 4Д переключении швидкостей установлена кнопка "ТОЛЧОК" 8КУ. Местное освещение включается выключателем ВО.


Захист

Захист електроустаткування верстата в силовой ланцюги осуществляется предохранителями 111 і в ланцюги керування предохранителями 2П і 3П.

Захист електродвигуна приводу шпинделя 1Д от перегрузок осуществляется тепловым реле РТ, которое должно быть отрегулировано на ток 6,5 А, а защита електродвигуна универсальной головки - тепловым реле РТГ, которое должно быть отрегулировано на ток 2,7 а. Заземление выполняется согласно ПУЭ.





6Н10 Верстат консольно-фрезерный вертикальний. Відеоролик.




Технічні характеристики консольного фрезерного верстата 6Н10

Наименование параметра 6Н80Г 6Н80 6Н10 6Н80Ш
Основні параметри верстата
Розміри рабочей поверхности стола, мм 800 х 200 800 х 200 800 х 200 800 х 200
Расстояние от оси шпинделя до поверхности стола, мм 50..350 20..320 - 50..350
Расстояние от торца шпинделя до поверхности стола, мм - - 50..350 50..350 Наибольшее расстояние от торца шпинделя до підшипника серьги, мм 440 440 - 380 Расстояние от оси шпинделя до хобота, мм 123 123 - 123 Расстояние от задньої кромки стола до вертикальних направляючих станины (вылет), мм 75..235 75..235 75..235 75..235 Расстояние от оси шпинделя до вертикальних направляючих станины (вылет), мм - - 265 Шпиндель Частота обертання горизонтального шпинделя, об/мин 50..2240 50..2240 - 50..2240 Частота обертання вертикального шпинделя, об/мин - - 50..2240 Количество швидкостей горизонтального і вертикального шпинделя 12 12 12 12 Количество швидкостей шпинделя фрезерной головки Перемещение пиноли (гильзы) шпинделя, мм - - 60 60 Перемещение пиноли шпинделя на одно деление лимба, мм - - 0,05 0,05 Угол поворота фрезерной головки в поздовжньої плоскости, град - - ±45° ±90° Угол поворота фрезерной головки в поперечної плоскости, град - - - +30°-45 Внутренний конус шпинделя головного привода № 2 № 2 № 2 № 2 Внутренний конус шпинделя фрезерной головки - - - № 2 Стол. Подачи стола Наибольший продольный ход стола (X), мм 500 500 500 500 Наибольший поперечний ход стола (Y), мм 160 160 160 160 Наибольший вертикальний ход стола (Z), мм 300 300 300 300 Пределы поворота стола, град - - ±45° - Пределы продольных подач стола (X), мм/мин 25..1120 25..1120 25..1120 25..1120 Пределы поперечных подач стола (Y), мм/мин 18..800 18..800 18..800 18..800 Пределы вертикальних подач стола (Z), мм/мин 9..400 9..400 9..400 9..400 Количество ступеней подач стола (продольных, поперечных, вертикальних) 12 12 12 12 Скорость быстрых перемещений (продольных, поперечных/ вертикальних) X, Y/ Z, м/мин 2,3/ 1,6/ 0,8 2,3/ 1,6/ 0,8 2,3/ 1,6/ 0,8 2,3/ 1,6/ 0,8 Перемещение стола на одно деление лимба (продольное, поперечное/ вертикальное), мм 0,05/ 0,02 0,05/ 0,02 0,05/ 0,02 0,05/ 0,02 Перемещение стола на один оборот лимба (продольное, поперечное/ вертикальное), мм 6/ 2 6/ 2 6/ 2 6/ 2 Наибольшее допустимое усиле різання (продольное/ поперечное/ вертикальное), кг 700/ 500/ 500 700/ 500/ 500 700/ 500/ 500 700/ 500/ 500 Механіка верстата Выключающие упоры подачі (поздовжньої, поперечної, вертикальной) Есть Есть Есть Есть Блокировка ручной і механической подач (поздовжньої, поперечної, вертикальной) Есть Есть Есть Есть Блокировка раздельного увімкнення подач Есть Есть Есть Есть Торможение шпинделя Есть Есть Есть Есть Предохранительная муфта от перегрузок Есть Есть Есть Есть Електроустаткування і приводы верстата Количество електродвигателей на станке 3 3 3 4 Електродвигун головного руху 1Д, кВт (об/мин) 3,0 (1430) 3,0 (1430) 3,0 (1430) 3,0 (1430) Електродвигун приводу подач 2Д, кВт (об/мин) 0,8 (1360) 0,8 (1360) 0,8 (1360) Електродвигун насоса СОЖ 3Д, кВт (об/мин) 0,12 (2800) 0,12 (2800) 0,12 (2800) 0,12 (2800) Електродвигун фрезерной головки 4Д, кВт (об/мин) - - - 1,1 (1400) Суммарная мощность всех електродвигателей, кВт Габарити і масса верстата Габарити верстата (длина ширина высота), мм 1360 х 1860 х 1530 1360 х 1860 х 1530 1360 х 1860 х 1730 2040 х 1860 х 1760 Масса верстата, кг 1130 1150 1160 1360

    Список литературы:

  1. Універсально-фрезерный верстат 6Н80. Горизонтально-фрезерный верстат 6Н80Г. Вертикально-фрезерный верстат 6Н10. Руководство к верстату,
  2. Горизонтально-фрезерные верстати 6Н80Г, 6Н804Г. Вертикально-фрезерные верстати 6Н10, 6Н104. Універсально-фрезерные верстати 6Н80. Широкоуниверсальные-фрезерные верстати 6Н80Ш. Каталог запасных частин, 1983
  3. Ремонт фрезерных верстатів 6Н80, 6Н80Г, 6Н10, 6Н80Ш. Тула, 1972

  4. Аврутин С.В. Основы фрезерного дела, 1962
  5. Аврутин С.В. Фрезерне дело, 1963
  6. Ачеркан Н.С. Металлорежущие верстати, Том 1, 1965
  7. Барбашов Ф.А. Фрезерне дело 1973, с.141
  8. Барбашов Ф.А. Фрезерные роботи (Профтехобразование), 1986
  9. Блюмберг В.А. Справочник фрезеровщика, 1984
  10. Григорьев С.П. Практика координатно-расточных і фрезерных работ, 1980
  11. Копылов Р.Б. Работа на фрезерных верстатах,1971
  12. Косовский В.Л. Справочник молодого фрезеровщика, 1992, с.180
  13. Кувшинский В.В. Фрезерование,1977
  14. Ничков А.Г. Фрезерные верстати (Библиотека станочника), 1977
  15. Пикус М.Ю. Справочник слесаря по ремонту металлорежущих верстатів, 1987
  16. Плотицын В.Г. Расчёты настроек і наладок фрезерных верстатів, 1969
  17. Плотицын В.Г. Наладка фрезерных верстатів,1975
  18. Рябов С.А. Современные фрезерные верстати і их оснастка, 2006
  19. Схиртладзе А.Г., Новиков В.Ю. Технологическое обладнання машиностроительных производств, 1980
  20. Тепинкичиев В.К. Металлорежущие верстати, 1973
  21. Чернов Н.Н. Металлорежущие верстати, 1988
  22. Френкель С.Ш. Справочник молодого фрезеровщика (3-е изд.) (Профтехобразование), 1978









Заказать

Если отложить дело надолго, то его либо выполнит кто-нибудь другой, либо оно вообще перестанет быть нужным.

Закон Мерфи