Розробник настільно-свердлувального верстата моделі НС-12 - Спеціальне конструктрське бюро спеціальних верстатів СКБ-3, м. Одеса . СКБ-3 створено у 1947 році та існувало до середини 90-х років.
Верстат вироблявся верстатобудівними заводами та кількома ремісничими та технічними училищами Радянського Союзу у 50..70-х роках минулого століття.
Настільний свердлильний верстат НС-12 має кілька модифікацій (НС-12, НС-12А, НС-12Б, НС-12М), які незначно відрізняються один від одного за конструкцією та комплектацією.
Найбільш відомі виробники настільно-свердлувального верстата моделі НС-12а:
Верстат призначений для свердління отворів та нарізування різьблення в дрібних деталях із чавуну, сталі, кольорових сплавів та неметалічних матеріалів в умовах промислових підприємств, ремонтних майстерень та побутових майстерень.
Шпиндельний вузол свердлувального верстата нс-12а - найскладніший і найточніший вузол у верстаті. Шпиндельний вузол монтується у шиндельній бабці. Основні деталі шпиндельного вузла:
Простота конструкції забезпечує легкість керування, надійність та довговічність верстатів.
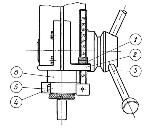
Відлік глибини свердління провадиться за плоскою шкалою або упором.
П'ятиступінчасті шківи приводу дозволяють отримувати п'ять швидкостей обертання шпинделя, що забезпечує вільний вибір швидкостей різання.
Оригінальна конструкція натягу ремінної передачі дозволяє швидко змінювати положення ременя на шківах для отримання потрібної швидкості різання.
Верстати НС-12А дозволяють виконувати такі операції:
Верхня частинина шпинделя має шліци, щоб одержати обертання від приймального шківа, нижня частинина має конус Морзе для кріплення свердлильного патрона.
Шпиндель верстата НС-12а отримує п'ять швидкостей обертання від п'ятиступінчастиних шківів приводу, що забезпечує вибір швидкостей різання в діапазоні - 450, 710, 1400, 2500, 4500 об/хв.
Кінець шпинделя – зовнішній конус морзе КМ2, позначення В18 за ГОСТ 9953 (Конуси інструментальні укорочені) – конус укорочений: D = 17,780 мм, довжина конуса 37,0 мм.
Укороченому конусу В18 відповідає свердлильний трикулачковий патрон 16-го типорозміру за ГОСТ 8522 (Патрони трикулачкові свердлильні) з діапазоном затиску від 3 до 16 мм.
Приклад умовного позначення свердлильного 3-х кулачкового патрона, типорозміру 16, з конусним приєднувальним отвором В18:
Патрон 16-Б18 ГОСТ 8522-79
Конус інструментальний - Конус Морзе - одне з найбільш застосовуваних кріплень інструменту. Був запропонований Стівеном А. Морзе приблизно 1864 року.
Конус Морзе підрозділяється на вісім розмірів - від КМ0 до КМ7 (англійською: MT0-MT7, німецькою: MK0-MK7).
Стандарти на конус Морзе: ГОСТ 25557 (Конуси інструментальні. Основні розміри), ISO 296, DIN 228. Конуси, виготовлені за дюймовими та метричними стандартами, взаємозамінні у всьому, крім різьблення хвостовика.
Для багатьох застосувань довжина конуса Морзе виявилася надмірною . Тому було введено стандарт на дев'ять типорозмірів укорочених конусів Морзе (B7, B10, B12, B16, B18, B22, B24, B32, B45), ці розміри отримані видаленням більш товстої частинини конуса. Цифра позначення короткого конуса — діаметр товстої частинини конуса в мм.
Російський стандарт на укорочені конуси ГОСТ 9953 Конуси інструментів укорочені .
Російський стандарт на свердлильні патрони ГОСТ 8522 Патрони свердлильні трикулачні .
Де D – діаметр конуса в основній площині.

Фото свердлильного верстата НС-12а

Фото свердлильного верстата НС-12а

Розташування складових частинин свердлувального верстата НС-12а
Основу шпиндельної бабки складає чавунний корпус. У корпусі змонтовано шпиндельний вузол, механізм підйому бабки, механізм натягу ременя та місцеве освітлення верстата.
Позаду бабці прикріплений електродвигун.
Механізм підйому бабки призначений для переміщення бабки шпинделя колонкою.
Колонка прикреплена к плите кронштейном. В кронштейне колонка зажата двумя болтами. В случае необходимости поворота колонки вокруг своей оси, болты освобождаются, колонка совместно з бабкой поворачивается в требуемое положение, після чего болты зажимаются.

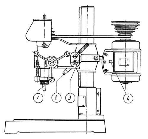
Розташування органів керування сверлильным верстатом НС-12а

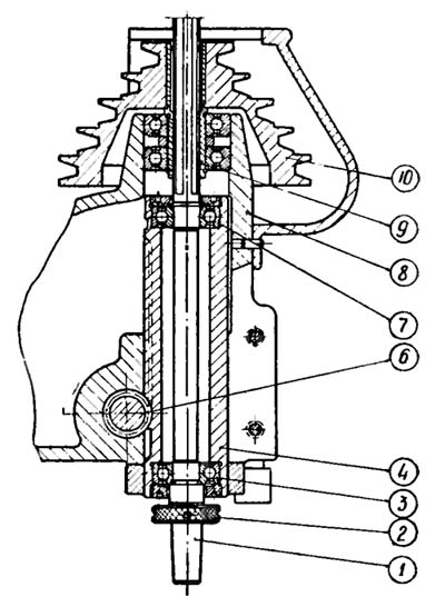
Шпиндельный узел сверлильного верстата НС-12а

Шпиндельный узел сверлильного верстата НС-12а

Шпиндель сверлильного верстата НС-12а
Кінець шпинделя - наружный конус морзе КМ2, обозначение В18 по ГОСТ 9953 (Конусы инструментальные укороченные) - конус укороченный: D = 17,780 мм, длина конуса 37,0 мм.
Шпиндельный узел смонтирован в корпусе 8. Сам шпиндель 1 смонтирован в гильзе 4 на шарикопідшипниках 3 і 7.
Вращение шпиндель получает от втулки 9 і шкива 10 через шлицевое соединение.
Подача шпинделя — ручная; осуществляется вращением штурвала при помощи валика-шестерни 6 і гильзы з рейкой 4.
Гайка 2 предназначена для снятия сверлильного патрона з конуса шпинделя.
Електродвигун, посредством подмоторной плиты, прикреплен к бабке шпинделя. На оси електродвигуна находится ступенчатый шкив, который соединяется со шкивом шпинделя клиновым ремнем.
Верстат укомплектован аппаратурой для местного освещения. В связи з тем, что настольно-сверлильный верстат, моделі НС-12А чаще всего устанавливается на верстаках или столах, поетому арматуру (кронштейн) і аппарат (трансформатор) местного освещения, при монтаже верстата, требуется прикреплять вблизи верстата, а если верстат устанавливается у стены — то к післядней.

Кінематична схема сверлильного верстата НС-12а

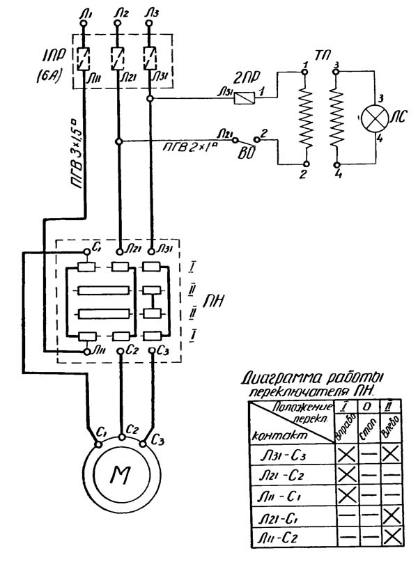
Електрична схема сверлильного верстата НС-12а
| Наименование параметра | 2М112 | НС-12А |
|---|---|---|
| Основні параметри верстата | ||
| Наибольший диаметр сверления, мм | 12 | 12 |
| Наименьшее і наибольшее расстояние от торца шпинделя до стола | 0...400 | 20..420 |
| Расстояние от оси вертикального шпинделя до направляючих стойки (вылет), мм | 190 | 185 |
| Рабочий стол | ||
| Ширина рабочей поверхности стола, мм | 250 | 360 х 360 |
| Число Т-образных пазов Розміри Т-образных пазов | 3 | 3 |
| Шпиндель | ||
| Наибольшее перемещение шпиндельной головки, мм | 300 | |
| Ход гильзы шпинделя, мм | 100 | 100 |
| Частота обертання шпинделя, об/мин | 450, 800, 1400, 2500, 4500 | 450, 710, 1400, 2500, 4500 |
| Количество швидкостей шпинделя | 5 | 5 |
| Конус шпинделя | Морзе В18 | Морзе В18 |
| Привод | ||
| Електродвигун приводу головного руху, кВт | 0,55 | 0,65 |
| Габарит і масса верстата | ||
| Габарити верстата (длина ширина высота), мм | 795 х 370 х 950 | 770 х 465 х 700 |
| Масса верстата, кг | 120 | 121 |