metalinstryment.com
Довідник по металорізальних верстатів та пресовому обладнанні

6Р10 Верстат консольно-фрезерный вертикальний общего назначения
характеристики, схеми, опис

6Р10 Загальний вигляд  консольного фрезерного верстата







Відомості про виробника фрезерного верстата 6Р10

Фрезерный верстат 6Р10 выпускался предприятием - Вильнюсский станкостроительный завод "Жальгирис".

В 1947 году станкостроительный завод «Жальгирис» выпустил первую продукцию - 13 настольно-сверлильных верстатів.

В 1949 году было начато освоение более сложной продукции – поперечно–строгальных верстатів, за которыми післядовало производство горизонтальных, вертикальних і универсальных консольно–фрезерных верстатів.





Верстати, выпускаемые Вильнюсским станкостроительным заводом "Жальгирис"


6Р10 Верстат консольно-фрезерный вертикальний общего назначения. Назначение, область применения

Верстат вертикальний консольно-фрезерный 6Р10 предназначен для фрезерування всевозможных деталей из различных материалов.

Горизонтально-фрезерный верстат моделі 6Р80Г — базовая модель, а универсально-фрезерный моделі 6Р80 і вертикально-фрезерный моделі 6Р10 — его модификации.

Особливості конструкції і принцип роботи верстата

На универсально-фрезерном станке моделі 6Р80 при помощи универсальной делительной головки можно фрезеровать спиральные канавки на цилиндрических деталях, а также производить различные фрезерные роботи, связанные з поворотом детали на заданную величину.

Поворотная фрезерна головка з выдвижной гильзой вертикально-фрезерного верстата моделі 6Р10 позволяет производить фрезерные роботи на наклонных поверхностях детали.

Накладная поворотная фрезерна головка Н80Г.28 з вертикальным шпинделем, поставляемая по особому заказу за отдельную плату, расширяет технологические возможности верстатів 6Р80Г і 6Р80.

Верстат предназначен для выполнения различных фрезерных работ в условиях единичного і серийного производства.

Шероховатость обработанной поверхности при чистовых режимах різання V 6.

В отличие от ранее выпускавшихся верстатів данного типа новый верстат отличается пониженным шумом, увеличенной долговечностью основних вузлів і сохранением норм точності в течение более длительного срока. Електроустаткування смонтировано в просторной нише і отвечает всем современным требованиям. Керування подачами стола раздельное. Имеются защитные пристроя, предохраняющие робочого от стружки і брызг oxлаждающей жидкости. Система охлаждения снабжена быстросъемными отстойниками. Внешний вигляд верстата отвечает современным требованиям промышленной естетики.

Встраивание верстата в автоматическую линию не предусмотрено.

Класс точності верстата Н.


Габарит робочого простору консольно-фрезерного верстата 6Р10

6Р10 Габарит робочого простору універсального вертикального консольно-фрезерного верстата

Габарит робочого простору фрезерного верстата 6Р10


Установчі і присоединительные базы консольно-фрезерного верстата 6Р10

6Р10 Установчі і присоединительные базы універсального вертикального консольно-фрезерного верстата

Установчі базы фрезерного верстата 6Р10


Ескіз шпинделя вертикального консольно-фрезерного верстата 6Р10

6Р10 Ескіз шпинделя універсального вертикального консольно-фрезерного верстата

Ескіз шпинделя фрезерного верстата 6Р10


Загальний вигляд вертикального консольно-фрезерного верстата 6Р10

6Р10 Загальний вигляд  консольно-фрезерного верстата

Фото фрезерного верстата 6Р10


Розташування складових частин консольно-фрезерного верстата 6Р10

6Р10 Список складових частин вертикально-фрезерного верстата

Розташування складових частин фрезерного верстата 6Р10

Список складових частин консольно-фрезерного верстата 6Р10

  1. Механізм переключения переміщення консоли - 6Р80Г.42
  2. Салазки верстатів 6Р80Г і 6Р10 - 6Р80Г.50
  3. Стол - 6Р80Г.51
  4. Станина верстатів 6Р80Г і 6Р80 - 6Р80Г.10
  5. Хобот верстатів 6Р80Г і 6Р80 - 6Р80Г.11
  6. Охлаждение верстатів 6Р80Г і 6Р80 - 6Р80Г.60
  7. Гайка поперечної подачі - 6Р80Г.43
  8. Механізм переключения переміщення салазок - 6Р80Г.42
  9. Электрошкаф - 6Р80Г.70
  10. Главный привід верстатів 6Р80Г і 6Р80 - 6Р80Г.20
  11. Механізм переключения швидкостей верстатів 61Р80Г і 6Р80 - 6Р80Г.22
  12. Подвеска верстатів 6Р80Г і 6Р80 - 6Р80Г.16
  13. Подвеска верстатів 6Р80Г і 6Р80 - 6Р80Г.13
  14. Консоль - 6Р80Г.40
  15. Механізм переключения подач - 6Р80Г.32
  16. Коробка подач - 6Р80Г.30
  17. Станина верстата - 6Р10 - 6Р10.10
  18. Охлаждение верстата 6Р10 - 6Р10.60
  19. Главный привід верстата 6Р10 - 6Р10.20
  20. Механізм переключения швидкостей верстата 6Р10 - 6Р10.22
  21. Головка фрезерна верстата 6Р10 - 6Р10.21

Розташування органів керування консольно-фрезерным верстатом 6Р10

6Р10 Органы керування вертикально-фрезерного верстата

Розташування органів керування фрезерным верстатом 6Р10

Список органів керування консольно-фрезерным верстатом 6Р10

  1. Рукоятка ручного переміщення консоли
  2. Рукоятка ручного переміщення салазок
  3. Рукоятка увімкнення вертикальной подачі
  4. Кнопка увімкнення швидкого переміщення стола, салазок і консоли
  5. Маховик ручного переміщення стола
  6. Червяк выборки люфта в паре винт-гайка стола
  7. Кран охлаждения
  8. Указатель нагрузки
  9. Рукоятка увімкнення електросети
  10. Переключатель освещения
  11. Лампа сигнальная
  12. Кнопка «Стоп»
  13. Рукоятка зажиму салазок
  14. Рукоятка увімкнення поперечної подачі
  15. Кнопка «Пуск»
  16. Рукоятка зажиму консоли
  17. Рукоятка увімкнення електродвигуна подач
  18. Рукоятка увімкнення електронасоса охлаждения
  19. Переключатель направления обертання шпинделя
  20. Кнопка «Толчок шпинделя»
  21. Рукоятка увімкнення перебора шпинделя
  22. Рукоятка установки чисел оборотів шпинделя
  23. Винты зажиму хобота
  24. Вал переміщення хобота
  25. Рукоятка увімкнення поздовжньої подачі
  26. Винты зажиму стола
  27. Винты зажиму поворотных салазок верстата 6Р80
  28. Рукоятка установки величины подачі
  29. Рукоятка зажиму гильзы шпинделя верстата 6Р10
  30. Рукоятка переміщення гильзы шпинделя верстата 6Р10




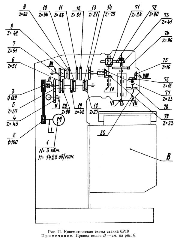
Схема кінематична консольно-фрезерного верстата 6Р10

6Р10 Схема кінематична вертикально-фрезерного верстата

Кінематична схема фрезерного верстата 6Р10


Пределы использования верстатів 6Р10

Пределы использования верстатів Полную величину указанных в паспорте ходов можно использовать только при отсутствии на столе верстата деталей і устройств, ограничивающих перемещение стола. Например, при использовании круглого поворотного стола і при установці в шпинделе оправки з фрезой сокращается вертикальний ход стола; при установці делительной головки з гітарою сокращается продольный ход стола; при установці обрабатываемых деталей между столом і зеркалом станины сокращается поперечний ход стола.

Для использования полных механических перемещений стола необходимо установить выключающие упоры в крайние положения. При етом необходимо следить за работой перемещающихся вузлів верстата, чтобы исключить возможность их поломки.

При работе з механическим приводом делительная головка устанавливается на правом кінці стола. Шпиндель делительной головки получает вращение от ходового гвинта стола через сменные шестерни гітари, для установки которых необходимо снять защитный кронштейн на правом кінці стола.


Режим роботи верстата 6Р10

При высоких і средних числах оборотів шпинделя пределы использования верстатів ограничены, головним образом, допустимыми значениями швидкостей різання для фрез і мощностью електродвигуна головного руху.

Если на некоторых режимах возникают вибрации, то рекомендуется изменить величину подачі на зуб или применить фрезы з неравномерным шагом і большим углом наклона стружечных канавок.

Работа торцевыми фрезами по стали

Для достижения високою чистоты поверхностей і високою точності размеров при работе фрезами из быстрорежущей стали рекомендуется работать при подаче на зуб S = 0,02..0,03 мм, при глубине фрезерування t = 0,3..0,5 мм і скорости різання V = 17..25 м/мин.

Пристрій і робота верстата 6Р10

Главный привід верстата 6Р10

Кинематические схеми головного приводу верстатів 6Р80Г і 6Р80 одинаковы. Вращение шпинделя осуществляется от електродвигуна через клиноременную передачу і коробку швидкостей. При перемещении блоков шестерен на валу II-II і переключении шестерен перебора на шпинделе получается 12 швидкостей.

Кінематична схема головного приводу верстата 6Р10 аналогична схеме верстатів 6Р80Г і 6Р80, только перебор размещен на отдельном валу і вместе со шпинделем встроен во фрезерную головку.

Привід подач верстата 6Р10

Кінематична схема приводу подач одинакова для всех верстатів. Вращение валов VIII, IX, X, XI, XII, XIII приводу подач осуществляется от електродвигуна.

Рабочая подача осуществляется при отключенной електромагнитной муфте. Вращение от коробки подач передається через обгонную муфту на вал консоли XIV.

Кинематическая ланцюг ускоренных перемещений стола идет от електродвигуна через валы VIII, IX, X, XIII, електромагнитную муфту, обгонную муфту і вал консоли XIV.

Увімкнення і реверсирование продольных, поперечных і вертикальних подач производится двухсторонними кулачковыми муфтами 25, 32, 39.

Станина верстата 6Р10

Станина верстатів состоит из основания, стойки, електрошафи, кожуха і хобота з подвесками (на станке 6Р10 хобот і подвески отсутствуют).

На основании установлены: стойка, кронштейн з гайкой гвинта подъема консоли і насос охлаждения.

Внутренняя полость основания является резервуаром для охлаждающей жидкости.

С правой стороны стойки прикреплен електрошкаф, в верхней частини — коробка швидкостей і механізм переключения швидкостей.

На хоботе верстатів 6Р80Г і 6Р80 крепятся подвески, которые служат опорами для фрезерных оправок. Одна из подвесок имеет опору качения, другая — ковзання.

Особенностью станины верстата 6Р10 является наличие фланца в верхней її частини для крепления фрезерной головки.

Коробка швидкостей і шпиндель верстата 6Р10

Коробка швидкостей консольно-фрезерного верстата 6Р10

Коробка швидкостей консольно-фрезерного верстата 6р10

Коробка швидкостей консольно-фрезерного верстата 6Р10. Скачать в увеличенном масштабе



Привід шпинделя верстатів 6Р80Г і 6Р80 состоит из електродвигуна, клиноременной передачи, шестиступенчатой коробки швидкостей, шпинделя і перебора, встроенных в сгонку верстата.

В качестве передньої опори шпинделя применены двухрядные роликовые підшипники з посадкой внутреннего кольца на конус. Для восприятия осевых усилий в задньої опоре установлены радиально-упорные шарикопідшипники.

Привід шпинделя верстата 6Р10 отличается наличием вала перебора і выдвижной гильзы, размещенных в корпусе фрезерной головки.

Консоль і коробка подач верстата 6Р10

Коробка подач консольно-фрезерного верстата 6Р10

Коробка подач консольно-фрезерного верстата 6р10

Коробка подач консольно-фрезерного верстата 6Р10. Скачать в увеличенном масштабе



Привід подач размещен в консоли. Спереди, в нижнюю часть консоли, встроен фланцевый електродвигатель, з левой стороны консоли крепится коробка подач з механізмом переключения подач і механізмом увімкнення вертикального переміщення консоли, а з правой — механізм переміщення салазок.

12-ступенчатая коробка кроме ланцюги рабочих подач имеет ланцюг ускоренного ходу. В коробке подач расположена предохранительная муфта 1 (рис. 15), исключающая возможность поломки шестерен при перегрузке.

На одном валу з предохранительной муфтой смонтированы електромагнитная муфта 2 і обгонная муфта 3. Увімкнення быстрых перемещений стола, салазок і консоли осуществляется кнопкой, расположенной на передньої стенке салазок.

Рукоятка і маховик ручных перемещении стола в поперечном і вертикальном направлениях расположены на консоли спереди.

Механізм переключения подач состоит из рукоятки, диска з профильными пазами і рычагов. При движении рукоятки вверх или вниз диск поворачивается і рычаги перемещают вилки з шестернями.

Увімкнення механического переміщення консоли і салазок осуществляется при помощи рукояток, расположенных з левой і правой сторон консоли. Направление руху рукоятки мнемонически увязано з направлением руху консоли і салазок.

Задня стенка консоли выполнена в виде направляючих профиля «ласточкин хвост».

С правой стороны сзади консоли находится рукоятка для закрепления консоли на стойке.

Верхня часть консоли имеет прямоугольные направляющие, по которым перемещаются салазки.

Стол і салазки верстата 6Р10

Салазки перемещаются в поперечном направлении на консоли і имеют направляющие для стола.

Со столом связан винт 1 (рис. 18) поздовжньої подачі. В салазках находятся конические шестерни 2, вращающие винт, рукоятка і механізм увімкнення поздовжньої подачі стола.

Для роботи методом попутного фрезерування предусмотрен механізм выборки зазоров между резьбой ходового гвинта 1 і гаек 3 і 4.

При работе методом встречного фрезерування сильно изнашивается ходовой винт. Поетому, когда на станке длительное время выполняется одна работа, следует менять участок роботи гвинта.

Поворотные салазки на станке 6Р80 дают возможность осуществлять поворот стола в пределах ±45° в горизонтальной плоскости.





Схема електрична вертикально-фрезерного верстата 6Р10

6Р10 Схема електрична вертикально-фрезерного верстата 6Р10

Електрична схема фрезерного верстата 6Р10

Схема електрична консольно-фрезерного верстата 6Р10. Дивитись у збільшеному масштабі



Cхема електрична фрезерного верстата 6Р10. Ланцюг керування

6р10 Схема електрична принципова cтанок горизонтальный консольно-фрезерный

Електрична схема фрезерного верстата 6Р10. Ланцюг керування

Схема електрична консольно-фрезерного верстата 6Р10. Дивитись у збільшеному масштабі



Електроустаткування фрезерного верстата 6Р10

Електроустаткування, установленное на станке, рассчитано на напряжение силовой ланцюги 380 В, 50 Гц трехфазного переменного тока. В ланцюги керування применены наступні напряжения:

На станке установлены три трехфазных короткозамкнутых асинхронных електродвигуна. Технічні данные електродвигателей приведены в перечне електроаппаратов к принципиальной електросхеме.

Опис роботи електросхеми фрезерного верстата 6Р10

Увімкненням вводного автоматичного выключателя А1 подается напряжение сети на зажимы А10, B10, C10, т. е. в первичные обмотки трансформаторов керування ТУ1, ТУ2, ТУЗ і на входные контакты магнитного пускателя КЛ.

Пуск верстата в работу осуществляется нажатием кнопки КУ2 (символ !). При етом срабатывает магнитный пускатель КЛ, который, замкнув свои замыкающие контакты в силовой ланцюги, включает електродвигатели приводу шпинделя ДШ, приводу подачі ДП і електронасоса ДО.

Для раздельной роботи електродвигателей ДШ, ДП, ДО имеются, соответственно, выключатели ПШ, ВП, ВН. Кроме того, выключатель ПШ предназначен для изменения направления обертання електродвигуна ДШ.

Останов верстата осуществляется нажатием кнопки КУ1 (символ О). От нажатия післядней отключается магнитный пускатель КЛ, который, в свою очередь, выключает все електродвигатели.

При нажатии кнопки КУ1 замыкающим контактом включается магнитный пускатель КТ, который совместно з промежуточным реле РП, замкнув свои замыкающие контакты в ланцюги торможения, подает в ланцюг статоров електродвигателей постоянный ток. Происходит електродинамическое торможение електродвигателей. Длительность торможения определяет нажатое состояние кнопки КУ1.

Для увімкнення ускоренного переміщення стола имеется кнопка КУ4 (символ), от нажатия которой, при включенном магнитном пускателе КЛ, включается електромагнитная муфта МБХ.

Для кратковременного увімкнення електродвигателей имеется кнопка КУЗ (символ Т).

Для увімкнення местного освещения на светильниках установлены выключатели B01, B02.

Захист, блокировки і сигналізація фрезерного верстата 6Р10

Захист електроустаткування верстата от коротких замыканий в силовой ланцюги осуществляется автоматическими выключателями A1, A2 і в цепях керування — автоматическим выключателем A3 і предохранителями Пр1 — ПрЗ.

Захист от перегрузок електродвигателей приводу шпинделя ДШ і електронасоса ДО осуществляется, соответственно, тепловыми реле РТ1 і РТ2. Захист от перегрузок електродвигуна приводу подач ДП осуществляется автоматическим выключателем А2.

Минимальная защита електродвигателей обеспечивается магнитным пускателем КЛ.

Невозможность увімкнення електродвигателей при открытой задньої дверце верстата обеспечивается кінцівым выключателем ВК.

При включенном положении рукоятки вводного выключателя нельзя открыть дверцу електрошафи, а при открытой дверце — нельзя включить рукоятку вводного выключателя. Данная блокировка обеспечивается конструкцией рукоятки вводного выключателя. При необходимости включить вводной выключатель з открытой дверцей електрошафи для ремонтных целей необходимо нажать на шток Е (рис. 5 і 6), выдвигающийся при открывании дверцы.

О наличии напряжения сети в електрических цепях верстата при включенном вводном автоматическом выключателе А1 указывает сигнальная лампа ЛС.

После автоматичного отключения вводного выключателя рукоятка его остается в положении «включено». Сигнальная лампа при етом гаснет. Для повторного увімкнення необходимо отвести рукоятку в положение «Отключено» і затем переключить в положение «включено».





6Р10 Верстат консольно-фрезерный вертикальний. Відеоролик.




Технічні характеристики консольного фрезерного верстата 6Р10

Наименование параметра 6Р80г 6Р80 6Р10 6Р80Ш
Основні параметри верстата
Класс точності Н Н Н П
Розміри рабочей поверхности стола, мм 800 х 200 800 х 200 800 х 200 800 х 200
Расстояние от оси шпинделя до поверхности стола, мм 50..350 50..350 - 50..350
Расстояние от торца шпинделя до поверхности стола, мм - - 50..350 50..350 Наибольшее расстояние от торца шпинделя до підшипника серьги, мм 450 450 - 350 Расстояние от оси шпинделя до хобота, мм 123 123 - 123 Расстояние от задньої кромки стола до вертикальних направляючих станины, мм 80..240 80..240 80..240 80..240 Расстояние от оси шпинделя до вертикальних направляючих станины (вылет), мм - - 265 - Шпиндель Частота обертання горизонтального шпинделя, об/мин 50..2240 50..2240 - 50..2240 Частота обертання вертикального шпинделя, об/мин - - 50..2240 - Количество швидкостей горизонтального і вертикального шпинделя 12 12 12 12 Перемещение пиноли (гильзы) шпинделя, мм - - 60 60 Перемещение пиноли шпинделя на одно деление лимба, мм - - 0,05 0,05 Угол поворота фрезерной головки в поздовжньої плоскости, град - - ±45° ±90° Кінець горизонтального шпинделя по ГОСТ 836-72 40 40 - 40 Кінець вертикального шпинделя по ГОСТ 836-72 40 40 - 40 Шпиндель фрезерной головки Угол поворота фрезерной головки в поперечної плоскости, град - - - +30°-45 Внутренний конус шпинделя фрезерной головки - - - Морзе 4 Частота обертання шпинделя фрезерной головки, об/мин - - - 56..2500 Количество швидкостей шпинделя фрезерной головки - - - 12 Стол. Подачи стола Наибольший продольный ход стола (X), мм 500 500 500 500 Наибольший поперечний ход стола (Y), мм 160 160 160 160 Наибольший вертикальний ход стола (Z), мм 300 300 300 300 Пределы поворота стола, град - - ±45° - Пределы продольных подач стола (X), мм/мин 25..1120 25..1120 25..1120 25..1120 Пределы поперечных подач стола (Y), мм/мин 25..1120 25..1120 25..1120 25..1120 Пределы вертикальних подач стола (Z), мм/мин 12,5..560 12,5..560 12,5..560 12,5..560 Количество ступеней подач стола (продольных, поперечных, вертикальних) 12 12 12 12 Скорость быстрых перемещений (продольных, поперечных/ вертикальних) X, Y/ Z, м/мин 2,3/ 2,3/ 1,12 2,3/ 2,3/ 1,12 2,3/ 2,3/ 1,12 2,3/ 2,3/ 1,12 Перемещение стола на одно деление лимба (продольное, поперечное/ вертикальное), мм 0,05/ 0,02 0,05/ 0,02 0,05/ 0,02 0,05/ 0,02 Перемещение стола на один оборот лимба (продольное, поперечное/ вертикальное), мм 6/ 2 6/ 2 6/ 2 6/ 2 Наибольшее допустимое усиле різання (продольное/ поперечное/ вертикальное), кг Механіка верстата Выключающие упоры подачі (поздовжньої, поперечної, вертикальной) Есть Есть Есть Есть Блокировка ручной і механической подач (поздовжньої, поперечної, вертикальной) Есть Есть Есть Есть Блокировка раздельного увімкнення подач Есть Есть Есть Есть Торможение шпинделя Есть Есть Есть Есть Предохранительная муфта от перегрузок Есть Есть Есть Есть Електроустаткування і приводы верстата Количество електродвигателей на станке 3 3 3 4 Електродвигун головного руху ДШ, кВт (об/мин) 3,0 (1430) 3,0 (1430) 3,0 (1430) 3,0 (1430) Електродвигун приводу подач ДП, кВт (об/мин) 0,8 (1360) 0,8 (1360) 0,8 (1360) 0,8 (1360) Електродвигун насоса СОЖ ДО, кВт (об/мин) 0,12 (2800) 0,12 (2800) 0,12 (2800) 0,12 (2800) Електродвигун фрезерной головки ДГ, кВт (об/мин) - - - 1,1 (1400) Суммарная мощность всех електродвигателей, кВт Габарити і масса верстата Габарити верстата (длина ширина высота), мм 1525 х 1875 х 1515 1525 х 1875 х 1515 1435 х 1875 х 1750 1820 х 1875 х 1765 Масса верстата, кг 1240 1260 1270 1340

    Список литературы:

  1. Фрезерные консольные верстати 6Р80Г, 6Р80, 6Р10, 6Р80Ш. Руководство по експлуатации 6Р80Г.00.000 РЭ, 1978
  2. Верстати фрезерные консольные 6Р80Г, 6Р80, 6Р10. Руководство по експлуатации 6Р80Г.00.000 РЭ, 1974
  3. Верстати фрезерные консольные 6Р80Г, 6Р80, 6Р10. Руководство по експлуатации електроустаткування 6Р80Г.00.000 РЭ1, 1974

  4. Аврутин С.В. Основы фрезерного дела, 1962
  5. Аврутин С.В. Фрезерне дело, 1963
  6. Ачеркан Н.С. Металлорежущие верстати, Том 1, 1965
  7. Барбашов Ф.А. Фрезерне дело 1973, с.141
  8. Барбашов Ф.А. Фрезерные роботи (Профтехобразование), 1986
  9. Блюмберг В.А. Справочник фрезеровщика, 1984
  10. Григорьев С.П. Практика координатно-расточных і фрезерных работ, 1980
  11. Копылов Р.Б. Работа на фрезерных верстатах,1971
  12. Косовский В.Л. Справочник молодого фрезеровщика, 1992, с.180
  13. Кувшинский В.В. Фрезерование,1977
  14. Ничков А.Г. Фрезерные верстати (Библиотека станочника), 1977
  15. Пикус М.Ю. Справочник слесаря по ремонту металлорежущих верстатів, 1987
  16. Плотицын В.Г. Расчёты настроек і наладок фрезерных верстатів, 1969
  17. Плотицын В.Г. Наладка фрезерных верстатів,1975
  18. Рябов С.А. Современные фрезерные верстати і их оснастка, 2006
  19. Схиртладзе А.Г., Новиков В.Ю. Технологическое обладнання машиностроительных производств, 1980
  20. Тепинкичиев В.К. Металлорежущие верстати, 1973
  21. Чернов Н.Н. Металлорежущие верстати, 1988
  22. Френкель С.Ш. Справочник молодого фрезеровщика (3-е изд.) (Профтехобразование), 1978








Заказать

Если отложить дело надолго, то его либо выполнит кто-нибудь другой, либо оно вообще перестанет быть нужным.

Закон Мерфи