Виробник настільного свердлувального верстата моделі СУС-1 - Вільнюське державне підприємство Практика .
Свердлильний настільний верстат СУС-1 - сучасний аналог 2м112.
Верстат настільно-свердлильний вертикальний навчальний моделі СУС-1 та його модифікації ВС1, ВС2 призначені для свердління отворів діаметром до 12 мм та нарізування різьблення діаметром до М12 у дрібних деталях із чавуну, сталі, кольорових сплавів та неметалічних матеріалів.
Свердлильний верстат СУС-1 дозволяє виконувати такі операції:
Виробник – Вільнюське державне підприємство Практика. Початок виробництва 1988 рік.
Шпиндель верстата СУС-1 отримує п'ять швидкостей обертання від п'ятиступінчастиних шківів приводу, що забезпечує вільний вибір швидкостей різання в діапазоні від 450 до 4500 об/хв.
Кінець шпинделя – зовнішній укорочений конус морзе КМ2, позначення В18 за ГОСТ 9953 (Конуси інструментальні укорочені) – конус укорочений: D = 17,780 мм, довжина конуса 37,0 мм.
Укороченому конусу В18 відповідає свердлильний трикулачковий патрон 16-го типорозміру за ГОСТ 8522 (Патрони трикулачкові свердлильні) з діапазоном затиску від 3 до 16 мм.
Приклад умовного позначення свердлильного 3-х кулачкового патрона, типорозміру 16, з конусним приєднувальним отвором В18:
Патрон 16-Б18 ГОСТ 8522-79
Конус інструментальний - Конус Морзе - одне з найбільш застосовуваних кріплень інструменту. Був запропонований Стівеном А. Морзе приблизно 1864 року.
Конус Морзе підрозділяється на вісім розмірів - від КМ0 до КМ7 (англійською: MT0-MT7, німецькою: MK0-MK7).
Стандарти на конус Морзе: ГОСТ 25557 (Конуси інструментальні. Основні розміри), ISO 296, DIN 228. Конуси, виготовлені за дюймовими та метричними стандартами, взаємозамінні у всьому, крім різьблення хвостовика.
Для багатьох застосувань довжина конуса Морзе виявилася надмірною . Тому було введено стандарт на дев'ять типорозмірів укорочених конусів Морзе (B7, B10, B12, B16, B18, B22, B24, B32, B45), ці розміри отримані видаленням більш товстої частинини конуса. Цифра позначення короткого конуса — діаметр товстої частинини конуса в мм.
Російський стандарт на укорочені конуси ГОСТ 9953 Конуси інструментів укорочені .
Російський стандарт на свердлильні патрони ГОСТ 8522 Патрони свердлильні трикулачні .
Де D – діаметр конуса в основній площині.
Відлік глибини свердління провадиться по лімбу на рукоятці подачі шпинделя. У рукоятку вбудований упор, що настроюється, який можна налаштувати на потрібну глибину свердління.
Оригінальна конструкція натягу ремінної передачі дозволяє швидко змінювати положення ременя на шківах для отримання потрібної швидкості різання.
Використання тумби для встановлення верстата дає можливість свердліти торці довгих деталей, наприклад валів. Діаметр валу – до сто двадцяти міліметрів, довжина – до тисячі міліметрів.

Посадочні місця та приєднувальні розміри свердлувального верстата СУС-1

Фото свердлильного верстата сус-1

Фото свердлильного верстата сус-1

Фото свердлильного верстата сус-1. Лімб подачі шпинделя

Фото свердлильного верстата сус-1

Розташування складових частинин свердлувального верстата сус-1
Основу шпиндельної бабки складає чавунний корпус. У корпусі змонтовано шпиндельний вузол, механізм натягу ременя, місцеве освітлення верстата.
Позаду бабці прикріплений електродвигун.
Шпиндельна бабка може повертатися на колонці та фіксуватися у потрібному положенні.
Для переміщення шпиндельної бабки колонкою 1 (рис. 2) треба звільнити затискний пристрій 2.
Поворотом гайки 4 ліворуч або праворуч можна підняти або опустити шпиндельну бабку 8.

Розташування органів керування свердлильним верстатом сус-1

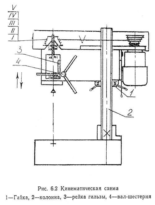
Кінематична схема сверлильного верстата сус-1

Креслення шпиндельного вузла сверлильного верстата сус-1
Шпиндельный узел смонтирован в корпусе, а шпиндель 1 — в гильзе 4 на шарикопідшипниках 3 і 5.
Шпиндель получает вращение от втулки 7 і шкива 6 через шлицевое соединение.
Подача шпинделя — ручная, осуществляется вращением штурвала при помощи вала-шестерни 8 і гильзы з рейкой 4.
Гайка 2 предназначена для снятия сверлильного патрона з конуса шпинделя.
Ручка натяжителя ремня регулирует расстояние между подающим і приемным шкивами верстата

Налаштування шкалы переміщення шпинделя верстата сус-1
При сверлении отверстий на заданную глубину следует пользоваться механізмом лимба, дающим возможность сверления до упора. Освобождается крышка поз. 1 поворотом против часовий стрелки. При помощи рукоятки ручной подачі шпинделя поз. 1 рис. 6.1 сверло подводится до соприкосновения з деталью. Придерживая рукоятку в етом положении лимб поз. 2, поворачивая его против часовий стрелки, настраивается на нужную глубину сверления. Цена деления лимба 1 мм. Отсчет глубины сверления производится по отношению стрелки поз. 3, і фиксируется поворотом крышки. Сверление производится до упора.
Сверление сквозных отверстии може производиться з освобожденным лимбом поз. 2, который освобождается поворотом крышки поз. 1.
Частота обертання шпинделя изменяется при помощи] клиноременной передачи. Имеется п'ять частот обертання шпинделя (рис. 6.2). Для изменения частоти обертання шпинделя поднимается кожух, закрывающий клиноременную передачу, до его автоматичною фиксации (фиксатор поз. 16 рис, 6.1). Рукояткой поз. о освобождается салазки от зажима. При замене ремня необходимо передвинуть салазки, уменьшая расстояние между шкивами. Для етого рукоятка натяжения ремня поворачивается до упора. При недостаточном ходе рукоятки, она освобождается винтов поз. 17. Одновременно освобождается і винт поз. 18, который ввинчивается до отказа в гайку поз. 19. Рукоятка фиксируется винтом поз. 17. Надевается ремень і его натяжение приводится в обратном порядке.
При частиничном износе ремня, натяжение производится аналогично его замене.
При натянутом ремне рекомендуемое положение рукоятки поз. 2 показано в черт. 6.1 Вид Б. В случае значительного отклонения рукоятки от рекомендуемого положения, следует произвести регулировку освобождением болта поз. 17 і поворачиванием рукоятки.
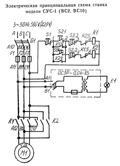
Електроживлення свердлильного верстата СУС-1 ~ 380 або ~ 220 Вольт. Верстати, виготовлені для промислових підприємств та навчальних закладів мають напругу живлення ~380 В, для пересувних майстерень - ~220 В. Місцеве освітлення має безпечну напругу ~24 В.
Все електроустаткування верстата: перемикачі, трансформатор, запобіжники розміщується під плитою робочого столу.

Електрична схема свердлильного верстата СУС-1 на 380В
| Найменування параметру | СУС-1 | 2M112 | NS12A |
|---|---|---|---|
| Основні параметри верстата | |||
| Найбільший діаметр свердління, мм | 12 | 12 | 12 |
| Найменша та найбільша відстань від торця шпинделя до столу | 0...400 | 0...400 | 20..420 |
| Відстань від осі вертикального шпинделя до направляючих стійки (виліт), мм | 190 | 190 | 185 |
| Робочий стіл | |||
| Ширина робочої поверхні столу, мм | 250 х 250 | 250 х 250 | 360 x 360 |
| Число Т-подібних пазів | 1 | 3 | 3 |
| Шпиндель | |||
| Найбільше переміщення шпиндельної головки, мм | 300 | ||
| Хід гільзи шпинделя, мм | 100 | 100 | 100 |
| Частота обертання шпинделя, об/хв | 450, 800, 1400, 2500, 4500 | 450, 800, 1400, 2500, 4500 | 450, 710, 1400, 2500, 4500 |
| Кількість швидкостей шпинделя | 5 | 5 | 5 |
| Конус шпинделя | Морзе В18 | Морзе В18 | Морзе В18 |
| Привід | |||
| Електродвигун приводу головного руху, кВт | 0,55 | 0,55 | 0,65 |
| Габарит та маса верстата | |||
| Габарити верстата (довжина ширина висота), мм | 795 х 370 х 960 | 795 х 370 х 950 | 770 х 465 х 700 |
| Маса верстата, кг | 115 | 120 | 121 |