metalinstryment.com
Довідник по металорізальних верстатів та пресовому обладнанні

6П80г Верстат горизонтальный консольно-фрезерный
схеми, опис, характеристики

Верстат горизонтальный фрезерный консольный 6П80г







Відомості про виробника горизонтального консольно-фрезерного верстата 6П80г

Горизонтальный консольно-фрезерный верстат 6П80Г выпускался предприятием Вильнюсский станкостроительный завод "Жальгирис".

В 1947 году станкостроительный завод «Жальгирис» выпустил первую продукцию - 13 настольно-сверлильных верстатів.

В 1949 году было начато освоение более сложной продукции – поперечно–строгальных верстатів, за которыми післядовало производство горизонтальных, вертикальних і универсальных консольно–фрезерных верстатів.





Верстати, выпускаемые Вильнюсским станкостроительным заводом "Жальгирис"


6П80Г Верстат горизонтальный консольно-фрезерный універсальний. Назначение і область применения

Горизонтальный консольно-фрезерный верстат 6П80Г - базовая модель, на базе которой были разработаны модели:

Верстат 6П80Г предназначен для фрезерування различных деталей из стали, чугуна і цветных металлов сравнительно небольших размеров. Обработка деталей осуществляется цилиндрическими, дисковыми, фасонными, угловыми, модульными і торцовыми фрезами как встречным, так і попутным фрезерованием. Верстат используется в условиях индивидуального і серийного производства. При наличии делительной головки можно фрезеровать прямозубые шестерни, рейки, канавки і т. п.

Достаточная мощность приводов і широкий диапазон швидкостей і подач позволяют успешно работать на станке, как быстрорежущими фрезами, так і фрезами, оснащенными пластинками твердого сплава.

Принцип роботи горизонтального фрезерного верстата 6П80г

Обрабатываемые детали устанавливают непосредственно на столе, в тисках или специальных приспособлениях. Для обробки деталей в нескольких позициях широко используется универсальная делительная головка, которая позволяет производить делительные повороты детали на требуемое количество равных частин. Насадные фрезы, цилиндрические, дисковые і др., устанавливают на шпиндельных оправках, хвостовые — непосредственно в шпинделе или в цанговом патроне.

При установці фрез на оправках післядние одним концом вставляют в конус шпинделя, а другим — в отверстие подвески.

Торцовые фрезерные головки закрепляют на торце шпинделя. Налаштування верстата в соответствии з конфигурацией і размерами обрабатываемой детали производится переміщенням стола В, поперечных салазок Д і консоли Е.

Класс точності верстата Н по ГОСТ 8—77.


Габаритные розміри робочого простору фрезерного верстата 6П80г

6П80г Габаритные розміри робочого простору універсального горизонтального консольно-фрезерного верстата

Габарит робочого простору фрезерного верстата 6П80г

Розташування органів керування фрезерным верстатом 6П80г. Дивитись у збільшеному масштабі



Параметри шпинделя

Параметри стола

Загальний вигляд горизонтального консольно-фрезерного верстата 6П80г

Загальний вигляд  6П80г cтанок горизонтальный консольно-фрезерный

Фото фрезерного верстата 6П80г


Розташування органів керування фрезерным верстатом 6П80г

Розташування органів керування фрезерным верстатом 6П80г

Розташування органів керування фрезерным верстатом 6П80г

Розташування органів керування фрезерным верстатом 6П80г. Дивитись у збільшеному масштабі



Горизонтальный консольно-фрезерный верстат 6П80Г. Основні вузли верстата:

Список органів керування фрезерным верстатом 6П80г

  1. рукоятка для переключения коробки швидкостей;
  2. рукоятка для переключения перебора шпинделя;
  3. маховичок ручного продольного переміщення стола;
  4. рукоятка увімкнення поздовжньої подачі стола;
  5. маховичок ручного поперечного переміщення стола;
  6. рукоятка ручного вертикального переміщення консоли;
  7. маховичок для переключения коробки подач;
  8. рукоятка переключения перебора коробки подач;
  9. рукоятка для увімкнення і реверсирования поперечної і вертикальной подач стола.




Кінематична схема горизонтального консольно-фрезерного верстата 6п80г

Кінематична схема 6П80г cтанок горизонтальный консольно-фрезерный

Кінематична схема фрезерного верстата 6п80г

Схема кінематична консольно-фрезерного верстата 6П80г. Дивитись у збільшеному масштабі

Схема кінематична консольно-фрезерного верстата 6П80г. Дивитись у збільшеному масштабі



Движения в станке

Конструктивные особливості консольно-фрезерного верстата 6п80г

Верстат имеет разделенный привід руху різання, т. е. коробка швидкостей смонтирована в станине в виде отдельного вузла, а вращение шпинделю передається клиновыми ремнями. Это обеспечивает безвибрационную работу верстата даже на самых высоких числах оборотів шпинделя.

Шпиндель смонтирован на прецизионных двойных роликовых підшипниках серии 3182100 високою жесткости. Шпиндель разгружен от изгибающих усилий со стороны ременной передачи, так как приводной шкив установлен на независимых підшипниках. Для более равномерного обертання шпинделя его приводная шестерня сделана массивной, поетому она одновременно выполняет роль маховика. Быстрая остановка обертання шпинделя обеспечивается наличием тормоза з електромагнитным приводом.

Верстат имеет две подвески хобота: одну на підшипниках качения, предназначенную для скоростных работ; другую на підшипниках ковзання, обеспечивающую работу з фрезами диаметром менее 75 мм. Для повышения жесткости системы хобот Б може быть соединен з консолью Е дополнительной связью Г.

В приводе подач имеется шариковая предохранительная муфта, исключающая возможность поломки елементів приводу при чрезмерном увеличении нагрузки.

Для фрезерування попутным методом в приводе поздовжньої подачі стола (предусмотрен механізм для периодического устранения зазору между ходовым винтом і гайками.

Рух різання. Привід руху різання состоит из коробки швидкостей, клиноременной передачи з натяжным пристрійм і перебора.

Фланцевый електродвигатель мощностью 2,8 кВт (рис. 77, а) связан з валом I коробки швидкостей упругой муфтой. В коробке швидкостей имеется тройной Б1 і двойной Б2 передвижные блоки шестерен, обеспечивающие валу III шесть различных швидкостей обертання, которые через шестерни 26—22 натяжного пристроя і клиноременную передачу 210—210 сообщаются полому валику V, находящемуся на шпинделе.

От етого валика вращение передається шпинделю VII через перебор, когда муфта М1 (выключена, а блок шестерен Б3 введен в зацепление з шестернями 31 і 71 (как показано на схеме), или вращение передається непосредственно, когда муфта М1 включена, а шестерни блока Б3 выведены из зацепления. Переключения муфты M1 і блока Б3 сблокированы і осуществляются одной рукояткой. Всего шпинделю сообщается 12 различных швидкостей (рис. 77, 6).





Пристрій і робота горизонтального верстата 6П80г

Вузли верстата моделі 6П80Г

Вузли горизонтального фрезерного верстата 6п80г

Вузли горизонтального фрезерного верстата 6п80г

Вузли горизонтального фрезерного верстата 6п80г. Дивитись у збільшеному масштабі


Тормоз і натяжное пристрій

На рис. 78, а показан разрез коробки швидкостей. На кінці шлицевого вала II насажен тормозной диск 5 з пластмассовой фрикционной конической обкладкой 8. На корпусе коробки нерухомо закреплен фланец 10 з металлическим кольцом 9. С нижней частью фланца 10 соединен качающийся рычаг 6, второй конец которого з помощью стяжки 4 связан з якорем електромагнита 3. В рычаге 3 заложен подпружиненный шарик 7, который через шайбу упирается в торец тормозного диска 5.

При отключении електродвигуна автоматически включается електромагнит 3, благодаря чему производится торможение приводу руху різання.

Натяжение клиновых ремней 12 осуществляется за счет поворота кронштейна 2 со шкивом 1 относительно вала II.

Механізм переключения коробки подач

Однорукояточное керування коробкой подач (рис. 78, б) состоит из передающей частини, исполнительного механізма і указателя величины подач.

Вращением маховика 14, закрепленного на валу II. рух колесами 10—9—8 передається валику 17, на кінці которого на шпонке установлена коническая шестерня 7. Находясь в постоянном зацеплении з зубьями диска 6, шестерня 7 сообщает ему вращательное движение.

Диск 6 имеет три торцовых криволинейных паза: два из них а і b расположены з передньої стороны, а третий (на рисунке не виден) — со стороны зубчатого венца. В криволинейные пазы диска входят ролики 18, установленные на качающихся рычагах 3 5 і 19.

Эти рычаги при вращении диска 6 поворачиваются на определенный угол относительно своих осей в зависимости от кривизны пазов. Сухари 4, смонтированные на концах рычагов 3, 5 і 19 входят в кольцевые выточки блоков шестерен і перемещают их в требуемое положение для данной величины подачі.

Диск 6 имеет по периферии 12 V-образных канавок с, в которые входит фиксатор 20, подпираемый пружиной 2. Натяжение пружины регулируется резьбовой пробкой 1. Таким образом, диск 6 в соответствии з количеством ступеней подач имеет 12 фиксированных положений.

Из соотношения чисел зубьев цилиндрических і конической передач видно, что диск 6 сделает полный оборот за три оборота маховика 14. Указатель 12 имеет внутренние зубья, з которыми зацепляется шестерня 15, закрепленная на валу 16. Передаточное отношение передачи з внутренним зацеплением также 1:3, следовательно, одному обороту диска 6 соответствует один оборот указателя 12, на передньої стенке которого нанесены цифры величин продольных подач. Стрелка 13 указывает величину поздовжньої подачі для данного положения механізма.

Механізм увімкнення вертикальних і поперечных подач

Вертикальные і поперечные механические подачі включаются одной рукояткой 1 (рис. 78, в) по мнемоническому правилу, т. е. куда поворачивается рукоятка, в том направлении і будет происходить подача стола. Рукоятка 1 закреплена на оси 4 в барабанном кулачке 3. Последний установлен на поворотных цапфах 2 в консоли верстата.

Шаровой конец з рукоятки 1 входит в продольный паз коромысла 5, жестко закрепленного на валу 14. На нижнем кінці вала установлен на шпильке фиксирующий диск 13 з кривошипным пальцем 9. В диске имеются три V образных углубления, в которые под действием пружины 11 заскакивает фиксатор 12. Резьбовая пробка 10 служит для регулювання силы нажима на фиксатор. Кривошипный палец 9 входит в продолговатый паз двуплечего рычага 8, на противоположном кінці которого расположен бронзовый сухарь 7. Последний входит в кольцевую выточку двусторонней кулачковой муфты М6 (рис. 77, а) увімкнення поперечных подач. При нажиме на рукоятку 1 (рис. 78, в) в направлении стрелки А і В поворачивается диск 13 з кривошипным пальцем 9. Палец поворачивает рычаг 8, включая поперечную подачу в соответствующем направлении.

Увімкнення вертикальних подач производится при нажиме на рукоятку 1 в направлении стрелок С і D. В етом случае на цапфах 2 поворачивается барабанный кулачок 3 і винтовым пазом b, расположенным на его нижней цилиндрической поверхности, нажимает на ролик 15, заставляя поворачиваться двуплечий рычаг 6, несущий на кінці бронзовый сухарь. Этот сухарь входит о кольцевую выточку двусторонней кулачковой муфты М5 (рис. 77, а) і включает вертикальные подачі стола.

Блокировочный механізм увімкнення подач

Для предохранения робочого от травмирования маховиком ручного поперечного переміщення стола или рукояткой ручного вертикального переміщення консоли предусмотрены блокировочные механізмы.

При нейтральном положении двусторонней кулачковой муфты (рис. 78, г), когда механическая подача выключена, маховик 5 ручного переміщення може быть сдвинут в направлении стрелки а і войти в зацепление своими торцовыми кулачками з полумуфтой 4, закрепленной на поперечном ходовом винте 6, благодаря чему може производиться ручное поперечное перемещение стола.

В етом случае верхний конец собачки 2 располагают во внутренней выточке муфты Л вследствие чего стержень 3 не препятствует осевому смещению маховика 5. Однако при включении механической подачі в том или ином направлении муфта 1 нажимает на собачку 2, а післядняя выталкивает вправо стержень 3 і выводит маховичок 5 из зацепления з полумуфтой 4.

Шпиндель горизонтального фрезерного верстата 6п80г

Шпиндель горизонтального фрезерного верстата 6п80г

Шпиндель горизонтального фрезерного верстата 6п80г. Дивитись у збільшеному масштабі



Коробка подач горизонтального фрезерного верстата 6п80г

Коробка подач горизонтального фрезерного верстата 6п80г


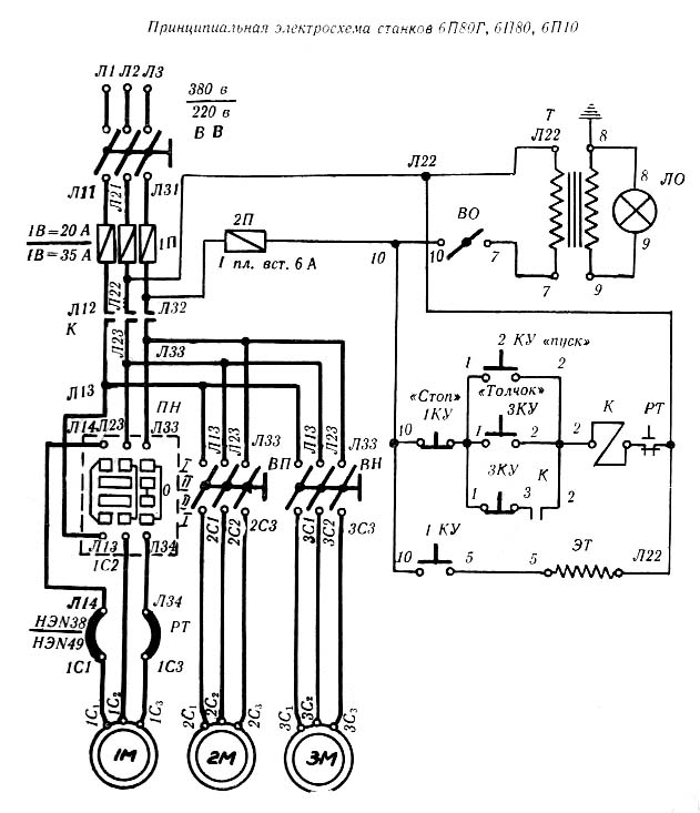
Схема електрична вертикально-фрезерного верстата 6П80г

6П80г Схема електрична вертикально-фрезерного верстата 6П80г

Електрична схема фрезерного верстата 6П80г






Технічні характеристики верстатів моделей 6П80г

Наименование параметра 6п80г 6н80г 6р80г 6т80г
Основні параметри верстата
Розміри поверхности стола, мм 800 х 200 800 х 200 800 х 200 800 х 200
Наибольшие розміри устанавливаемой детали (длина х ширина х высота), мм 500 х 160 х 300 800 х 260 х 450
Наибольшие розміри обрабатываемой детали (длина х ширина х высота), мм 550 х 210 х 330
Наибольшая масса обрабатываемой детали, кг 150 200
Расстояние от оси шпинделя до хобота, мм 140 123 123
Расстояние от оси шпинделя до поверхности стола, мм 0..300 20..320 20..320 0..360
Расстояние от торца шпинделя до підшипника серьги, мм 441 440 450
Расстояние от задньої кромки стола до вертикальних направляючих станины (вылет), мм 240 75..235 80..240
Расстояние от задньої кромки стола до торца шпинделя, мм 198
Шпиндель горизонтальный
Частота обертання шпинделя, об/мин 50..2240 50..2240 50..2240 50..2240
Количество швидкостей шпинделя 12 12 12
Наибольший крутящий момент на шпинделе, Н*м 158 155
Кінець шпинделя ГОСТ 836-72 (ГОСТ 24644) № 2 Конус 40 Конус 40
Стол. Подачи стола
Наибольший продольный ход стола (X), мм 500 500 500 560
Наибольший поперечний ход стола (Y), мм 160 160 160 220
Наибольший вертикальний ход стола (Z), мм 300 300 300 355
Угол поворота стола, град - - - -
Пределы продольных подач стола (X), мм/мин 22,4..1000 25..1120 20..1000
Пределы поперечных подач стола (Y), мм/мин 16..710 25..1120 20..1000
Пределы вертикальних подач стола (Z), мм/мин 8..355 12,5..560 10..500
Количество ступеней подач стола (продольных, поперечных, вертикальних) 12 12 18
Скорость быстрых перемещений (продольных, поперечных/ вертикальних) X, Y/ Z, м/мин 2,8/ 2,0/ 0,8 2,3/ 1,6/ 0,8 2,3/ 2,3/ 1,1 3,35/ 1,7
Перемещение стола на одно деление лимба (продольное, поперечное/ вертикальное), мм 0,05/ 0,02 0,06/ 0,02 0,06/ 0,02 0,05/ 0,02
Перемещение стола на один оборот лимба (продольное, поперечное/ вертикальное), мм 6/ 2 6/ 2 6/ 2 5/ 2
Наибольшее допустимое усиле різання (продольное/ поперечное/ вертикальное), кН 700/ 500/ 500
Механіка верстата
Выключающие упоры подачі (поздовжньої, поперечної, вертикальной) Есть Есть Есть Есть
Блокировка ручной і механической подач (поздовжньої, поперечної, вертикальной) Есть Есть
Блокировка раздельного увімкнення подач Есть Есть
Торможение шпинделя Есть Есть
Предохранительная муфта от перегрузок Есть Есть Есть
Автоматическая прерывистая подача Есть Есть
Електроустаткування і приводы верстата
Количество електродвигателей на станке 3 3 3 3
Електродвигун головного руху, кВт 2,8 3,0 3,0 3,0
Електродвигун приводу подач, кВт 0,6 0,6 0,8 0,75
Електродвигун зажиму инструмента, кВт - - -
Електродвигун насоса СОЖ, кВт 0,125 0,125 0,125
Суммарная мощность всех електродвигателей, кВт 3,925 3,87
Габарити і масса верстата
Габарити верстата (длина ширина высота), мм 1720 х 1785 х 1575 1380 х 1860 х 1530 1445 х 1875 х 1730 1505 х 1900 х 1808
Масса верстата, кг 1350 1150 1300 1340

    Список литературы:

  1. Горизонтально-фрезерный верстат 6П80Г. Універсально-фрезерный верстат 6П80. Руководство к верстатам, 1969

  2. Аврутин С.В. Основы фрезерного дела, 1962
  3. Аврутин С.В. Фрезерне дело, 1963
  4. Ачеркан Н.С. Металлорежущие верстати, Том 1, 1965
  5. Барбашов Ф.А. Фрезерне дело 1973, с.141
  6. Барбашов Ф.А. Фрезерные роботи (Профтехобразование), 1986
  7. Блюмберг В.А. Справочник фрезеровщика, 1984
  8. Григорьев С.П. Практика координатно-расточных і фрезерных работ, 1980
  9. Копылов Р.Б. Работа на фрезерных верстатах,1971
  10. Косовский В.Л. Справочник молодого фрезеровщика, 1992, с.180
  11. Кувшинский В.В. Фрезерование,1977
  12. Ничков А.Г. Фрезерные верстати (Библиотека станочника), 1977
  13. Пикус М.Ю. Справочник слесаря по ремонту металлорежущих верстатів, 1987
  14. Плотицын В.Г. Расчёты настроек і наладок фрезерных верстатів, 1969
  15. Плотицын В.Г. Наладка фрезерных верстатів,1975
  16. Рябов С.А. Современные фрезерные верстати і их оснастка, 2006
  17. Схиртладзе А.Г., Новиков В.Ю. Технологическое обладнання машиностроительных производств, 1980
  18. Тепинкичиев В.К. Металлорежущие верстати, 1973
  19. Чернов Н.Н. Металлорежущие верстати, 1988
  20. Френкель С.Ш. Справочник молодого фрезеровщика (3-е изд.) (Профтехобразование), 1978