metalinstryment.com
Довідник по металорізальних верстатів та пресовому обладнанні

6М82Г Верстат горизонтальный консольно-фрезерный
схеми, опис, характеристики

Верстат горизонтальный фрезерный консольный 6М82Г







Відомості про виробника консольно-фрезерного верстата 6М82Г

Производитель универсальных фрезерных верстатів 6М82Г Горьковский завод фрезерных верстатів, основанный в 1931 году.

Завод специализируется на выпуске широкой гаммы универсальных фрезерных верстатів, а, также, фрезерных верстатів з УЦИ і ЧПУ, і является одним из наиболее известных станкостроительных предприятий в России.

Производство фрезерных верстатів на Горьковском станкостроительном заводе началось в 1932 году.

В 1961 году завод начал выпуск серию горизонтальных консольно-фрезерных верстатів 6М82Г і 6М83Г, которые є дальнейшим развитием верстатів аналогичных моделей серии Н.





Продукция Горьковского завода фрезерных верстатів ГЗФС


6М82Г, 6М82ГБ Верстат фрезерный горизонтальный консольный з неповоротным столом. Назначение і область применения

Верстат горизонтальный консольно-фрезерный 6М82Г заменил в производстве устаревшую модель 6Н82Г і был заменен на более совершенную модель 6Р82Г.

Консольно-фрезерные верстати моделей 6М82Г, 6М82ГБ предназначены для фрезерування всевозможных деталей из стали, чугуна і цветных металлов цилиндрическими, дисковыми, фасонными, угловыми, торцовыми, кінцівыми і другими фрезами в условиях индивидуального і серийного производства. Возможность налаштування верстата на различные напівавтоматические і автоматические циклы позволяет успешно использовать верстати для выполнения работ операционного характера в поточных і автоматических лініях в крупносерийном производстве.

На фрезерном станке моделі 6М82Г можно обрабатывать вертикальные і горизонтальные плоскости, пазы, углы, рамки, зубчасті колеса.

На станке моделі 6М82ГБ можно успешно обрабатывать легкие сплавы.

Верстати 6М82Г предназначены для выполнения различных фрезерных работ в условиях как индивидуального, так і крупносерийного производства. В условиях крупносерийного производства верстати могут быть успешно использованы также для выполнения работ операционного характера.

Технічна характеристика і высокая жесткость верстатів 6М82Г позволяют полностью использовать возможности как быстрорежущего, так і твердосплавного инструмента.

Технологические возможности верстата могут быть расширены з применением делительной головки, поворотного круглого стола, накладной универсальной головки і других пристосувань.

Верстати автоматизированы і могут быть настроены на различные, автоматические циклы, что повышает производительность труда, исключает необходимость обслуживания верстатів рабочими високою квалификации і облегчает возможность организации многостаночного обслуживания.

Особливості конструкції і принцип роботи верстата 6М82Г

По сравнению з ранее выпускавшимися верстатами серии Н в верстатах серии М увеличены частоти обертання шпинделя, скорости быстрых перемещений і подач стола. Для удобства переміщення стола вручную маховик помещен з передньої стороны верстата.

Внешне верстат 6М82Г отличается от ранее выпускаемой моделі 6Н82Г лишь наличием маховичка поздовжньої подачі на передньої стороне стола.

Консольно-фрезерные верстати моделей 6М82Г, 6М82ГБ представляют собой оригинальные верстати високою точності і жесткости.

Універсальный консольно-фрезерный верстат моделі 6М82 отличается от горизонтального консольно-фрезерного верстата моделі 6М82Г тем, что его стол може быть повернут вокруг вертикальной оси на угол до 45° в обе стороны, тогда как стол верстата моделі 6М82Г — неповоротный.

Верстати моделі 6М83 (6М83Г) отличаются от верстатів 6М82 (6М82Г) увеличенными размерами робочого стола і более мощным двигателем головного руху.

Горизонтальный быстроходный консольно-фрезерный верстат моделі 6М82ГБ отличается от верстата моделі 6М82Г наличием более высоких чисел оборотів шпинделя і подач стола.

Для сокращения вспомогательного часу і удобства керування в верстатах предусматриваются:

Пределы использования верстатів по мощности і силовым нагрузкам

При высоких і средних числах оборотів шпинделя пределы использования верстатів ограничиваются головним образом допустимыми значениями швидкостей різання для фрез і мощностью електродвигуна головного руху.

Во всех случаях обробки, где возможно применение скоростного фрезерування, рекомендуется использовать верстати на скоростных режимах как наиболее производительных і обеспечивающих спокойную, виброустойчивую работу верстатів.

Фрезерование цилиндрическими быстрорежущими фрезами разрешается з нагрузкой стола усилием подачі не более 1500 кг.

Как показала практика експлуатации консольно-фрезерных верстатів, при работе фрезами из быстрорежущей стали иногда при некотором соотношении параметров режимов різання возникают вибрации. В етих случаях рекомендуется увеличить подачу на зуб или применить фрезы конструкції Карасева з неравномерным шагом і крутой спиралью.

При работе верстата на тяжелых режимах різання лимитирующими факторами, как правило, є стойкость і прочность режущего инструмента.

С етой точки зрения можно рекомендовать в качестве предельных режимов фрезерування наступні:

Работа торцовыми фрезами по стали

Работа цилиндрическими наборными фрезами по чугуну

Работа торцовыми фрезами по чугуну

Наиболее рациональным является использование полной мощности електродвигуна при работе на средних числах оборотів шпинделя і использование 70—75% мощности електродвигуна при работе на низких (4—-5 ступенях) числах оборотів.

Класс точності верстата Н по ГОСТ 8—77.


Модифікації консольно-фрезерных верстатів серии 6М

Серия 6М консольно-фрезерных верстатів - 6М12П, 6М12ПБ, 6М13П, 6М13ПБ, 6М82, 6М82Г, 6М82ГБ, 6М82Ш, 6М83, 6М83Г, 6М83Ш, запущенна в 1961 году, включет в себя несколько модификаций:


История выпуска верстатів Горьковским заводом, ГЗФС

В 1937 году на Горьковском заводе фрезерных верстатів были изготовлены первые консольно-фрезерные верстати серии 6Б моделей 6Б12 і 6Б82 з рабочим столом 320 х 1250 мм (2-го типоразмера).

В 1951 году запущена в производство серия консольно-фрезерных верстатів собственной конструкції (Новые): 6Н12, 6Н13П, 6Н82, 6Н82Г. Верстат 6Н13ПР получил “Гран-При” на всемирной выставке в Брюсселе в 1956 году.

В 1960 году запущена в производство серия консольно-фрезерных верстатів: 6М12П, 6М13П, 6М82, 6М82Г, 6М83, 6М83Г, 6М82Ш.

В 1972 году запущена в производство серия консольно-фрезерных верстатів: 6Р12, 6Р12Б, 6Р13, 6Р13Б, 6Р13Ф3, 6Р82, 6Р82Г, 6Р82Ш, 6Р83, 6Р83Г, 6Р83Ш.

В 1975 году запущены в производство копировальные консольно-фрезерные верстати: 6Р13К.

В 1978 году запущены в производство копировальные консольно-фрезерные верстати 6Р12К-1, 6Р82К-1.

В 1985 году запущена в производство серия 6Т-1 консольно-фрезерных верстатів: 6Т12-1, 6Т13-1, 6Т82-1, 6Т83-1 і ГФ2171.

В 1991 году запущена в производство серия консольно-фрезерных верстатів: 6Т12, 6Т12Ф20, 6Т13, 6Т13Ф20, 6Т13Ф3, 6Т82, 6Т82Г, 6Т82ш, 6Т83, 6Т83Г, 6Т83Ш.








Присоединительные базы фрезерного верстата 6М82Г. Хобот і серьги

6М82Г Габаритные розміри робочого простору і присоединительные базы універсального горизонтального консольно-фрезерного верстата

Присоединительные базы фрезерного верстата 6М82г. Хобот і серьги


Присоединительные базы фрезерного верстата 6М82Г. Шпиндель

6М82Г Габаритные розміри робочого простору і присоединительные базы універсального горизонтального консольно-фрезерного верстата

Присоединительные базы фрезерного верстата 6М82г. Шпиндель


Загальний вигляд горизонтального консольно-фрезерного верстата 6М82Г

Загальний вигляд  6М82Г cтанок горизонтальный консольно-фрезерный

Фото фрезерного верстата 6М82г


Розташування складових частин фрезерного верстата 6М82Г

состав горизонтального консольно-фрезерного верстата 6М82Г

Розташування складових частин фрезерного верстата 6М82г


Cклад і конструкция фрезерного верстата 6М82Г

Станина 5 является основанием верстата. Ее вертикальные направляющие служат для руху консоли 18, а горизонтальные — для переміщення хобота 8. Внутри станины расположена коробка швидкостей, а з левой і правой стороны — ниши, закрытые дверцами 1. В нишах на четырех панелях размещено електрообладнання верстата. На дверце, находящейся з правой стороны верстата (на рис. 36 не показана), находится переключатель, который устанавливается в одно из следующих трех положений: «автоматический цикл», «подача от рукоятки», «круглый стол».

«Автоматический цикл» обычно целесообразно применять только для изготовления больших партий одинаковых изделий. При етом цикле всеми рухуми стола управляют кулачки, установленные в переднем пазу стола.

В положение «круглый стол» переключатель устанавливают при наладке верстата для обробки заготовок на круглом вращающемся столе. Этот способ обробки чаще всего применяют для непрерывного фрезерування деталей.

Консоль 18 служит для подъема или опускания стола 13. Внутри нее помещены механізмы подач і быстрых перемещений стола з отдельным електродвигуном. На передньої стенке консоли находятся рукоятки для керування рухуми стола і увімкнення любой из 18 ступеней швидкостей подач стола.

Салазки 17 могут двигаться вместе з поворотной плитой 16 і столом 13 по направляющим консоли, что позволяет осуществлять поперечную подачу стола. На поворотной плите 16 имеются направляющие для продольного переміщення стола.

Стол 13 служит для установки на него обрабатываемых заготовок і для переміщення их в продольном направлении. Т-образные пазы стола предназначены для головок болтов, крепящих изделие или пристрій. Паз, расположенный на передньої боковой поверхности стола, служит для установки кулачков 26, автоматически переключающих продольные переміщення стола.

Хобот 8. Помещенные на нем одна или две подвески 12 служат для опори правого кінця оправки 10. Лівий конічний конец оправки устанавливают во внутренний конус шпинделя 9 і закрепляют в нем болтом.

Хобот закрепляется на направляючих станины двумя гайками 6. Для переміщення хобота гайки 6 слегка отвинчивают, затем вращением шестигранной головки 7 хобот передвигают по направляющим станины в нужное положение і закрепляют в нем завинчиванием гаек 6. Подвески 12 закреплены на хоботе болтами 11.

Цикл обробки заготовок на станке. Заготовку устанавливают на стол верстата, поворачивают рукоятку 14 (или 22) в сторону переміщення стола і кнопкой «Быстро стол» з пульта керування включают ускоренное перемещение стола і установленной на нем заготовки к фрезе. При прекращении нажима на ету кнопку стол начинает перемещаться з рабочей подачей в том же направлении. В ето время фреза обрабатывает поверхность заготовки. По окончании обробки кулачок 26 поворачивает рукоятку 14 в нейтральное положение, отключая подачу стола. Рабочий снимает обработанную деталь, поворачивает рукоятку 14 в обратную сторону і включает ускоренный обратный ход стола. Кнопка «Быстро стол» должна быть отпущена для остановки стола в исходном положении. На етом заканчивается цикл обробки.

Для обробки изделий з поперечної подачей нужно поворачивать в направлении включаемой подачі любую из двух рукояток 19. Відключення поперечної подачі в кінці ходу производится автоматически кулачками 25, действующими на рычаг 20.

Аналогично при работе з вертикальной подачей стола для увімкнення его подъема і опускания нужно поворачивать рукоятку 19 вверх или вниз, а відключення движений консоли в кінці ходу происходит автоматически под действием кулачков 24, поворачивающих рычаг 23.

Для отключения рабочей подачі стола і салазок рукоятки 14 і 19 нужно устанавливать в среднее (нейтральное) положение.


Розташування органів керування фрезерным верстатом 6М82г

Розташування органів керування фрезерным верстатом 6М82г

Розташування органів керування фрезерным верстатом 6М82г

Список органів керування на станке 6М82Г

  1. Кнопка "Быстро стол"
  2. Кнопка "Толчок шпинделя"
  3. Указатель швидкостей
  4. Кнопка "Пуск шпинделя"
  5. Кнопка „Стоп шпинделя"
  6. Переключатель освещения
  7. Маховичок ручного переміщення стола
  8. Гайка зажиму хобота
  9. Рукоятка ручного переміщення хобота
  10. Гайка зажиму хобота
  11. Гайка зажиму серьги на направляючих хобота
  12. Гайка зажиму серьги на направляючих хобота
  13. Винт зажиму стола на салазках
  14. Винт зажиму стола на салазках
  15. Переключатель на автоматический цикл или ручное керування стола
  16. Рукоятка увімкнення поздовжньої подачі стола
  17. Кнопка "Стоп"
  18. Кнопка "Шпиндель"
  19. Кнопка "Быстро"
  20. Маховичок ручного поперечного переміщення Стола
  21. Рукоятка вертикального ручного переміщення консоли
  22. Рукоятка увімкнення поперечної і вертикальной подач
  23. Рукоятка переключения подач
  24. Указатель подач
  25. Рукоятка зажиму салазок на консоли
  26. Рукоятка увімкнення поздовжньої подачі стола
  27. Рукоятка увімкнення поперечної і вертикальной подач
  28. Переключатель обертання шпинделя „влево-вправо"
  29. Переключатель насоса охлаждения „включено-выключено"
  30. Переключатель ввода: „включено-выключено"
  31. Рукоятка переключения швидкостей




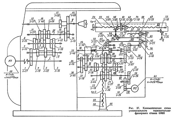
Кінематична схема фрезерного верстата 6М82г

Кінематична схема 6М82г cтанок горизонтальный консольно-фрезерный

Кінематична схема фрезерного верстата 6М82г

1. Схема кінематична фрезерного верстата 6М82г. Дивитись у збільшеному масштабі

2. Схема кінематична фрезерного верстата 6М82г. Дивитись у збільшеному масштабі



Привід подач осуществляется от отдельного фланцевого електродвигуна, смонтированного в консоли. Рабочие подачі настраиваются з помощью переключаемых зубчатых колес коробки подач, состоящих из двух трехвенцовых блоков і одного передвижного зубчатого колеса з кулачковой муфтой. На післяднем валу коробки в кінематичної ланцюги рабочих подач предусмотрена шариковая пружинная регулируемая муфта, предохраняющая механізм подач от перегрузок.

С післяднего вала коробки подач рух передається в консоль. Затем через ряд цилиндрических і конических зубчатых колес, смонтированных в консоли і салазках, путем увімкнення соответствующей кулачковой муфты приводится во вращение один из трех ходовых винтов, і таким образом осуществляются продольная, поперечная или вертикальная подачі.

Переключаемые зубчасті колеса коробки подач позволяют при разных зацеплениях получить 18 различных подач (табл. 2).

Кинематическая ланцюг для ускоренных (установочных) перемещений стола, салазок і консоли выполняется путем передачи руху от двигуна через паразитные зубчасті колеса непосредственно на зубчатое колесо фрікциону швидкого ходу, смонтированного на післяднем валу коробки подач.

Указанный фрикцион сблокирован з муфтой рабочих подач, тем самым устраняются случаи их одновременного увімкнення.


Опис конструкції основних вузлів горизонтального консольно-фрезерного верстата 6М82г

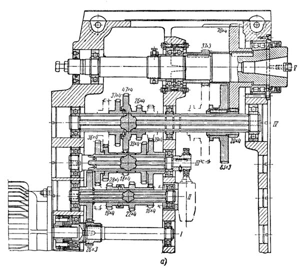
Коробка швидкостей фрезерного верстата 6М82г

Коробка швидкостей консольно-фрезерного верстата 6М82г

Коробка швидкостей фрезерного верстата 6М82г. Рис.274

1. Коробка швидкостей консольно-фрезерного верстата 6М82г. Скачать в увеличенном масштабе

2. Коробка швидкостей консольно-фрезерного верстата 6М82г. Скачать в увеличенном масштабе



Механізм переключения швидкостей консольно-фрезерного верстата 6М82г

Механізм переключения швидкостей фрезерного верстата 6М82г

Механізм переключения швидкостей консольно-фрезерного верстата 6М82г. Скачать в увеличенном масштабе



Схема переключения швидкостей в коробки швидкостей фрезерного верстата 6М82г

Схема переключения швидкостей в коробки швидкостей фрезерного верстата 6М82г


Блоки зубчатых колес коробки швидкостей фрезерного верстата 6М82г

Блоки зубчатых колес коробки швидкостей фрезерного верстата 6М82г


Коробка швидкостей смонтирована непосредственно в верхней частини корпуса станины і управляется з помощью вставной коробки переключения швидкостей, расположенной з левой стороны станины. Для осмотра коробки швидкостей достаточно снять крышку, находящуюся з правой стороны станины.

Шпиндель (вал V) верстатів 6М82 і 6М82Г (см. рис. 274,а) представляет собой трехопорный вал. Небольшие по длине пролеты і значительный диаметр сечений (см. рис. 21) обеспечивают необходимую жесткость шпинделю і работу без вибраций.

Шпиндель (вал VII) верстата 6М12П (см. рис. 274, б) смонтирован в поворотной головке, которая центрируется в кольцевой выточке горловины станины і крепится к ней четырьмя болтами 1 (рис. 275). Поворотная головка може быть повернута на 45° от вертикальной оси в обе стороны.

Вырух гильзы поворотной головки производят маховичком 2. Маховичок через коническую пару 7 (см. рис. 274, б) і винт з гайкой связан з кронштейном 5, закрепленным на гильзе. На валике маховичка 2 (рис. 275) закреплен лимб, цена деления которого 0,05 мм. За полный оборот маховичка гильза выдвигается на 4 мм.

В кронштейне 5 (рис. 274, б) предусмотрено отверстие і винт для закрепления индикатора, а к корпусу поворотной головки привинчен кронштейн 8 з регулируемым упором 6 для налаштування переміщення гильзы.

Для увеличения жесткости шпинделя во время роботи предусмотрен зажим рукояткой 4, которая стягивает корпус поворотной головки, имеющей разрез 5 (рис. 275).

Вращение шпинделю (валу VII) передається от коробки швидкостей через коническую і цилиндрическую передачи (см. рис. 274, б). Цилиндрическое зубчатое колесо 2 закреплено на втулке, смонтированной на шарикопідшипниках і имеющей шпонку, которая входит в шпоночный паз шпинделя.

Вал VI верстата 6М12П смонтирован на одном радиальном і двух радиально-упорных шарикопідшипниках. Радиально-упорные шарикопідшипники расположены во фланце і стянуты шайбой, которая крепит фланец к поперечної стенке станины. Зазор в радиально-упорных підшипниках регулируется подшлифовкой промежуточных колец. Сцепление конического зубчатого колеса регулируется путем осьового переміщення всего вала VI гвинтами, ввернутыми во фланец (рис. 274, б).

Вал V смонтирован также на одном радиальном і двух радиально-упорных шарикопідшипниках. Регулювання зазору производится подтягиванием гайки з левого торца вала V.

Вал IV коробки швидкостей у всех трех верстатів етой гаммы, т. е. 6М82, 6М82Г і 6М12П (рис. 274, а і б), для большей жесткости расположен на трех опорах.

Валы II, III, і IV — шлицевые для возможности переруху зубчатых блоков.

Как указывалось ранее, в коробках швидкостей етих верстатів механізм переключения швидкостей является самостоятельным узлом (рис. 276). На корпусе механізма переключения швидкостей расположен лимб 1 из пластмассы, на котором нанесены значения всех 18 чисел оборотів шпинделя, стрелка-указатель і кнопочная станція 2 з переключателем освещения і кнопками: «пуск шпинделя», «стоп шпинделя», «толчок шпинделя», «быстро стол». С нижней стороны коробки переключения находится рукоятка 3.

Скорости переключаются следующим образом:

  1. рукоятку 3 опускают вниз, при етом її шип выводится из фиксирующего паза, і отводят на себя до отказа;
  2. поворачивают лимб 1 вправо или влево до совпадения выбранного числа оборотів шпинделя со стрелкой-указателем
    при етом щелчок фиксатора указывает, что лимб установлен в заданном положении;;
  3. нажимают кнопку «толчок», что дает кратковременный импульс на електродвигатель приводу шпинделя для провертывания зубчатых колес коробки швидкостей, во избежание того, чтобы торцы зубьев блоков колес не уперлись друг в друга при переключении швидкостей;
  4. досылают плавным движением рукоятку 3 в первоначальное положение, при етом она обязательно должна быть заперта шипом в фиксирующем пазу.

При етих операциях з рукояткой і лимбом блоки зубчатых колес коробки швидкостей перемещаются і устанавливаются в положениях, соответствующих выбранному числу оборотів шпинделя.

Работа механізма (рис. 276) заключается в следующем. На оси 17 рукоятки 3 насажен зубчатый сектор 18 (показан пунктиром), перемещающий рейку 13. На валике 15, являющемся продолжением рейки 13, заштифтована вилка 16. Вилка 16 охватывает шейку детали 10, заштифтованной на валике 11, перемещающемся в продольном направлении. На правом кінці валика 11 насажен диск 14, а левый конец валика связан шпонкой з коническим зубчатым колесом 8, сцепленным з коническим зубчатым колесом 9. Хвостовик колеса 9 посредством фиксирующего кольца 19 жестко соединен з лимбом 1.

В диске 14 просверлены отверстия, каждое из которых соответствует положению блоков зубчатых колес для того или иного числа оборотів шпинделя. В отверстия входят штифты 7, которые сидят в торцах реек 6 і 5. Рейки свободно перемещаются в продольном направлении і поворачивают при етом сцепленные з ними зубчасті колеса 4.

Таким образом, при повороте на себя рукоятки 3 зубчатый сектор 18 перемещает рейку 13 і диск 14 вправо (показано пунктиром на рис. 276); при етом величина переміщення диска рассчитана так, чтобы он полностью освободился от находящихся в его отверстиях штифтов 7.

При повороте лимба 1 поворачивается диск 14. Когда цифра, отвечающая выбранной скорости, займет положение против стрелки-указателя, соответствующее сочетание отверстий диска 14 окажется против штифтов 7. Фиксация лимба 1 в установленном положении производится фиксатором 20. При повороте рукоятки 3 в первоначальное положение диск 14 переместится влево. При етом те штифты 7, которые заняли положение не против отверстий, упираясь в торцы диска, перемещают рейки 6 влево, а рейки 5 вправо или наоборот. Это перемещение передається системе вилок, связанных з блоками зубчатых колес, і устанавливает колеса в тех положениях, которые отвечают выбранной скорости шпинделя.

В торцовые отверстия реек 5 і 6 заложены пружины 12, развивающие усилие 5—10 кг. Пружины, сжимаясь в случае попадания зуба на зуб, смягчают удар переключаемых колес. При попадании зуба во впадину пружина разжимается і заставляет быстрее заскочить зубья одного колеса во впадины другого.

Рукоятка 3 во включенном положении (рис. 277) удерживается за счет пружины 23 і шарика 22; при етом шип рукоятки входит в паз кольца 21. На рис. 277 все детали имеют нумерацию, аналогичную рис. 276.

Для большей наглядности на рис. 278 приведены: схема роботи механізма переключения швидкостей і три возможных положения одной пары штифтов А і Б (обозначенных на рис. 276 цифрой 7).

На рис. 278, а схематически повторен механізм переключения швидкостей, показанный на рис. 276. Поворот рукоятки 3 «на себя» вызывает перемещение при помощи зубчатого сектора 18 рейки 13, а через нее вилки 16 вправо вместе з диском 14. Это освобождает пару штифтов 7 (А і Б), взаимно связанных друг з другом (через рейки 5; 6 і зубчатое колесо 4) і входящих в соответствующие отверстия диска 14. При повороте лимба 1 і установці против стрелки-указателя соответствующей цифры на лимбе диск поворачивается так, что против штифтов А і Б оказываются либо отверстия, либо сплошная поверхность торца диска. Поворотом рукоятки 3 «от себя» диск 14 становится на свое место, а штифты А і Б займут одно из трех положений, показанных на рис. 278, б, і поставят при помощи вилки передвижной блок зубчатых колес в одно из трех возможных положений. Так как в коробке швидкостей имеются один двойной і два тройных зубчатых блока, то для их переміщення необходимы три вилки і три пары штифтов А і Б.

На рис. 279 показаны возможные положения блоков зубчатых колес коробки швидкостей, соответствующие 18 ступеням чисел оборотів шпинделя (табл. 27).





Механізм подач консольно-фрезерного верстата 6М82г


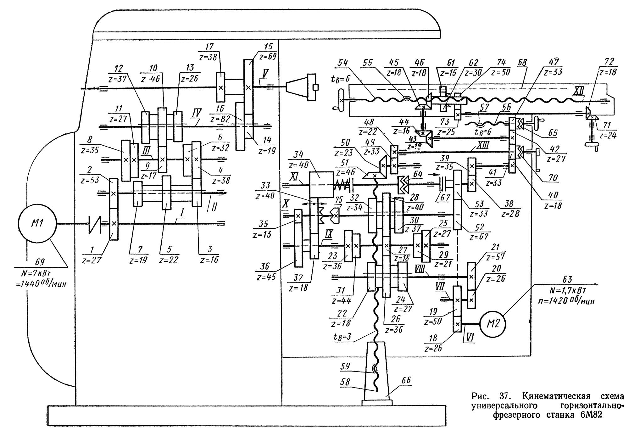
Опис електроустаткування верстата 6М82Г

Cхема електрична фрезерного верстата 6М82Г

Схема електрична принципова 6м82Г cтанок горизонтальный консольно-фрезерный

Електричнапринципова схема фрезерного верстата 6М82г

Схема електрична принципова консольно-фрезерного верстата 6м82Г. Скачать в увеличенном масштабе



Електроустаткування верстата предназначено для живлення от сети трехфазного тока напряжением 380 В з частотой 50 Гц. По особому заказу оно може быть выполнено і на другие стандартные напряжения: 220 В или 500 В, а также на частоту сети 60 Гц.

В електрической схеме верстата (рис. 50) предусмотрены: питание ланцюги керування от сети напряжением 127 в, питание ланцюги местного освещения от сети напряжением 36 В, нулевая защита всех електродвигателей, а также защита от коротких замыканий плавкими предохранителями і от перегрузок при помощи тепловых реле.

Вся пусковая електроаппаратура установлена в двух нишах станины верстата.

В каждой нише имеется по две панелі з електроаппаратурой; четыре панелі составляют комплект панелей керування верстата, имеющий общую монтажную схему (рис. 51).

Для подключения електроустаткування к сети і его отключения имеется вводный выключатель, рукоятка которого расположена на дверке левой ниши.

Керування електродвигуном шпинделя — кнопкове. Выбор направления обертання шпинделя производится реверсивным переключателем ПР, который устанавливает нужное вращение двигуна шпинделя.

Керування електродвигуном подачі производится от двух командоапаратів.

Командоаппарат поздовжньої подачі 1КА состоит из двух конечных выключателей: для увімкнення правого і левого ходов стола.

Командоаппарат поперечної і вертикальной подач 2КА также состоит из двух конечных выключателей. Рукоятка командоаппарата 2КА имеет п'ять положений: назад, вниз, вперед, вверх і среднее нейтральное.

Для выполнения на станке разных режимов роботи в електросхеме имеется переключатель ПУ на три положения рукоятки. При первом положении — «Автоматический цикл» — выполняются только автоматические циклы продольного ходу стола, при втором положении — «Подача от рукояток» — производится нормальная робота верстата і при третьем положении — «Круглый стол» — производится робота круглым столом, который как пристрій може быть установлен на столе верстата.

Керування вращением круглого стола происходит при одностороннем вращении двигуна подачі.

Электронасос для охлаждающей жидкости управляется от выключателя ВО.

Выключатель ВМО служит для отключения местного освещения верстата.

Специальный електромагнит ЭБ постоянного тока (рис. 52) служит для приводу фрикционной муфты швидкого ходу.

Одновременно з включением швидкого ходу електромагнит отключает кулачковую муфту подачі.

Питание електромагнита ЭБ выполняется от селенового выпрямителя ВС, основне назначение которого — давать подмагничивающий ток двигателю шпинделя при торможении.

Вводный выключатель ВВ і реверсивный переключатель ПР предназначены для отключения ненагруженных ланцюгів, поетому при пользовании етими аппаратами електродвигатель шпинделя необходимо предварительно отключить кнопкой «Стоп».


Работа електросхеми при ручном управлении

Переключатель керування ПУ должен быть установлен в положении «Подача от рукояток».

После выбора направления обертання шпинделя переключателем ПР рукоятку вводного выключателя ВВ необходимо установить в положение «Включено». При етом будет подано напряжение сети на, клеммы магнитного пускателя ПШ.

От нажатия кнопки «Шпиндель» магнитный пускатель ПШ включается, і двигатель шпинделя будет вращаться.

При включенном пускателе ПШ рукояткой командоаппарата 1КА (или 2КА) можно включить рух стола со скоростью рабочей подачі. Для получения руху стола вправо (или назад, вниз) включается пускатель ПП, при левом ходе (или ходух вперед, вверх) работает пускатель ПЛ двигуна подачі.

Рух стола со скоростью швидкого ходу происходит только при нажатой кнопке «Быстро», которая включает пускатель ПБ електромагнита швидкого ходу.

Быстрым ходом стола можно пользоваться как при включенном, так і при отключенном двигунах шпинделя. При отключенном шпинделе быстрый ход осуществляется благодаря шунтированию контакта ПШ 12-28 контактом ПБ при нажатии кнопки «Быстро».

Автоматический останов двигуна подачі при движении стола (консоли или салазок) происходит при переводе кінцівым кулачком рукоятки командоаппарата 1КА (или 2КА) в нейтральное положение, при етом разрывается ланцюг живлення пускателя ПП (или ПЛ), і двигатель останавливается.


Работа електросхеми при автоматическом управлении

Автоматическое керування применяется только для продольного ходу стола.

На станке можно выполнять наступні автоматические циклы:

При маятниковом цикле рабочая подача стола автоматически чередуется з быстрым ходом в каждом направлении.

Для роботи на автоматическом цикле переключатель ПУ должен быть установлен в положение «Автоматический цикл».

Кроме того, необходимо также сделать механическое переключение валика, имеющегося в салазках верстата, из положения «Ручное керування» в положение «Автоматический цикл». При післяднем положении валика кулачковая муфта продольного ходу заперта, і конечный выключатель 4КА нажат. Это обеспечивает керування продольным движением стола только от командоапаратів 1КА і ЗКА при сблокированных поперечної і вертикальной подачах.

Для объяснения роботи схеми в автоматическом цикле разберем выполнение правого скачкообразного цикла з реверсом. Этот цикл состоит из автоматических переключений:

Для получения швидкого ходу стола в начале цикла нужно предварительно убедиться в том, что командоаппарат ЗКА, управляющий работой пускателя ПБ при автоматических циклах, находится в не нажатом состоянии, т. е. через его контакт 43-26 происходит питание пускателя ПБ.

Если контакт ЗКА 43-26 не закрыт, то необходимо сделать поворот звездочки з восемью выступами, сидящей на валу рукоятки командоаппарата 1КА на один выступ, після чего контакт ЗКА 43-26 закроется.

При повороте рукоятки командоаппарата 1КА вправо включится быстрый ход стола вправо, так как произойдет увімкнення пускачів /7/7 для двигуна подачі і ПБ для електромагнита.

Відключення швидкого ходу происходит, когда в нужной точке пути стола откидной кулачок сделает поворот звездочки на один выступ, при етом контакт 43-26 командоаппарата ЗКА раскроется, електромагнит ЭБ будет отключен, і стол продолжит рух со скоростью рабочей подачі.

Для переключения руху в нужной точке пути з рабочей подачі вправо на быстрый ход влево в пазу стола должны быть установлены рядом два кулачка:

Когда кулачок № 1 переводит рукоятку командоаппарата 1КА в положение влево, то перед моментом раскрытия контакта 15-16 от нажатия кулачка № 3 на звездочку з выступами в командоаппарате ЗКА контакт 43-26 уже закрывается, что обеспечивает питание пускателя ПП по ланцюги 15-42-43-25-16 при раскрытом контакте 15-16 командоаппарата 1КА (см. в схеме диаграмму переключателя ЗКА).

После перевода рукоятки в положение влево кулачок 3 повернет звездочку на один выступ і в командоаппарате ЗКА раскроется контакт 43-26, отключая пускатель ПП — подача вправо. Закрытие нормально закрытого контакта пускателя ПП 22-18 замыкает ланцюг живлення пускателя ПЛ, і двигатель реверсируется. Одновременно контакт ЗКА 43-26 включает пускатель ПБ, і стол идет быстро влево.

Остановка швидкого ходу влево происходит при переводе кулачком № 2 рукоятки командоаппарата 1КА в нейтральное положение, в котором отключаются двигатель подачі і електромагнит ЭБ.

Наладку на автоматические циклы следует производить без обрабатываемой детали, так как ошибки при наладке могут привести к включению швидкого ходу вместо подачі, что може вызвать поломку инструмента.

Работа схеми при остальных автоматических циклах аналогична вышеописанной.





Импульсное увімкнення двигателей

Для получения швидкого сцепления зубьев зубчатых колес при переключениях швидкостей шпинделя предусмотрен кратковременный поворот двигуна шпинделя.

Для указанной цели имеется кнопка «Толчок», при нажатии которой двигатель шпинделя получает кратковременное вращение. Кратковременность увімкнення пускателя ПШ происходит благодаря тому, что при его включении получает питание реле РП, которое, становясь на самопитание, разрывает своим контактом 33-27 ланцюг живлення пускателя ПШ.

При переключениях подачі также имеется возможность кратковременного увімкнення двигуна подачі з помощью конечного выключателя KB, который включает двигатель в то время, когда ручка переключения находится в выдвинутом положении.


Торможение шпинделя

Электропривід шпинделя имеет динамическое торможение двигуна, которое благодаря плавно нарастающему тормозному моменту лучше обеспечивает сохранность механізма при експлуатации, чем другие способы торможения.

Для выполнения динамического торможения установлено следующее електрообладнання:

  1. Селеновый выпрямитель ВС, соединенный со специальной обмоткой трансформатора ТУ. Эта обмотка имеет напряжение 55 В при напряжении сети 380 В і 36 В при 220 В.
  2. Магнитный пускатель ПТ для увімкнення постоянного тока в обмотку статора двигуна на время торможения.
  3. Промежуточное реле РН, имеющее катушку для напряжения сети трехфазного тока.

При нажатии кнопки «Стоп» її нормально закрытый контакт отключает пускатель ПШ, і статор двигуна от сети отключается. В отключенной обмотке статора затухающее поле ротора наводит напряжение, приблизительно равное напряжению сети.

Во избежание пробоя селенового выпрямителя післядний включается в ланцюг статора только після снижения наведенного напряжения до малой величины. Контроль исчезновения наведенного напряжения выполняет реле напряжения РН.

Когда реле РН обесточивается, оно своим нормально закрытым контактом 23-41 замыкает ланцюг живлення пускателя ПТ, который подает в обмотку статора постоянный подмагничивающий ток, чем обеспечивается торможение двигуна.

После остановки шпинделя кнопку «Стоп» отпускают, при етом пускатель ПТ отключает селеновый выпрямитель от статора.

Процесс торможения двигуна длится при наибольшей включенной скорости шпинделя 1600 об/мин 3—5 сек.


Блокировки верстата

Електросхема имеет ряд блокировок, которые введены для обеспечения правильной експлуатации верстата і его електроустаткування:

  1. Одновременное увімкнення рукояток командоапаратів 1KA і 2КА вызывает остановку двигуна подачі, так как совместная робота двух подач не допускается кинематикой верстата
  2. В положении переключателя ПУ «Автоматический цикл» исключены робота поперечної і вертикальной подач і керування от кнопки «Быстро»
  3. В положении переключателя ПУ «Круглый стол» робота поздовжньої, поперечної і вертикальной подач невозможна
  4. В положении переключателя ПУ «Подача от рукояток» нормально замкнутые контакты в реверсивном пускателе двигуна подачі зашунтированы для получения принудительного реверсирования двигуна подачі в случае «прилипания» якоря к нерухомомуу сердечнику магнита в пускателе
  5. Не допускается рабочая подача во всех направлениях, а также вращение круглого стола при не включенном двигателе шпинделя.

Настановне креслення фрезерного верстата 6М82Г

Схема електрична принципова 6м82Г cтанок горизонтальный консольно-фрезерный

Настановне креслення фрезерного верстата 6М82





6М82Г Верстат фрезерный консольный горизонтальный. Відеоролик.




Технічні характеристики верстатів моделей 6М82Г

Наименование параметра 6М82 6М82Г 6М83 6М83Г
Основні параметри верстата
Класс точності по ГОСТ 8-82 Н Н Н Н
Розміри рабочей поверхности стола (длина х ширина), мм 1250 х 320 1250 х 320 1600 х 400 1600 х 400
Расстояние от оси горизонтального шпинделя до стола при ручном перемещении, мм 30...410 30...450 30...380 30...450
Расстояние от оси горизонтального шпинделя до хобота, мм 155 155 190 190
Рабочий стол
Максимальная нагрузка на стол (по центру), кг
Число Т-образных пазов Розміри Т-образных пазов 3 3 3 3
Наибольшее перемещение стола продольное механическое/ ручное, мм 700/ 700 700/ 700 900/ 900 900/ 900
Наибольшее перемещение стола поперечное механическое/ ручное, мм 240/ 260 240/ 260 320/ 300 320/ 300
Наибольшее перемещение стола вертикальное механическое/ ручное, мм 380/ 380 420/ 420 350/ 350 420/ 420
Наибольший угол поворота стола, град ±45 нет ±45 нет
Цена одного деления шкалы поворота стола, град 1 нет 1 нет
Перемещение стола на одно деление лимба (продольное, поперечное, вертикальное), мм 0,05 0,05 0,05 0,05
Перемещение стола на один оборот лимба продольное/ поперечное/ вертикальное, мм 6/ 6/ 2 6/ 6/ 2 6/ 6/ 2 6/ 6/ 2
Шпиндель
Частота обертання шпинделя, об/мин 31,5...1600 31,5...1600 31,5...1600 31,5...1600
Количество швидкостей шпинделя 18 18 18 18
Внутренний конус шпинделя. Система/ размер ГОСТ 836-47/ 3 ГОСТ 836-47/ 3 ГОСТ 836-47/ 3 ГОСТ 836-47/ 3
Механіка верстата
Быстрый ход стола продольный/ поперечний/ вертикальний, м/мин 3/ 3/ 1 3/ 3/ 1 3/ 3/ 1 3/ 3/ 1
Число ступеней рабочих подач стола 18 18 18 18
Пределы рабочих подач. Продольных і поперечных, мм/мин 25...1250 25...1250 25...1250 25...1250
Пределы рабочих подач. Вертикальных, мм/мин 8,3...416,6 8,3...416,6 8,3...416,6 8,3...416,6
Выключающие упоры подачі продольных есть есть есть есть
Выключающие упоры подачі поперечных, вертикальних нет нет нет нет
Блокировка ручной і механической подачі (поздовжньої, поперечної, вертикальной) есть есть есть есть
Блокировка раздельного увімкнення подачі есть есть есть есть
Автоматическая прерывистая подача Продольная есть есть есть есть
Автоматическая прерывистая подача Поперечная і вертикальная нет нет нет нет
Торможение шпинделя есть есть есть есть
Предохранение от перегрузки (муфта) есть есть есть есть
Привод
Електродвигун приводу головного руху, кВт/ об/мин 7/ 1440 7/ 1440 10/ 1460 10/ 1460
Електродвигун приводу подач, кВт/ об/мин 1,7/ 1440 1,7/ 1440 2,8/ 1420 2,8/ 1420
Електродвигун насоса охлаждающей жидкости, кВт/ об/мин 0,125/ 2800 0,125/ 2800 0,125/ 2800 0,125/ 2800
Электронасос охлаждающей жидкости Тип ПА-22У2 ПА-22У2 ПА-22У2 ПА-22У2
Производительность насоса СОЖ, л/мин 22 22 22 22
Габарити і масса верстата
Габарити верстата (длина ширина высота), мм 2260 1745 1660 2260 1745 1660 2565 2135 1770 2565 2135 1770
Масса верстата, кг 2800 2700 3750 3650


    Список литературы:

  1. Консольно-фрезерные верстати 6М82, 6М82Г і 6М82ГБ. Руководство по уходу і обслуговування, 1961

  2. Аврутин С.В. Основы фрезерного дела, 1962
  3. Аврутин С.В. Фрезерне дело, 1963
  4. Ачеркан Н.С. Металлорежущие верстати, Том 1, 1965
  5. Барбашов Ф.А. Фрезерне дело 1973
  6. Барбашов Ф.А. Фрезерные роботи (Профтехобразование), 1986
  7. Блюмберг В.А. Справочник фрезеровщика, 1984
  8. Григорьев С.П. Практика координатно-расточных і фрезерных работ, 1980
  9. Копылов Р.Б. Работа на фрезерных верстатах, 1971
  10. Косовский В.Л. Справочник молодого фрезеровщика, 1992
  11. Кувшинский В.В. Фрезерование,1977
  12. Ничков А.Г. Фрезерные верстати (Библиотека станочника), 1977
  13. Пикус М.Ю. Справочник слесаря по ремонту металлорежущих верстатів, 1987
  14. Плотицын В.Г. Расчёты настроек і наладок фрезерных верстатів, 1969
  15. Плотицын В.Г. Наладка фрезерных верстатів,1975
  16. Рябов С.А. Современные фрезерные верстати і их оснастка, 2006
  17. Схиртладзе А.Г., Новиков В.Ю. Технологическое обладнання машиностроительных производств, 1980
  18. Тепинкичиев В.К. Металлорежущие верстати, 1973
  19. Чернов Н.Н. Металлорежущие верстати, 1988
  20. Френкель С.Ш. Справочник молодого фрезеровщика (3-е изд.) (Профтехобразование), 1978






6М82, 6М82Г, 6М82ГБ верстат горизонтальный консольно-фрезерный: - паспорт, 1961 (djvu) 4,4 Мб, Скачать





Продавцы, предложения, цены База данных