metalinstryment.com
Довідник по металорізальних верстатів та пресовому обладнанні

6Т82-1 Верстат консольно-фрезерный горизонтальный з поворотным столом - універсальний
схеми, опис, характеристики

Верстат горизонтальный фрезерный консольный 6Т82-1







Відомості про виробника консольно-фрезерного верстата 6Т82-1

Производитель серии универсальных фрезерных верстатів 6Т82-1 - Горьковский завод фрезерных верстатів, основанный в 1931 году.

Производство фрезерных верстатів на Горьковском станкостроительном заводе началось в 1932 году.





Продукция Горьковского завода фрезерных верстатів ГЗФС


6Т82-1 Верстат консольно-фрезерный горизонтальный з поворотным столом (універсальний). Назначение і область применения

Горизонтальный універсальний консольно-фрезерный верстат 6Т82-1 производился з 1985 года і заменил в производстве устаревшую модель 6Р82.

Консольно-фрезерный верстат моделі 6Т82-1 предназначен для фрезерування всевозможных деталей из стали, чугуна і цветных металлов цилиндрическими, дисковыми, фасонными, угловыми, торцовыми, кінцівыми і другими фрезами в условиях индивидуального і серийного производства. Возможность налаштування верстата на различные напівавтоматические і автоматические циклы позволяет успешно использовать верстати для выполнения работ операционного характера в поточных і автоматических лініях в крупносерийном производстве.

На станке можно обрабатывать вертикальные і горизонтальные плоскости, пазы, углы, рамки, зубчасті колеса і т.д. На станке моделі 6Т82-1 можно фрезеровать всевозможные спирали, для чего стол его поворачивается вокруг своей вертикальной оси.

Особливості конструкції і принцип роботи верстата

Стол верстата може поворачиваться вокруг вертикальной оси на ±45°, что позволяет з применением делительных устройств фрезеровать различные винтообразные спирали.

Верстат фрезерный консольный горизонтальный з поворотным столом (універсальний) 6Т82-1 предназначен для выполнения различных фрезерных работ в условиях как индивидуального, так і крупносерийного производства. В условиях крупносерийного производства верстати могут быть успешно использованы также для выполнения работ операционного характера.

Технічна характеристика і высокая жесткость верстатів позволяют полностью использовать возможности как быстрорежущего, так і твердосплавного инструмента.

Технологические возможности верстата могут быть расширены з применением делительной головки, поворотного круглого стола, накладной универсальной головки і других пристосувань.

Верстати автоматизированы і могут быть настроены на различные, автоматические циклы, что повышает производительность труда, исключает необходимость обслуживания верстатів рабочими високою квалификации і облегчает возможность организации многостаночного обслуживания.

Особенностями конструкції верстата являются:

Для сокращения вспомогательного часу і удобства керування в верстатах предусматриваются:

Класс точності верстата Н по ГОСТ 8—77.

Разработчик — Горьковское станкостроительное производственное объединение.


Основні отличия верстатів серии 6Т82-1 (1985 год) і 6Т82 (1991 год)

В 1985 году завод начал выпуск серию горизонтальных консольно-фрезерных верстатів 6Т82-1 і 6Т83-1, которые є дальнейшим развитием верстатів аналогичных моделей серии Р (6Р82, 6Р83).

По сравнению з ранее выпускавшимися верстатами серии Р (6р82, 6р83) в верстатах серии Т (6Т82-1, 6т83-1) увеличены частоти обертання шпинделя, скорости быстрых перемещений і подач стола. Для удобства переміщення стола вручную маховик помещен з передньої стороны верстата.

Універсальный консольно-фрезерный верстат моделі 6Т82-1 отличается от горизонтального консольно-фрезерного верстата моделі 6Т82Г-1 тем, что его стол може быть повернут вокруг вертикальной оси на угол до 45° в обе стороны, тогда как стол верстата моделі 6Т82Г-1 — неповоротный.

Верстати моделі 6Т83 (6Т83Г) отличаются от верстатів 6Т82-1 (6Т82Г-1) увеличенными размерами робочого стола і более мощным двигателем головного руху.

Верстати моделей 6Т82Г-1, 6T82-1, 6Т83Г-1, 6T83-1 выполнены на базе основной моделі 6T82Г-1 з максимальной унификацией, имеют одинаковые кинематические схеми і унифицированную конструкцию.

Технологические возможности верстатів могут быть расширены з применением делительной головки, поворотного круглого стола, накладной универсальной головки і других пристосувань.


Модифікації консольно-фрезерных верстатів серии "Т"

На базе верстатів серии «Т» разработаны различные модификации і специализированные верстати:

Модифікації 6Т…-27 имеют увеличенное на 100 мм расстояние от оси (торца) шпинделя до рабочей поверхности стола і механізм пропорционального (в 2 раза) замедления рабочей подачі.


История выпуска верстатів Горьковским заводом, ГЗФС

В 1937 году на Горьковском заводе фрезерных верстатів были изготовлены первые консольно-фрезерные верстати серии 6Б моделей 6Б12 і 6Б82 з рабочим столом 320 х 1250 мм (2-го типоразмера).

В 1951 году запущена в производство серия консольно-фрезерных верстатів собственной конструкції (Новые): 6Н12, 6Н13П, 6Н82, 6Н82Г. Верстат 6Н13ПР получил “Гран-При” на всемирной выставке в Брюсселе в 1956 году.

В 1960 году запущена в производство серия консольно-фрезерных верстатів: 6М12П, 6М13П, 6М82, 6М82Г, 6М83, 6М83Г, 6М82Ш.

В 1972 году запущена в производство серия консольно-фрезерных верстатів: 6Р12, 6Р12Б, 6Р13, 6Р13Б, 6Р13Ф3, 6Р82, 6Р82Г, 6Р82Ш, 6Р83, 6Р83Г, 6Р83Ш.

В 1975 году запущены в производство копировальные консольно-фрезерные верстати: 6Р13К.

В 1978 году запущены в производство копировальные консольно-фрезерные верстати 6Р12К-1, 6Р82К-1.

В 1985 году запущена в производство серия 6Т-1 консольно-фрезерных верстатів: 6Т12-1, 6Т13-1, 6Т82-1, 6Т83-1 і ГФ2171.

В 1991 году запущена в производство серия консольно-фрезерных верстатів: 6Т12, 6Т12Ф20, 6Т13, 6Т13Ф20, 6Т13Ф3, 6Т82, 6Т82Г, 6Т82ш, 6Т83, 6Т83Г, 6Т83Ш.






Габаритные розміри робочого простору фрезерного верстата 6Т82-1

6Т82-1 Габаритные розміри робочого простору універсального горизонтального консольно-фрезерного верстата

Креслення робочого простору фрезерного верстата 6Т82-1


Присоединительные базы фрезерного верстата 6Т82-1

6Т82-1 Присоединительные базы універсального горизонтального консольно-фрезерного верстата

Присоединительные базы фрезерного верстата 6Т82-1

Присоединительные базы універсального горизонтального консольно-фрезерного верстата 6Т82-1. Скачать в увеличенном масштабе



Загальний вигляд горизонтального консольно-фрезерного верстата 6Т82-1

Загальний вигляд  6Т82-1 cтанок горизонтальный консольно-фрезерный

Фото консольно-фрезерного верстата 6Т82-1


Загальний вигляд  6Т82-1 cтанок горизонтальный консольно-фрезерный

Фото консольно-фрезерного верстата 6Т82-1


Загальний вигляд  6Т82-1 cтанок горизонтальный консольно-фрезерный

Фото консольно-фрезерного верстата 6Т82-1


Cклад і конструкция фрезерного верстата 6Т82-1

состав горизонтального консольно-фрезерного верстата 6Т82-1

Cклад і конструкция фрезерного верстата 6Т82-1

Список складових частин фрезерного верстата 6Т82-1

  1. станина
  2. коробка переключения
  3. пульт боковой
  4. коробка швидкостей
  5. пристроя електромеханического зажиму инструмента
  6. шкаф керування
  7. стол і салазки
  8. механізм замедления подачі
  9. пульт основной
  10. консоль
  11. коробка подач

Розташування органів керування фрезерным верстатом 6Т82-1

Розташування органів керування фрезерным верстатом 6Т82-1

Розташування органів керування фрезерным верстатом 6Т82-1

Розташування органів керування фрезерным верстатом 6Т82-1. Скачать в увеличенном масштабе



Список органів керування фрезерным верстатом 6Т82-1

  1. Указатель швидкостей шпинделя
  2. Кнопка "Толчок шпинделя"
  3. Переключатель "Зажим-отжим инструмента"
  4. Кнопка "Перемещение стола вперед, влево, вверх"
  5. Переключатель выбора направления переміщення стола
  6. Кнопка "Перемещение стола назад, вправо, вниз"
  7. Кнопка "Стоп переміщення стола"
  8. Кнопка "Замедленная подача"
  9. Кнопка "Быстрое перемещение стола" (дублирующая)
  10. Кнопка "Стоп" аварийная
  11. Кнопка "Стоп шпинделя" (дублирующая)
  12. Рукоятка переключения швидкостей шпинделя
  13. Кнопка "Пуск шпинделя" (дублирующая)
  14. Ручное перемещение хобота
  15. Зажим серег
  16. Зажимы салазок
  17. Клавиша "Перемещение стола влево"
  18. Клавиша "Перемещение стола вправо"
  19. Клавиша "Стоп продольного перемещение стола"
  20. Зажимы стола
  21. Переключатель увімкнення режима роботи стола "Ручной - механический"
  22. Маховик ручного продольного переміщення стола
  23. Кнопка "Пуск шпинделя"
  24. Кольцо-нониус
  25. Лимб механізма поперечных перемещений стола
  26. Ручное поперечное перемещение стола
  27. Кнопка "Стоп" аварийная
  28. Ручное вертикальное перемещение стола
  29. Переключатель выбора режима роботи верстата
  30. Грибок переключения подач
  31. Кнопка "Стоп шпинделя"
  32. Переключатель "Замедленная подача"
  33. Кнопка "Быстрое перемещение стала"
  34. Клавиш "Стоп вертикального переміщення стола"
  35. Клавиша "Перемещение стола вниз"
  36. Клавиша "Перемещение стола вверх"
  37. Маховик ручного продольного переміщення стола (дублирующий)
  38. Клавиша "Стоп поперечного переміщення стола"
  39. Клавиша "Перемещение стола вперед"
  40. Клавиша "Перемещение стола назад"
  41. Зажим хобота
  42. Вводной выключатель
  43. Переключатель направления обертання шпинделя "Влево-вправо"
  44. Переключатель насоса охлаждения "Включено-выключено"
  45. Переключатель выбора автоматических циклов по рамке
  46. Переключатель выбора автоматических циклов стола
  47. Зажим консоли
  48. Зажимы поворотных салазок
  49. Рукоятка ручного вертикального і поперечного перемещений стола, (съемная)




Кінематична схема фрезерного верстата 6Т82-1

Кінематична схема 6Т82-1 cтанок горизонтальный консольно-фрезерный

Кінематична схема фрезерного верстата 6Т82-1 (рис. 16)

1. Схема кінематична горизонтального консольно-фрезерного верстата 6Т82-1. Скачать в увеличенном масштабе

2. Схема розположення підшибників горизонтального консольно-фрезерного верстата 6Т82-1. Скачать в увеличенном масштабе



График продольных і поперечных подач горизонтального консольно-фрезерного верстата 6Т82-1

График продольных і поперечных подач фрезерного верстата 6Т82-1

Привід головного руху осуществляется от фланцевого електродвигуна М1 через упругую соединительную муфту.

Частота обертання шпинделя изменяется путем переруху 3-х зубчатых блоков по шлицевым валам. Коробка швидкостей позволяет сообщить шинделю 18 различию швидкостей.

График частоти обертання шпинделя верстата, поясняющий структуру механізма головного руху, приведен на рис. 17.

Привід подач, включающий ланцюг ускоренного ходу, ланцюг рабочих подач і ланцюг замедленных перемещений, осуществляется от фланцевого електродвигуна М2, размещенного на правой стороне консоли. Посредством четырех двухвенцовых зубчатых блоков і одновенцового подвижного зубчатого колеса увімкнення перебора, коробка подач обеспечивает получение 22 различных подач, которые передаются на выходной вал привода, снабженный муфтой увімкнення укоренного ходу, муфтой увімкнення рабочих подач ж предохранительной шариковой муфтой. С зубчатого венца предохранительной муфты 53 рух поступает в коробку раздачи движений по ходовым гвинтам, где для каждой координаты перемещений стола установлено по две управлявших електромагнітних муфты з взаимно противоположными направлениями вращений. Рух стола в заданном направлении обеспечивается включением соответствующей муфты в раздаточной коробке.

Ускоренные переміщення получаются включением муфты ускоренного ходу 43 і електродвигуна подач, рух з которого через конические зубчасті колеса 39 і 40 передається на вал II, а затем через колесо 42 сообщается зубчатому венцу муфты 43 свободно обкатывающемуся на валу XI і взаимодействующему з електромагнитной муфтой увімкнення ускоренного ходу.

Рабочие переміщення обеспечиваются включением муфты подач 45 при работающем двигателе і разомкнутой муфте ускоренного ходу. Скорость обертання выходного вала XI при включенной подаче определяется положением передвижных зубчатых блоков в коробке подач. При включении механического переміщення, стола верстата начало руху происходит з выдержкой часу до 2 с.

Замедленные переміщення осуществляются за счет уменьшения основной подачі в два раза з помощью понижающего редуктора, в который входят приемное зубчатое колесо 86, промежуточные 85 і 87 і выходное - 88. Передачу руху на вход редуктора замедления осуществляет зубчатое колесо муфты 45, свободно обкатывающиееся на валу XI. При вклиненной муфте замедленной подачі рух з редуктора передається на зубчатое колесо 44, жестко связанное з валом XI. Муфты ускоренного ходу і рабочих подач при включении замедления отключаются.

Установчі ручні переміщення стола производятся маховиками 22 і 37, Перемещения салазок і консоли - съемной рукояткой 49 (рис. 15).

График, поясняющий структуру механізма подач верстата, приведен на рис. 18 (вертикальные подачі в три раза меньше продольных і поперечных).

Список зубчатых колес, червяков, ходовых винтов к кінематичної схеме приведен в табл. 4.





Короткий опис сборочных единиц верстата 6Т82-1

Станина

Станина - основная сборочная единица, на которой монтируется составные частини і механізмы верстата.

Жесткая конструкция станины достигается за счет развитого основания і большого числа ребер.

По вертикальным направляющим станины перемещается консоль, по горизонтальным - хобот.

Для ограничения ходу консоли з левой стороны станины крепится планка з кулачками.

С правой стороны на станине установлен електрошкаф.

Сзади к станине прифланцованы електродвигатели головного руху і механізма крепления инструмента.

В нишах станины размещены елементы електроустаткування. Внутри корпуса станины имеется резервуар для масла.

Станина устанавливается на основание, которое служит і опорой гвинта подъема консоли. Сзади на основании установлен насос подачі охлаждающей жидкости.

Хобот з серьгами

Хобот з серьгой фрезерного верстата 6Т82-1

Хобот з серьгой фрезерного верстата 6Т82-1


Хобот з серьгами (рис. 19) служит дополнительной опорой оправки з инструментом.

На верстатах 6Т82Г-1 і 6T82-1 применяется одна из серег I или II, на верстатах 6Т83Г-1 в 6T83-1 -серьга П; при тяжелых режимах обробки на верстатах 6Т83Г-1 і 6Т83-1 могут быть использованы две серьги П.

В зависимости от длины оправки серьги устанавливаются ручным переміщенням по направляющим хобота і закрепляются стяжным болтом з гайкой.

Хобот перемещается съемным ключом посредством реечной передачи при незатянутом клине. В других случаях клин хобота должен быть затянут.

Расточка отверстия серьги под подшипник выполнена индивидуально для каждого верстата, поетому ПЕРЕСТАНОВКА СЕРЕГ С ОДНОГО СТАНКА НА ДРУГОЙ НЕ ДОПУСКАЕТСЯ.

Коробка швидкостей

Коробка швидкостей фрезерного верстата 6Т82-1

Коробка швидкостей фрезерного верстата 6Т82-1

Коробка швидкостей фрезерного верстата 6Т82-1. Скачать в увеличенном масштабе



Коробка швидкостей смонтирована непосредственно в корпусе станины. Соединение коробки з валом електродвигуна осуществляется упругой муфтой (рис. 20). На промежуточных валах смонтированы два тройных или один двойной блоки шестерен. На моторном валу установлена електромагнитная муфта II, служащая для торможения шпинделя при Осмотр коробки швидкостей можно произвести через окно з правой стороны.

Шпиндель верстата представляет собой двухопорный вал, геометрическая точность которого определяется в основном підшипниками 2 і 4.

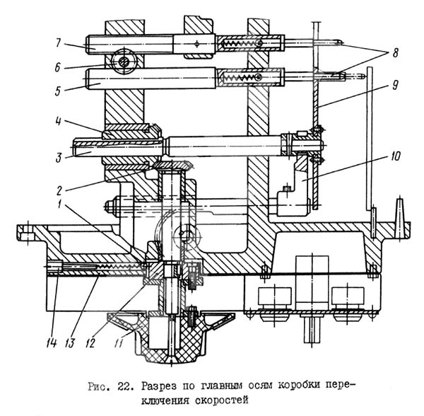
Коробка переключения швидкостей

Механізм переключения швидкостей фрезерного верстата 6Т82-1

Механізм переключения швидкостей фрезерного верстата 6Т82-1


Коробка переключения швидкостей позволяет выбирать требуемую скорость без послідовного прохождения промежуточных ступеней.

Рейка I (рис. 21), передвигаемая рукояткой переключения 5, посредством сектора 2 через вилку 10 (рис. 22) перемещает в осевом направления валик 3 з диском переключения 9. ДИСК переключения поворачивается указателем швидкостей II через конические зубчасті колеса 2 і 4. Диск имеет несколько рядов отверстий определенного размера, расположенных против штифтов 8 реек 5 і 7, зацепляющихся попарно з зубчатым колесом 6. На одной из каждой пары реек крепится вилка переключения. При перемещении диска нажимом на штифт одной из пары обеспечивается возвратно-поступательное перемещение реек. При етом вилка в кінці ходу диска занимает положение, соответствующее зацеплению определенных пар зубчатых колес. Для исключения возможности жесткого упора зубчатых колес при переключении штифты 8 реек подпружинены.

Фиксация лимба при выборе скорости обеспечивается шариком I, заскакивающим в пазы звездочки 12.

Регулювання пружины 13 производится пробкой 14 з учетом четкой фиксации лимба і нормального зусилля при его повороте.

Рукоятка 5 (рис. 21) во включенном положении удерживается за счет пружины 4 і шарика 3. При етом шип рукоятки входит в паз фланца.


Коробка переключения швидкостей фрезерного верстата 6Т82-1

Коробка переключения швидкостей фрезерного верстата 6Т82-1


Соответствие швидкостей значениям, отмеченным на указателе, достигается определенным положением конических шестерен 2 і 4 (рис. 22) по зацеплению. Правильное зацепление устанавливается по кернам на торцах сопряженного зуба і впадины или при установці указателя в положение скорости 31,5 об/мин і диска з вилками в положение скорости 31,5 об/мин.

Зазор в зацеплении конической пары не должен быть больше 0,2 мм, так как диск за счет етого може повернуться до I мм.

Смазка коробки переключения осуществляется от системы змазки коробки швидкостей разбрызгиванием масла, поступавшего из трубки в верхней частини станины. Отсутствие масляного дождя може вызвать недопустимый нагрев щечек вилок переключения і привести к заеданию вилок, их деформации или поломке.




Коробка подач

Коробка подач фрезерного верстата 6Т82-1

Коробка подач фрезерного верстата 6Т82-1


Коробка подач (рис. 23) обеспечивает получение рабочих перемещений стола по 3-м координатам.

Вращение на входное колесо I коробки подач поступает з зубчатого венца 5 (рис. 25), установленного на валу 7 консоли. Получаемые в результате переключения блоков шестерен скорости через выходное колесо 3 (рис. 23) і паразитную шестерню 20 (рис. 25) передаются на муфту подач 18, установленную на размещенном в консоли выходном валу 16 ланцюги ускоренного ходу. Коробка подач і ланцюг ускоренного ходу от поломок при перегрузках защищены шариковой предохранительной муфтой 22. Величина момента, развиваемого муфтой, регулируется изменением зусилля пружин, воздействующих на шарики, размещенные в пазах на торце зубчатого колеса. При перегрузке механізма подач шарики, преодолевая зусилля пружин, выдавливаются из пазов, і зубчатое колесо 21 начинает проскальзывать относительно вала 16, при етом рабочая подача прекращается.

Регулювання муфты считается правильным, если не происходит її срабатывание при одновременном быстром перемещении консоли вверх і по любой другой координате.

Подача змазки к вузлам приводу подач осуществляется плунжерным насосом з приводом от шарикопідшипника 2, насаженного на ексцентрично выполненную ступицу входного колеса (рис. 2З).

Механізм переключения подач

Механізм переключения подач фрезерного верстата 6Т82-1

Механізм переключения подач фрезерного верстата 6Т82-1

Механізм переключения подач фрезерного верстата 6Т82-1. Скачать в увеличенном масштабе



Механізм переключения подач, (рис. 24) включает жестко связанный з валом 6 диск 7, подвижный вдоль оси вала диск 2, штанги 5 з переключающими вилками. При переключениях диски движутся по встречным направлениям и, воздействуя на торцы штанг, перемещают их і связанные з ними блоки переключаемых шестерен в осевом направлении. Заданное направление переміщення штанг (вправо-влево) обеспечивается наличием в дисках отверстий, расположенных против соответствующих торцев шганг. Ступица диска 7 снабжена кольцевой проточкой і зубчатым колесом 8, посредством Которых механізм переключения подач связан з валом керування 9.

Дня переключены подачі необходимо нажать кнопку 14 і вытянуть грибок 13 на себя до отказа. При етом вал 9 потянет за собой связанный з ним вал 6 з диском 7. Диск 2, связанный при покоит рейки I і шестерни 21 з валом 6, в етом случае будет двигаться в противоположном направлении до упора его ступицы в винт 4, а концы штанг освободятся от взаимодействия з дисками. Последующим поворотом грибка 13 вокруг оси установить по лимбу II требуемую величину подача против стрелки-указателя 10.

Переключення подачі производится переміщенням грибка в осевом направлении до первоначального фиксированного положения. Если дослать грибок в исходное положение не удается, то следует снова повторить рух на себя. При етом воздействием диска 20 через толкатель 19 будут замкнуты контакты конечного выключателя 16, управляющие импульсный включением двигуна подач, після етого возврат грибка в исходное положение пройдет без затруднений.

Смещение дисков 2 і 7 в осевом направлении предотвращается фиксацией вала 9 во включенном положении двумя шариками 16 і втулкой 15. При нажиме на кнопку 14 шарики попадают в кольцевую проточку валика 17 в освобождают от фиксации вал 9.

Фиксация поворота дисков переключения осуществляется подпружиненным шариком 3, расположенным в отверстии рейки I.




Консоль

Консоль фрезерного верстата 6Т82-1

Консоль фрезерного верстата 6Т82-1

Консоль фрезерного верстата 6Т82-1. Скачать в увеличенном масштабе



Консоль фрезерного верстата 6Т82-1

Консоль фрезерного верстата 6Т82-1

Консоль фрезерного верстата 6Т82-1. Скачать в увеличенном масштабе



Консоль является базовым узлом, объединяющий вузли ланцюги подач верстата. Непосредственно в корпусе консоли встроены ланцюг ускоренных перемещений, коробка раздачи движений по ходовым гвинтам і вал керування механізмом переключения подач. На левой стороне консоли прифланцована съемная коробка подач з патрубком для залива масла, а также расположены указатели роботи насоса і уровня масла в масляном резервуаре консоли. С правой стороны крепится редуктор замедленных перемещений, електродвигатель подач і распределительная коробка для живлення електромагнітних муфт, размещенная под защитным кожухом електродвигуна.

Наличие распределительной коробки з клеммными рейками позволяет, не вскрывая консоли, прозвонить ланцюг любой из електромагнітних муфт в приводе подач.

На переднем торце консоли размешены кнопки периодической подачі масла к направляющим стола, салазки і консоли. Здесь же расположен грибок переключения подач.

Корпус консоли разделен поперечної перегородкой на два отсека. В переднем отсеке встроена муфтовая коробка раздачи движений по ходовым гвинтам. Доступ к муфтам при осмотрах і ремонтных работах осуществляется через боковые окна: через правое - к предохранительной і муфтам поперечного ходу, через левое - к муфтам вертикальних перемещений.

Демонтаж і установка муфт продольного ходу производится через отверстие в передньої стенке консоли, закрытое опорным фланцем підшипника муфтового вала.

При демонтаже валов з муфтами поперечного і вертикального перемещений стола не следует нарушать первоначальную налаштування положения блокировочных конечных выключателей, обеспечивающих відключення електромагнітних муфт при пользовании съемной рукояткой установочных перемещений.

Ланцюг ускоренного ходу представляет собой две пары постоянно сцепленных зубчатых передач, установленных на валах II, 7 і 16 (рис. 25), зубчасті колеса 9, 6 і 3 етих передач жестко соединены з валами II і 7, а ведомое колесо 15 свободно вращается на валу 16 і жестко соединяется з ним при замыкании муфты ускоренного ходу 14.

На валу кроме муфты увімкнення ускоренного ходу размешены муфты увімкнення подач 18, зубчатое колесо 17 для связи з выходной шестерней редуктора замедленной подачі, а также предохранительная муфта 22, через которую передається рух на коробку раздачи руху по ходовым гвинтам.

Для каждой координаты перемещений в раздаточной коробке установлено по две муфты з взаимно противоположными направлениями вращений ведущих зубчатых венцов. С муфтового вала 25 через зубчасті колеса 2 і I вращение передається на винт поперечных перемещений 32. На винт вертикальних перемещений обертання поступают з вала 27 через цилиндрическую зубчатую пару 29; 30 і конические зубчасті колеса 5 і 4 (рис. 25, 26).

Вращение на винт продольных перемещений передається з вала 28 посредством двойного блока 26 (рис. 25), свободно установленного на кінці гвинта поперечных подач перемещений, на шлицевый вал 31, далее вращение через две конические пары шестерен 12; 13 і 14; 4 поступает на гильзу 10 (рис. 28), связанную з винтом продольных перемещений I, посредством скользящей шпонки.

Механізм пропорционального замедления подачі

Механізм пропорционального замедления подачі верстата 6Т82-1

Механізм пропорционального замедления подачі верстата 6Т82-1


Механізм пропорционального замедления подачі (рис. 27) предназначен для снижения подачі в два раза при врезании і выходе инструмента при фрезеровании.

Зубчатое колесо I для механізма замедления является входным, колесо 3 выходным. Входное колесо заходится в зацеплении з зубчатым колесом 19 (рис. 25), свободно обкатывающимся по валу, выходное - з колесом 17, жестко установленным на етом же валу.

Увімкнення механізма замедления в работу осуществляется муфтой 2 (рис. 27). При етом муфта подач отключается. Увімкнення механізма замедления происходит в ручном режиме переключателем 32 на основном пульті или кнопкой 8 (рис, 15) на боковом пульті, а в автоматическом - кулачком, установленным на передньої плоскости стола, воздействующим на блок путевых микропереключателей.

При включении замедленной подачі кнопкой или кулачком, продолжительность замедленного переміщення определяется временем нажатия на кнопку или длиной кулачка.

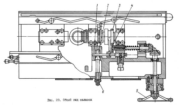
Стол і салазки

Стол фрезерного верстата 6Т82-1

Стол фрезерного верстата 6Т82-1

Стол фрезерного верстата 6Т82-1. Скачать в увеличенном масштабе



Салазки фрезерного верстата 6Т82-1

Салазки фрезерного верстата 6Т82-1

Салазки фрезерного верстата 6Т82-1. Скачать в увеличенном масштабе



Стол і салазки (рис. 28, 29) обеспечивают продольные і поперечные переміщення стола.

Ходовой винт I (рис. 28) получает вращение через скользящую шпонку гильзы 10, смонтированной во втулках 5 и7. Гильза 10 через шлицы получает вращение от зубчатой полумуфты 6 при сцеплении її з зубчатой полумуфтой 5, жестко связанной з коническим зубчатым колесом 4. Полумуфта 5 имеет зубчатый венец, з которым зацепляется зубчатое колесо приводу круглого стола. Полумуфта 6 имеет зубчатый венец для осуществления обертання гвинта поздовжньої подачі при переміщеннях от маховика. Вращение на зубчатый венец передається от шестерни 4 (рис. 29), которая подпружинена на случай попадания зуба на зуб. Зацепление зубчатого венца 3 полумуфты з шестерней 4 возможно только в случае расцепления полумуфты 6 з полумуфтой 5 (рис. 28) і осуществляется переміщенням рейки I от переключателя 6, закрепленного на валике 2 (рис. 29). Таким образом осуществляется блокировка маховика 5.

Гайки 2 і 3 ходового гвинта I (рис. 28) расположены в левой частини салазок. Правая гайка 3 зафиксирована двумя штифтами в корпусе салазок: левая гайка 2, упираясь торцем в правую, при повороте її червяком выбирает люфт в винтовой паре.

Стол соединяется з ходовым винтом через кронштейны, установка которых на торцах стола производится по фактическому расположению гвинта і фиксируется контрольными штифтами. Упорные підшипники смонтированы на разных концах гвинта, что устраняет возможность его роботи на продольный изгиб. При монтаже гвинта обеспечивается предварительный натяг ходового гвинта гайками з усилием 1000...1250 Н (100...125 кгс).

Зажим салазок на направляючих консоли обеспечивается планками 9, на которые воздействует ексцентрик валика 8.




Пристрій електромеханического зажиму инструмента

Пристрій електромеханического зажиму инструмента фрезерного верстата 6Т82-1

Пристрій електромеханического зажиму инструмента верстата 6Т82-1

Пристрій електромеханического зажиму инструмента фрезерного верстата 6Т82-1. Скачать в увеличенном масштабе



Пристрій (рис. 30) предназначено для закрепления инструмента в шпинделе верстата.

Затяжка і выталкивание инструмента производится з помощью перемещающейся тяги 3, расположенной внутри шпинделя 5. Возвратно-поступательное перемещение тяги 3 обеспечивается резьбовым соединением її со шлицевым валиком 2, получающим вращательное рух от головки електромеханического зажиму инструмента I. На кінці тяги 3 имеется Т-образная головка, которая соединяется з Т-образным пазом захвата 4, ввернутого в оправку з фрезой.

Установка фрез на оправках производится в зависимости от их размера і вида (рис. 31).

Оправки для фрез для верстата 6Т82-1

Пристрій електромеханического зажиму инструмента верстата 6Т82-1

Оправки для фрез для верстата 6Т82-1. Скачать в увеличенном масштабе



Захват I (рис. 31) должен быть установлен такта образом, чтобы Т-образный паз захвата был перпендикулярен к ведущим пазам оправки или фрезы 3 і выдержан размер 43+-1,5 мм.

Номенклатура оправок і переходных втулок, поставляемых со верстатом, приведена в разделе "Комплект поставки".

Закрепление фрезерной оправки в шпинделе осуществляется в следующей післядовательности: оправку з фрезой вставить в конусное отверстие шпинделя і путем поворота на угол 90° соединить з головкой тяги 3 (рис. 30). Перевести переключатель 3 (рис. 15) в положение "Зажим инструмента". При етом оправка з фрезой втягивается в шпиндель. Окончание зажиму определяется по прощелкиванию кулачковой муфты механізма.

При отжиме инструмента необходимо: включить шпиндель кнопкой 13 или 31 (рис, 15) і проследить, чтобы шпиндель остановился. Перевести переключатель 3 в положение "Отжим инструмента" і держать до тех пор, пока фрезерна оправка не выйдет из шпинделя на длину не более 15...20 мм, т.е. оправка должна расланцюгиться з ведущими шпонками шпинделя.

При большем перемещении оправки валик 2 (рис. 30) може полностью вывернуться из тяги 3. Тогда при зажиме инструмента тягу нужно поджать вдоль оси влево, чтобы резьбовой конец валика ввернулся в резьбовое отверстие тяги.

ВНИМАНИЕ! ПРИ ПЕРВОНАЧАЛЬНОМ ВКЛЮЧЕНИИ ШПИНДЕЛЯ НЕОБХОДИМО ПРОИЗВЕСТИ ЗАЖИМ ИНСТРУМЕНТА.

При проверке обертання шпинделя без инструмента необходимо произвести холостое втягивание тяги 3 до прощелкивания кулачковой муфты, имитируя зажим инструмента, в противном случае шпиндель включаться не будет.

Для кінцівых фрез з коническим хвостовиком, имеющим конус Морзе 3, применяется втулка переходная з конусностью 7:24 (рис. 32).


Cхема електрична фрезерного верстата 6Т82-1

Схема електрична принципова 6Т82-1 cтанок горизонтальный консольно-фрезерный

Електрична схема фрезерного верстата 6Т82-1

Схема електрична принципова консольно-фрезерного верстата 6Т82-1. Скачать в увеличенном масштабе





Настановне креслення фрезерного верстата 6Т82-1

Настановне креслення фрезерного верстата 6Т82-1

Настановне креслення фрезерного верстата 6Т82-1

Настановне креслення фрезерного верстата 6Т82-1. Скачать в увеличенном масштабе






6Т82-1 Верстат консольно-фрезерный горизонтальный з поворотным столом - універсальний. Відеоролик.



Технічні характеристики верстатів моделей 6Т82-1

Наименование параметра 6Т82-1 6Т82Г-1 6Т83-1 6Т83Г-1
Класс точності по ГОСТ 8-82 Н Н Н Н
Рабочий стол
Максимальная нагрузка на стол (по центру), кг 400 400 630 630
Розміри рабочей поверхности стола (длина х ширина), мм 1250 х 320 1250 х 320 1600 х 400 1600 х 400
Число Т-образных пазов Розміри Т-образных пазов 3 3 3 3
Наибольшее перемещение стола продольное/ поперечное/ вертикальное механическое, мм 800/ 320/ 370 800/ 320/ 420 1000/ 400/ 360 1000/ 400/ 420
Расстояние от оси горизонтального шпинделя до стола при ручном перемещении, мм 30...400 30...450 30...390 30...450
Расстояние от оси шпинделя до хобота, мм 155 155 190 190
Наибольший угол поворота стола, град ±45 нет ±45 нет
Цена одного деления шкалы поворота стола, град 1 нет 1 нет
Перемещение стола на одно деление лимба (продольное, поперечное, вертикальное), мм 0,05 0,05 0,05 0,05
Перемещение стола на один оборот лимба продольное/ поперечное/ вертикальное, мм 6/ 6/ 2 6/ 6/ 2 6/ 6/ 2 6/ 6/ 2
Шпиндель
Частота обертання шпинделя, об/мин 31,5...1600 31,5...1600 31,5...1600 31,5...1600
Количество швидкостей шпинделя 18 18 18 18
Наибольший допустимый диаметр фрез при черновой обработке, мм 160 160 200 200
Механіка верстата
Быстрый ход стола продольный/ поперечний/ вертикальний, м/мин 4/ 4/ 1,33 4/ 4/ 1,33 4/ 4/ 1,33 4/ 4/ 1,33
Число ступеней рабочих подач стола 22 22 22 22
Пределы рабочих подач. Продольных і поперечных, мм/мин 12,5...1600 12,5...1600 12,5...1600 12,5...1600
Пределы рабочих подач. Вертикальных, мм/мин 4,1...530 4,1...530 4,1...530 4,1...530
Наибольшее усилие різання при поздовжньої/ поперечної/ вертикальной подаче, кН 15/ 12/ 5 15/ 12/ 5 20/ 12/ 8 20/ 12/ 8
Выключающие упоры подачі продольных есть есть есть есть
Выключающие упоры подачі поперечных, вертикальних нет нет нет нет
Блокировка ручной і механической подачі (поздовжньої, поперечної, вертикальной) есть есть есть есть
Блокировка раздельного увімкнення подачі есть есть есть есть
Автоматическая прерывистая подача Продольная есть есть есть есть
Автоматическая прерывистая подача Поперечная і вертикальная нет нет нет нет
Торможение шпинделя есть есть есть есть
Предохранение от перегрузки (муфта) есть есть есть есть
Привод
Количество електродвигателей на станке 4 4 4 4
Електродвигун приводу головного руху, кВт (об/мин) 7,5 (1455) 7,5 (1455) 11 (1460) 11 (1460)
Електродвигун приводу подач стола, кВт (об/мин) 2,2 (1425) 2,2 (1425) 3 (1435) 3 (1435)
Електродвигун зажиму инструмента, кВт (об/мин) 0,18 (1370) 0,18 (1370) 0,18 (1370) 0,18 (1370)
Електродвигун насоса охлаждающей жидкости, кВт (об/мин) 0,12 (2800) 0,12 (2800) 0,12 (2800) 0,12 (2800)
Электронасос охлаждающей жидкости Тип Х14-22М Х14-22М Х14-22М Х14-22М
Производительность насоса СОЖ, л/мин 22 22 22 22
Суммарная мощность всех електродвигателей, кВт 10,0 10,0 14,3 14,3
Габарити і масса верстата
Габарити верстата (длина ширина высота), мм 2280 х 1965 х 1690 2280 х 1965 х 1690 2579 х 2252 х 1770 2579 х 2252 х 1770
Масса верстата, кг 3150 3900

    Список литературы:

  1. Верстати консольно-фрезерные 6Т82Г-1, 6Т82-1, 6Т83Г-1, 6Т83-1. Руководство по експлуатации 6Т82Г-1.00.000 РЭ,
  2. Верстати фрезерные консольные широкоуниверсальные 6Т82Ш, 6Т83Ш. Руководство по експлуатации 6Т82Ш.00.000 РЭ, 1986
  3. Консольно-фрезерные верстати 6Т82Г-1, 6Т82-1, 6Т12-1, 6Т82Ш-1, 6Т83Г-1, 6Т83-1, 6Т13-1, 6Т83Ш-1. Руководство по експлуатации електроустаткування 6Т82Г.00.000 РЭ1

  4. Аврутин С.В. Основы фрезерного дела, 1962
  5. Аврутин С.В. Фрезерне дело, 1963
  6. Ачеркан Н.С. Металлорежущие верстати, Том 1, 1965
  7. Барбашов Ф.А. Фрезерне дело 1973
  8. Барбашов Ф.А. Фрезерные роботи (Профтехобразование), 1986
  9. Блюмберг В.А. Справочник фрезеровщика, 1984
  10. Григорьев С.П. Практика координатно-расточных і фрезерных работ, 1980
  11. Копылов Работа на фрезерных верстатах,1971
  12. Косовский В.Л. Справочник молодого фрезеровщика, 1992
  13. Кувшинский В.В. Фрезерование,1977
  14. Ничков А.Г. Фрезерные верстати (Библиотека станочника), 1977
  15. Пикус М.Ю. Справочник слесаря по ремонту металлорежущих верстатів, 1987
  16. Плотицын В.Г. Расчёты настроек і наладок фрезерных верстатів, 1969
  17. Плотицын В.Г. Наладка фрезерных верстатів,1975
  18. Рябов С.А. Современные фрезерные верстати і их оснастка, 2006
  19. Схиртладзе А.Г., Новиков В.Ю. Технологическое обладнання машиностроительных производств, 1980
  20. Тепинкичиев В.К. Металлорежущие верстати, 1973
  21. Чернов Н.Н. Металлорежущие верстати, 1988
  22. Френкель С.Ш. Справочник молодого фрезеровщика (3-е изд.) (Профтехобразование), 1978