metalinstryment.com
Довідник по металорізальних верстатів та пресовому обладнанні

6Т13 Верстат консольно-фрезерный вертикальний общего назначения
характеристики, схеми, опис

6Т13 Загальний вигляд консольного фрезерного верстата



Відомості про виробника консольно-фрезерного верстата 6Т13

Производитель серии универсальных фрезерных верстатів 6Т13 - Горьковский завод фрезерных верстатів, основанный в 1931 году.

Завод специализируется на выпуске широкой гаммы универсальных фрезерных верстатів, а, также, фрезерных верстатів з УЦИ і ЧПУ, і является одним из наиболее известных станкостроительных предприятий в России.

Начиная з 1932 года Горьковский завод фрезерных верстатів занимается выпуском верстатів і является експертом в разработке і производстве различного металлорежущего оборудования.

Універсальные фрезерные верстати серии Т выпускаются Горьковским заводом фрезерных верстатів (ГЗФС) начиная з 1985 года. Верстати сходны между собой по конструкції, широко унифицированы і является дальнейшим усовершенствованием аналогичных верстатів серии Р (6Р12, 6Р13).

Сегодня консольно-фрезерный верстат 6Т13 - выпускает:






Продукция Горьковского завода фрезерных верстатів ГЗФС


6Т13 Верстат вертикальний консольно-фрезерный. Назначение і область применения

Вертикальный консольно-фрезерный верстат 6Т13 сконструирован на основе базовой моделі 6Т13-1 з високою степенью унификации функциональных вузлів і деталей.

Вертикальный консольно-фрезерный верстат 6Т13 предназначен для фрезерування всевозможных деталей из различных материалов. Применяется в условиях единичного і серийного производства.

Консольно-фрезерный верстат 6Т13 отличается от верстата 6Т12 установленной мощностью двигателей головного руху і подач, размерами рабочей поверхности стола і величинами переміщення стола.

На станке 6Т13 можно обрабатывать вертикальные і горизонтальные плоскости, пазы, углы, рамки, зубчасті колеса і др.

На вертикальном консольно-фрезерном станке 6Т13 возможна робота в трех режимах:

  1. Автоматический - В автоматическом режиме верстат работает при различных автоматических циклах.
  2. Толчковый - В толчковом режиме производятся установочные переміщення стола. Возможна робота по разметке.
  3. Ручной - В ручном универсальном режиме верстат работает з использованием рабочих подач, быстрых перемещений, а также ручных перемещений от маховиков і рукоятки.

Особливості конструкції фрезерного верстата 6Т13

Технологические возможности верстатів могут быть расширены за счет применения накладной фрезерной, делительной і долбежной головок, круглого поворотного стола.

Имеется пристрій для ограничения зазору в винтовой паре продольного переміщення стола, индивидуальная смазка гвинта вертикального переміщення, повышающая его долговечность і снижающая усилие подъема консоли.

Введены дополнительные пристроя для защиты от разлетающейся стружки і емульсии.

Повышена жесткость верстата за счет прямоугольных направляючих станины і консоли.

Имеется автоматическое торможение шпинделя в рабочем режиме і при аварийном отключении.

Автоматизированная смазка вузлів повышает их долговечность і сокращает время обслуживания.

Стол верстата може поворачиваться вокруг вертикальной оси на ±45°, что позволяет з применением делительных устройств фрезеровать различные винтообразные спирали.

Поворотная шпиндельна головка верстата оснащена механізмом ручного осьового переміщення гильзы шпинделя, что позволяет производить обработку отверстий, ось которых расположена под углом до ±45° к рабочей поверхности стола.

Мощность приводов і высокая жесткость верстатів позволяют применять фрезы, изготовленные из быстрорежущей стали, а также инструмент, оснащенный пластинками из твердых і сверхтвердых синтетических материалов.

Механизировано крепление инструмента. Винт поперечної подачі расположен по оси фрезы, что повышает точность обробки. Технологические возможности верстата могут быть расширены з применением делительной головки, поворотного круглого стола і других пристосувань.

Возможность налаштування верстата на различные напівавтоматические і автоматические циклы позволяет организовать многостаночное обслуговування і использовать верстат для выполнения различных работ в поточном производстве.

Верстат 6Т13 може поставляться в стране з умеренным, холодным і тропическим климатом.

Класс точності верстата — Н по ГОСТ 8—82Е

Основні конструктивные преимущества верстатів:

Основні технологические преимущества верстатів:

Верстати выпускаются в различных исполнениях по напряжению, частоте питающей сети. Поставляются запасные частини.


Модифікації консольно-фрезерных верстатів серии "Т"

На базе верстатів серии «Т» разработаны различные модификации і специализированные верстати:

Модифікації 6Т…-27 имеют увеличенное на 100 мм расстояние от оси (торца) шпинделя до рабочей поверхности стола і механізм пропорционального (в 2 раза) замедления рабочей подачі.


Российские і зарубежные аналоги верстата 6Т12 (6Т13)

FSS350MR, FSS450MR - 315 х 1250, 400 х 1250 - производитель Гомельский станкостроительный завод

ВМ127М - (400 х 1600) - производитель Воткинский машиностроительный завод ГПО, ФГУП

6Д12, 6К12 - 320 х 1250 - производитель Дмитровский завод фрезерных верстатів ДЗФС

X5032, X5040 - 320 х 1320 - производитель Shandong Weida Heavy Industries, Китай

FV321M, (FV401) - 320 х 1350 (400 х 1600) - производитель Arsenal J.S.Co. - Kazanlak, Арсенал АД, Болгария


История выпуска верстатів Горьковским заводом, ГЗФС

В 1937 году на Горьковском заводе фрезерных верстатів были изготовлены первые консольно-фрезерные верстати серии 6Б моделей 6Б12 і 6Б82 з рабочим столом 320 х 1250 мм (2-го типоразмера).

В 1951 году запущена в производство серия консольно-фрезерных верстатів собственной конструкції (Новые): 6Н12, 6Н13П, 6Н82, 6Н82Г. Верстат 6Н13ПР получил “Гран-При” на всемирной выставке в Брюсселе в 1956 году.

В 1960 году запущена в производство серия консольно-фрезерных верстатів: 6М12П, 6М13П, 6М82, 6М82Г, 6М83, 6М83Г, 6М82Ш.

В 1972 году запущена в производство серия консольно-фрезерных верстатів: 6Р12, 6Р12Б, 6Р13, 6Р13Б, 6Р13Ф3, 6Р82, 6Р82Г, 6Р82Ш, 6Р83, 6Р83Г, 6Р83Ш.

В 1975 году запущены в производство копировальные консольно-фрезерные верстати: 6Р13К.

В 1978 году запущены в производство копировальные консольно-фрезерные верстати 6Р12К-1, 6Р82К-1.

В 1985 году запущена в производство серия 6Т-1 консольно-фрезерных верстатів: 6Т12-1, 6Т13-1, 6Т82-1, 6Т83-1 і ГФ2171.

В 1991 году запущена в производство серия консольно-фрезерных верстатів: 6Т12, 6Т12Ф20, 6Т13, 6Т13Ф20, 6Т13Ф3, 6Т82, 6Т82Г, 6Т82ш, 6Т83, 6Т83Г, 6Т83Ш.







Габарит робочого простору консольно-фрезерного верстата 6Т13

6Т13 Габарит робочого простору універсального вертикального консольно-фрезерного верстата

Креслення робочого простору фрезерного верстата 6Т13


Ескіз шпинделя консольно-фрезерного верстата 6Т13

6Т13 Ескіз шпинделя універсального вертикального консольно-фрезерного верстата

Ескіз шпинделя фрезерного верстата 6Т13


Загальний вигляд вертикального консольно-фрезерного верстата 6Т13

6Т13 Загальний вигляд консольно-фрезерного верстата

Фото консольно-фрезерного верстата 6Т13


6Т13 Загальний вигляд консольно-фрезерного верстата

Фото консольно-фрезерного верстата 6Т13

Фото консольно-фрезерного верстата 6Т13. Скачать в увеличенном масштабе



Розташування складових частин консольно-фрезерного верстата 6Т13

6Т13 Розташування складових частин консольно-фрезерного верстата

Розташування складових частин фрезерного верстата 6Т13

Список складових частин консольно-фрезерного верстата 6Т13

  1. станина
  2. пульт боковой
  3. механізм переключения подач
  4. коробка швидкостей шпинделя
  5. головка поворотная
  6. пристроя електромеханического зажиму инструмента
  7. шкаф керування
  8. стол і салазки
  9. механізм замедления подачі
  10. пульт основной
  11. консоль
  12. коробка подач

Розташування органів керування консольно-фрезерным верстатом 6Т13

6Т13 Органы керування консольно-фрезерного верстата

Розташування органів керування фрезерным верстатом 6Т12


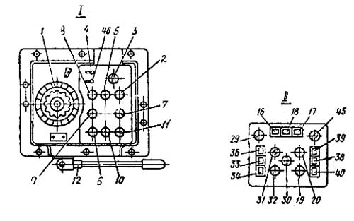
Пульты керування фрезерным верстатом 6Т13

6Т13 Пульты керування фрезерным верстатом 6Т13: основной і боковой

Пульты керування фрезерным верстатом 6Т13: основной -II, боковой -I

Список органів керування консольно-фрезерным верстатом 6Т13

  1. Указатель швидкостей шпинделя
  2. Кнопка "Перемещение стола назад, вперед, вниз"
  3. Переключатель выбора направления переміщення стола
  4. Переключатель "Зажим-Отжим инструмента"
  5. Кнопка "Перемещение стола вперед, влево, вверх"
  6. Кнопка "Толчок шпинделя" (дублирующая)
  7. Кнопка "Стоп переміщення стола"
  8. Кнопка "Пуск шпинделя"
  9. Кнопка "Стоп шпинделя" (дублирующая)
  10. Кнопка "Стоп" аварийная
  11. Кнопка "Быстрое перемещение стола" (дублирующая)
  12. Рукоятка переключения швидкостей шпинделя
  13. -
  14. Шестигранник поворота головки
  15. Рукоятка зажиму гильзы шпинделя
  16. Клавиша "Перемещение стола влево"
  17. Клавиша "Перемещение стола вправо"
  18. Клавиша "Стоп продольного переміщення стола"
  19. Кнопка "Стоп шпинделя"
  20. Кнопка "Пуск шпинделя"
  21. Зажимы стола
  22. Переключатель увімкнення режима роботи стола "Ручной - Механический"
  23. Маховик ручного продольного переміщення стола
  24. Кольцо-нониус
  25. Лимб механізма поперечных перемещений стола
  26. Ручное поперечное перемещение стола
  27. Ручное вертикальное перемещение стола
  28. Грибок переключения подач
  29. Кнопка "Стоп" аварийная
  30. Переключатель выбора режима роботи верстата
  31. Переключатель "Замедленная подача"
  32. Кнопка "Быстрое перемещение стола і пуск цикла"
  33. Клавиша "Стоп вертикального переміщення стола"
  34. Клавиша "Перемещение стола вниз"
  35. Зажимы салазок
  36. Клавиша "Перемещение стола вверх"
  37. Маховик ручного продольного переміщення стола (дублирующий)
  38. Клавиша "Стоп поперечного переміщення стола"
  39. Клавиша "Перемещение стола вперед"
  40. Клавиша "Перемещение стола назад"
  41. Маховик выруху гильзы шпинделя
  42. Зажим головки на станине
  43. Вводной выключатель
  44. Переключатель направления обертання шпинделя "Влево - Вправо"
  45. Переключатель насоса охлаждения «Включено – Выключено»
  46. Переключатель выбора пульта керування
  47. Переключатель выбора автоматических циклов
  48. Зажим консоли
  49. Рукоятка съемная ручного вертикального і поперечного переміщення стола
  50. Штифт нулевой фиксации головки




Схема кінематична консольно-фрезерного верстата 6Т13

6Т13 Схема кінематична консольно-фрезерного верстата

Кінематична схема консольно-фрезерного верстата 6Т13

Схема кінематична консольно-фрезерного верстата 6Т13. Скачать в увеличенном масштабе



Кінематична схема приведена для понимания связей і взаимодействия основних елементів верстата. На выносках проставлены числа зубьев (г) шестерен (звездочкой обозначено число заходов червяка).

Привід головного руху осуществляется от фланцевого електродвигуна через упругую соединительную муфту.

Числа оборотів шпинделя изменяются передвижением трех зубчатых блоков по шлицевым валам.

Коробка швидкостей сообщает шпинделю 18 различных швидкостей.

Привід подач осуществляется от фланцевого електродвигуна, смонтированного в консоли. Посредством двух трехвенцовых блоков і передвижного зубчатого колеса з кулачковой муфтой коробка подач обеспечивает получение 18 различных подач, которые через шариковую предохранительную муфту передаются в консоль і далее при включении соответствующей кулачковой муфты к гвинтам продольного, поперечного і вертикального перемещений.

Ускоренные переміщення получаются при включении фрікциону швидкого ходу, вращение которого осуществляется через промежуточные зубчасті колеса непосредственно от електродвигуна подач.

Фрикцион сблокирован з муфтой рабочих подач, что устраняет возможность их одновременного увімкнення.

Графики, поясняющие структуру механізма подач верстата, приведены на рис. 6 і 7. Для верстатів моделей 6Т13Б (рис. 7) вертикальные подачі в 3 раза меньше продольных.


Конструкція основних вузлів консольно-фрезерного верстата 6Т13

Станина

Станина является базовым узлом, на котором монтируются остальные вузли і механізмы верстата.

Станина жестко закреплена на основании і фиксирована штифтами.

Поворотная головка консольно-фрезерного верстата 6Т13

Поворотная головка (рис. 8) центрируется в кольцевой выточке горловины станины і крепится к ней четырьмя болтами, входящими в 1-разный паз фланца станины.

Шпиндель представляет собой двухопорный вал, смонтированный в выдвижной гильзе. Регулювання осьового люфта в шпинделе осуществляется подшлифовкой колец 3 і 4. Повышенный люфт в переднем подшипнике устраняют подшлифовкой полуколец 5 і подтягиванием гайки.

Регулировку проводят в следующем порядке:

Для устранения радиального люфта в 0,01 мм полукольца необходимо подшлифовать примерно на 0,12 мм.

Вращение шпинделю передається от коробки швидкостей через пару конических і пару цилиндрических зубчатых колес, смонтированных в головке.

Смазка підшибників і шестерен поворотной головки осуществляется от насоса станины, а смазка підшибників шпинделя і механізма переміщення гильзы — шприцеванием.

Коробка швидкостей

Коробка швидкостей смонтирована непосредственно в корпусе станины. Соединение коробки з валом електродвигуна осуществляется упругой муфтой, допускающей несоосность в установці двигуна до 0,5—0,7 мм.

Осмотр коробки швидкостей можно произвести через окно з правой стороны.

Смазка коробки швидкостей осуществляется от плунжерного насоса (рис. 9), приводимого в действие ексцентриком. Производительность насоса около 2 л/мин. Масло к насосу подводится через фильтр. От насоса масло поступает к маслораспределителю, от которого по медной трубке отводится на глазок контроля роботи насоса і по гибкому шлангу в поворотную головку. Элементы коробки швидкостей смазываются разбрызгиванием масла, поступающего из отверстий трубки маслораспределителя, расположенного над коробкой швидкостей.

Коробка переключения швидкостей

Коробка переключения швидкостей позволяет выбирать требуемую скорость без послідовного прохождения промежуточных ступеней.

Рейка 19 (рис. 10), передвигаемая рукояткой переключения 18, посредством сектора 15 через вилку 22 (рис. 11) перемещает в осевом направлении главный валик 29 з диском переключения 21.

Диск переключения можно поворачивать указателем швидкостей 23 через конические шестерни 28 і 30. Диск имеет несколько рядов определенного размера отверстий, расположенных против штифтов реек 31 і 33.

Рейки попарно зацепляются з зубчатым колесом 32. На одной из каждой пары реек крепится вилка переключения. При перемещении диска нажимом на штифт одной из пары обеспечивается возвратно-поступательное перемещение реек.

При етом вилки в кінці ходу диска занимают положение, соответствующее зацеплению определенных пар шестерен. Для исключения возможности жесткого упора шестерен при переключении штифты 20 реек подпружинены.

Фиксация лимба при выборе скорости обеспечивается шариком 27, заскакивающим в паз звездочки 24.

Регулювання пружины 25 производится пробкой 26 з учетом четкой фиксации лимба і нормального зусилля при его повороте.

Рукоятка 18 (см. рис. 10) во включенном положении удерживается за счет пружины 17 і шарика 16. При етом шип рукоятки входит в паз фланца.

Соответствие швидкостей значениям, указанным на указателе, достигается определенным положением конических колес по зацеплению. Правильное зацепление устанавливается по кернам на торцах сопряженного зуба і впадины или при установці указателя в положение скорости 31,5 об/мин і диска з вилками в положение скорости 31,5 об/мин (для верстатів моделей 6Т13Б соответствующая скорость равна 50 об/мин). Зазор в зацеплении конической пары не должен быть больше 0,2 мм, так как диск за счет етого може повернуться до 1 мм.

Смазка коробки переключения осуществляется от системы змазки коробки швидкостей разбрызгиванием масла.


Cхема електрична фрезерного верстата 6Т13

Схема електрична принципова 6Т13 cтанок горизонтальный консольно-фрезерный

Електрична схема фрезерного верстата 6Т13-1

Схема електрична принципова консольно-фрезерного верстата 6Т13. Скачать в увеличенном масштабе







6Т13 Верстат консольно-фрезерный вертикальний. Відеоролик.



Технічні характеристики консольного фрезерного верстата 6Т13

Наименование параметра 6Р12 6Р13 6Т12 6Т13
Основні параметри верстата
Розміри поверхности стола, мм 1250 х 320 1600 х 400 1250 х 320 1600 х 400
Наибольшая масса обрабатываемой детали, кг 250 300 400 630
Наибольший продольный ход стола (X), мм 800 1000 800 1000
Наибольший поперечний ход стола (Y), мм 250 300 320 400
Наибольший вертикальний ход стола (Z), мм 420 420 420 430
Расстояние от торца шпинделя до поверхности стола, мм 30..450 30..500 30..450 70..500
Расстояние от оси шпинделя до вертикальних направляючих станины (вылет), мм 350 420 380 460
Шпиндель
Мощность приводу головного руху, кВт 7,5 10 7,5 11
Частота обертання шпинделя, об/мин 40..2000 40..2000 31,5..1600 31,5..1600
Количество швидкостей шпинделя 18 18 18 18
Перемещение пиноли шпинделя, мм 70 80 70 80
Перемещение пиноли шпинделя на одно деление лимба, мм 0,05 0,05 0,05 0,05
Угол поворота шпиндельной головки, град ±45° ±45° ±45° ±45°
Кінець шпинделя ГОСТ 836-62 №3 №3
Кінець шпинделя ГОСТ 24644-81, ряд 4, виконання 6 50 50
Рабочий стол. Подачи
Пределы продольных і поперечных подач стола (X, Y), мм/мин 12,5..1600 12,5..1600 12,5..1600 12,5..1600
Пределы вертикальних подач стола (Z), мм/мин 4,1..530 4,1..530 4,1..530 4,1..530
Количество подач стола (продольных, поперечных, вертикальних) 22 22 22 22
Скорость быстрых перемещений (продольных, поперечных/ вертикальних) X, Y/ Z, м/мин 4/ 1,330 4/ 1,330 4/ 1,330 4/ 1,330
Перемещение стола на одно деление лимба (продольное, поперечное, вертикальное), мм 0,05 0,05 0,05 0,05
Перемещение стола на один оборот лимба (продольное, поперечное/ вертикальное), мм 6/ 2 6/ 2 6/ 2 6/ 2
Наибольшее допустимое усилие різання (продольное/ поперечное/ вертикальное), кН 15/ 12/ 5 20/ 12/ 8
Механіка верстата
Выключающие упоры подачі (поздовжньої, поперечної, вертикальной) Есть Есть Есть Есть
Блокировка ручной і механической подач (поздовжньої, поперечної, вертикальной) Есть Есть Есть Есть
Блокировка раздельного увімкнення подач Есть Есть Есть Есть
Торможение шпинделя Есть Есть Есть Есть
Предохранительная муфта от перегрузок Есть Есть Есть Есть
Автоматическая прерывистая подача Есть Есть Есть Есть
Електроустаткування і приводы верстата
Количество електродвигателей на станке 4 4 4 4
Електродвигун головного руху, кВт 7,5 10 7,5 11
Електродвигун приводу подач, кВт 2,2 3 3 3
Електродвигун зажиму инструмента, кВт 0,25 0,25
Електродвигун насоса СОЖ, кВт 0,125 0,125 0,12 0,12
Суммарная мощность всех електродвигателей, кВт 10,87 14,37
Габарити і масса верстата
Габарити верстата (длина ширина высота), мм 2305 1950 2020 2560 2260 2120 2280 1965 2265 2570 2252 2430
Масса верстата, кг 3120 4200 3250 4300


    Список литературы:

  1. Верстати вертикальные консольно-фрезерные 6Т12-1, 6Т13-1. Руководство по експлуатации 6Т12-1.00.000 РЭ,
  2. Верстати вертикальные консольно-фрезерные 6Т12, 6Т13. Руководство по експлуатации 6Т12.00.000 РЭ,
  3. Верстати вертикальные консольно-фрезерные 6Т12-29, 6Т13-29. Руководство по експлуатации 6Т12-29.00.000 РЭ, 1992
  4. Консольно-фрезерные верстати 6Т82Г-1, 6Т82-1, 6Т12-1, 6Т82Ш-1, 6Т83Г-1, 6Т83-1, 6Т13-1, 6Т83Ш-1. Руководство по експлуатации електроустаткування 6Т82Г.00.000 РЭ1

  5. Аврутин С.В. Основы фрезерного дела, 1962
  6. Аврутин С.В. Фрезерне дело, 1963
  7. Ачеркан Н.С. Металлорежущие верстати, Том 1, 1965
  8. Барбашов Ф.А. Фрезерне дело 1973
  9. Барбашов Ф.А. Фрезерные роботи (Профтехобразование), 1986
  10. Блюмберг В.А. Справочник фрезеровщика, 1984
  11. Григорьев С.П. Практика координатно-расточных і фрезерных работ, 1980
  12. Копылов Работа на фрезерных верстатах,1971
  13. Косовский В.Л. Справочник молодого фрезеровщика, 1992
  14. Кувшинский В.В. Фрезерование,1977
  15. Ничков А.Г. Фрезерные верстати (Библиотека станочника), 1977
  16. Пикус М.Ю. Справочник слесаря по ремонту металлорежущих верстатів, 1987
  17. Плотицын В.Г. Расчёты настроек і наладок фрезерных верстатів, 1969
  18. Плотицын В.Г. Наладка фрезерных верстатів,1975
  19. Рябов С.А. Современные фрезерные верстати і их оснастка, 2006
  20. Схиртладзе А.Г., Новиков В.Ю. Технологическое обладнання машиностроительных производств, 1980
  21. Тепинкичиев В.К. Металлорежущие верстати, 1973
  22. Чернов Н.Н. Металлорежущие верстати, 1988
  23. Френкель С.Ш. Справочник молодого фрезеровщика (3-е изд.) (Профтехобразование), 1978









Заказать

Если ежедневно работать по восемь часов в день, можно со временем стать начальником і работать по двенадцать часов в день.

Закон Мерфи