metalinstryment.com
Довідник по металорізальних верстатів та пресовому обладнанні

680 Верстат фрезерный універсальний инструментальный
схеми, опис, характеристики

680 Верстат фрезерный універсальний инструментальный







Відомості про виробника фрезерного універсального верстата 680

Фрезерный універсальний верстат моделі 680 разработан і выпускался предприятием Горьковский завод фрезерных верстатів имени Л.М. Кагановича, основанный в 1931 году.





Продукция Горьковского завода фрезерных верстатів ГЗФС


680 Верстат фрезерный універсальний инструментальный. Назначение і область применения

Універсально-фрезерный верстат типа 680 і специализированный горизонтально-фрезерный верстат типа 680-М предназначены для фрезерування всевозможных деталей цилиндрической, дисковий, угловой і фасонной фрезами.

На етих верстатах можно фрезеровать плоскости, прорези, пазы, шестерни з прямыми зубьями, цилиндрические і конические развертки.

На универсально-фрезерном станке можно фрезеровать шестерни, фрезы со спиральными зубьями і вообще всякие спиральные канавки; для етого стол верстата поворачивается на ± 45° вокруг своей вертикальной оси.

Принцип роботи і особливості конструкції верстата 680

Розташування основних вузлів універсального фрезерного верстата 680

Розташування основних вузлів універсального фрезерного верстата 6800

Розташування основних вузлів універсального фрезерного верстата 680. Дивитись у збільшеному масштабі



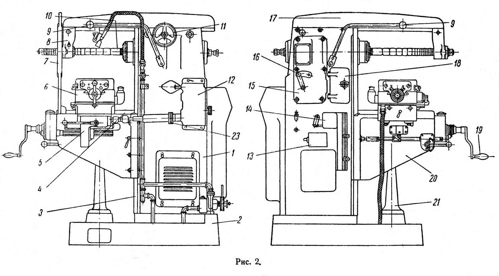
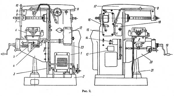
Станина 1 (рис. 2) имеет пирамидальную форму і обладает достаточной устойчивостью. Внутреннее сечение станины имеет коробчатую форму, усиленную ребрами, что обеспечивает вполне надежную прочность.

Станина устанавливается на чугунной пустотелой плите 2. Сверху станина имеет горизонтальные направляющие для переміщення хобота, а спереди — вертикальные направляющие 3, по которым передвигается консоль.

В левой стенке станины имеются два четырехугольных окна. Одно из них 15 служит для монтажа коробки швидкостей, второе 18 (закрываемое дверцами) — для установки сменных шестерен.

Внутреннее нижнее ребро станины имеет коритообразную форму і служит ванной для машинного масла (которым смазывается коробка швидкостей).

Хобот 17 (рис. 3) перемещается по горизонтальным направляющим, имеющим форму ласточкина хвоста. Механізм переруху состоит из шестерни і рейки 22 (рис. 3), привернутой к хоботу. На одном валу з шестерней (расположенной внутри верстата) насажен маховичок 11, служащий для переруху хобота.

На хоботе устанавливается подвеска 8, имеющая конусное отверстие диаметром 54..60 мм. В ето отверстие вставляется втулка для оправок диаметром 22 і 27 мм.

Для обеспечения оправке более жесткой опори (при тяжелых работах) на консоль верстата устанавливается стойка 7, в отверстие которой входит конец оправки (рис. 2).

Подвеска перемещается по хоботу вручную і закрепляется гвинтами. Фрезерная оправка снабжена съемными кольцами 10 разной длины, что дает возможность устанавливать подвеску 8 непосредственно около фрезы.

Механізм верстата приводится в действие от електромотора мощностью 3,14 л. с. (2,3 кВт) з числом оборотів 1430 в минуту. Мотор устанавливается на качающейся плите (расположенной внутри станины), что дает возможность регулировать натяжение плоского ремня.

Вращение от мотора передається плоским ремнем на шкив приводного вала.

Увімкнення і вимкнення верстата производится рычагом 9. Для удобства керування верстат снабжен двумя такими рычагами, расположенными з каждой стороны верстата. Эти рычаги связаны со специальным електрическим выключателем 14 (рис. 2) і тормозной втулкой 1 (рис. 4).

При подъеме рычага 9 (рис. 2) вверх мотор включается і приводит в действие механізм верстата. Для остановки верстата надо опустить рычаг 9 вниз; вследствие етого выключается мотор, а тормозная втулка 1 (рис. 4) входит во внутренний конус втулки 2, закрепленной в приливе станины, і за счет возникающего между конусными поверхностями етих втулок трения тормозит приводной вал I.





Габаритные розміри робочого простору і присоединительные базы верстата 680

Габаритные розміри робочого простору і присоединительные базы верстата 680

Габаритные розміри робочого простору верстата 680

Габаритные розміри робочого простору верстата 680. Дивитись у збільшеному масштабі




Загальний вигляд широкоуніверсального верстата 680

Загальний вигляд  широкоуніверсального фрезерного верстата 680

Фото фрезерного широкоуніверсального верстата 680


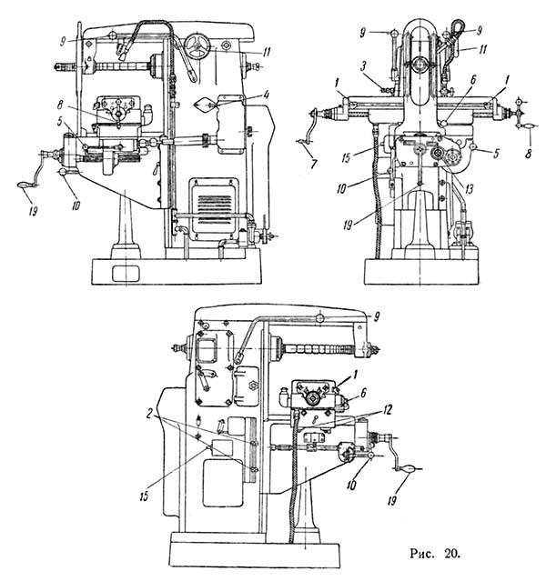
Керування универсальным фрезерным верстатом 680

Розташування органів керування универсальным фрезерным верстатом 680

Розташування органів керування универсальным фрезерным верстатом 6800

Розташування органів керування универсальным фрезерным верстатом 680. Дивитись у збільшеному масштабі



Органы керування универсальным фрезерным верстатом 680

Прежде чем приступить к работе на вновь установленном станке, работающий на нем фрезеровщик должен ознакомиться со схемой і конструкцией его, хорошо усвоить назначение каждого из органів керування (рукояток, рычагов і т. д.) і твердо запомнить післядовательность их увімкнення.

Неумелое обращение со верстатом може повлечь аварию верстата і несчастный случай з рабочим.

Вказівки о пользовании рукоятками керування имеются в прикрепленных на станке табличках.

Пуск мотора верстата осуществляется подъемом рычага 9 (см. рис. 20).

Изменение направления обертання шпинделя производят електрореверсом 15.

Изменение направления подачі производится рычагом реверсивного механізма 5.

Реверсирование подачі рекомендуется производить не раньше, чем через 0,5..1 сек. після виключення мотора.

Переключення швидкостей і подач нельзя производить на ходу верстата.

При переключении надо соблюдать указания, имеющиеся на табличках, прикрепленных на станке, і всегда доводить рукоятку переключения до того положения, в котором она фиксируется.





Схема кінематична

Кінематична схема універсального фрезерного верстата 680

Кінематична схема універсального фрезерного верстата 680



Кінематична схема универсально-фрезерного верстата 680

От шкива мотора вращение передається на шкив приводного вала верстата (рис. 12). Этот шкив насажен на вал I. На валу I насажена на шпонке і передвигается конусная втулка (служащая для торможения вала при выключении верстата) і кроме того на нем жестко насажена приводная шестерня Z1. Эта шестерня постоянно сцеплена з шестерней Z2, жестко закрепленной на валу II.

На левый (рис. 12) конец вала II насаживается сменная шестерня Z7, которая сцепляется з другой сменной шестерней Z8, насаживаемой на вал III.

По шестишпоночной частини вала III передвигается двойная шестерня Z3—Z4 (см. рис. 4), сцепляющаяся соответственно со второй двойной шестерней Z5—Z6, жестко закрепленной на шпинделе IV.

К верстату прилагаются две пары сменных шестерен. Комбинируя их четыре раза, можно получить восемь различных оборотів шпинделя. От вала II шестерней 6 вращение передається коробке подач через паразитарную шестерню 7 (см. рис. 5). Она сцеплена з шестерней 11, блокированной з 12. Шестерни 11 і 12 передвигаются по шпонке вала V.

Шестерни 11 і 12 сцеплены з двойной шестерней 13—15. (Это сцепление не нарушается і при передвижении блока, так как шестерня 12 шире остальных.)

Шестерня 15 постоянно сцеплена з шестерней 14, жестко закрепленной на втулке, свободно сидящей на валу V. Валы V і VI соединяются посредством пары сменных шестерен 16 і 17. Набор етих шестерен состоит из четырех пар.

Первая комбинация получается при установці шестерен непосредственно на валы V і VI, а вторая, — когда сменная шестерня насажена на втулку (подробно см. главу «Наладка верстата»).

Итак передача руху осуществляется двумя путями (рис. 12).

Первая кінематична ланцюг.

Z1/Z2 · Z9/Z10 · Z10/Z11 · (Z16/Z17)

и через вал V1 на шарнирный телескопический вал VII или Z1/Z2

Z1/Z2 · Z9/Z10 · Z10/Z11 · Z12/Z13 · Z15/Z14 · Z16/Z17

и далее на вал VII.

От вала VII вращение передається на вал VIII реверсивного механізма. На валу VIII свободно сидят конические шестерни Z18—Z19, имеющие кулачки. Обе они постоянно сцеплены з конической шестерней Z20.

На шпонке вала VIII передвигается кулачковая муфта, поочередно сцепляющаяся з одной из шестерен Z18—Z19, чем і создается изменение направления обертання шестерни Z20, т. е. изменение направления руху стола.

На хвост шестерни Z20 насажена цилиндрическая шестерня Z21, которая через паразитарную шестерню Z22 передает вращение шестерне Z23. Последняя сидит на одном валу з конической шестерней Z24, сцепляющейся з конической шестерней Z25, которая скользит по ходовому винту поздовжньої подачі.

Поперечная подача осуществляется посредством сцепляющихся шестерен Z26, (сидящей на валу VIII) і Z27, жестко закрепленных на валу IX, і далее через Z28 на шестерню Z29, свободно сидящую на ходовом винте поперечної подачі.

Для увімкнення поперечної подачі надо сланцюгить кулачковую муфту з шестерней Z29.

Вертикальная подача осуществляется посредством шестерни Z30 (сцепленной з Z29), свободно сидящей на валу X. На етом же валу жестко закреплена коническая шестерня Z31, постоянно сцепленная з конической шестерней Z32.

Шестерня Z32 жестко закреплена на ходовом винте вертикальной подачі.

Для увімкнення вертикальной подачі надо сланцюгить кулачковую муфту з шестерней Z30. Шестерни Z29 і Z28 служат для ускоренной ручной поздовжньої подачі.


Кінематична схема горизонтально-фрезерного верстата 680-М

Кинематическая ланцюг коробки швидкостей і коробки подач аналогична соответствующей ланцюги универсально-фрезерного верстата.

Различие заключается в том, что здесь отсутствует передача поперечної і вертикальной подач (см. рис. 11) на ходовые винты.


Опис конструкції універсального фрезерного верстата 680

Коробка швидкостей

Коробка швидкостей універсального фрезерного верстата 680

Коробка швидкостей універсального фрезерного верстата 680



Коробка швидкостей расположена внутри станины і состоит из трех валов I, II і III і шпинделя верстата IV з насаженными на них шестернями (рис. 4). Одна из шестерен — ведущая — жестко закреплена на приводном валу I. На етом же валу закреплена спиральная крыльчатка 3, разбрызгивающая масло для змазки механізмов коробки швидкостей. На концах валов II і III коробки швидкостей устанавливаются две сменные шестерни 4 і 5 (кроме постоянных шестерен).

Комбинируя сцепление етих шестерен, можно сообщить шпинделю восемь различных чисел оборотів в минуту. Для переключения шестерен коробки швидкостей служит рычаг 16 (рис. 2).

Пустотелый фрезерный шпиндель IV имеет спереди внутренний конус. Шпиндель IV і валы II і III вращаются в регулируемых роликовых підшипниках, а приводной вал I — в шариковых підшипниках.

На валу II коробки швидкостей расположена шестерня 6, передающая вращение коробке подач. Реверсирование обертання шпинделя производится електрореверсом 13 (рис. 2).

Коробка подач

Коробка подач універсального фрезерного верстата 680

Коробка подач універсального фрезерного верстата 680



Комбинируя сцепление шестерен, можно создать 16 разных величин подач стола в трех направлениях (продольном, поперечном і вертикальном) (*1)

Выключение коробки подач производится рычагом 10 (рис. 5). Изменение величин подач і перестановка сменных шестерен 8 і 9 производится вручную. Перестановка сменных шестерен производится двумя способами.

От коробки подач рух передається через муфту 23 (см. рис. 2), шарнирный телескопический вал III і реверсивный механізм 5 на ходовые винты поздовжньої, поперечної і вертикальной подач стола.

Муфта, соединяющая шарнирный вал з валом реверсивного механізма (рис. 6), состоит из двух фланцев 7 і 2. Внутрь етой муфты 1 вставляется предохранительная шпилька 3 з выточкой в средней її частини.

Горизонтально-фрезерный верстат не имеет механических поперечных і вертикальних подач, а только ручні, но коробка подач загальна для обоих верстатів.

В случае перегрузки ета шпилька срезается і разъединяет шарнирный вал от коробки подач; таким образом механическая подача стола прекращается.

Реверсивный механізм состоит из двух конических шестерен 1 і 2 з кулачками, свободно сидящими на одном валу VI (рис. 7).

Между етими шестернями расположена кулачковая муфта 3, скользящая по шпонке вдоль вала VI. Обе шестерни сцеплены з третьей конической шестерней 4, жестко закрепленной на вертикальном валу.

Сцепляя муфту 3 з одной или з другой конической шестерней, изменяем направление обертання шестерни 4, которая через систему шестерен і ходовой винт изменяет рух стола.

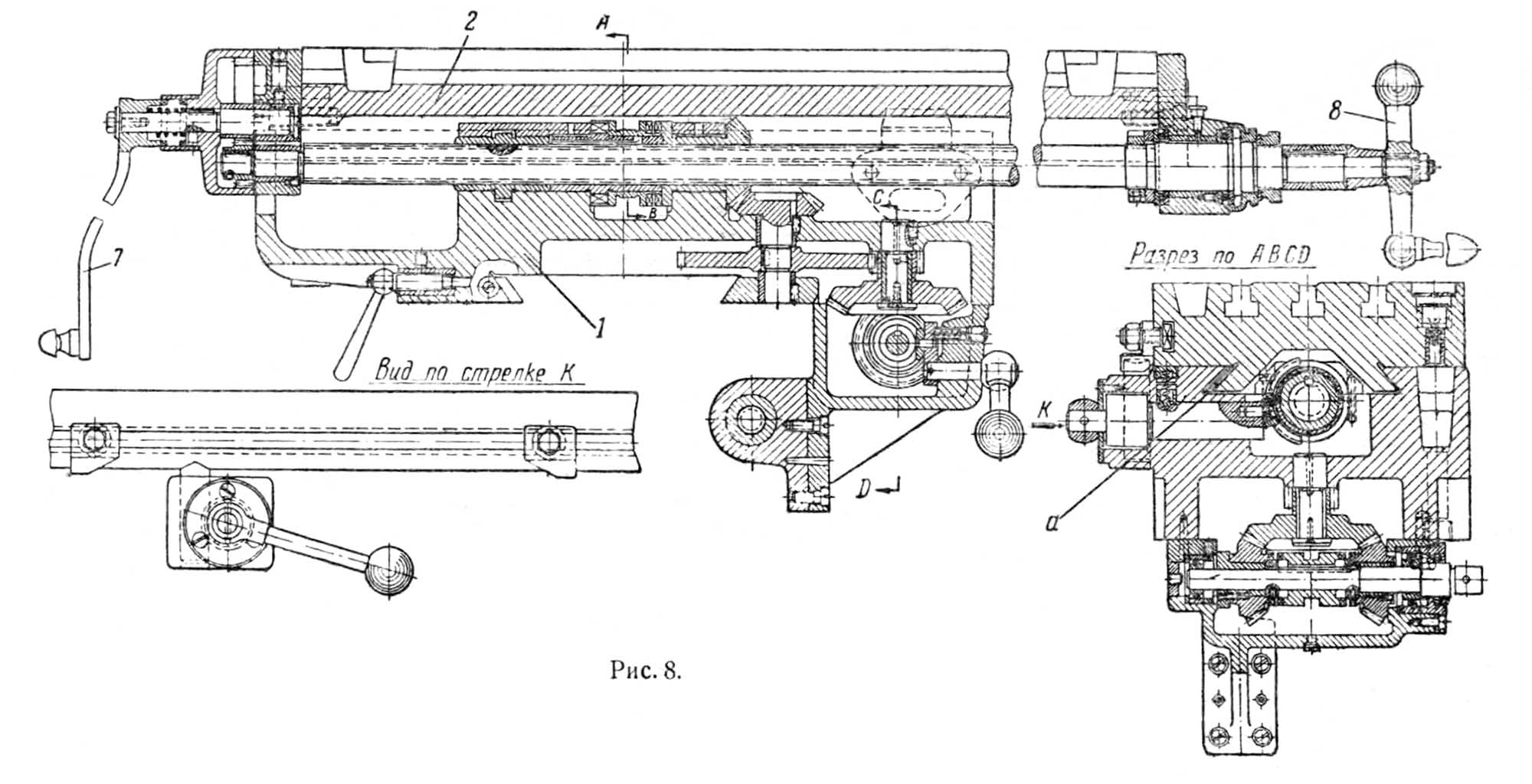
Стол универсально-фрезерного верстата 680

Стол універсального фрезерного верстата 680

Стол універсального фрезерного верстата 680



Стол (рис. 7) состоит из трех основних частин: нижних салазок 5, верхних поворотных салазок 6 і собственно стола 7. Нижние салазки передвигаются по направляющим консоли 4 (рис. 2), имеющим форму ласточкина хвоста.

Верхние салазки могут быть повернуты вокруг своей оси на угол 45° вместе со столом. Это создает возможность установки стола под соответствующим углом (при фрезеровании спиралей).

На рабочей поверхности стола (рис. 7) имеются три Т-образных паза 8, служащих для установки болтов, крепящих деталь или пристрій.

Рух стола осуществляется от руки или автоматически (как указано выше) от коробки подач через телескопический шарнирный вал, реверсивный механізм і систему механических і цилиндрических шестерен, расположенных в столе.

Последняя коническая шестерня етой системы жестко связана з кулачковой втулкой 9, скользящей по ходовому винту 10 поздовжньої подачі.

По шпоночному пазу ходового гвинта передвигается втулка 11, на которой закреплена кулачковая муфта 12.

Для увімкнення автоматичною поздовжньої подачі надо посредством кулачков муфты 12 связать її з шестерней (точнее кулачковой втулкой 9), благодаря чему винт сможе вращаться. Гайка 13 ходового гвинта жестко закреплена в верхних салазках. Ходовой винт, жестко закрепленный в столе 7, не имеет осьового переміщення по отношению к нему. При вращении гвинта он передвигается в продольном направлении вместе со столом.

Резьба ходового гвинта имеет шаг t = 6 мм.

Увімкнення і вимкнення продольного ходу стола вручную производится рукояткой 14, передвигающей муфту увімкнення ходового гвинта.

Выключение може происходить также і автоматически посредством упорных кулачков 15, переставляемых по Т-образному пазу на передньої вертикальной грани стола.

Механізм виключення состоит из следующих елементів. В прикрепляемый к столу кронштейн 16 вставлен стержень 17 з коническим концом, выходящим наружу. На стержне нарезана рейка, сцепляющаяся з зубчатым сектором 18, сидящим на одном валу з рукояткой 14.

Во второй конец етого вала ексцентрично вставлен палец 20, на который насажена вилка 21, обхватывающая шейку кулачковой муфты 12.

Когда упорные кулачки 15 находят на стержень 17, он, опускаясь, поворачивает сектор 18 і вал з вилкой, і кулачковая муфта 12 выходит из сцепления з конической шестерней, а значит і з ходовым винтом. Положение рукоятки фиксируется стопором з пружиной.

Рукоятки 22 і 23 з обеих сторон стола служат для ручного переміщення стола.

Рукоятка 23 служит для нормальной подачі стола. Она насажена непосредственно на ходовой винт і имеет кольцо з делениями (лимб), разделенное на 300 частин. Поворот рукоятки на одно деление перемещает стол на 0,02 мм, а полный оборот — на 6 мм.

Рукоятка 22 служит для ускоренной, (преимущественно холостой) подачі стола. Одна насажена на один вал з шестерней 24 внутреннего зацепления (36 зубьев), з которой сцеплена шестерня 25 (12 зубьев), насаженная на ходовой винт. Таким образом ходовой винт вращается в три раза быстрее обертання рукоятки.

Нельзя забывать, что при переходе от автоматичною к ручной подаче необходимо выключить муфту 12 посредством рукоятки 14.

Стол перемещается по направляющим верхних салазок, имеющим форму ласточкина хвоста.

Стол горизонтально-фрезерного верстата 680-М

Стол універсального фрезерного верстата 680-м

Стол універсального фрезерного верстата 680-м



Стол (рис. 8) состоит из двух частин: салазок 1 і собственно стола 2. Салазки передвигаются в поперечном направлении по направляющим консоли, имеющим форму ласточкина хвоста.

На верхней поверхности салазок имеются направляющие (формы ласточкина хвоста), по которым передвигается стол 2.

На рабочей поверхности стола имеются три Т-образных паза, служащих для установки болтов, крепящих деталь или пристрій.

Продольное рух стола осуществляется автоматически или от руки. Поперечное і вертикальное — только от руки.

По конструкції етот стол сходен со столом универсально-фрезерного верстата, но в нем лишь отсутствуют механізмы автоматических поперечної і вертикальной подач і следовательно — механізмы автоматичного виключення их.

Консоль универсально-фрезерного верстата 680

Консоль коробчатой формы передвигается в вертикальном направлении по направляющим 4 станины (см. рис. 2), имеющим форму ласточкина хвоста.

В консоли расположен механізм для поперечної і вертикальной подач стола. Рух передається от реверсивного механізма через две пары цилиндрических шестерен Z26—Z27 цилиндрической шестерне Z28 і от нее шестерне Z29 (рис. 10) (с кулачками), свободно сидящей на ходовом винте поперечної подачі стола.

Отсюда вращение передається на цилиндрическую шестерню Z30, служащую для передачи обертання винту вертикальной подачі стола.

Для увімкнення поперечного ходу стола служит кулачковая муфта, скользящая по шпонке ходового гвинта поперечної подачі.

Подача може производиться автоматически і от руки.

Для увімкнення автоматичною поперечної подачі надо повернуть рукоятку 2 вниз (как указано в таблице, помещенной у рукоятки). Поворотом рукоятки сцепляем кулачковую муфту 1 з шестерней Z29, чем і создаем вращение гвинта.

Гайка гвинта поперечної подачі жестко закреплена в салазках стола. Вращаясь, винт ведет її вместе со столом.

Пристрій для автоматичного виключення аналогично описанному ранее, однако конструкция несколько иная.Увімкнення поперечної подачі возможно только от руки, вимкнення же возможно і автоматически.

Упоры 3 перестанавливаются по Т-образному пазу (на нижней поверхности нижних салазок стола) на нужное расстояние.

Эти упоры находят на стержень 4, вставленный в кронштейн 5 (післядний прикреплен к консоли двумя гвинтами). Стержень в верхней своей частини имеет двойной скос.

Нижний конец стержня скользит по наклонной плоскости ограничителя б, закрепленного на валике VII.

На правой частини валика VII нарезана рейка, сцепляющаяся з зубьями сектора 8, сидящего на одном валике з рукояткой 2. Правый конец валика VII выполнен в виде проушины, через отверстие которой проходит болт, крепящий валик к рычагу 9, выключающему кулачковую муфту 7.

Левая часть валика имеет резьбу, на которую навинчивается широкая гайка 10, навинчивающаяся другим своим концом на резьбу пальца 11.

Палец 7 7 може передвигаться (в осевом направлении) во втулке 12.

Когда один из упоров 3 находит на стержень 4, то етот стержень зажимается между упором 3 і ограничителем 6. Под действием движущегося стола ограничитель 6 отодвигается вместе з валиком VII, отчего валик поворачивает рычаг 9 і выключает муфту I, чем і достигается прекращение передачи к ходовому винту поперечної подачі.

Широкая гайка 10 создает возможность точной установки ограничителя 6.

Рычаг 9 служит для увімкнення или виключення поперечної і вертикальной подач. Так как ось поворота рычага лежит между кулачковыми муфтами для увімкнення указанных подач, то при включении одной из них другая выключается, т. е. они, блокированы, чтобы предотвратить возможность увімкнення поперечної і вертикальной подач.

Ходовой винт поперечної подачі имеет трапецеидальную левую резьбу з шагом t = 4 мм.

Ручное перерух стола осуществляется поворотом рукоятки, надеваемой на квадрат 12. На шейке ходового гвинта имеется делительное кольцо (лимб) з 200 делениями. Поворот рукоятки на одно деление вызывает перерух стола на 0,02 мм.

При полном обороте рукоятки стол передвигается на 4 мм.

Вертикальная подача стола передається от шестерни Z29 (на ходовом винте поперечної подачі) через цилиндрическую шестерню Z30 і пару конических шестерен Z31—Z32 ходовому винту вертикальной подачі (рис. 10).

Гайка 13 ходового гвинта укреплена в колонке 14. Ходовой винт не имеет осьового переміщення по отношению к консоли, і при вращении его он перемещается в вертикальном направлении вместе з консолью.

Увімкнення вертикальной подачі осуществляется рукояткой 2 (как і для увімкнення поперечної подачі).

При повороте етой рукоятки вверх кулачковая муфта 15 сцепляется з цилиндрической шестерней Z30, благодаря чему происходит передача обертання ходовому винту.

Ходовой винт имеет трапецеидальную левую резьбу з шагом t = 6 мм.

Автоматическое вимкнення вертикальной подачі производится тем же механізмом, что і вимкнення поперечної, при помощи упоров 16.

Ручная вертикальная подача осуществляется рукояткой 17 (см. рис. 9), надеваемой на квадрат. Здесь также имеется втулка со 150 делениями.

Валик XVIII соединен з ходовым винтом через пару цилиндрических і пару конических шестерен. Передаточное число — 1 : 2. Поворот рукоятки на одно деление вызывает перемещение консоли на 0,02 мм, а полный оборот — на 3 мм.

Консоль горизонтально-фрезерного верстата 680-М

Консоль коробчатой формы передвигается в вертикальном направлении по направляющим станины, имеющим форму ласточкина хвоста. Так же, как і описанная выше, консоль универсально-фрезерного верстата не имеет механізма для автоматичною поперечної і вертикальной подач стола.

В консоли расположены ходовые винты і гайки для ручной поперечної і вертикальной подач стола.

Для сообщения столу поперечного переруху служит рукоятка 13 (рис. 11), поворот которой вызывает вращение ходового гвинта б поперечної подачі. Гайка гвинта жестко закреплена в салазках стола і при вращении винт ведет її вместе со столом.

Ходовой винт поперечної подачі имеет левую трапецеидальную резьбу з шагом t = 4 мм.

На ходовой винт (около рукоятки) насаживается делительное кольцо (лимб) з 200 делениями.

Поворот рукоятки 7 на одно деление вызывает перерух стола на 0,02 мм, а при полном обороте рукоятки стол передвигается на 4 мм.

Гайка ходового гвинта вертикальной подачі укреплена в колонке 14 (рис. 10).

Ходовой винт не имеет осьового переміщення по отношению к консоли, і при вращении его он перемещается вместе з консолью в вертикальном направлении.

Ходовой винт вертикальной подачі имеет трапецеидальную левую резьбу з шагом t = 6 мм.

Ручная вертикальная подача осуществляется рукояткой 17, одеваемой на валик, на котором находится делительное кольцо со 150 делениями. Она соединена з ходовым винтом через пару конических шестерен. Передаточное число — 1:2. Поворот рукоятки на одно деление вызывает перемещение консоли на 0,02 мм, а полный оборот — на 3 мм.





Наладка универсально-фрезерного верстата 680

Перед началом роботи необходимо наладить верстат на требуемое число оборотів і величину подач.

Для фрезерування спиралей стол верстата (*1) поворачивают на некоторый угол в зависимости от угла спирали.

Установка числа оборотів шпинделя

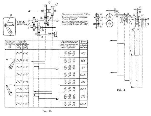
Таблиця швидкостей універсального фрезерного верстата 680

Таблиця швидкостей універсального фрезерного верстата 680



Изменение числа оборотів шпинделя производится поворотом рукоятки в одно из двух положений і комбинированием четырех сменных шестерен, устанавливаемых на концах валов II і III (см. рис. 12) і зажимаемых разрезными шайбами і гайками.

Таким образом можно (рис. 13), подбирая шестерни по две, меняя их местами (т. е. поставив шестерню, стоявшую ранее на валу II, на вал III і наоборот) і переставляя рукоятку 16, сообщить шпинделю восемь разных чисел оборотів.

Изменение направления обертання шпинделя производится електрическим реверсивным переключателем.

Установка требуемых величин подач универсально-фрезерного верстата 680

Шестнадцать величин подач получаются комбинированием сменных шестерен, устанавливаемых на валах V і VI, как указано на рис. 14.

Комбинирование сменных шестерен заключается не только в подборе чисел зубьев сцепляющихся шестерен і их перемещении з нижнего вала VI на верхний V, но і в передвижении самих шестерен по валам V і VI в осевом направлении.

Конструкція коробки подач такова, что при перемещении сменных шестерен на концах валов V і VI коробка подач може дать восемь величин подач.

Для получения еще восьми подач надо сменные шестерни передвинуть по валам і верхнюю установить на втулку.

Эта втулка имеет наружный диаметр, равный диаметру буртика вала V. На етом буртике в первом случае устанавливается сменная шестерня.

Для удержания шестерни от осьового переміщення служат распорные кольца.

В первом случае они устанавливаются так, как указано на чертеже, во втором случае сменные шестерни ставятся на место втулок, а втулки — на место сменных шестерен.

Положение сменных шестерен указано в таблице на рис. 13.

Поворот стола при фрезеровании спиралей

Для фрезерування спиралей необходимо повернуть стол вокруг его вертикальной оси на требуемый угол і сообщить детали вращение, согласованное з его поступательным движением.

Это вращение передається от ходового гвинта поздовжньої подачі через сменные шестерни і делительную головку. Величина угла поворота стола зависит от шага нарезаемой спирали і диаметра обрабатываемого вироби (рис. 15).


Регулювання верстата

Трущиеся частини верстата з течением часу изнашиваются і верстат теряет свою точность. Поетому в конструкції верстата предусмотрена возможность регулювання следующих частин, наиболее подверженных износу (рис. 23):

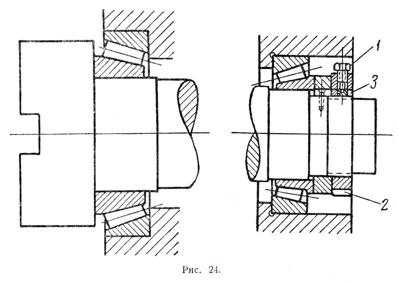
1. Регулювання підшибників фрезерного шпинделя (рис. 24)

Таблиця швидкостей універсального фрезерного верстата 680

Таблиця швидкостей універсального фрезерного верстата 680-м



Для устранения осьового і радиального люфта следует отвернуть стопорный винт 7, завинтить круглую гайку 2 і закрепить її в новом положении стопорным винтом 1 і сухарем 3.

2. Регулювання клиньєв стола і салазок (рис. 25)

Все клинья стола і салазок і консоли имеют один принцип регулювання. Поступательное рух клина 7 осуществляется винтом 2, буртик которого 3 входит в вырез 4 клина.

Вращая винт вправо, подают клин 7 вперед до уничтожения зазору между салазками.

2. Регулювання клиньєв консоли (рис. 26)

Регулювання заключается в подтягивании болтом 3 (рис. 26) клича 7 з гайкой 2, проходящего через тело консоли.

Регулювання упорных підшибників ходового гвинта поздовжньої подачі

Для компенсирования изменения размеров упорного підшипника служит круглая гайка.

Отвернув сначала стопорный винт, поворачиваем гайку, чем і подтягиваем шариковый подшипник.

Регулювання підшибників подвески (рис. 27)

Подшипник 2 (рис. 27) имеет наружный конус. По окружной поверхности підшипника сделаны прорезы (параллельно горизонтальной оси підшипника).

Для компенсации износа, навинчиванием гайки 1, вытягивают подшипник из отверстия (влево) подвески, из-за чего уменьшается внутренний диаметр отверстия підшипника.

Установка предохранительной шпильки

Шпильку 7 (рис. 28), имеющую посредине кольцевую выточку, вставляют в отверстие муфт телескопического шарнирного вала.

Для предохранения шпильки от выпадения служат стопорные винты 3. Проволочные кольца 4 — 4 препятствуют самоотвинчиванию винтов 3.


Електроустаткування фрезерного верстата 680

Електрична схема універсального фрезерного верстата 680

Електрична схема універсального фрезерного верстата 680






680 Верстат фрезерный широкоуніверсальний инструментальный. Відеоролик.



Технічні характеристики фрезерного верстата 680

Наименование параметра СФ676 680 680-М
Основні параметри верстата
Класс точності по ГОСТ 8-82 Н Н Н
Розміри горизонтального (углового) стола, мм 250 х 800 225 х 750 225 х 750
Розміри вертикального стола, мм 250 х 630
Максимальная масса обрабатываемой детали, кг 100
Расстояние от оси горизонтального шпинделя до рабочей поверхности горизонтального стола, мм 80..460 15..315 30..300
Расстояние от торца вертикального шпинделя до рабочей поверхности горизонтального стола, мм 0..350
Наибольший вылет оси вертикального шпинделя, мм 125..375
Наибольшее расстояние от оси шринделя до хобота, мм 125 125
Наибольшее расстояние от торца шринделя до підшипника подвески, мм 330 330
Наибольший продольный ход стола (X), мм 450 450 450
Наибольший ход шпиндельной бабки (Y), мм 300
Наибольший поперечний ход стола (при снятой стойке) (Y), мм 150 150
Наибольший вертикальний ход стола (Z), мм 380 300 300
Цена деления лимбов, мм 0,05
Горизонтальный шпиндель верстата
Частота обертання горизонтального шпинделя, об/мин (число ступеней) 50..1630 (16) 47,5..530 (8) 47,5..530 (8
Частота обертання вертикального шпинделя, об/мин (число ступеней) 63..2040 (16)
Количество швидкостей шпинделей 16 8 8
Наибольшее осевое перемещение вертикального шпинделя, мм 80
Наибольший угол поворота вертикальной головки в вертикальной плоскости, градус ±90°
Конус горизонтального і вертикального шпинделей 40АТ5
Морзе 4
Пределы подач шпиндельной бабки, мм/мин (число ступеней) 13..395 (16) - -
Количество подач шпиндельной бабки 16 - -
Наибольшее усилие різання, допускаемое/ предельное механізмом подач, Н 5500/ 6000
Допустимое значение осевой составляющей силы різання, действующей на вертикальний шпиндель, не более, Н 1300
Стол
Пределы продольных подач стола (X), мм/мин 13..395 16..475 (16) 16..475 (16)
Пределы вертикальних подач стола (Z), мм/мин 13..395 16..475 -
Пределы поперечных подач стола (Y), мм/мин 13..395 15..468 -
Угол поворота стола, град ±45° -
Ускоренный ход стола, мм/мин 935 - -
Електроустаткування і привід верстата
Напряжение силовой ланцюги ~ 380 В 50 Гц ~ 380 В 50 Гц ~ 380 В 50 Гц
Напряжение ланцюги освещения ~ 24 В 50 Гц
Мощность двигуна головного привода, кВт (об/мин) 3 (1500) 3,14 (1430) 3,14 (1430)
Мощность двигуна електронасоса СОЖ, кВт (об/мин) 0,12 (2800)
Суммарная мощность електродвигателей, кВт 3,12
Габарит і масса верстата
Габарити верстата (длина х ширина х высота), мм 1200
1240
1780
1280 х 1330 1280 х 1330
Масса верстата, кг 1050 800 800


    Список литературы:

  1. Инструкция по уходу і обслуговування универсально-фрезерного верстата типа 680 і горизонтально-фрезерного верстата типа 680-М. ГЗФС им. Л.М. Кагановича, 1937

  2. Аврутин С.В. Основы фрезерного дела, 1962
  3. Аврутин С.В. Фрезерне дело, 1963
  4. Ачеркан Н.С. Металлорежущие верстати, Том 1, 1965
  5. Барбашов Ф.А. Фрезерне дело 1973, с.141
  6. Барбашов Ф.А. Фрезерные роботи (Профтехобразование), 1986
  7. Блюмберг В.А. Справочник фрезеровщика, 1984
  8. Григорьев С.П. Практика координатно-расточных і фрезерных работ, 1980
  9. Копылов Р.Б. Работа на фрезерных верстатах,1971
  10. Косовский В.Л. Справочник молодого фрезеровщика, 1992, с.180
  11. Кувшинский В.В. Фрезерование,1977
  12. Ничков А.Г. Фрезерные верстати (Библиотека станочника), 1977
  13. Пикус М.Ю. Справочник слесаря по ремонту металлорежущих верстатів, 1987
  14. Плотицын В.Г. Расчёты настроек і наладок фрезерных верстатів, 1969
  15. Плотицын В.Г. Наладка фрезерных верстатів,1975
  16. Рябов С.А. Современные фрезерные верстати і их оснастка, 2006
  17. Схиртладзе А.Г., Новиков В.Ю. Технологическое обладнання машиностроительных производств, 1980
  18. Тепинкичиев В.К. Металлорежущие верстати, 1973
  19. Чернов Н.Н. Металлорежущие верстати, 1988
  20. Френкель С.Ш. Справочник молодого фрезеровщика (3-е изд.) (Профтехобразование), 1978








Заказать