metalinstryment.com
Довідник по металорізальних верстатів та пресовому обладнанні

615 Верстат консольно-фрезерный вертикальний
схеми, опис, характеристики

615 Загальний вигляд  консольного фрезерного верстата







Відомості про виробника консольно-фрезерного верстата 615

Консольно-фрезерный вертикальний верстат 615 разработан і выпускался предприятием Горьковский завод фрезерных верстатів имени Л.М. Кагановича, основанный в 1931 году.





Продукция Горьковского завода фрезерных верстатів ГЗФС


615 вертикальний консольно-фрезерный верстат універсальний. Назначение, область применения

Серийный консольно-фрезерный верстат 615 производился з 1937 года. И был заменен на более совершенную модель 6Н12П і 6Н13.

Вертикально-фрезерный верстат типа 615 предназначен для обробки плоскостей, канавок і фасонных поверхностей изделий, укрепляемых непосредственно на столе или з применением различного рода пристосувань.

На вертикально-фрезерном станке 615 выполняются наступні операции:

  1. Осевое плоское фрезерование (образование плоских поверхностей, параллельных оси обертання фрезы).
  2. Торцевое плоское фрезерование (образование плоских поверхностей, перпендикулярных к оси обертання фрезы).
  3. Угловое фрезерование (образование плоских поверхностей, расположенных под различными углами к оси обертання фрезы).
  4. Фрезерование фасонных поверхностей (образование криволинейных поверхностей).
  5. Фрезерование канавок (различного сечения на плоских і цилиндрических или конических поверхностях).
  6. Верстат целесообразно применять на разнообразных работах для експлуатации всех его швидкостей і подач.

Опис конструкції верстата

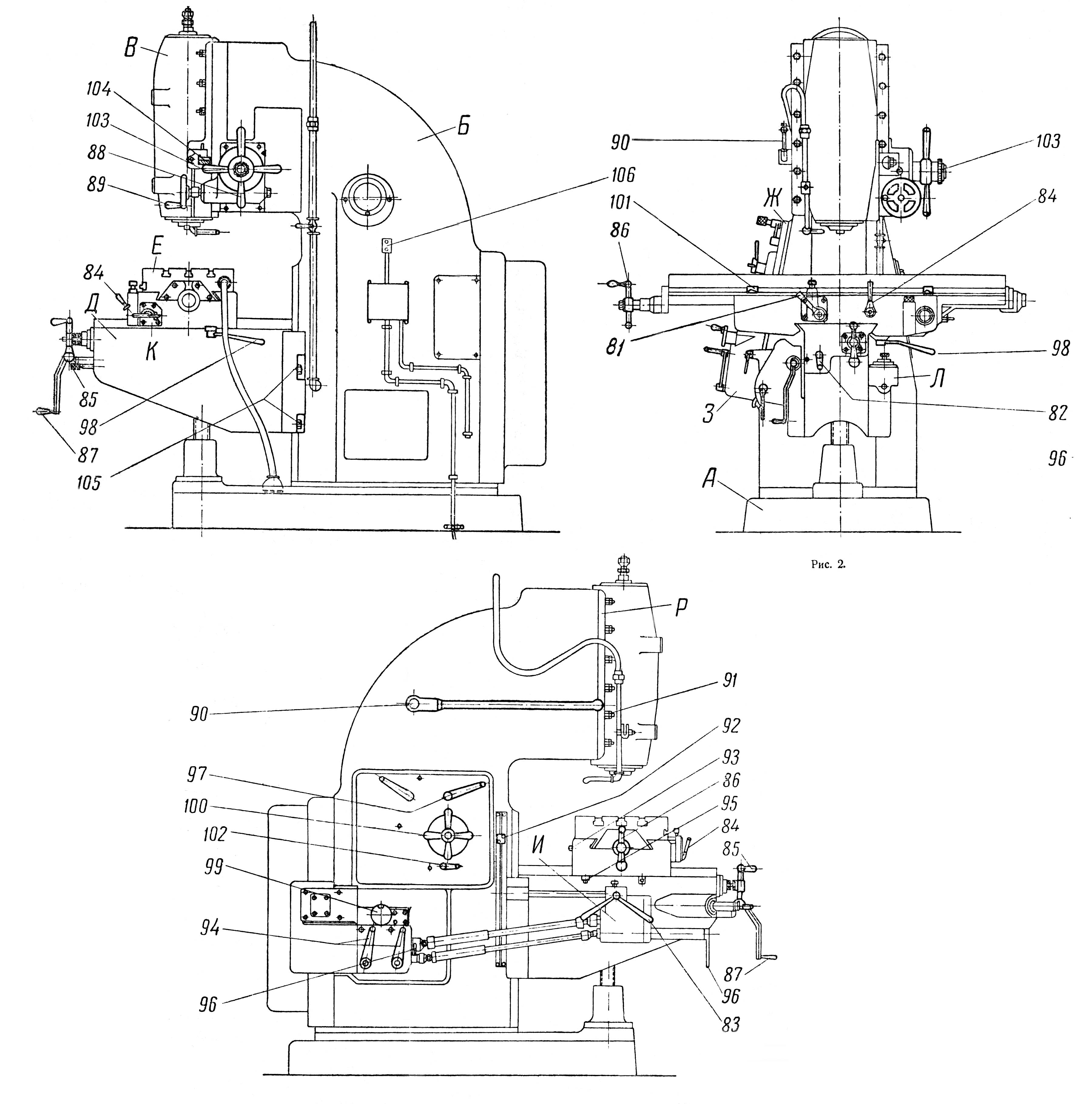
Верстат состоит из следующих основних вузлів (рис. 2): плиты А, станины коробчатого сечения Б, шпиндельных салазок В, консоли Д, робочого стола Е, коробки швидкостей Ж, коробки подач 3 і коробки реверса И. Продольный разрез верстата дан на рис. 3.

Станина монтируется на плите своей нижней обработанной плоскостью. Салазки, в которых смонтирован шпиндель, несущий режущий инструмент, можно перемещать вручную в вертикальном направлении по шаброванным направляющим, имеющимся в верхней частини станины.

Консоль монтируется в передньої частини станины і може перемещаться в вертикальном направлении по направляющим станины.

Рабочий стол, получающий продольное перемещение, монтируется на поперечных салазках. Последние монтируются на консоли і могут перемещаться в поперечном направлении по направляющим, имеющимся в верхней частини консоли.

Верстат имеет 16 швидкостей шпинделя, 16 подач в продольном, поперечном і вертикальном направлениях і ускоренный ход стола в тех же направлениях.

Верстат приводится в рух от мотора (рис. 3), установленного внутри нижней частини станины на качающейся плите.


Фрезерный вертикальний консольно-фрезерный верстат 615

Фрезерный вертикальний консольно-фрезерный верстат 615

Фрезерный вертикальний консольно-фрезерный верстат 615. Дивитись у збільшеному масштабі



Мотор включают і выключают нажатием на кнопки «пуск» или «стоп». От вала мотора при помощи шкива і клиновидных ремней рух передається через механізм фрікциону главному валу (валу фрікциону), делающему 600 об/мин. Вал фрікциону через коробку швидкостей і систему цилиндрических і конических шестерен передает рух шпинделю і кроме того через коробку подач (см. рис. 2), вал з шарнирами Гука, коробку реверса і систему шестерен, смонтированных внутри консоли, передает рух столу в трех направлениях.

Для змазки трущихся частин верстата имеется масляный насос 79 (рис. 4), приводимый в рух при помощи шестерен от головного вала, і два плунжерных насоса, приводимых от руки, из которых насос К (рис. 2) служит для змазки стола, а насос Л — для змазки консоли. Помимо етих насосов имеется ряд масленок, осуществляющих смазку підшибників і других трущихся частин.

Для охлаждения инструмента имеется шестеренчатый насос 81 (рис. 4), приводимый в рух от шкива мотора при помощи круглого ремня.

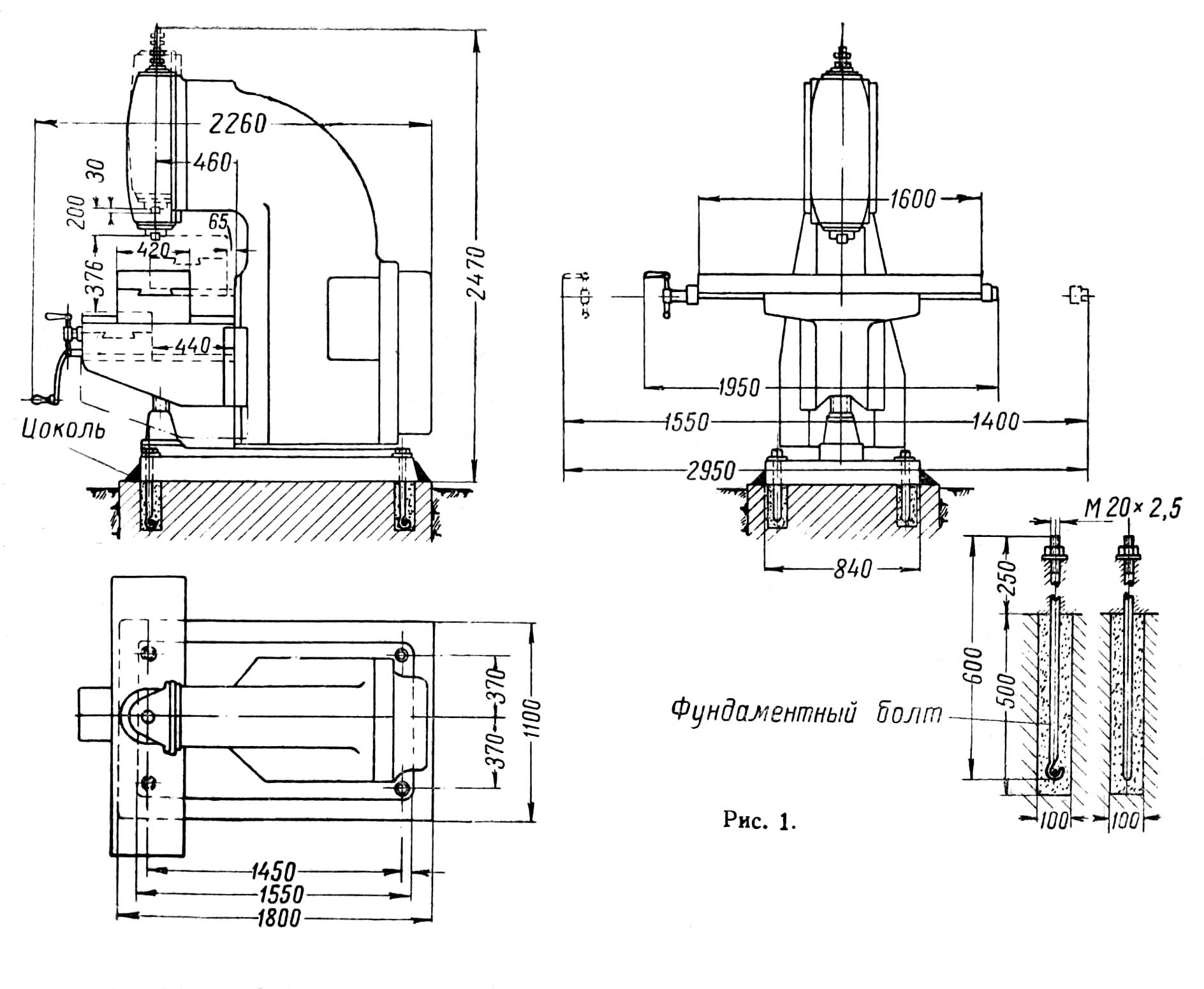
Габаритные розміри робочого простору консольно-фрезерного верстата 615

Габаритные розміри робочого простору консольно-фрезерного верстата 615

Габаритные розміри робочого простору фрезерного верстата 615

Габаритные розміри робочого простору консольно-фрезерного верстата 615. Дивитись у збільшеному масштабі



Розташування складових частин і органів керування консольно-фрезерным верстатом 615

615 Розташування складових частин і органів керування консольно-фрезерного верстата

Розташування складових частин і органів керування верстатом 615

Розташування складових частин і органів керування консольно-фрезерным верстатом 615. Дивитись у збільшеному масштабі



Список складових частин і органів керування консольно-фрезерного верстата 615




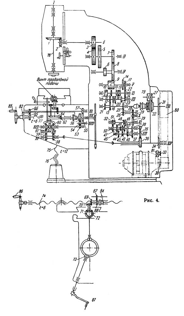
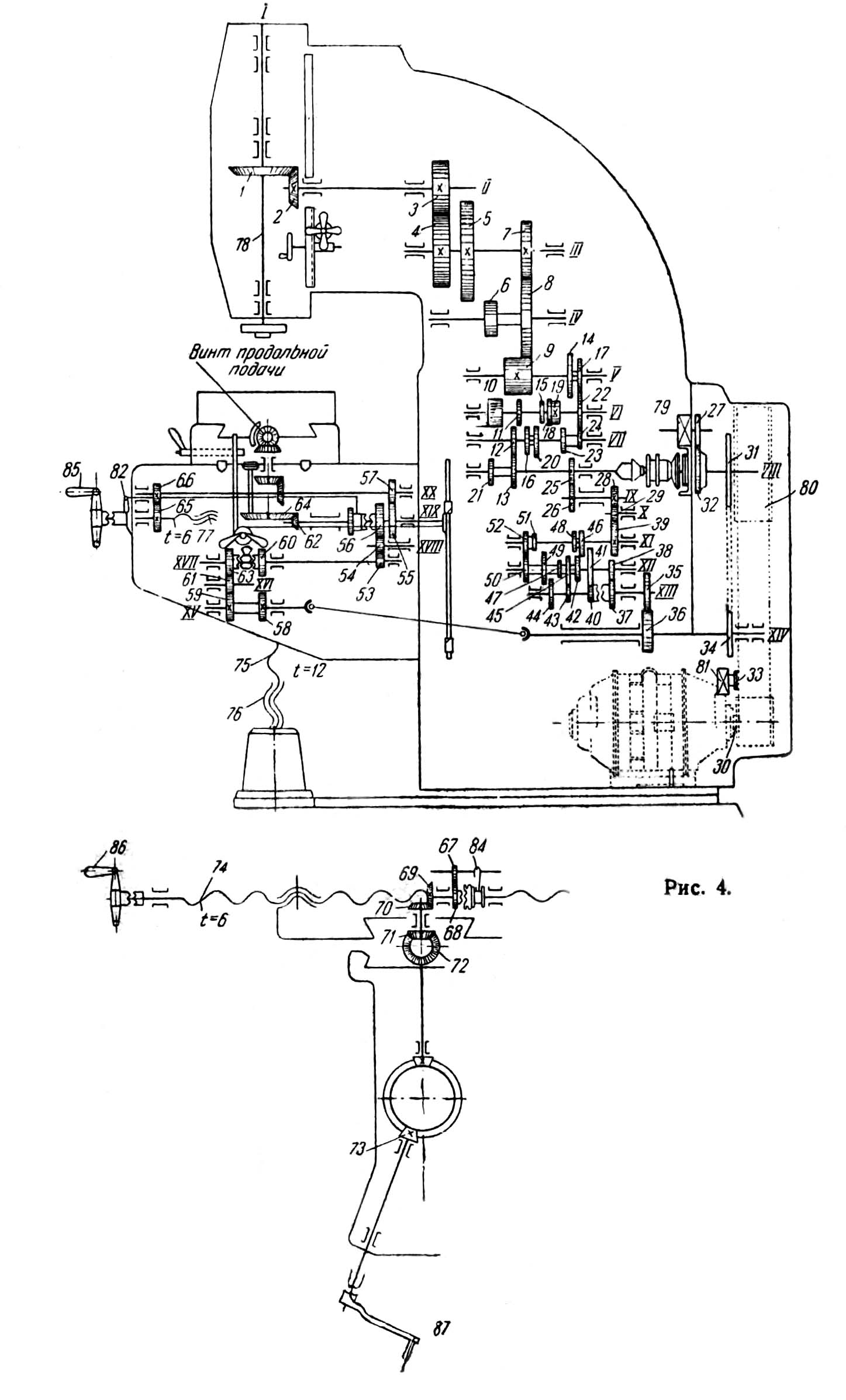
Схема кінематична консольно-фрезерного верстата 615

615 Схема кінематична консольно-фрезерного верстата

Кінематична схема консольно-фрезерного верстата 615

Схема кінематична консольно-фрезерного верстата 615. Дивитись у збільшеному масштабі



Рух от мотора передається при помощи шкивов і клиновидных ремней валу VIII фрікциону (рис. 4). От вала фрікциону рух разветвляется на два.

Одно из них передається фрезерному шпинделю через коробку швидкостей (валы VII, VI і V) і далее через системы цилиндрических шестерен, находящихся в станине верстата, і пару конических шестерен. Другое рух передається столу через коробку подач (валы XI, XII і XIII), коробку реверса, предназначенную для изменения направления ходу стола, і далее через системы цилиндрических і конических шестерен.

Для осуществления руху фрезерного шпинделя на валу коробки швидкостей VIII закреплена двойная шестерня 13 і 21. Правая часть, т. е. шестерня 13 сцепляется непосредственно з шестерней 12, насаженной на валу VII. При етом сцеплении вращение шпинделя направлено в правую сторону. Для обертання шпинделя в обратную сторону необходимо шестерню 12 сланцюгить з паразитной шестерней 10, свободно сидящей на валу VII і постоянно сцепленной з левой шестерней 21 вала VIII. Вал VII при помощи паразитной шестерни 10 получает таким образом обратное вращение. Вал VII посредством любой из сидящих на нем і передвигаемых по шпонкам шестерен 16, 20, 23 і 24 приводит во вращение вал VI при помощи закрепленных на нем шестерен 22, 18, 15 і 11 (сцепляться могут попарно шестерни 16 і 11; 20 і 15; 23 і 18; 24 і 22).

С вала VI на вал V рух передається при помощи шестерен 22—19 і 17—14. Сцепляться могут шестерни 19 і 14 или 22 і 17, для чего шестерни 17 і 14 вала V передвигаются. Далее посредством шестерни 9, закрепленной на валу V, рух передається валу IV при помощи сидящей на нем шестерни 8. На валу IV на одной втулке сидят шестерни 8 і 6, из которых каждая приводит во вращение вал III путем сцепления шестерни 6 или 8 вала IV з шестерней 5 или 7, закрепленных на валу III. На післяднем, кроме того, закреплена шестерня 4, сцепляющаяся з шестерней 3, сидящей на валу II. На другом кінці післяднего находится коническая шестерня 2, приводящая в рух коническую шестерню 1, сидящую на шпинделе.

Механізм переруху стола получает вращение следующим образом. От вала VII (шестерни 25) через закрепленные на валах IX, X, XI шестерни 26, 28, 29 і 39 вращение передається многошпоночному валу XI. На післяднем сидят передвижные шестерни 46, 48, 51 і 52, сцепляющиеся попеременно з шестернями 42, 45, 49, 50, закрепленными на общей втулке, свободно вращающейся на валу XII. Далее рух передається свободно сидящей втулке вала XIII з шестернями 40, 43, 44 путем сцепления шестерен 45 з 43 или 47 з 44. Таким образом втулка вала XIII получает восемь швидкостей обертання і передает их валу XIII непосредственно путем увімкнення кулачковой муфты шестерни 37, сидящей на валу на шпонке. Выключая муфту і включая шестерни 37 і 38, получаем еще восемь швидкостей обертання вала посредством шестерен перебора 40—41 і 38—37.

Через шестерни 35—36 і шарниры Гука рух передається валу XV коробки реверса. Рух може быть передано или путем сцепления шестерен 58 і 60 или при помощи шестерни 63 через паразитки 61; таким образом достигается перемена направления обертання. Переключення осуществляется кулачковой муфтой, сидящей на шпонке на валу XVII (при помощи рукоятки 83, см. рис. 2).

Рух валу XIX передається через шестерни 53, 54 і 56. Вертикальное перемещение стола осуществляется коническими шестернями 62 і 64. Последняя сидит на ходовом винте вертикальной подачі.

Поперечное перемещение стола осуществляется при помощи шестерен 55 і 57 з вала XIX на вал XX і шестерней 66 вала XX на шестерню 65, сидящую на винте поперечної подачі. Выключение вертикальной і поперечної подачі осуществляется рукояткой 82 і муфтой вала XIX і вала XX (подробно см. ниже). Продольное перемещение стола осуществляется через конические шестерни 72 вала XX, шестерню 71 і шестерни 70 і 69. Последняя сидит на винте поздовжньої подачі. Увімкнення достигается рукояткой 84 і муфтой.

Ручное перемещение стола в поперечном і продольном направлениях достигается вращением соответствующих винтов подач рукоятками 85 і 86, а в вертикальном направлении — путем обертання рукоятки 87 через коническую шестерню 73.

Насос 79 (рис. 4) для змазки приводится во вращение непосредственно от вала фрікциону VIII через шестерни 32 і 27, а насос для охлаждения 81 — от вала мотора через шкивы 30 і 33 і круглый ремень. Через цепную шестерню 31, ланцюг і звездочку 34 приводится в рух фрикцион ускоренного ходу стола.

В табл. 1 дана спецификация шестерен і деталей, при помощи которых осуществляется рух шпинделя стола і насосов.

Шестерни коробок швидкостей і подач і др. имеют номера, проставленные в кінематичної схеме (рис. 4).

Прямой і обратный ход шпинделя осуществляется при помощи увімкнення шестерни 72 з паразиткой 10. Для етого служит рукоятка 702 (см. рис. 2), расположенная на крышке коробки швидкостей, укрепленной сбоку верстата. Направление обертання шпинделя при том или ином положении рукоятки показано в схеме.

Шестерня 68, сидящая на ходовом винте поздовжньої подачі (рис. 4), предназначена для приводу круглого стола (см. опис круглого стола).


Опис конструкції основних вузлів фрезерного верстата 615

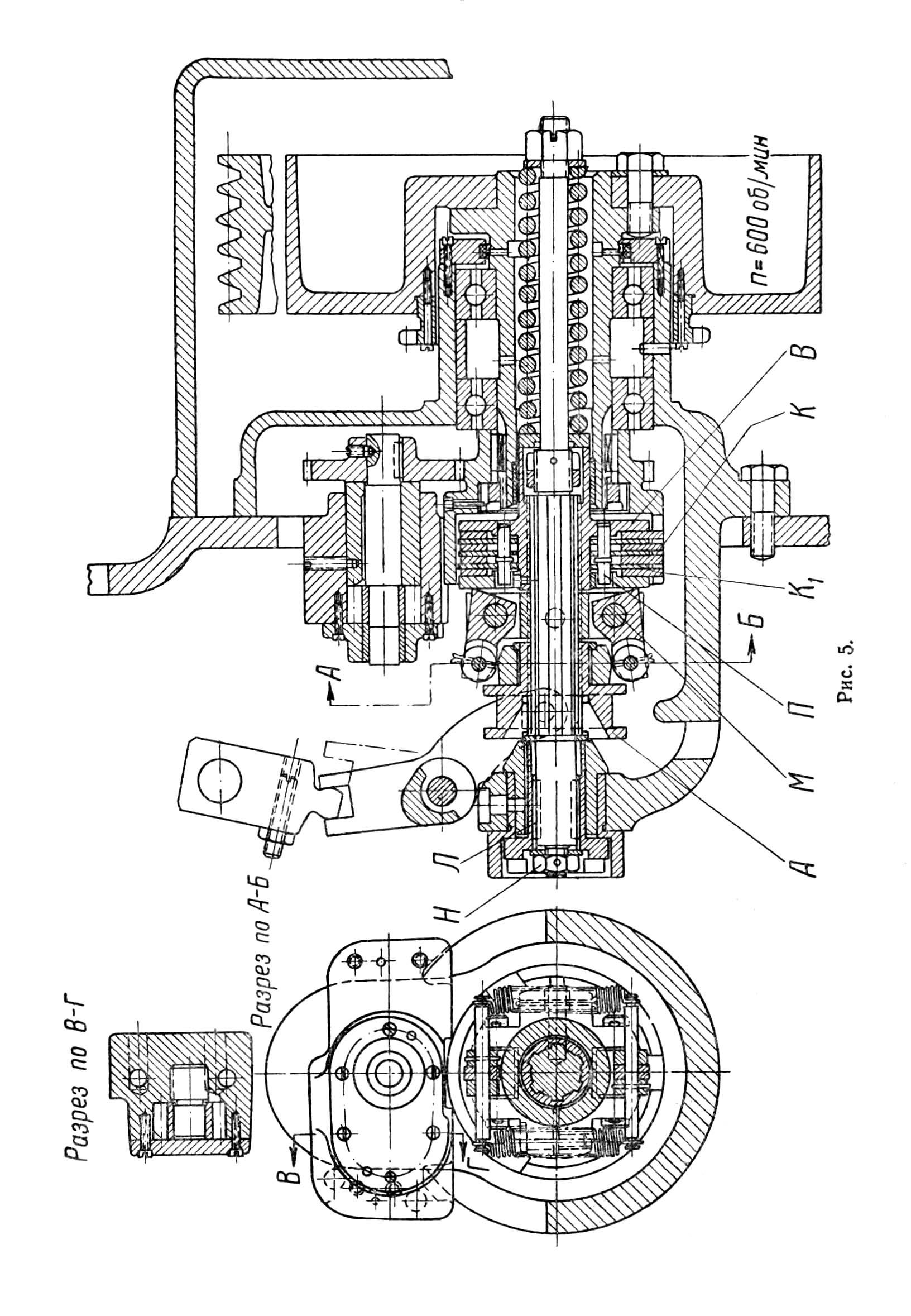
Фрикцион

Фрикцион консольно-фрезерного верстата 615

Фрикцион консольно-фрезерного верстата 615

Фрикцион консольно-фрезерного верстата 615. Дивитись у збільшеному масштабі



Фрикцион получает рух от мотора і предназначен для приведения верстата в действие.

Фрикцион монтируется внутри станины і состоит из вращающихся в масле дисков: ведущих К і ведомых К1 (рис. 5).

Диски K1 насажены на штифты П, укрепленные во втулке В, которая сидит на шестишпоночной частини валика фрікциону. Для приведения во вращение втулки В необходимо создать трение между дисками К і К1. Для етого служат кулачки М, прижимаемые к дискам муфтой увімкнення А.

Втулка В, насаженная на шестишпоночной частини фрікциону, приводит післядний во вращение. На валу фрікциону, на левом его кінці, насажена двухкулачковая муфта Н, з которой соединяется другая половина (на рисунке она не показана) кулачковой муфты, насаженной на валу коробки швидкостей.

При выключении фрікциону кулачки М при помощи двух пружин отжимаются от дисков; одновременно происходит торможение фрікциону благодаря тому, что муфта А надвигается (влево) на конусную втулку Л, нерухомо укрепленную в корпусе фрікциону.

Увімкнення і вимкнення фрікциону производится при помощи рукоятки 90 (см. рис. 2), расположенной сбоку станины і системы рычагов, показанных на рис. 6.

Коробка швидкостей

Коробка швидкостей консольно-фрезерного верстата 615

Коробка швидкостей консольно-фрезерного верстата 615

Коробка швидкостей консольно-фрезерного верстата 615. Дивитись у збільшеному масштабі



Коробка швидкостей представляет собой самостоятельный узел, укрепленный на станине з левой стороны. Механізм коробки получает рух через фрикцион. При помощи механізма коробки подач і шестерен, сидящих на валиках, смонтированных внутри станины, фрезерный шпиндель получает 16 различных швидкостей (от 16 до 420 об/мин.). Валики коробки швидкостей, изготовленные из хромоникелевой стали, вращаются в конических роликопідшипниках і обильно смазываются маслом при работе верстата.

Для изменения швидкостей (чисел оборотів) шпинделя передвигаются шестерни по многошпоночным валикам V і VII (рис. 7), причем шестерня 9 закреплена на валу V наглухо.

На валу VIII коробки швидкостей сидит шестерня 1 для приводу коробки подач і двойная шестерня 2 для изменения направления обертання шпинделя. Для етого, т. е. для обертання шпинделя в одну сторону, шестерню 3, сидящую на валу VII, передвигают для сцепления з паразитной шестерней 4, свободно вращающейся на валу VI і постоянно сцепляющейся з шестерней 2. Таким образом в одном случае (как показано на рис. 7) для обертання шпинделя в одну сторону левая шестерня 2 вала коробки швидкостей непосредственно сообщает вращение валу VII, а в другом, т. е. для обертання шпинделя в обратную сторону, правая шестерня 2 при помощи передвижной шестерни 3 сообщает валу VII вращение через паразитную шестерню 4.

Вращение шпинделя вправо і влево при помощи переруху шестерни 3 осуществляется рычагом 702 (рис. 8).

Для переключения шестерен з целью получения различных швидкостей служат две рукоятки 97 і крестовина 100 (рис. 8). На етой крестовине имеется стрелка, которая является указателем числа оборотів шпинделя.

При переключении шестерен необходимо сначала выключить фрикцион рычагом 90 (см. рис. 2), как указано на рис. 8, а затем повертывать крестовину і обе рукоятки.

Для того чтобы получить желаемую скорость обертання шпинделя (число оборотів в минуту), поворачивают крестовину 700, причем указатель (стрелка), имеющийся на крестовине (рис. 8), должен быть обращен в.ту сторону, где цифрами указывается нужное число оборотів; затем обе рукоятки переключают на те буквы, которые отмечаются указателем крестовины. Например, если желательно получить 220 оборотів шпинделя в минуту, крестовину поворачивают настолько, чтобы стрелка его попала на цифру 220, рукоятку, расположенную выше влево от маховичка, ставят на букву Г, а рукоятку, расположенную вправо, — на букву Б, как показано на рис. 8.

Шпиндель верстата і его салазки

Шпиндель верстата і его салазки консольно-фрезерного верстата 615

Шпиндель верстата і его салазки консольно-фрезерного верстата 615

Шпиндель верстата і его салазки консольно-фрезерного верстата 615. Дивитись у збільшеному масштабі



Шпиндель верстата, изготовленный из высококачественной стали, вращается в трех парах конических роликопідшибників, тщательно отрегулированных при монтаже. Шпиндель з підшипниками, смонтированными в салазках С, може перемещаться в вертикальном направлении (рис. 9). Наибольшая величина переміщення — 200 мм.

Для направления салазок к станине крепятся гвинтами 91 планки Р.

Салазки передвигаются вручную крестовиной 7 (рис. 9), насаженной на втулке 3. Эта втулка при помощи муфты 70 сцепляется з муфтой 4 червячного колеса 5, кроме того втулка сидит на шпонке на валике б, оканчивающемся на левом кінці шестеренкой, сцепляющейся з рейкой 7; післядняя укреплена в салазках шпинделя.

Для ручного подъема і опускания салазок необходимо оттянуть к себе втулку 3, затем поворачиванием гайки 2 расцепляют її з червячным колесом 5; після етого, поворачивая крестовину 1 в ту или иную сторону, осуществляют быстрое перемещение салазок.

Кроме того салазки можно перемещать еще маховичком 8, снабженным делительным кольцом 9, при помощи которого салазки можно перемещать з точностью до 0,25 мм, соответствующей одному делению делительного кольца. Для етого нужно гайкой 2, сидящей на валике 6, сланцюгить кулачковую муфту 10 з муфтой 4 червячного колеса 5, а затем вращать маховичком 8 валик з червяком 11, червячное колесо 5 і валик б.

Таким образом при помощи рейки 7 производится перемещение салазок вверх і вниз.

Перемещение салазок можно ограничить посредством перестановки ограничителя 111. Ограничитель представляет собой винт, передвигающийся вдоль своей вертикальной оси на нужную высоту при повороте нониусной гайки 110. Ограничитель і гайка передвигаются вместе з салазками, когда салазки доходят до установленного уровня, ограничитель 111 упирается в бобышку У і не дает салазкам опускаться ниже.

Для уравновешивания салазок і устранения мертвого ходу, возникающего при их перемещении вверх і вниз, имеется груз Г (см. рис.3), подвешенный к канату, перекинутому через ролик Р і намотанному на барабане 12 (рис. 9), насаженном на валике 6.

Коробка подач

Коробка подач, сообщающая столу 16 различных подач в трех направлениях, крепится з левой стороны станины і приводится в рух от шестерни, сидящей на валу коробки швидкостей.

Коробка подач состоит из валиков XI, XII і XIII (из них валик XI— шестишпоночный з насаженными на них шестернями (рис. 10). Механізм коробки подач приводит во вращение вал 7 при помощи шестерни 6 і храповика.

Вал 7 через шарнирный вал передает рух коробке реверса, укрепленной на консоли, і далее механізму переміщення стола.

Все валики коробки подач вращаются в підшипниках ковзання, обильно смазываемых маслом.

Для переключения подач служат две рукоятки 94 і маховичок 99 (см. рис. 2 і 11). При переключении маховичок необходимо отодвинуть до отказа в осевом направлении от себя или выдвинуть к себе, повернуть его по часовий стрелке или против нее і затем повернуть рукоятки 94 вправо или влево для получения нужной подачі. Изменение направления подач осуществляется рукояткой 88 (см. рис. 2), расположенной на коробке реверса.

Предохранительный механізм і фрикцион ускоренного ходу

Для предохранения верстата от перегрузки имеется предохранительный механізм, состоящий в следующем. На втулке 8. валика 7 (рис. 10), сидит шестерня 6, получающая вращение от шестерни 5 коробки подач. Шестерня 6 несет на себе собачку К, которая сцепляется з зубцами храповика конусной втулки 9. Эта втулка своим внутренним конусом насажена на конусную втулку 10, которая посажена непосредственно на многошпоночную часть валика 7. В случае перегрузки, т. е. при усилии подачі, превышающем силу трения между обеими втулками, получается провертывание втулки 9 (по отношению втулки 10), і рух валика прекращается. Гайка 11 служит для затягивания конусов втулок на определенное усилие.

Поворотом собачки К шестерня 6 выводится из зацепления з храповичком втулки 9 і вал 7 получает вращение только от фрікциону ускоренного ходу. Так как післядний получает вращение непосредственно от приводу верстата, то включить ускоренный ход можно как при выключенном фрикционе приводу верстата, так і при включенном. Ускоренный ход включается поворотом рукоятки 96 (см. рис. 2), при опускании її он выключается.

Кроме етого на левом кінці валика 7 сидит дисковый фрикцион ускоренного ходу стола, включаемый вручную (рукояткой 96, см. рис. 2).

Фрикцион ускоренного ходу стола получает вращение при помощи цепной шестерни 12 (рис. 10) непосредственно от приводу верстата. Шестерня 12 имеет з одной стороны выточку а, на внутренней поверхности которой имеются продольные выступы б. На ети выступы находят своими пазами шесть ведущих стальных дисков 1 фрікциону. Ведомые диски 2 (пять штук) насажены на шестишпоночную втулку 3, сидящую на многошпоночной частини вала.

Диски зажаты между двумя кольцами 13, правое из них подвижное. С правым кольцом 13 соприкасаются четыре кулачка 14, закрепленные на осях в крестовине 75: Крестовина навинчивается на втулку 3 і удерживается от самоотвинчивания индексом 16.

Автоматическое вимкнення ускоренного ходу осуществляется при помощи тех же упоров і рычагов, которыми выключается нормальная подача (подробно см. «Рабочий стол»).

Консоль

Консоль, на которой монтируется рабочий стол, перемещается по шаброванным направляющим станины, имеющим вигляд ласточкина хвоста (рис. 12). Регулювання осуществляется косым клином 1. В консоли смонтированы механізмы для подач стола в вертикальном і поперечном направлениях. Вертикальная подача осуществляется следующим образом: от шарнирного вала вращение передається шестерне (двойной) 2 (рис. 13), сидящей на валу 3, далее шестерням 18—19 вала 4, затем при помощи шестерен 5, 6 і 8— валику 9; на кінці післяднего насажена коническая шестерня 10, сцепляющаяся з другой конической шестерней 11, приводящей во вращение ходовой винт вертикальной подачі. На том же валике 9 сидит другая шестерня 12, которая приводит во вращение шестерню 13, сидящую на валу 14. На другом кінці етого вала сидит шестерня 15, приводящая во вращение ходовой винт 17 поперечної подачі посредством шестерни 16. При помощи гайки, укрепленной в салазках стола, післядние получают перемещение.

Шестерня 2 — двойная; левая часть її сцепляется непосредственно з шестерней 18, а другая (правая) сцепляется з шестерней 19 через паразитку 40. Благодаря етому получается обратный ход при продольных, вертикальних і поперечных подачах стола.

Реверсирование ходу стола осуществляется путем переміщення кулачковой муфты 20 (рис. 13), передвигаемой посредством рукоятки 83 (рис. 12).

Для увімкнення і виключення вертикального ходу стола служит кулачковая муфта 22 (рис. 13), а переднего ходу — кулачковая муфта 23. Обе муфты блокированы таким образом, что при включении одной муфты другая выключается, так что одновременно вертикальний і поперечний ходы стола невозможны. Блокировка обеих муфт осуществляется при помощи двух вилок 24 і 25, перемещающихся вдоль оси 26 (рис. 12). Перемещение рычага і увімкнення подач (вертикальной і поперечної) производится вручную рукояткой 82 согласно указателям на станке.

Стол може двигаться в поперечном і вертикальном направлениях не только автоматически, но і от руки. Для ручного поперечного руху стола служит рукоятка 85 (рис. 12) з делительным кольцом, имеющим 120 делений. При повороте на 1 деление стол продвигается на 0,05 мм. Для ручного вертикального руху стола служит рукоятка 87 (рис. 12), вращающая конической шестерней 28 (рис. 13), насаженной на валике 29, большую коническую шестерню 11, а вместе з ней і винт вертикальной подачі. Для определения величины вертикального переміщення консоли на рукоятке имеется делительное кольцо з 60 делениями. При повороте на 1 деление консоль перемещается на 0,05 мм.

Винт вертикальной подачі 30 при своем вращении ходит, как по гайке, в пустотелом винте 31, ввернутом своей наружной резьбой в гайку 32. Последняя запрессована в колонке 33, укрепленной к нижней плите верстата. Гайка 32 в колонке закреплена двумя гвинтами.

Автоматическое вимкнення поперечної подачі стола происходит при помощи упоров 95 (см. рис. 2), устанавливаемых на салазках на нужном расстоянии; вертикальная подача тоже выключается автоматически при помощи упоров 92, устанавливаемых на планке, закрепленной на станине на нужном расстоянии. При движении стола упоры 92 (рис. 12) нажимают на штифт 35 і при помощи тяги 36, имеющей на правом кінці рейку, происходит поворот валика 37 і рычага 38, выключающего муфту 20 коробки реверса (рис. 12). Поперечная подача аналогично выключается при помощи упоров, штифта 39 і того же рычага 38 (рис. 12).

Рабочий стол

Стол состоит из нижних салазок 1 (рис. 14), скользящих в поперечном направлении по направляющим консоли, имеющим форму ласточкина хвоста, і собственно стола 2, передвигающегося в продольном направлении по направляющим верхних салазок. На рабочей поверхности стола имеются три Т-образных паза для болтов, крепящие деталь или приспособления. Стол може перемещаться в трех направлениях: продольном, поперечном і вертикальном. Каждое из етих перемещений може производиться автоматически или от руки.

Автоматическое рух стола може быть нормальное і ускоренное.

Рух столу передається от коробки подач шарнирным телескопическим валиком через реверсивный механізм і далее при помощи системы шестерен, действующих на соответствующие винты подач стола.

Ускоренный ход стола осуществляется от валика приводу через цепную передачу на валик, соединенный з шарнирным валиком. Механізми, осуществляющие поперечное і вертикальное перемещение стола, смонтированы в консоли, а для продольного переміщення — в нижней частини стола. Продольные подачі стола осуществляются через две пары конических шестерен — 72 і 71, 70 і 69 і кулачковую муфту 3, приводящую в рух винт 76. Последний при вращении в закрепленной в салазках стола гайке 4 перемещается в продольном направлении і ведет за собой стол 2.

С левой стороны стола на винте закреплена рукоятка 86 для продольного переміщення стола от руки. Отсчет ручных подач производится по делительному кольцу (лимбу), имеющему 120 делений. При повороте рукоятки 86 на одно деление лимбы стол перемещается на 0,05 мм.

Увімкнення і вимкнення продольного ходу стола производится рукояткой 84, передвигающей муфту 5 влево для соединения з кулачками свободно сидящей на винте шестерни 69, дающей столу рабочий ход, или вправо для расцепления кулачков муфты з кулачками етой шестерни, а следовательно прекращения руху стола.

Кроме етого вимкнення продольного ходу стола може осуществляться і автоматически — посредством упорных кулачков 101, действующих на головке стержня. Последний на своем нижнем кінці имеет реечную нарезку, сцепленную з зубчатым валиком VI, имеющим зубцы (по всей своей длине), находящиеся в зацеплении з рейкой 41, действующей через валик 37 і рычаг 38 з сухарем на кулачковую муфту 20 коробки реверса (см. рис. 12).

При движении стола слева направо левый кулачок (рис. 14) опустит стержень, а при движении в обратную сторону правый кулачок поднимет его і таким образом произведет вимкнення руху стола в продольном направлении. Обратное увімкнення муфты коробки реверса производится рукояткой 83 или рукояткой 81.

Електроустаткування

Для приведения верстата в рух служит асинхронный електромотор (типа «ТМ») трехфазного переменного тока з короткозамкнутым ротором мощностью 8,2 кВт (11,2 л. с). Мотор рассчитан на напряжение 220/380 в, 50 периодов в секунду і делает 1430 (асинхронных) оборотів в минуту.

Номинальная сила тока при напряжении в 220 в должна быть не больше 30 а; при напряжении в 380 В — 17,4 А і при напряжении в 500 В — 13,2 А.

Для напряжения в 220 или 380 в концы обмотки статора соединяются соответственно в треугольник или звезду, для чего от обмотки статора выведено 6 концов.

Моторы на 500 В имеют три выведенных конца, которые соединены в звезду.

Колебания напряжения в сети, питающей мотор, не должны превышать 5%. Большие колебания будут сильно влиять на вращающий момент мотора. Нагрев мотора нормально не должен превышать 50..55° С при температуре окружающей среды.в 35° С.

Верстати выпускаются заводом з електрообладнанням, рассчитанным на 380 в. Електроустаткування на 220 і 500 В може быть установлено только по специальному заказу.

Специфікація електроустаткування приведена в табл. 2.

Електросхема верстата

Верстат, как указано выше, приводится в рух от индивидуального мотора.

Пуск і зупинка мотора осуществляется магнитным пускателем нажатием кнопок «пуск» или «стоп», смонтированных в особой коробке (рис. 15) с. правой стороны верстата. Установка кнопочной станції може быть произведена в любом месте, удобном для керування мотором. В случае необходимости керування мотором з различных мест можно установить несколько кнопочных станций.

Увімкнення електродвигуна в сеть производят кратковременным нажатием кнопки «пуск», которая замыкает ланцюг магнитной катушки пускателя; післядняя под влиянием проходящего по ней тока втягивает сердечник якоря і замыкает механически связанные з ним главные і вспомогательные контакты пускателя. Главные контакты соединяют мотор з сетью, а вспомогательные создают в ланцюги катушки соединение, параллельное кнопке «пуск», через контакты теплового реле.

Выключение мотора осуществляют нажатием на кнопку «стоп», которая разрывает ланцюг катушки пускателя, вследствие чего сердечник якоря падает і разрывает контакты.

Магнитный пускатель защищает мотор от перегрузки. Наибольшая защита от перегрузки осуществляется двумя тепловыми реле, включенными в две фазы двигуна.

Работа теплового реле заключается в следующем. Ток при нажатой кнопке «пуск», проходя через биметаллическую пластинку пускателя, нагревает ее. Под действием выделяемой теплоты биметаллическая пластинка (рис. 16) изгибается. При достижении определенной нагрузки, а следовательно і величины деформации (соответствующей опасной нагрузке двигуна) биметаллическая пластинка освобождает конец регулировочного гвинта. Последний при помощи пружины б поворачивается вокруг горизонтальной оси, увлекая за собой упорный штифт в, і тем самым освобождает контактную пластинку г, находя-


Смазка верстата

Применяемое для змазки масло должно быть чистым, бескислотным і не должно содержать воды. Рекомендуется употреблять машинное масло Л (по спецификации «Органефть»).

Смазка салазок шпинделя і коробки швидкостей происходит из верхнего резервуара /6' (рис. 18), куда масло подается через фильтр 17 из головного масляного резервуара 31 (расположенного внутри нижней частини станины), насосом 19 шестеренного типа, приводимым в рух от вала фрікциону при помощи шестерен.

Наполнение маслом головного резервуара производится через воронку 13 не реже двух раз в месяц. Спуск масла производится из отверстия, закрываемого пробкой 12.

Масло подается из головного резервуара к насосу по трубке Т, а из насоса — к верхнему резервуару по трубке Т1.

К направляющим салазок шпинделя і средним підшипникам масло подается по трубке 16, а к коробке швидкостей по трубке 15.

Верхние і нижние роликовые підшипники шпинделя смазываются двумя масленками Шарко 1 і 2. Налив масла в ети масленки должен производиться до начала роботи 1 раз в шестидневку. В процессе роботи необходимо следить за исправной работой етих масленок.

Реечный валик механізма переруху салазок шпинделя смазывается через масленку 3. Червячное колесо і втулка етого механізма смазываются через масленки 4 і 5.

Кроме упомянутого насоса имеются два насоса плунжерного типа для змазки стола і консоли.

Для наливания масла в резервуар (см. разрез по Е—Е) сбоку стола имеется воронка М (рис. 19), закрываемая крышкой 21. Из резервуара масло нагнетается плунжерным насосом 22 (приводимым в рух от руки) через маслораспределитель 23 і трубки 24 і 25, подается по 12 медным трубкам к трущимся поверхностям стола. Масло в резервуаре должно всегда достигать верхнего уровня маслоуказателя (вид по стрелке Н). Благодаря специальным пристроям масленок (см. разрез по Д—Д) масло, подаваемое плунжерным насосом, хорошо удерживается в маслопроводе.

Підшипники ходового гвинта поздовжньої подачі смазываются вручную через масленки 6 і 8 (рис. 18).

Підшипники ходового гвинта поперечної подачі смазываются через масленку 9.

Все трущиеся частини консоли (направляющие, підшипники і др.) смазываются при помощи плунжерного насоса Л (рис. 18), смонтированного на консоли сбоку і двух маслораспределителей 26 (рис. 20), смонтированных внутри консоли.

В ети маслораспределители масло проходит через маслораспределитель 27, откуда часть его, проходя по трубкам 28, 29 і 30, смазывает ходовой винт поперечної подачі, валик, передающий вращение ходовому винту, і валик для ручного вертикального переміщення стола; другая часть масла, протекая через два маслораспределителя 26 і трубки, смазывает трущиеся частини, смонтированные в консоли.

Подаваемое плунжерным насосом масло попадает в смазочную систему консоли через фитинг 32, укрепленный в консоли.





Уход за верстатом і его регулювання. Керування верстатом

Прежде чем приступить к работе на станке, работающий на нем фрезеровщик должен ознакомиться со схемой верстата, з его конструкцией, хорошо усвоить назначение органів керування верстатом (рукояток, маховичков і т. д.) і твердо запомнить післядовательность их увімкнення.

Неумелое обращение со верстатом і незнание керування им може повлечь аварию верстата і несчастный случай з работающим на нем.

Вказівки о пользовании рукоятками керування имеются в прикрепленных на станке табличках.

До пуска верстата необходимо установить і закрепить инструмент, пристрій і обрабатываемое изделие.

Чтобы проверить правильность сделанной установки инструмента і вироби, необходимо опустить шпиндель поворотом крестовины і подвести изделие к режущему инструменту вручную. Далее маховичком 89 (точной установки на глубину) надо установить фрезу. Убедившись в правильности всей установки, можно пустить верстат в работу.

Для етого нужно сначала пустить мотор, нажав кнопку «пуск», а затем рычагом 90 (см. рис. 2) пустить верстат, предварительно установив нужное направление обертання шпинделя, число его оборотів і подачу стола.

После етого рукояткой 83 (см. рис. 2) надо установить направление переміщення стола.

Изменение направления подачі у работающего верстата не следует производить в то время, когда механізмы верстата имеют большую скорость обертання.

Не следует производить на ходу верстата переключения швидкостей і подач. При переключениях надо соблюдать указания, имеющиеся в укрепленных на стенке табличках, і всегда доводить рукоятки керування до того положения, в котором они фиксируются.

Уход і обслуговування верстата

Своевременный, надлежащий і внимательный уход за верстатом увеличивает его производительность і повышает качество его роботи. Для обеспечения хорошего ухода за верстатом надо выполнять наступні указания.

До роботи

Прежде чем приступить к работе, необходимо произвести тщательный наружный осмотр всего верстата, проверить положение рукояток керування верстатом, удалить со верстата посторонние предметы, вытереть верстат і смазать его трущиеся частини.

Для определения состояния перемещающихся частин верстата необходимо вручную при помощи соответствующих рукояток, маховичков і других органів керування верстатом опробовать их руху.

Необходимо также просмотреть і проверить состояние і работу насосов і трубопровода, чтобы убедиться в том, что смазка і охлаждающая жидкость подаются своевременно і в нужном количестве.

Надо проверить натяжение приводного ремня і от мотора к насосу, подающему охлаждающую жидкость, в случае ослабления ремня, его надо подтянуть посредством регулювання качающейся плиты.

Вначале следует пустить верстат вхолостую і проверить состояние механізмов верстата.

Установив изделие, нужно закрепить его таким образом, чтобы обеспечена была полная гарантия в том, что во время обробки изделие не сдвинется з места под действием давления режущего инструмента.

Во время роботи

  1. Пуск верстата разрешается только работающему на нем фрезеровщику.
  2. Ни в коем случае не следует оставлять работающий верстат без надзора.
  3. Воспрещается во время ходу верстата производить чистку, обтирку, а также оставлять на станке инструмент, тряпки і прочие посторонние предметы, которые могут попасть в верстат і вызвать его повреждение.

В процессе роботи фрезеровщик должен наблюдать за тем, чтобы не было проскальзывания ремней.

После роботи

  1. При помощи соответствующих рукояток керування верстатом і нажатием кнопки «стоп» надо остановить верстат і выключить мотор.
  2. Рукоятки керування верстатом надо установить в нейтральное (нерабочее) положение. При длительных перерывах в работе снять со верстата і убрать в соответствующее место режущий инструмент.
  3. Необходимо произвести тщательную уборку і очистку верстата от стружки і грязи, особо обратив внимание на чистоту направляючих. После етого надо протереть обработанные поверхности верстата чистой тряпкой і смазать их машинным маслом.

Основні правила роботи на станке

  1. Прежде чем вставить в конусное отверстие шпинделя оправку или фрезу, следует вытереть конусное отверстие в шпинделе і поверхность входящего в шпиндель инструмента.
  2. При выверке изделий пользуются свинцовым или деревянным молотком.
  3. Нельзя переключать механізма швидкостей на ходу.
  4. Нельзя закреплять обрабатываемое изделие во время роботи верстата.
  5. При обработке стали (а в некоторых случаях і чугуна) надо пользоваться охолодженням (или смазкой).
  6. При переходе от обробки изделий из вязких материалов на обработку чугуна (и наоборот) надо тщательно вытереть стол верстата, так как пыль от чугунной стружки, смешиваясь з охлаждающей жидкостью, образует грязную «кашицу», сильно портящую направляющие і трущиеся частини стола.
  7. При установці і закреплении фрезы надо установить направление обертання шпинделя.
  8. Если потребуется остановить автоматическую подачу, то необходимо одновременно прекратить вращение шпинделя.




Регулювання верстата

С течением часу в процессе роботи наиболее трущиеся частини верстата изнашиваются і верстат теряет свою точность. В станке предусмотрено регулювання следующих частин: фрікциону, підшипника шпинделя, направляючих стола, упорных підшибників ходового гвинта, фрікциону ускоренного ходу, предохранительного механізма, роликопідшибників коробки швидкостей, салазок шпинделя.

При продолжительной работе верстата диски фрікциону срабатываются хотя і незначительно, но все же ето ухудшает работу верстата, особенно при большой его нагрузке. Поетому в случае ослабления дисков фрикцион необходимо отрегулировать.

Регулювання фрікциону производится (при выключенном моторе) подтягиванием гайки 1 (рис. 22). Последняя, навинчиваясь на вал фрікциону, нажимает посредством пружины на втулку В, которая, передвигаясь, сжимает диски К і Кг. Против самоотвинчивания гайки 1 служит шпилька 2.

После регулировки верстат нужно пустить вхолостую і несколько раз включить і выключить фрикцион для того, чтобы убедиться в его исправности, після чего верстат можно пустить в работу. Регулювання підшибників шпинделя производится путем подтягивания круглых гаек 1 (рис. 23), після чего они закрепляются сухарем 2 при помощи гвинта 3.

Для ухода за нижним і средним подшипником необходимо снять крышки 13 (см. рис 9), закрывающие отверстия, через которые просовывается инструмент для производства нужных работ. Для ухода за верхним подшипником необходимо снять верхнюю крышку 14.

Для регулювання клина салазок стола нужно ввернуть винт 7 в тело салазок (рис. 24). Ввинчиваясь, винт своим буртиком, входящим в паз клина, будет передвигать клин в необходимое положение пока не устранится зазор, образовавшийся между направляющими. После етого салазки должны свободно передвигаться вручную без какого-либо заметного зазору і заедания.

Для реулирования упорного підшипника ходового гвинта подтягивают гайки 1 і 2 (рис. 25). Самоотвинчиванию гаек препятствуют винты 3 і 4.

При износе дисков 7 фрікциону ускоренного ходу необходимо, подвинчивая крестовину 2 (рис. 26), подводить тем самым кулачки 3 для создания необходимого нажатия при включении фрікциону ускоренного ходу. Это производится при снятой крышке, которая находится сверху коробки подач.

Для регулювання предохранительного механізма в случае провертывания конических втулок 4 і 5 служит гайка 6, которую нужно затягивать для создания силы трения у етих втулок на определенное усилие механізма подач.

Регулювання роликопідшибників коробки швидкостей производится гайками Г (рис. 27). Предварительно следует отвернуть винт В і освободить замок Б. Последний имеет вигляд шайбы з выступом, который входит в прорези гайки і тем препятствует її самоотвинчиванию. Салазки шпинделя, в случае появления люфта или заедания в направляючих, регулируются клином 707 посредством гвинта 10S (см. рис. 9).





615 Верстат консольно-фрезерный вертикальний. Відеоролик.




Технічні характеристики консольного фрезерного верстата 615

Наименование параметра 615 6Н13 6М13 6Р13 6Т13
Основні параметри верстата
Класс точності по ГОСТ 8-71 і ГОСТ 8-82 Н, П Н, П Н, П Н
Розміри поверхности стола, мм 420 х 1600 400 х 1600 400 х 1600 400 х 1600 400 х 1600
Наибольшая масса обрабатываемой детали, кг 300 630
Расстояние от торца шпинделя до стола, мм 0..575 30..520 30..500 30..500 70..500
Расстояние от оси шпинделя до вертикальних направляючих станины (вылет), мм 460 450 450 420 460
Рабочий стол
Наибольший продольный ход стола от руки (по оси X), мм 900 900 800 1000 1000
Наибольший поперечний ход стола от руки (по оси Y), мм 375 320 320 320 400
Наибольший вертикальний ход стола от руки (по оси Z), мм 375 420 420 420 430
Перемещение стола на одно деление лимба (продольное, поперечное, вертикальное), мм 0,05
Перемещение стола на один оборот лимба (продольное, поперечное/ вертикальное), мм 6/ 2
Пределы продольных подач стола (X), мм/мин 14..508 23,5..1180 25..1250 25..1250 12,5..1600
Пределы поперечных подач стола (Y), мм/мин 14..508 15,6..786 25..1250 25..1250 12,5..1600
Пределы вертикальних подач стола (Z), мм/мин 7..254 7,85..393 8,3..416,6 8,3..416,6 4,1..530
Количество подач продольных/ поперечных/ вертикальних 16 18 18 18 22
Скорость быстрых продольных перемещений стола (по оси X), м/мин 2,3 3 3 4
Скорость быстрых поперечных перемещений стола (по оси Y), м/мин 1,540 3 3 4
Скорость быстрых вертикальних перемещений стола (по оси Z), м/мин 0,77 1 1 1,33
Шпиндель
Частота обертання шпинделя, об/мин 16..420 30..1500 31,5..1600 31,5..1600 31,5..1600
Количество швидкостей шпинделя 16 18 18 18 18
Перемещение пиноли шпинделя, мм 200 85 85 80 80
Перемещение пиноли шпинделя на одно деление лимба, мм 0,05 0,05 0,05 0,05
Конус фрезерного шпинделя №3 ГОСТ 836-47 (ам.станд) №3 ГОСТ 836-47 №3 ГОСТ 836-62 №3 ГОСТ 836-62
Кінець шпинделя ГОСТ 24644-81, ряд 4, виконання 6
Отверстие фрезерного шпинделя, мм 29 29 29
Диаметр оправок, мм 32, 50
Диаметр переднего підшипника, мм 100 100
Поворот шпиндельной головки вправо і влево, град ±45 ±45 ±45 ±45
Механіка верстата
Выключающие упоры подачі (поздовжньої, поперечної, вертикальной) Есть Есть Есть Есть
Блокировка ручной і механической подач (поздовжньої, поперечної, вертикальной) Есть Есть Есть Есть
Блокировка раздельного увімкнення подач Есть Есть Есть Есть
Торможение шпинделя Есть Есть Есть Есть
Предохранительная муфта от перегрузок Есть Есть Есть Есть
Автоматическая прерывистая подача Есть Есть Есть (продольная) Есть
Електроустаткування, привод
Количество електродвигателей на станке 3 3 3 4
Електродвигун приводу головного руху, кВт (об/мин) 8,2 (1430) 10 10 10 11
Електродвигун приводу подач, кВт 2,8 3,0 3,0 3,0
Електродвигун зажиму инструмента, кВт нет нет нет 0,25
Електродвигун насоса охлаждающей жидкости, кВт 0,125 0,125 0,125 0,12
Суммарная мощность всех електродвигателей, кВт 12,925 13,125 14,37
Габарит і масса верстата
Габарити верстата (длина ширина высота), мм 2250 х 2950 2575 х 1870 х 2250 2565 х 2135 х 2235 2560 х 2260 х 2120 2570 х 2252 х 2430
Масса верстата, кг 3800 4250 3120 4200 4300


    Список литературы:

  1. Инструкция по уходу і обслуговування вертикально-фрезерного верстата типа 615. ГЗФС им. Л.М. Кагановича 1936

  2. Аврутин С.В. Основы фрезерного дела, 1962
  3. Аврутин С.В. Фрезерне дело, 1963
  4. Ачеркан Н.С. Металлорежущие верстати, Том 1, 1965
  5. Барбашов Ф.А. Фрезерне дело 1973
  6. Барбашов Ф.А. Фрезерные роботи (Профтехобразование), 1986
  7. Блюмберг В.А. Справочник фрезеровщика, 1984
  8. Григорьев С.П. Практика координатно-расточных і фрезерных работ, 1980
  9. Копылов Работа на фрезерных верстатах,1971
  10. Косовский В.Л. Справочник молодого фрезеровщика, 1992
  11. Кувшинский В.В. Фрезерование,1977
  12. Ничков А.Г. Фрезерные верстати (Библиотека станочника), 1977
  13. Пикус М.Ю. Справочник слесаря по ремонту металлорежущих верстатів, 1987
  14. Плотицын В.Г. Расчёты настроек і наладок фрезерных верстатів, 1969
  15. Плотицын В.Г. Наладка фрезерных верстатів,1975
  16. Рябов С.А. Современные фрезерные верстати і их оснастка, 2006
  17. Схиртладзе А.Г., Новиков В.Ю. Технологическое обладнання машиностроительных производств, 1980
  18. Тепинкичиев В.К. Металлорежущие верстати, 1973
  19. Чернов Н.Н. Металлорежущие верстати, 1988
  20. Френкель С.Ш. Справочник молодого фрезеровщика (3-е изд.) (Профтехобразование), 1978








Заказать

Кто владеет информацией - тот владеет миром.

Натан Ротшильд