metalinstryment.com
Довідник по металорізальних верстатів та пресовому обладнанні

Коробка подач фрезерных верстатів серии 6Р
схеми, опис, характеристики

Коробка подач фрезерных верстатів серии 6Р







Відомості про виробника консольно-фрезерных верстатів серии 6Р

Производитель фрезерных верстатів серии 6Р Горьковский завод фрезерных верстатів, ГЗФС, основанный в 1931 году.





Продукция Горьковского завода фрезерных верстатів ГЗФС


Коробка подач фрезерных верстатів серии 6Р. Назначение, область применения

Консольно-фрезерные верстати серии Р выпускались Горьковским заводом фрезерных верстатів (ГЗФС) начиная з 1972 года. Верстати сходны между собой по конструкції, широко унифицированы і является дальнейшим усовершенствованием аналогичных верстатів серии Н.

Конструкція і принцип роботи коробки подач фрезерных верстатів серии 6р

Коробка подач является самостоятельным узлом, монтируемым з левой стороны консоли. Она одинакова для всей гаммы верстатів, — 6Р12, 6Р12Б, 6Р13, 6Р13Б, 6Р82, 6Р82Г, 6Р82Ш, 6Р83, 6Р83Г, 6Р83Ш.


Коробка подач обеспечивает получение рабочих перемещений стола по 3-м координатам.

Рух подачі производится от електродвигуна М2 (N = 2,2 кВт; п = 1430 об/мин). Коробка подач верстата позволяет осуществлять механическое перемещение стола в трех направлениях:

  1. продольном (перпендикулярно оси шпинделя)
  2. поперечном (параллельно оси шпинделя)
  3. вертикальном

Специальные блокировочные пристроя обеспечивают невозможность одновременного увімкнення нескольких движений.

Восемнадцать продольных подач осуществляются по схеме: електродвигатель М2, постоянная передача (26/50)(26/57), тройной передвижной блок (18/36)(27/27)(36/18), второй тройной блок (18/40)(21/37)(24/34), вал X.

С вала X рух може передаваться либо на вал XI, либо непосредственно через колеса (40/40) (муфта М2 включена), либо через перебор (13/45)(18/40)(40/40) (М2 выключена).

Далее рух передається по схеме: вал XI, передача (28/35), вал XII, передачи (18/33)(33/37)(18/16)(18/18), ходовой винт з шагом 6 мм.

Поперечные і вертикальные переміщення стола осуществляются аналогичным путем двумя другими ходовыми гвинтами.

Уравнения кинематических ланцюгів для максимального і минимального значений поздовжньої подачі:


Smax = 1430·(26/50)(26/57)(36/18)(24/34)(40/40)(28/35)(18/33)(33/37)(18/16)(18/18)·6 = 1250 мм/мин


Smin = 1430·(26/50)(26/57)(18/36)(18/40)(13/45)(18/40)(40/40)(28/35)(18/33)(33/37)(18/16)(18/18)·6 = 25 мм/мин


Быстрое перемещение стола во всех трех направлениях осуществляется от того же електродвигуна без коробки подач, непосредственно через зубчатую передачу (26/50)(50/67)(67/33), фрикционную муфту М4 на валу XI і далее по кинематическим цепям рабочих подач. Кулачковая муфта М3 в етом случае выключена, а фрикционная муфта М4 включена.

Муфты коробки подач консольно-фрезерного верстата

Муфты коробки подач консольно-фрезерного верстата



На рис. 12.6 показаны муфты післяднего вала XI коробки подач верстата. Слева на валу находится шариковая предохранительная муфта 1 з зубчатым венцом (z = 40). Рабочая подача осуществляется при включении кулачковой муфты 7 в крайнее левое положение, когда її кулачки сцепляются з кулачками предохранительной шариковой муфты. В етом случае рух от зубчатого колеса 8 (z — 40) передається на зубчатый венец предохранительной муфты і далее на кулачковую муфту 7, которая установлена на валу XI на скользящей шпонке.

При передвижении муфты 7 вправо її кулачки разъединяются з кулачками предохранительной муфты, і рабочая подача прекращается. При дальнейшем перемещении вправо муфта 7 включает фрикционную муфту 6, і вал XI получает быстрое вращение от колеса 5 (z = 67) через зубчатое колесо 4 (z = 33), корпус 3 фрикционной муфты і сжатые фрикционные диски 2.

Увімкнення швидкого ходу стола консольно-фрезерного верстата

Увімкнення швидкого ходу стола консольно-фрезерного верстата



Коробка подач имеет однорукояточное селективное керування (рис. 12.7). Переключення подач осуществляется передвижением зубчатых блоков или окремих зубчатых колес з помощью вилок, закрепленных на соответствующих рейках. Рейки получают продольное перемещение от двух дисков з отверстиями, закрепленных на одной оси з рукояткой переключения. Рейки, перемещающие блоки, могут занимать три различных положения относительно дисков.

Схема механізма переключения подач

Схема механізма переключения подач



На рис. 12.8 показана схема роботи етого механізма на примере переключения тройного блока зубчатых колес. В положении I рейка 1 упирается в диск 3, а рейка 2 проходит через отверстия обоих дисков 3 і 4. В положении II обе рейки входят в отверстия диска 3. Положение III является обратным относительно положения I. Между рейками имеется зубчатое колесо 5, которое обеспечивает согласованное рух реек.

Для установки требуемой подачі рукоятку переключения з дисками сначала выдвигают из коробки подач, затем поворачивают вправо или влево вокруг оси в требуемое положение до совпадения выбираемой подачі на лимбе рукоятки со стрелкой-указателем на корпусе коробки подач. После етого рукоятку вдвигают обратно и, толкая выступающие концы реек дисками, перемещают рейки, а значит, і включаемые зубчасті колеса в положения, обеспечивающие выбранную подачу.


История выпуска верстатів Горьковским заводом, ГЗФС

В 1937 году на Горьковском заводе фрезерных верстатів были изготовлены первые консольно-фрезерные верстати серии 6Б моделей 6Б12 і 6Б82 з рабочим столом 320 х 1250 мм (2-го типоразмера).

В 1951 году запущена в производство серия консольно-фрезерных верстатів: 6Н12, 6Н13П, 6Н82, 6Н82Г. Верстат 6Н13ПР получил “Гран-При” на всемирной выставке в Брюсселе в 1956 году.

В 1960 году запущена в производство серия консольно-фрезерных верстатів: 6М12П, 6М13П, 6М82, 6М82Г, 6М83, 6М83Г, 6М82Ш.

В 1972 году запущена в производство серия консольно-фрезерных верстатів: 6Р12, 6Р12Б, 6Р13, 6Р13Б, 6Р13Ф3, 6Р82, 6Р82Г, 6Р82Ш, 6Р83, 6Р83Г, 6Р83Ш.

В 1975 году запущены в производство копировальные консольно-фрезерные верстати: 6Р13К.

В 1978 году запущены в производство копировальные консольно-фрезерные верстати 6Р12К-1, 6Р82К-1.

В 1985 году запущена в производство серия 6Т-1 консольно-фрезерных верстатів: 6Т12-1, 6Т13-1, 6Т82-1, 6Т83-1 і ГФ2171.

В 1991 году запущена в производство серия консольно-фрезерных верстатів: 6Т12, 6Т12Ф20, 6Т13, 6Т13Ф20, 6Т13Ф3, 6Т82, 6Т82Г, 6Т82ш, 6Т83, 6Т83Г, 6Т83Ш.






Кінематична схема фрезерного верстата

Кінематична схема фрезерного верстата

Кінематична схема фрезерного верстата. Дивитись у збільшеному масштабі



График продольных і поперечных подач консольно-фрезерного верстата

График продольных і поперечных подач консольно-фрезерного верстата

График продольных і поперечных подач консольно-фрезерного верстата. Дивитись у збільшеному масштабі



Коробка подач обеспечивает получение рабочих подач і быстрых перемещений стола, салазок і консоли. Кинематику коробки подач см. на рис. 3.


Коробка подач консольно-фрезерного верстата

Коробка подач консольно-фрезерного верстата

Коробка подач консольно-фрезерного верстата. Дивитись у збільшеному масштабі



Коробка подач консольно-фрезерного верстата

Коробка подач консольно-фрезерного верстата



Коробка подач консольно-фрезерного верстата

Коробка подач консольно-фрезерного верстата

Коробка подач консольно-фрезерного верстата. Дивитись у збільшеному масштабі



Коробка подач консольно-фрезерного верстата

Коробка подач консольно-фрезерного верстата

Коробка подач консольно-фрезерного верстата. Дивитись у збільшеному масштабі



Коробка подач консольно-фрезерного верстата

Коробка подач консольно-фрезерного верстата

Коробка подач консольно-фрезерного верстата. Дивитись у збільшеному масштабі



Разрез по выходному валу коробки подач

Разрез по выходному валу коробки подач

Разрез по выходному валу коробки подач. Дивитись у збільшеному масштабі



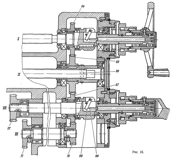
Получаемые в результате переключения блоков скорости обертання передаются на выходной вал 36 (рис. 12) через шариковую предохранительную муфту, кулачковую муфту 46 і втулку 45, соединенную шпонкой з кулачковой муфтой 46 і выходным валом 36.

При перегрузке механізма подач шарики, находящиеся в контакте з отверстиями кулачковой втулки 44, сжимают пружины і выходят из контакта. При етом зубчатое колесо 41 проскальзывает относительно кулачковой втулки 44 і рабочая подача прекращается. Быстрое вращение передається от електродвигуна, минуя коробку подач, зубчатому колесу 37, которое сидит на хвостовике корпуса фрікциону 51 і имеет, таким образом, постоянное число оборотів. При монтаже необходимо проверить затяжку гайки 35. Корпус фрикционной, муфты должен свободно вращаться между зубчатым колесом 34 і упорным подшипником.

Диски фрікциону через один связаны з корпусом фрікциону, который постоянно вращается, і втулкой 39, которая в свою очередь соединена шпонкой з выходным валом 36.

При нажатии кулачковой муфтой 46 на торец втулки 47 і далее на гайку 38 диска 49 і 50 сжимаются і передают быстрое вращение выходному валу 36 і зубчатому колесу 34.

При регулировании предохранительной муфты снимается крышка 54 (рис 13) і вывертывается пробка 53.

На место пробки вставляется стальной стержень так, чтобы конец его вошел в одно из отверстий на наружной поверхности гайки 42 (см. рис. 12), которая застопоривается. Плоским стержнем через окно крышки повертывается за зубья зубчатое колесо 41. После регулировки гайка обязательно контрится от самопроизвольного отворачивания стопором 43.

Регулювання считается правильным, если при встречном фрезеровании цилиндрической фрезой удается фрезеровать чугун марки СЧ 15-32 при следующих параметрах режима різання:

Модель 6Р12, 6Р12Б

Модель 6Р13, 6Р13Б

При етих режимах муфта може периодически прощелкивать.

Регулювання зазору между дисками фрікциону производится гайкой 38, которая от самопроизвольного переміщення заперта фиксатором 48.




Коробка переключения подач

Изменение частот обертання шпинделя в коробке швидкостей і величин подач в коробке подач производят з помощью переключения подвижных колес і муфт. Самым простым из них является многорукояточное пристрій, в котором для переміщення каждого блока колес предусмотрена отдельная рукоятка. Такой способ переключения требует значительных затрат часу, особенно если переключения приходится делать часто.

Время на переключение значительно сокращается при использовании системы избирательного (селективного) переключения, осуществляемого одной рукояткой.

Коробка переключения подач входит в узел коробки подач. Принцип її роботи аналогичен работе коробки переключения швидкостей.


Механізм переключения подач консольно-фрезерного верстата

Механізм переключения подач консольно-фрезерного верстата

Механізм переключения подач консольно-фрезерного верстата. Дивитись у збільшеному масштабі



Механізм переключения подач консольно-фрезерного верстата

Механізм переключения подач консольно-фрезерного верстата

Механізм переключения подач консольно-фрезерного верстата. Дивитись у збільшеному масштабі



Для предотобертання смещения диска 63 (рис. 14) в осевом направлении валик 55 запирается во включенном положении двумя шариками 60 і втулкой 56. Попадая в кольцевую проточку валика 57, шарики освобождают от фиксации валик 55 при нажиме на кнопку 58.

Фиксация поворота диска переключения 63 осуществляется шариком 62 через фиксаторную втулку 59, связанную шпонкой з валиком 55.

Регулювання зусилля фиксации поворота диска переключения производится резьбовой пробкой 61.

Смазка коробки подач осуществляется разбрызгиванием масла, поступающего из системы змазки консоли. Кроме етого, в нижней частини платика консоли имеется отверстие (сверление в нагнетательную полость насоса змазки), через которое смазка поступает к маслораспределителю коробки подач.

От маслораспределителя отводятся две трубки: на глазок контроля роботи насоса і для змазки підшибників II оси. Непосредственно через маслораспределитель масло подается на смазку підшибників фрикционной муфты.

Для достижения плотности стыка коробки подач і консоли разрешается установка коробки подач, кроме прокладки, на бензиноупорную смазку БУ, ГОСТ 7171—63, если прокладка не обеспечивает достаточной герметичности.

Консоль

Консоль является базовым узлом, объединяющим вузли ланцюги подач верстата. В консоли смонтирован ряд валов і зубчатых колес, передающих рух от коробки подач в трех направлениях—к гвинтам поздовжньої, поперечної і вертикальной подач, механізм увімкнення швидкого ходу, електродвигатель подач. В узел „консоль" входит также механізм увімкнення поперечных і вертикальних подач.


Консоль фрезерного верстата

Консоль фрезерного верстата

Консоль фрезерного верстата. Дивитись у збільшеному масштабі



Консоль фрезерного верстата

Консоль фрезерного верстата

Консоль фрезерного верстата. Дивитись у збільшеному масштабі



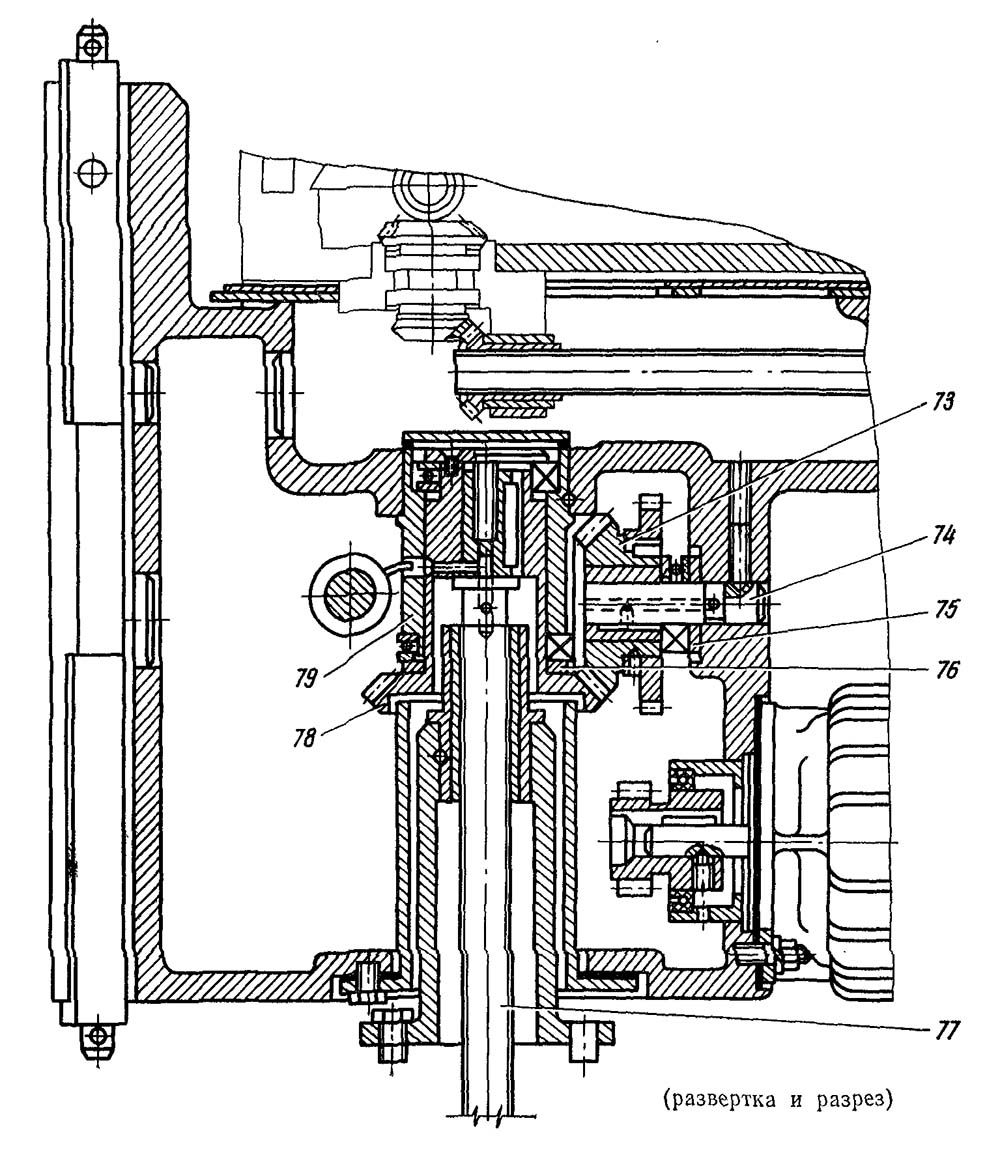
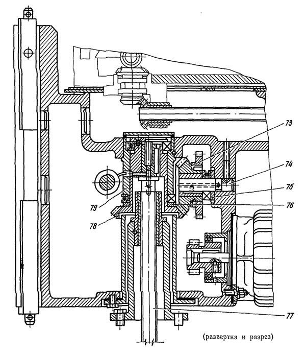
Зубчатое колесо 71 (рис. 15) получает рух от колеса 34 (см. рис 12) і передает его на зубчасті колеса 70, 67, 65 і 64 (см. рис. 15). Зубчатое колесо 67 смонтировано на подшипнике і може передавать рух валу только через кулачковую муфту 69, связанную з валом. Далее через пару цилиндрически і пару конических колес рух передається на винт 77.

Зацепление конической пары 73 і 78 отрегулировано компенсаторами 75 і 76 і зафиксировано винтом, входящим в засверловку пальца 74.

Втулка 79 имеет технологическое значение і никогда не демонтируется.

Гайка вертикальних перемещений закреплена в колонке. Колонка установлена точно по винту і зафиксирована штифтами на основании верстата.

Зубчатое колесо 65, смонтированное на гильзе, через шпонку і шлицы постоянно вращает шлицевой вал IX ланцюги продольного ходу.

Винт поперечної подачі X получает вращение через зубчатое колесо 65 і свободно сидящее на валу колесо 64 при включенной кулачковой муфте поперечного ходу.

Для демонтажу валов VII і VIII необходимо снять коробку подач і крышку з левой стороны консоли, після чего через окно консоли вывернуть стопори у зубчатых колес 71 і 72.

Демонтаж салазок можно произвести після демонтажу шлицевого вала IX, для чего необходимо снять верхний щиток на направляючих консоли, выбить штифт 66 і вытянуть шлицевой вал.

При демонтаже салазок необходимо также демонтировать кронштейн поперечного ходу или винт поперечної подачі.

Для полного демонтажу вертикального гвинта необходимо предварительно снять узел „стол-салазки".




Механізм увімкнення швидкого ходу

Механізм увімкнення швидкого ходу выключает кулачковую муфту подачі 46 і сжимает диски 49 і 50 фрикционной муфты (см. рис. 12).


Механізм увімкнення електромагнита

Механізм увімкнення електромагнита

Увімкнення швидкого ходу стола консольно-фрезерного верстата. Дивитись у збільшеному масштабі



Рычаг 84 (рис. 16) посажен на ось 87 і связан з ней штифтом; ось давлением пружины 89 отжимается в направлении зеркала станины. На оси 87 имеется две пары гаек. Правые гайки 85 предназначены для регулювання зусилля пружины. Левые 86, упираясь в торец втулки 88, закрепленной в стенке консоли, служат для ограничения і регулювання ходу оси, что необходимо для облегчения ввода підшипника в паз кулачковой муфты во время монтажа коробки подач на консоли, а также для устранения осевых ударных нагрузок на подшипник вала при включении кулачковой муфты.

Рычаг имеет на задньої стенке уступ, в который упирается шип фланца втулки 90. При повороте втулки рычаг 84 перемещается і сжимает пружину 89. Ось 91 на втором кінці имеет мелкий зуб, обеспечивающий возможность монтажа рычага 92, соединяющего ось 91 з тягой електромагнита, под необходимым углом.

Электромагнит через тягу і шарниры скрепле: з вилкой 82, от которой через гайку 80 і пружину 81 усилие передається на рычаг 92. Таким об разом, независимо от зусилля, развиваемого електромагнитом, усилие на рычаге определяется степенью затяжки пружины 81.

Ланцюг увімкнення швидкого ходу от електромагнита до фрикционной муфты должна удовлетворять следующим условиям:

РЕГУЛИРОВАТЬ ЗАЗОР В ДИСКАХ, ПОЛАГАЯ, ЧТО ЭТО УВЕЛИЧИТ СИЛУ СЖАТИЯ ДИСКОВ, ЗАПРЕЩАЕТСЯ.

Зусилля електромагнита при включении, передаваемые через рычаги, могут расшатывать систему, поетому при осмотрах і ремонтi необходимо проверять сохранность шплинтов, крепление гайки 80, посадку шпонок і крепление самого електромагнита на крышке консоли. Износ підшипника 83 увеличивается, если усилие его прижима не ограничивается гайками 85 і 86.

Механізм увімкнення вертикальной і поперечної подач

Механізм увімкнення вертикальной і поперечної подач выполнен в отдельном корпусе і управляет включением і отключением кулачковых муфт поперечної і вертикальной подач і електродвигуна подач.


Механізм увімкнення вертикальной і поперечної подач

Механізм увімкнення вертикальной і поперечної подач

Увімкнення швидкого ходу стола консольно-фрезерного верстата. Дивитись у збільшеному масштабі



При движении рукоятки вправо или влево, вверх или вниз связанный з ней барабан 95 (рис. 17) совершает соответствующие руху і своими скосами управляет через рычажную систему включением кулачковых муфт, а через штифты — конечными выключателями мгновенного дії, расположенными ниже механізма і предназначенными для реверса електродвигуна подачі.

Тяга 96 связывает барабан з дублирующей рукояткой. В своей средней частини на ней закреплен рычаг, на который действуют кулачки, ограничивающие поперечний ход. В кінці тяга имеет рычаг для ограничения вертикальних перемещений. При увімкненнях і виключеннях поперечного ходу тяга перемещается поступательно, а вертикального ходу — поворачивается.

Блокировка, предохраняющая от увімкнення маховички і рукоятки ручных перемещений при включении механической подачі, включает в себя коромысло 69 і штифт 68 (см. рис. 15).

При включении кулачковой муфты рукояткой подачі коромысло 69 при перемещении муфты поворачивается, передвигает штифт, который упирается в дно кулачковой муфты маховичка или рукоятки, і отодвигает их, не давая возможности кулачкам сланцюгиться.

Если система имеет повышенный люфт, необходимо выпрессовать пробку вала VII, расконтрить гайку 93 (см. рис. 17) і подвернуть винт 94. После проверки люфта необходимо тщательно законтрить гайку 93.

Система змазки консоли включает в себя плунжерный насос (рис. 18), золотниковый распределитель (рис. 19), маслораспределитель і отходящие от него трубки, подающие масло к підшипникам, зубчатым колесам, гвинтам поперечного і вертикального перемещений. Плунжерный насос змазки консоли, коробки подач, механізмов вузла "стол-салазки" засасывает масло через сетку фильтра из масляной ванны і подает его по трубке к золотниковому распределителю.

От золотникового распределителя отводятся трубки: для змазки вертикальних направляючих консоли, на штуцер гибкого шланга змазки вузла „стол-салазки" і к маслораспределителю консоли. Производительность насоса около 1 л/мин.

При нажиме на кнопки 5 или 6 (см. рис. 2) доступ масла к маслораспределителю перекрывается і оно от насоса поступает соответственно на вертикальные направляющие консоли или для змазки вузла „стол-салазки".

Смазка на вертикальний винт поступает через отверстия в зубчатом колесе і в самом винте.

Стол і салазки

Стол і салазки обеспечивают продольные і поперечные переміщення стола.


Разрез стола по ходовому винту

Разрез стола по ходовому винту

Разрез стола по ходовому винту. Дивитись у збільшеному масштабі



Регулювання зазору в ходовом винте

Регулювання зазору в ходовом винте

Увімкнення швидкого ходу стола консольно-фрезерного верстата. Дивитись у збільшеному масштабі



Ходовой винт 98 (рис. 20) получает вращение через скользящую шпонку гильзы 106, смонтированную во втулках 102 і 104. Гильза через шлицы получает вращение от кулачковой муфты 103 при сцеплении її з кулачками втулки 102, жестко связанной з коническим зубчатым колесом 101. Втулка 102 имеет зубчатый венец, з которым сцепляется зубчатое колесо приводу круглого стола. Кулачковая муфта 103 имеет зубчатый венец для осуществления обертання гвинта поздовжньої подачі при переміщеннях от маховичка. Зубчатое колесо 121 (рис. 24) подпружинено на случай попадания зуба на зуб. Зацепление з шестерней 121 може быть только в случае расцепления муфты 103 з втулкой 102 (см. рис. 20).

Таким образом, маховичок 122 (см. рис. 24) блокируется при механических подачах.

Гайки 99 і 100 ходового гвинта (см. рис. 20) расположены в левой частини салазок. Правая гайка 100 зафиксирована двумя штифтами в корпусе салазок, левая гайка 99, упираясь торцем в правую при повороте її червяком выбирает люфт в винтовой паре. Для регулювання зазору необходимо ослабить гайку 107 (рис. 21) и, вращая валик 108 произвести подтягивание гайки 99 (см. рис. 20) Выбор люфта необходимо производить до тех пор пока люфт ходового гвинта, проверяемый поворотом маховичка продольного ходу, окажется не более 3—5° і пока при перемещении стола вручную не произойдет заклинивание гвинта на каком-либо участке, необходимом для робочого ходу.

После регулировки нужно, затянув контргайку 107 (см. рис. 21), зафиксировать валик 108 в установленном положении.

Стол в своих торцах соединяется з ходовым винтом через кронштейны, установка которых производится по фактическому расположению гвинта, і фиксируется контрольными штифтами. Упорные підшипники смонтированы на разных концах гвинта, что устраняет возможность его роботи на продольный изгиб. При монтаже гвинта обеспечивается предварительный натяг ходового гвинта гайками з усилием 100—125 кГ.

Зазор в направляючих стола і салазок выбирается клиньями. Регулювання клина 109 стола (рис. 22) производится при ослабленных гайках 110 і 112 подтягиванием гвинта 111 отверткой. После проверки регулювання ручным переміщенням стола гайки надежно затягиваются.

Зазор в направляючих салазок регулируется клином 114 при помощи гвинта 113. Степень регулювання проверяется переміщенням салазок вручную.

Зажим салазок на направляючих консоли обеспечивается планкой 105 (см. рис. 20).




Механізм увімкнення поздовжньої подачі

Механізм увімкнення поздовжньої подачі осуществляет увімкнення кулачковой муфты продольного ходу, а также включение, вимкнення і реверсирование електродвигуна подач.

Рукоятка 118 (рис. 23) жестко соединена з осью 116 і поворачивает рычаг 115, по криволинейной поверхности которого в процессе переключения катится ролик 127 (рис. 24). При нейтральном положении рычага ролик находится в средней впадине, при включенном — в одной из боковых впадин.

Рух ролика через рычаг 128 передається штоку 137 і через зубчатое колесо 139 — рейке 138 і вилке 140, ведущей кулачковую муфту.

Пружина 134, регулируемая пробкой 133, постоянно нажимает на шток 137. Пружина 136 обеспечивает возможность увімкнення рукоятки при попадании зуба на зуб кулачковой муфты. Регулювання пружины 136 производится винтом 135 при помощи ключа, который вставляется через отверстие пробки 133. Чрезмерное сжатие пружины 134 ослабляет действие пружины 136. На одной оси з рычагом 128 сидит рычаг 130, который служит для виключення кулачковой муфты кулачком 131, прикрепленным к тяге 132. Тяга соединяет основную рукоятку продольного ходу з дублирующей.

Увімкнення і реверсирование електродвигуна подач производится конечными выключателями 129.

Відключення двигуна происходит після виключення кулачковой муфты.


Салазки консольно-фрезерного верстата

Салазки консольно-фрезерного верстата

Салазки консольно-фрезерного верстата. Дивитись у збільшеному масштабі



На ступице 119 (см. рис. 23) рукоятки продольного ходу имеются выступы, на которые воздействуют кулачки ограничения продольного ходу или (при автоматических циклах) керування продольным ходом.

При снятой крышке 126 (см. рис. 24) можно проверить работу контактов конечных выключателей і при необходимости очистить их от пригара.

Механізм автоматичного цикла

Механізм автоматичного цикла обеспечивает возможность керування столом от кулачков. На оси рукоятки продольного ходу смонтированы жестко связанные между собой звездочки 120 і 117 увімкнення швидкого ходу при работе верстата на автоматическом цикле (см. рис. 23). Звездочка 120 получает вращение от возвратного пружинного кулачка, установленного на лицевой стороне стола в Т-образном пазу. Нижня звездочка 117 имеет различную глубину впадин, что при повороте її на 45° дает различный ход штоку 124 (см. рис. 24), который воздействует на конечный выключатель 123 і включает електромагнит швидкого ходу. Конечный выключатель имеет две пары контактов, обеспечивающих переключение з швидкого ходу на подачу і наоборот.

При быстром ходе шток 124 входит в глубокие впадины, включает быстрый ход і одновременно фиксирует обе звездочки от произвольного поворота.

При повороте кулачком верхней и, соответственно, нижней звездочек шток выходит на участок постоянной кривизны нижней звездочки і замыкает вторую пару контактов. Попадая во впадины етих криволинейных участков, шток фиксирует звездочки в новом положении, когда оба контакта разомкнуты (включается рабочая подача).

Механізм запирания муфты (рис. 25) позволяет подготовить верстат для роботи в автоматическом цикле.

При нажатии на валик-шестерню 143 рейка 138 расцепляется з зубчатым колесом 139 і зацепляется з валиком-шестерней 143. Поворотом валика 143 кулачковая муфта 103 (см. рис. 20) перемещается, входит в зацепление з кулачковым зубчатым колесом і з етого момента уже не може быть выключена рукояткой продольного ходу.

Запирание муфты можно произвести только при среднем (нейтральном) положении рукоятки. Это обеспечивается Т-образным пазом в зубчатом колесе 139 (см. рис. 25) і штифтом 141, установленным в корпусе салазок.

При нажатии на валик-шестерню 143 конусом 142 і пальцем 125 (см. рис. 24) размыкаются контакты конечного выключателя, блокирующего ланцюг увімкнення поперечної і вертикальной подач. Этим исключается возможность увімкнення при запертой кулачковой муфте продольного ходу одновременно двух движений — стола і салазок или стола і консоли.

Система змазки стола і салазок питается от насоса, расположенного в консоли, при нажиме на кнопку золотникового распределителя. При етом масло подается і смазывает наступні точки:


Система змазки

Схема розположення точок змазки показана на рис. 26. В таблице 5 указан перечень елементів системы і точок змазки.

Опис роботи системы змазки

Внимательное отношение к смазке, нормальная робота систем змазки є гарантией безотказной роботи верстата і его долговечности.

На станке имеются две изолированные централизованные системы змазки:

Масляный резервуар і насос змазки коробки швидкостей находятся в станине. Масло в резервуар заливается через крышку 5 до середины маслоуказателя 9. При необходимости уровень масла должен пополняться. Слив масла производится через патрубок 6.

Контроль за работой системы змазки коробки швидкостей осуществляется маслоуказателем 7.

Масляный резервуар і насос змазки вузлів, обеспечивающих рух подачі, расположены в консоли. Масло в резервуар заливается через угольник 2 до середины маслоуказателя 1. Превышать етот уровень не рекомендуется: заливка выше середины маслоуказателя може привести к подтекам масла из консоли і коробки подач. Кроме того, при переполненном резервуаре масло через рейки затекает в корпус коробки переключения, что може привести к порче конечного выключателя кратковременного увімкнення двигуна подач. При снижении уровня масла до нижней точки маслоуказателя необходимо пополнять резервуар. Слив масла из консоли производится через пробку 3 в нижней частини консоли з левой стороны. Контроль за работой системы змазки коробки подач і консоли осуществляется маслоуказателем 10.

Работа системы змазки считается удовлетворительной, если масло каплями вытекает из подводящей трубки; наличие струйки или заполнение ниши указателя маслом свидетельствует о хорошей работе масляной системы.

Направляющие стола, салазок, консоли і механізмы приводу продольного ходу, расположенные в салазках, смазываются периодически от насоса, расположенного в консоли. Масло для змазки етих вузлів поступает из резервуара консоли. Смазка направляючих консоли осуществляется от кнопки 11, а смазка направляючих салазок, стола і механізмов приводу продольного ходу — от кнопки 12.

Достаточность змазки оценивается по наличию масла на направляючих.

Смазка должна производиться з учетом степени загрузки верстата, как правило, перед работой (ориентировочно два раза в смену при длительности 15—20 сек.

Смазка підшибників кінцівых опор (точки 4) гвинта поздовжньої подачі производится шприцеванием.





6М12П Верстат консольно-фрезерный вертикальний з поворотной головкой. Відеоролик.





    Список литературы:

  1. Вертикальные консольно-фрезерные верстати 6Р12, 6Р12Б, 6Р13, 6Р13Б. Руководство по експлуатации, 1977
  2. Консольно-фрезерные верстати 6Р82, 6Р82Г, 6Р83, 6Р83Г. Руководство по експлуатации,
  3. Широкоуниверсальные консольно-фрезерные верстати 6Р82Ш, 6Р83Ш. Руководство по експлуатации 6Р82Ш.00.000 РЭ. Часть 1, 1984

  4. Аврутин С.В. Основы фрезерного дела, 1962
  5. Аврутин С.В. Фрезерне дело, 1963
  6. Ачеркан Н.С. Металлорежущие верстати, Том 1, 1965
  7. Барбашов Ф.А. Фрезерне дело 1973
  8. Барбашов Ф.А. Фрезерные роботи (Профтехобразование), 1986
  9. Блюмберг В.А. Справочник фрезеровщика, 1984
  10. Григорьев С.П. Практика координатно-расточных і фрезерных работ, 1980
  11. Копылов Р.Б. Работа на фрезерных верстатах, 1971
  12. Косовский В.Л. Справочник молодого фрезеровщика, 1992
  13. Кувшинский В.В. Фрезерование,1977
  14. Ничков А.Г. Фрезерные верстати (Библиотека станочника), 1977
  15. Пикус М.Ю. Справочник слесаря по ремонту металлорежущих верстатів, 1987
  16. Плотицын В.Г. Расчёты настроек і наладок фрезерных верстатів, 1969
  17. Плотицын В.Г. Наладка фрезерных верстатів,1975
  18. Рябов С.А. Современные фрезерные верстати і их оснастка, 2006
  19. Схиртладзе А.Г., Новиков В.Ю. Технологическое обладнання машиностроительных производств, 1980
  20. Тепинкичиев В.К. Металлорежущие верстати, 1973
  21. Чернов Н.Н. Металлорежущие верстати, 1988
  22. Френкель С.Ш. Справочник молодого фрезеровщика (3-е изд.) (Профтехобразование), 1978








Заказать

Кто владеет информацией - тот владеет миром.

Натан Ротшильд