Відомості про виробника точильно-шліфувального верстата моделі ТШ-2
Виробником точильно-шліфувального верстата моделі ТШ-2 є Оршанський верстатобудівний завод «Червоний борець» , заснований у 1900 році.
Верстати, що випускаються Оршанським верстатобудівним заводом
- 3Б70В - верстат плоскошліфувальний з горизонтальним шпинделем, 160 х 400
- 3Г71 - верстат плоскошліфувальний з горизонтальним шпинделем, 200 х 630
- 3Г71М - верстат плоскошліфувальний з горизонтальним шпинделем, 200 х 630
- 3Д711АФ10-1 (Орша 2045) - верстат плоскошліфувальний з хрестовим столом, 200 х 450
- 3Д711ВФ11 - верстат плоскошліфувальний з УЦІ, 200 х 630
- 3Е710В - верстат плоскошліфувальний з горизонтальним шпинделем, 125 х 250
- 3Е711АФ1 - верстат плоскошліфувальний особливо високої точності з УЦІ, 200 х 630
- 3Е711В - верстат плоскошліфувальний з горизонтальним шпинделем, 200 х 630
- 3Е711ВФ1 - верстат плоскошліфувальний з горизонтальним шпинделем з УЦІ, 200 х 630
- 3Е711ВФ2 - верстат плоскошліфувальний з ЧПУ, 200 х 630
- 3Е721 - (ОШ-550) плоскошліфувальний верстат з горизонтальним шпинделем, 320 х 630
- 3701 - верстат плоскошліфувальний особливо високої точності, 125 х 400
- 3711 - верстат плоскошліфувальний особливо високої точності, 200 х 630
- Орша-Ф32Ш - верстат консольно-фрезерний широкоуніверсальний, 320 х 1400
- Орша-Ф32У - верстат консольно-фрезерний універсальний, 320 х 1400
- СФ-1 - верстат свердлильно-фрезерний настільний, Ø 23
- ТШ-1 - верстат настільний точильно-шліфувальний, Ø 250
- ТШ-2 - верстат точильно-шліфувальний, Ø 300
- ТШ-3 - верстат точильно-шліфувальний, Ø 400
- ТШ-4 - верстат точильно-шліфувальний, Ø 400
ТШ-2 Верстат точильно-шліфувальний на тумбі. Призначення, сфера застосування
Верстати настільні точильно-шліфувальні з двома колами ТШ-2 призначені для виконання слюсарних робіт - зняття задирок, фасок, обдирки литників, для заточування та доведення металорізального деревообробного та іншого інструменту - свердлів, різців, ножів.
При застосуванні відповідних пристроїв можуть бути використані для шліфування та полірування деталей.
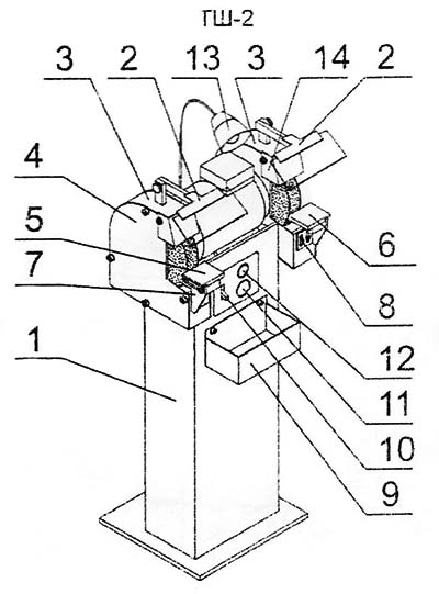
Загальне компонування верстата точильного ТШ-2
Верстат ТШ-2 складаються із зварної тумби 1, на якій встановлений електродвигун. До тумби кріпляться ггвинтами два захисні кожухи.
Установка підручників 5 і 6 у необхідному положенні проводиться переміщенням їх у пазах кронштейнів 7 і 8, які, у свою чергу, кріпляться до підставки (тумби) і можуть переміщатися щодо неї.
На валу електродвигуна є планшайби для встановлення кіл. Кріплення кіл див. рис. 2. Перелік органів керування та графічних символів наведено у табл. 5.
Обробка виробів на верстаті тш2
Перед початком роботи зробити правку кіл.
Для зміни кола на верстаті ТШ-2 зняти кришку кожуха, відвернути шість гвинтів М6 фланця (див. рис. 2), зняти фланець та коло.
- Для кіл Н=50 мм проставка не встановлюється;
- Для кіл Н=32...40 мм встановлюється проставка Н=8 мм;
- Для кіл Н=20 мм встановлюються проставки Н=12 мм;
- Для кіл Н=10...16 мм встановлюються обидві проставки.
Для підключення пиловідсмоктувального агрегату на верстаті є роз'єм кріплення патрубка (див. рис.6):
- на верстаті моделі ТШ-1, ТШ-3 рознімання розташовані на задніх стінках кожухів;
- на верстаті ТШ-2 роз'єм розташований на задній стінці тумби.
Модифікації точильно-шліфувальний верстат ТШ-2
ТШ-2 - універсальний точильний шліфувальний верстат
ТШ-2 виконання 10 - універсальний точильний шліфувальний верстат зі світильником
ТШ-2 виконання 01 - універсальний точильний шліфувальний верстат підвищеної потужності
Аналоги точильно-шліфувальний верстат ТШ-2
3ТШ-2 - Ø300 - виробник Металіца, ТОВ
ВЗ-379 - Ø350 - виробник Візас, ВАТ м. Вітебськ
ВС3-4004 - Ø350 - виробник Воронезький верстатозавод, ВАТ
Загальний вигляд точильно-шліфувального верстата ТШ-2

Фото токарного верстата ТШ-2
Кріплення шліфувального кола точильно-шліфувального верстата ТШ-2

Кріплення шліфувального круга точильного верстата ТШ-2
Розташування складових частинин та органів керування точильно-шліфувальним верстатом ТШ-2

Розташування складових частинин точильного верстата ТШ-2
Специфікація складових частинин та органів керування точильно-шліфувальним верстатом ТШ-2
- Тумба - ТТГ-2.00.0.010.2.00
- Кронштейн - ТШ-1.50.1.000.0.00
- Кожух лівий - ТШ-2.00.0.030.1.00, Кожух правий ТШ-2.00.0.040.1.00
- Кришка - ТШ-2.00.0.060.1.00
- Навчальний посібник - ТШ-2.00.0.050.1.00
- Навчальний посібник - ТШ-2.00.0.050.1.00
- Кронштейн - ТШ-2.00.0.070.0.00
- Кронштейн - ТШ-2.00.0.070.0.00
- Коробка - ТШ-2.00.0.020.0.00
- Електроустаткування
- виконання базове - ТШ-2.80.0.000.0.00
- виконання 10 - ТШ-2.80.0.000.0.00-01
- виконання 01 - ТШ-2.80.0.000.0.00
- Кнопка "Стоп"
- Кнопка "Пуск"
- Світильник НКП03-60-003УХЛ4 ТУ3.62-00214267-088-00
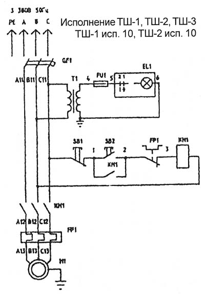
Електроустаткування точильного верстата ТШ-2
На верстатах встановлено:
- електродвигун М1, що працює у режимі трифазного включення
- вступний автомат QF1
- пускач електромагнітний КМ1
- кнопка пуск SB2
- кнопка стоп SB1
Вся аппаратура размещена в нише подставки (тумбы) на панелях. Ввод питающих проводов производится через отверстие в задньої стенке подставки (тумбы) к вводному выключателю QF1.
Первоначальный пуск верстата ТШ-2
Сечение питающих проводов должно быть не менее 1,0 мм2 медных или 2,5 мм2 алюминиевых.
Опис роботи в режиме трехфазного увімкнення (рис. 5)
Увімкненням вводного выключателя QF1 подается напряжение на верстат. Нажатием кнопки SB2 «Пуск» включается магнитный пускатель КМ1 і подает напряжение на обмотки трехфазного електродвигуна.
Останов електродвигуна производится нажатием на кнопку SB1 «Стоп». При етом происходит відключення магнитного пускателя КМ1.
Захист електроустаткування от перегрузки производится електротепловым реле FP1.
Відомості о расцветке проводов:
- черный цвет провода — силовые ланцюги
- красный цвет провода — ланцюги керування
- зелено-желтый цвет провода — ланцюги защиты
Схема електрична точильно-шлифовального верстата ТШ-2 (виконання 01)

Електрична схема верстата ТШ-2 (виконання 01)
Схема електрична точильно-шлифовального верстата ТШ-2 (виконання 10)

Електрична схема верстата ТШ-2 (виконання 10)
Технічні характеристики точильного шлифовального верстата ТШ-2
| Наименование параметра |
ТШ-1 |
ТШ-2 |
ТШ-3 |
ТШ-4 |
| Шлифовальный круг по ГОСТ 2424-83 на керамической связке |
|
|
|
|
| Наружный диаметр круга, мм |
250 |
300 |
400 |
400 |
| Высота круга, мм |
10..40 |
10..50 |
50 |
50 |
| Посадочный диаметр круга, мм |
32 |
76 |
127 |
203 |
| Диаметр изношенного круга, мм |
140 |
150 |
240 |
|
| Класс неуравновешенности |
1, 2 |
1, 2 |
1, 2 |
|
| Высота центров от основания, мм |
265 |
950 |
950 |
950 |
| Шпидель |
|
|
|
|
| Частота обертання, 1/мин |
1500 |
1500 |
950 |
1440 |
| Максимальная скорость різання, м/с |
19,5 |
23,5 |
20 |
|
| Електроустаткування |
|
|
|
|
| Питающая сеть |
~380 В 50 Гц |
~380 В 50 Гц |
~380 В 50 Гц |
~380 В 50 Гц |
| Електродвигун привода, кВт |
2,2 |
2,2 |
3,0 |
7,5 |
| Габарити і масса верстата |
|
|
|
|
| Габарити верстата (длина ширина высота), мм |
610 х 470 х 615 |
610 х 470 х 1340 |
660 х 600 х 1670 |
1000 х 620 x 1315 |
| Масса верстата, кг |
82 |
112 |
220 |
560 |
Список литературы:
- Альперович Т.А., Константинов К.Н., Шапиро А.Я. Конструкція шлифовальных верстатів, 1989
- Альперович Т.А., Константинов К.Н., Шапиро А.Я. Наладка і експлуатация шлифовальных верстатів, 1989
- Дибнер Л.Г., Цофин Э.Е. Заточные автоматы і напівавтоматы, 1978
- Генис Б.М., Доктор Л.Ш., Терган В.С. Шлифование на круглошлифовальных верстатах, 1965
- Кащук В.А., Верещагин А.Б. Справочник шлифовщика, 1988
- Куликов С.И. Хонингование, 1973
- Лисовой А.И. Пристрій, наладка і експлуатация металлорежущих верстатів, 1971
- Лоскутов В.В. Шлифование металлов, 1985
- Лоскутов В.В. Шлифовальные верстати, 1988
- Лурье Г.Б. Шлифовальные верстати і их наладка,1972
- Лурье Г.Б. Пристрій шлифовальных верстатів,1983
- Меницкий И.Д. Універсально-заточные верстати ,1968
- Муцянко В.И. Братчиков А.Я. Бесцентровое шлифование, 1986
- Наєрман М.С., Наєрман Я.М. Посібник для підготовки шліфувальників. Навчальний посібник для ПТУ, 1989
- Попов С.А. Шліфувальні роботи, 1987
- Терган В.С. Шліфування на круглошліфувальних верстатах, 1972
- Шамов Б.П. Типи та конструкції основних вузлів шліфувальних верстатів, 1965