Виробник плоскошліфувального верстата 3Б70В Оршанський верстатобудівний завод "Червоний борець" , заснований в 1900 році.
У 1959 році на заводі почалося виробництво плоскошліфувальних верстатів високої та особливо високої точності.
У 1967 році був випущений плоскошліфувальний верстат 3711 перший в СРСР металорізальний верстат особливо високої точності.
Універсальний плоскошліфувальний верстат 3Б70В високої точності з горизонтальним шпинделем та хрестовим столом призначений для шліфування поверхонь периферією кола. У певних межах можливе оброблення поверхонь, розташованих під кутом 90° до дзеркала столу.
Плоскошліфувальний верстат 3Б70В призначений для шліфування плоских поверхонь різних виробів, закріплених на дзеркалі столу, магнітній або електромагнітній плиті або пристосуванні. У межах, допустимих кожухом, можливе шліфування пазів та фасонних поверхонь.
За спеціальним замовленням за окрему плату разом зі верстатом 3Б70В може бути поставлена низка пристроїв, що розширюють технологічні можливості верстата.
Із застосуванням різних пристроїв можливе профільне шліфування різних деталей. Точність профілю при цьому залежить від методу заправки профілю кола і від пристрій, що застосовується для кріплення деталей.
Верстат 3Б70В використовується в одиничному, дрібносерійному та серійному виробництві.
Верстат 3Б70В комплектується стандартною електромагнітною плитою.
Виробник – Оршанський верстатобудівний завод Червоний борець.
Основні параметри верстата – відповідно до ГОСТ 13135. Верстати плоскошліфувальні з прямокутним столом. Основні розміри. Норми точності.

Габарити робочого простору верстата 3Б70в

Посадочні та приєднувальні бази верстата 3Б70в

Схема циклу плоскошліфувального верстата 3Б70в

Фото плоскошліфувального верстата 3Б70в

Фото плоскошліфувального верстата 3Б70в

Фото плоскошліфувального верстата 3Б70в

Фото плоскошліфувального верстата 3Б70в

Фото плоскошліфувального верстата 3Б70в

Розташування складових частинин шліфувального верстата 3Б70в

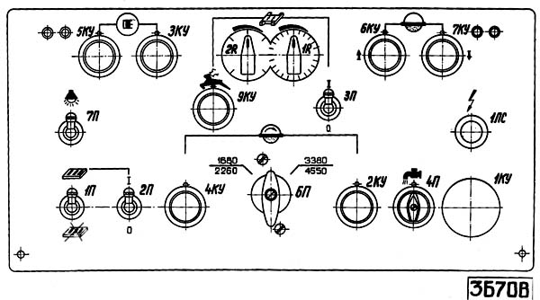
Розташування органів керування плоскошліфувальним верстатом 3Б70в

Пульт керування плоскошліфувальним верстатом 3Б70в

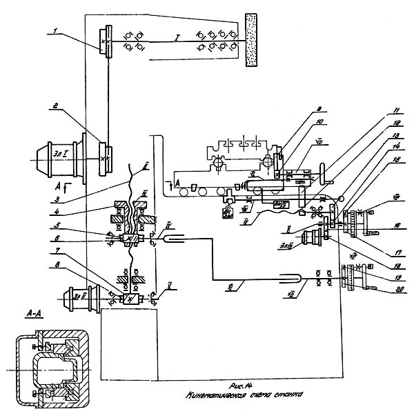
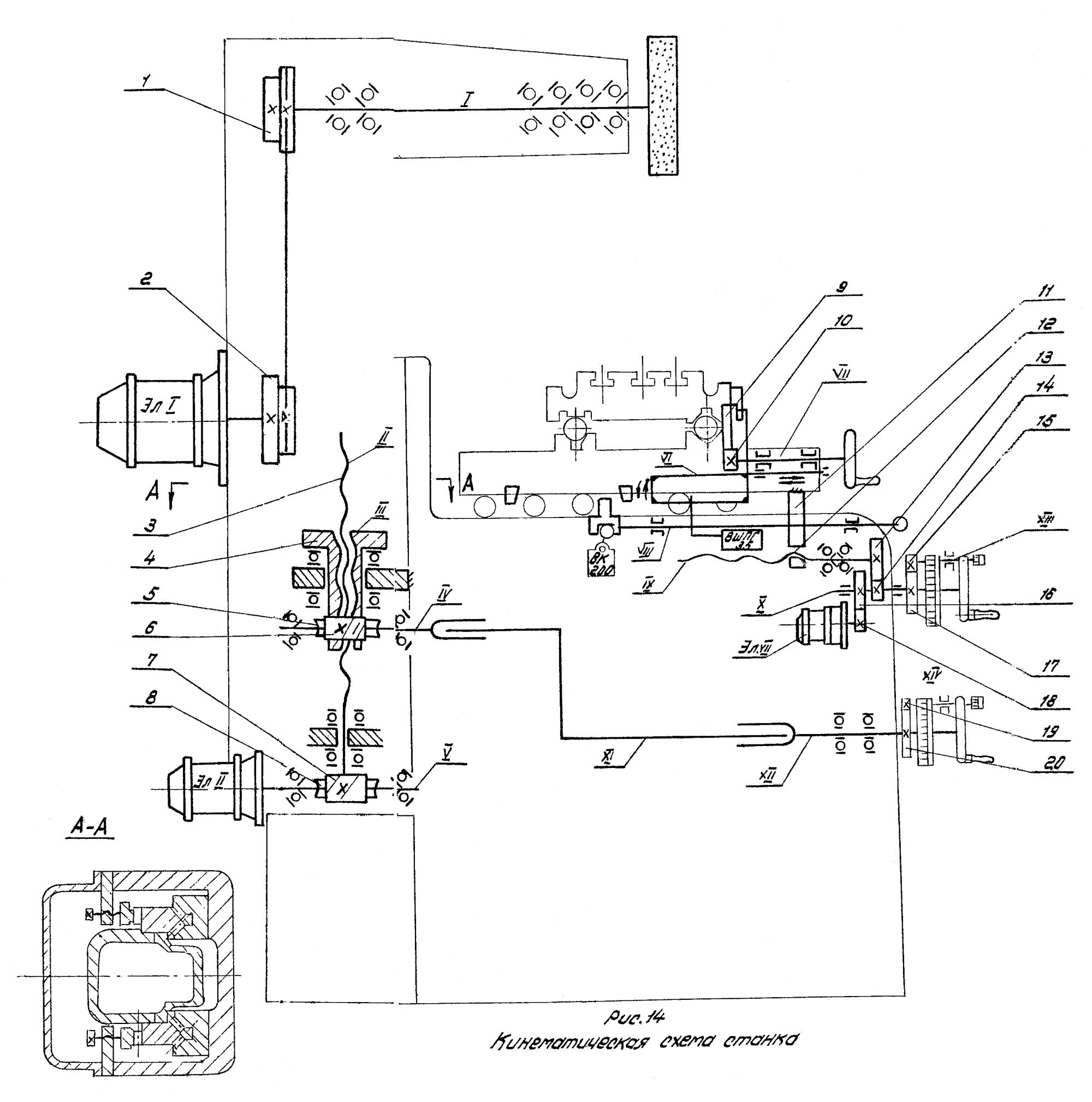
Кінематична схема плоскошліфувального верстата 3Б70В
Схема кінематична плоскошліфувального верстата 3Б70В. Дивитись у збільшеному масштабі
Головний рух шпиндель II та шліфувальний круг отримують від електродвигуна М1 через ремінну передачу.
Поперечна подача хрестового супорта здійснюється від електродвигуна постійного струму М2 через косозубі колеса Z=34/100, Z=60/100 та ходовий гвинт VII. При включенні муфти вправо – (колесо Z=100) відбувається автоматична подача супорта – безперервна чи переривчаста кожний хід чи подвійний хід столу. Для забезпечення переривчастої подачі при поздовжньому реверсі столу дається команда включення двигуна М2 від безконтактного колійного перемикача.
Поздовжня подача . Поворотно-поступальне переміщення столу можна здійснити вручну або від гідроприводу. Ручну подачу здійснюють маховичком 1 із вбудованим у нього планетарним механізмом. Сателіти z=18 і 2=19 обкатуються навколо нерухомого центрального колеса z=19 і через колесо z=20 обертають рейкове колесо z=18 і рейку. Поздовжнє переміщення столу за один оберт маховичка 1 дорівнює Snp = 11,3 мм.
Шпиндель шліфувального кола отримує обертання від електродвигуна Ml змінного струму через клинопасову передачу зі ступінчастиними шківами 1 і 2, що дозволяють змінювати число обертів при роботі колами малого діаметра з 3380 до 4550 об/хв, а для шліфування твердих сплавів 20/2 з 2.
Натяг ременя провадиться за рахунок опускання електродвигуна з підмоторною плитою.
Прискорене переміщення шліфувальної головки здійснюється від електродвигуна М2 через передачу черв'яку 7-8. Черв'ячне колесо закріплено на гвинті вертикальної подачі 3, через яке гвинт отримує обертання. Швидкість переміщення головки – 0,7 м/хв.
Вертикальна подача проводиться маховиком, закріпленим на валу XII, з'єднаним з валом IV редуктора вертикальної подачі порожнистим валом XI зі шліцевими з'єднаннями на кінцях. Обертання маховика передається черв'яку 6, закріпленому на валу IV, і далі черв'ячному колесу 5, з'єднаному з вертикальною гайкою подачі 4. Опора гайки жорстко з'єднана зі станиною верстата, а гвинт вертикальної подачі закріплений на колоні. Точна вертикальна подача здійснюється за допомогою кнопки, закріпленої на валу XIV, через шестерні 19-20.
Поперечна ручна подача проводиться маховиком, закріпленим на валу X, через шестерні 14-13, гвинт 12 і гайку 11. Гайка ггвинта ходового жорстко з'єднана з хрестовим супортом. Для точного подавання на валу XIII передбачена кнопка. Подача здійснюється через шестірні 16-17 і далі за тим же ланцюгом.
На верстаті передбачено автоматичну поперечну подачу від електродвигуна М7. У цьому випадку передача на ходовий гвинт здійснюється через шестерні 18-15-14-13. Розмір подачі регулюється зміною імпульсу струму. Рукоятку регулятора виведено на пульт керування. Електросхема верстата передбачає також безперервне переміщення хрестового супорта зі швидкістю 0,7 м/хв.
Для ручного поздовжнього переміщення стола передбачена рейка 9 та шестерня 10. Шестерня з'єднана з валом VII, на якому кріпиться маховик.
Автоматичний поздовжній реверс столу здійснюється системою важелів, що з'єднана з гідропанеллю ВШПГ-35.
Команду на поперечний реверс столу подає кінцевий вимикач ВК-200А, керований упорами, що регулюються, встановленими на хрестовому супорті. Для ручного реверсування до вилки вимикача (приєднано тягу VIII, що закінчується рукояткою).
У таблиці 4 подано перелік до кінематичної схеми.
Компонування верстата з хрестовим супортом і колоною, що переміщається у вертикальному напрямку, забезпечує високу жорсткість системи «шліфувальна головка - стіл», зручність обслуговування і легкість керування.
Верстат складається з основних вузлів, позначених на загальному вигляді (рис. 2).
На твердій литій станині кріпляться напрямні планки. По двох V-подібних горизонтальних направляючих у поперечному напрямку переміщається хрестовий супорт, а по двох V-подібних вертикальних направляючих переміщається колона, на якій кріпиться шліфувальна головка.
Усередині станини між напрямними колони встановлено редуктор вертикальної подачі. Гвинт подачі закріплений у нижній частинині колони. З лівого боку в ніші станини змонтовано гідропанель, що забезпечує безступінчасте регулювання швидкості столу та його реверсування.
У центральній частинині передньої стінки станини змонтовано механізм поперечної подачі. Справа на станині розташований механізм вертикальної подачі, з'єднаний з редуктором порожнистим валом зі шліцевим з'єднанням.
По хрестовому супорту в поздовжньому напрямку на кулькових направляючих переміщується стіл. Переміщення столу здійснюється двома гідроциліндрами плунжерного типу, вмонтованими в супорт під столом. Підведення масла до циліндрів проводиться по гнучких трубопроводах з гідробака, розташованого в порожнині станини.
Для ручного переміщення столу на супорті встановлено маховик.
Бак охолодження встановлюється поруч із верстатом з правого боку.
Електроустаткування верстата змонтовано в шафі, яка встановлюється поруч із верстатом.
Станина - це жорстка коробчаста чавунна виливок, що несе основні вузли верстата. Зверху кріпляться дві V-подібні сталеві загартовані напрямні планки 1, якими на роликах Ø 5 мм у поперечному напрямку переміщається хрестовий супорт. Задня стінка станини має вертикальне поглиблення, в якому по двох V-подібним напрямним 2 переміщується колона. Напрямні колони через ролики Ø 5 мм притискаються до направляючих станини ггвинтами 3. Між горизонтальними направляючими на платику 4 встановлюється редуктор вертикальної подачі.
Ніша станини використовується для встановлення гідроагрегату та розведення труб гідрокомунікації.
Колона є жорстким коробчастиним виливком, зверху якого кріпиться шліфувальна головка. Для вертикальних переміщень колона має дві сталеві загартовані напрямні планки 1.
До нижньої стінки колони на завзятих підшипниках кріпиться гвинт вертикальної подачі 2. Для швидких настановних переміщень знизу колони приєднується черв'ячний редуктор, колесо якого жорстко монтується на гвинті. Привід редуктор отримує від окремого електродвигуна 4, з'єднаного з хробаком 5 еластичною муфтою 6.
Для обмеження підйому на колоні встановлено кінцевий вимикач 7. Опускання (вниз не обмежується та контролюється положенням шліфувального круга).
На задній стінці колони монтується двошвидкісний двигун шпинделя приводу 8, що дозволяє в поєднанні з двоступінчастиними шківами 9 і 10 отримувати чотири швидкості (обертання шліфувального кола.
Натяг ременя 11 виробляється опусканням електродвигуна з підмоторною плитою 12.
Для захисту від абразивного пилу і бризок охолоджуючої рідини вертикальних направляючих механізмів, розташованих у колоні, зверху станини встановлюється литий алюмінієвий кожух. До передньої стінки кожуха кріпляться планки 1 і 2, в пазах (яких переміщуються щитки 3, 4, 5. У планці 2 з одного боку зроблений
Т-подібний паз, яким переміщається упор 6, а до іншої стороні прикріплена лінійка 7.
На шліфувальній головці є кронштейн 8 з покажчиком 9 і гніздом установки індикатора 10.
Хрестовий супорт призначений для повідомлення столу поворотно-поступального поперечного переміщення. Відлитий супорт разом з нижніми призматичними напрямними. Зверху на супорті встановлюються дві V-подібні загартовані напрямні планки 1, якими на кульках 3/4" (19,05 мм) в поздовжньому напрямку переміщається стіл. Від попадання «абразивного пилу направляючі закриті щитками 2.
Між напрямними встановлюються два гідроциліндри 3, штоки яких 4 пов'язані зі столом. Зверху на супорті розташована лінійка 5 і упор 6, що переміщується, що дозволяють виробляти грубі (по лінійці) і точні (за мірними плитками) відліки поздовжніх переміщень столу. Вказівник та індикатор встановлюються на столі.
Для відліку поперечних переміщень «а правому крилі супорта кріпиться напрямна планка 7, Т-подібному пазу якої переміщається кронштейн 8 з покажчиком і пристроєм для кріплення індикатора. Лінійка і упор, що переміщається, для встановлення кінцевих заходів поміщається на станині. Для зручності роботи молода може переміщатися в поздовжньому напрямку.
До передньої стінки (супорта кріпляться гайки 9 і 10 ггвинта поперечної подачі, осьовий зазор в яких (вибирається пружиною, що розтискається 20).
Зліва в передню стінку вбудовується механізм поздовжнього ручного переміщення столу. Щоб ввести шестерню 11 в зачеплення з рейкою стола, потрібно стиснути пружину 12. Фіксація шестірні в зачепленні проводиться кнопкою 13. При повороті штифт кнопки 14 проходить в паз планки 15 і пружина 16 переміщає стрижень 17 вниз.
Для безпеки роботи передбачено блокування ручного та (автоматичного переміщення столу. Для цього під супортом встановлюється мікроперемикач 18).
Коли (вал-шестерня 11 знаходиться в зачепленні з рейкою столу, важіль 19, одним кінцем входить в паз шестірні, повертаючись на осі, звільняє наконечник перемикача. Ланцюг, що живить електродвигун гідроприводу, розривається.
Жорстка чавунна виливок, що має у верхній частинині дзеркало 1 з трьома Т-подібними пазами.
До нижньої частинини столу пригорнуті дві загартовані сталеві натравлюючі 2 і 3, за якими на кульках 3/4" (19,05 мм) він переміщається в поздовжньому напрямку. з торців столу встановлені крила 5, а для захисту від розбризкування охолоджуючої рідини на столі встановлений кожух 6 зі щитками 7, 8, 9, 10. На столі змонтовано індикаторний пристрій 11, що дозволяє робити точні відліки поздовжніх переміщень столу. столу та фіксується в потрібному положенні гвинтом 12.
Механізм поперечної подачі верстата забезпечує:
Автоматична поперечна подача відбувається в момент поздовжнього реверсу столу за рахунок подачі імпульсу струму на електродвигун 1, з'єднаний системою шестерень 2, 3 та 5 з гвинтом поперечної подачі 6.
Зміна величини подачі здійснюється поворотом ручки перемикача на пульті керування.
При роботі з автоматичною поперечною подачею маховик 7 (сидить на валу 8, повинен бути роз'єднаний з шестернею 3. Для цього потрібно відвернути гвинт 9, і сухарики 10 під впливом пружини 11 відійдуть назад і роз'єднають шестерню 3 з валом 8. При ручній пода 8 має бути з'єднаний з шестернею 3.
Механізм має пристрій для тонкої подачі, яке при грубому переміщенні супорта вимикається переміщенням кнопки 12 положення «На себе».
Прискорене настановне переміщення включається тумблером, розташованим на пульті керування.
Механізм є системою важелів, що забезпечують перемикання золотника реверсу гідропанелі в крайніх положеннях столу.
Механізм працює наступним чином: на столі встановлюються упори 1 і 2, які переміщаються в Т-подібну пазу залежно від необхідної величини ходу. У хрестовому супорті на валу 3 закріплені важелі 4 і 5, з'єднані між собою валиком 6. При переміщенні столу упори через штифти 7 і 8 відхиляють важіль 4, а з ним і валик 6. Валик 6 повертає вилку 9, закріплену .При повороті шестерні переміщається пов'язаний з нею. золотник реверсу.
Механізм забезпечує реверсування столу вручну рукояткою 11. Для (виведення столу в крайнє праве положення вручну без перемикання вилки 9 необхідно упор поворотом 1 навколо осі підняти вгору.
Механізм здійснює автоматичне та ручне реверсування поперечного ходу столу.
Величина ходу встановлюється кулачками 1 і 2, які під час руху супорта переміщують хомут 5 і пов'язаний з ним важіль кінцевого вимикача 4. Для можливості ручного перемикання передбачена тяга 5 з рукояткою 6.
Шліфувальна головка є одним з важливих вузлів верстата, і від її якості багато в чому залежить чистота і точність виробів, що обробляються.
Шпиндель головки 1 змонтований на прецизійних радіально-упорних шарикопідшипниках - чотири в передній і два в задній опорах. Підшипники зібрані з попереднім натягом за рахунок точного припасування розпірних кілець 2 і 3, встановлених між ними. Осьовий зазор вибирається пружинами 4.
Спереду шпиндель закінчується конічною посадковою поверхнею, на якій встановлюється зібране на фланці 5 шліфувальне коло. Для статичного балансування кола у фланці 5 та гайці 6 є пази, в яких розташовані вантажі 7.
У комплект приладдя до верстата входить фланець, що дозволяє встановлювати шліфувальне коло заввишки 40 мм.
Шпиндель з підшипниками монтується в гільзі 8 і зібраному вигляді встановлюється в розточування корпусу 9.
Мастило підшипників проводиться консистентним мастилом ЦИАТИМ-202.
Шпиндель приводиться в обертання від електродвигуна головного приводу через двоступінчасту клинопасову передачу.
Редуктор вертикальної подачі служить передачі руху від механізму вертикальної подачі на гвинт. Він змонтований окремим вузлом та встановлений у заглибленні на верхній стінці станини.
На верстаті передбачено лише ручну вертикальну подачу. Механізм забезпечує грубу подачу маховиком 1 або тонку подачу кнопкою 2. З редуктором вертикальної подачі механізм пов'язаний шліцевим валом 3. Для запобігання мимовільній подачі маховик гальмується пружними колодочками 4.
Під час грубої подачі кнопка 2 має бути в положенні "На себе".

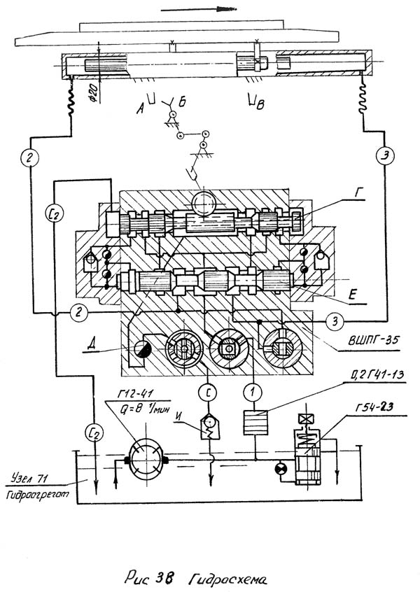
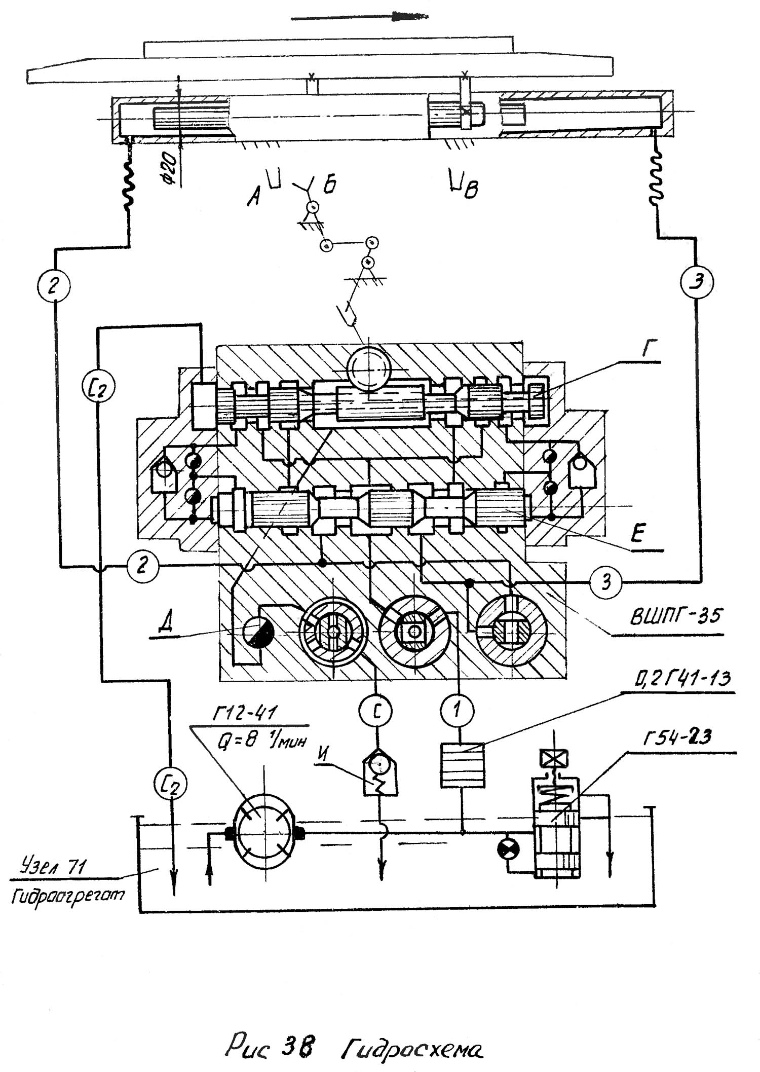
Гідравлічна схема плоскошліфувального верстата 3Б70В
Схема гідравлічна плоскошліфувального верстата 3Б70В. Дивитись у збільшеному масштабі
Гідравлічна система для гами плоскошліфувальних верстатів ЗЕ711В призначена для реверсованого поздовжнього переміщення столу.

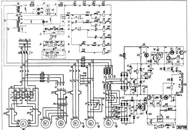
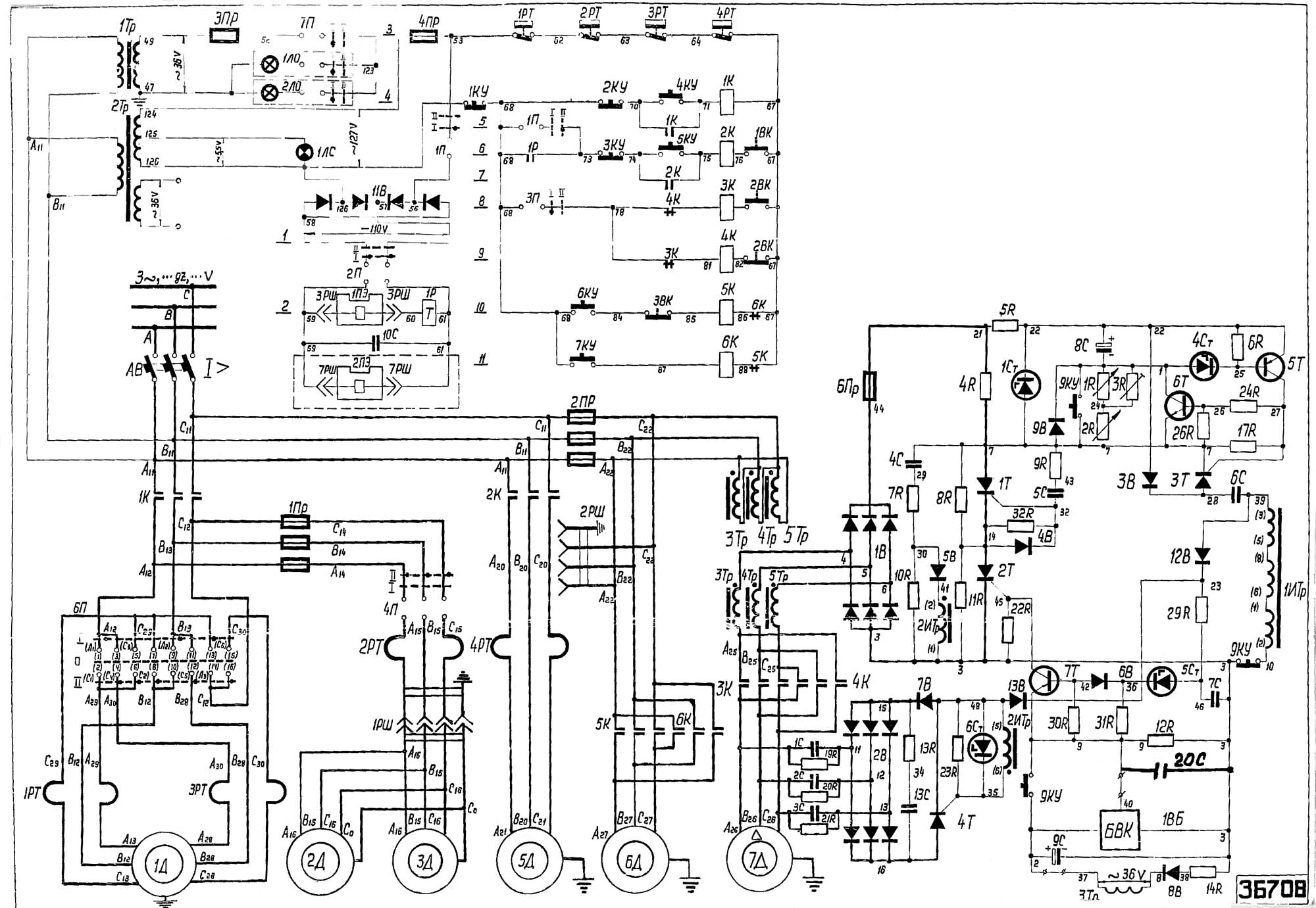
Електрична схема плоскошліфувального верстата 3Б70В
Схема електрична плоскошліфувального верстата 3Б70В. Дивитись у збільшеному масштабі
Підведення напруги живлення здійснюється мідним проводом перетином 4 мм². Введення живильних проводів проводиться через фланцевий косинець з різьбленням труби З/4", розташований на правій стінці електрошафи. Ввідні проводи заводяться на ввідний клемник КЛ1, розташований на правій бічній стінці електрошафи. .
На верстаті використовуються наступні величини напруг змінного і постійного струму:
Електроустаткування верстата містить:
Верстат підключається до мережі трифазного змінного струму напругою, частотою Гц.
На асинхронні короткозамкнуті електродвигуни М1, М2, М3, М5, М6 та трансформатор Тр3 подається напруга трифазного змінного струму.
На електродвигун М7 подається напруга 220 змінного трифазного струму, що знімається з трансформатора Тр3; на ланцюзі керування - 110В змінного струму від трансформатора Тр2;
на кронштейни місцевого освітлення Л1 і Л2 - 24 В змінного струму від трансформатора Tpl;
на апаратуру сигналізації Л3 - 5 змінного струму від трансформатора Тр2;
на електромагнітний пристрій - 110В постійного струму через випрямляч Д11.

Настановне креслення плоскошліфувального верстата 3Б70В
| Найменування параметру | 3B70B | |
|---|---|---|
| Основні параметри | ||
| Клас точності згідно з ГОСТ 8-82 | У | |
| Найбільші розміри виробів, що обробляються (довжина х ширина х висота), мм | 400 х 160 х 320 | |
| Відстань від осі шпинделя до дзеркала стола, мм | 80..420 | |
| Найбільша маса виробів, що обробляються, кг | 50 | |
| Точнісні параметри, що максимально досягаються на зразку-виробі | ||
| шорсткість поверхні, обробленої периферією шліфувального кола, Ra | 10 | |
| Робочий стіл верстата | ||
| Розміри робочої поверхні столу (довжина x ширина), мм | 400 х 160 | |
| Найбільше поздовжнє переміщення столу, мм | 480 | |
| Найбільше поперечне переміщення столу, мм | 190 | |
| Швидкість поздовжнього переміщення столу (безступінчасте регулювання), м/хв. | 2..20 | |
| Переміщення столу за один оберт маховика механізму поздовжнього переміщення, мм | ||
| Супорт столу. Механізм поперечної подачі столу | ||
| Ціна поділу лімба маховика поперечного переміщення столу, мм | 0,02 | |
| Ціна поділу лімба мікрометричної подачі поперечного переміщення столу, мм | 0,005 | |
| Автоматична поперечна подача на кожен хід столу (безступінчасте регулювання), мм | 0,3..10 | |
| Прискорене переміщення хрестового супорту столу, м/хв. | 0,7 | |
| Шліфувальна головка. Шліфувальне коло | ||
| Найбільше вертикальне переміщення шліфувальної головки, мм | 340 | |
| Прискорене вертикальне переміщення шліфувальної головки, м/хв. | 0,7 | |
| Розміри шліфувального кола, мм | 200 х 25 х 32 | |
| Число оборотів шліфувального кола за хвилину | 3380..4550, 1680..2260 | |
| Максимальна швидкість різання, м/с | ||
| Ціна поділу лімба маховика вертикального переміщення, мм | 0,005 | |
| Ціна поділу лімба тонкої вертикальної подачі, мм | 0,002 | |
| Автоматична подача вертикального переміщення, мм | ні | |
| Електроустаткування та привід верстата | ||
| Кількість електродвигунів на верстаті | 6 | |
| Електродвигун приводу шпинделя шліфувального круга, кВт (об/хв) | 1,0/ 1,4 (2750/ 1400) | |
| Електродвигун гідроприводу столу, кВт (об/хв) | 0,6 (1350) | |
| Електродвигун приводу поперечної подачі, кВт (об/хв) | 0,12 (1390) | |
| Електродвигун прискореного переміщення шліфувальної головки, кВт (об/хв) | 0,6 (2800) | |
| Електродвигун насоса охолодження, кВт (об/хв) | 0,125 (2800) | |
| Електродвигун магнітного сепаратора у комплекті з агрегатом, кВт (об/хв) | 0,08 (1390) | |
| Загальна встановлена потужність усіх електродвигунів, кВт | 2,92 | |
| рід струму мережі живлення | 380 В, 50 Гц | |
| Габарити та маса верстата | ||
| Габарит верстата (довжина x ширина x висота), мм | 1465 х 1950 х 1610 | |
| Маса верстата, кг | 1500 |