Виробник плоскошліфувального верстата 3Е711ВФ1 Оршанський верстатобудівний завод "Червоний борець" , заснований в 1900 році.
У 1959 році на заводі почалося виробництво плоскошліфувальних верстатів високої та особливо високої точності.
У 1967 році був випущений плоскошліфувальний верстат 3711 перший в СРСР металорізальний верстат особливо високої точності.
Універсальний плоскошліфувальний верстат високої точності з горизонтальним шпинделем та хрестовим столом 3Е711ВФ1 призначений для шліфування плоских поверхонь периферією кола плоских поверхонь різних виробів, закріплених на дзеркалі столу, магнітній та електромагнітній плитах або у пристосуванні. Можливе шліфування торцем кола вертикальних поверхонь.
Верстат 3Е711ВФ1 з числовим програмним керуванням призначений для шліфування виробів, закріплених на дзеркалі столу, магнітній або електромагнітній плиті або в пристрої. У межах, допустимих кожухом, можливе шліфування пазів та фасонних поверхонь.
Із застосуванням спеціальних пристосувань для профілювання шліфувальних кругів та кріплення деталей на верстатах можливе профільне шліфування фасонних поверхонь та пазів, проте найбільш економічно дані роботи проводити на верстатах 3E711В, 3E711B-1, 3E721B-1.
На верстаті можлива робота по циклу, що включає чернові та чистові подачі при вибраних припусках, вихід на розмір, виходжування, автоматичне відведення кола та виведення столу в зону завантаження.
Величину знімання припуску та подач відображає цифрова індикація.
Програмування здійснюється попереднім набором на галетних перемикачах величин чорнових та чистових подач, припуску на чистову обробку, кількість ходів виходжування та величини автоматичного відведення шліфувального кола.
Можливе багатоверстатне обслуговування. Верстат вбудовується в автоматичні лінії.
Пил і шлам змиваються рідиною, що охолоджує, потім відокремлюються магнітним сепаратором і скидаються в лоток. Замість охолодження можна застосовувати пиловідсмоктуючий агрегат.
Приставне обладнання підключається до готової електропроводки зі штепсельними роз'ємами.
Неплощинність та непаралельність оброблених поверхонь зразка розмірами 380 x 120 не більше 0,004 мм.
Середній рівень звуку LA не повинен перевищувати 77 дБА (коригований рівень звукової потужності LpA за ОСТ2 Н89-40-75 не повинен перевищувати 93 дБА).
Шорсткість оброблених поверхонь: периферією кола Rа 0,16 та торцем кола Ra 0,63 мкм.
Клас точності верстата за ГОСТ 8—77.
Розробник - Вітебське СКБ зубообробних шліфувальних та заточувальних верстатів.

Габарити робочого простору верстата 3Е711ВФ1

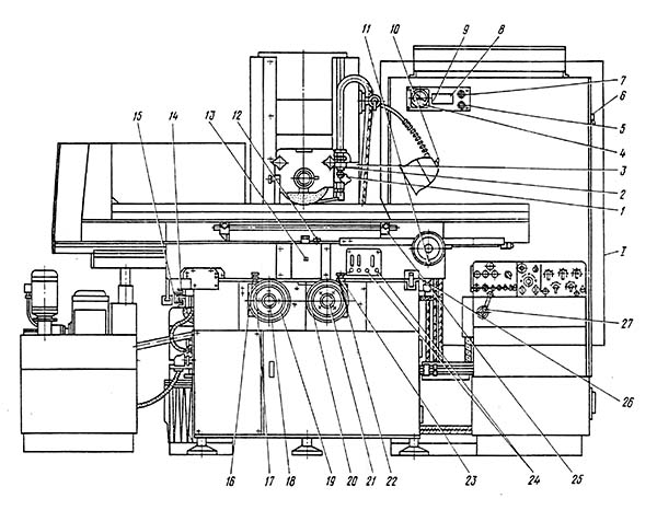
Посадочні та приєднувальні бази шліфувального верстата 3Е711ВФ1

Фото плоскошліфувального верстата 3Е711ВФ1
Фото плоскошліфувального верстата 3Е711ВФ1. Дивитись у збільшеному масштабі

Фото плоскошліфувального верстата 3Е711ВФ1
Фото плоскошліфувального верстата 3Е711ВФ1. Дивитись у збільшеному масштабі

Фото плоскошліфувального верстата 3Е711ВФ1
Фото плоскошліфувального верстата 3Е711ВФ1. Дивитись у збільшеному масштабі

Фото плоскошліфувального верстата 3Е711ВФ1
Фото плоскошліфувального верстата 3Е711ВФ1. Дивитись у збільшеному масштабі

Фото плоскошліфувального верстата 3Е711ВФ1
Фото плоскошліфувального верстата 3Е711ВФ1. Дивитись у збільшеному масштабі

Фото плоскошліфувального верстата 3Е711ВФ1
Фото плоскошліфувального верстата 3Е711ВФ1. Дивитись у збільшеному масштабі

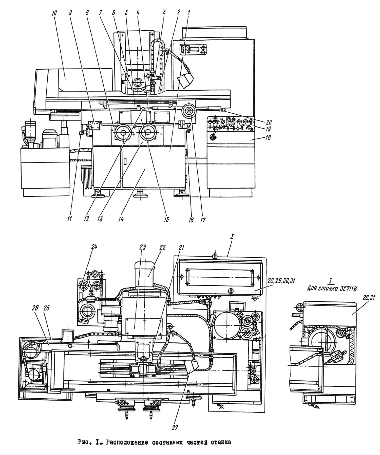
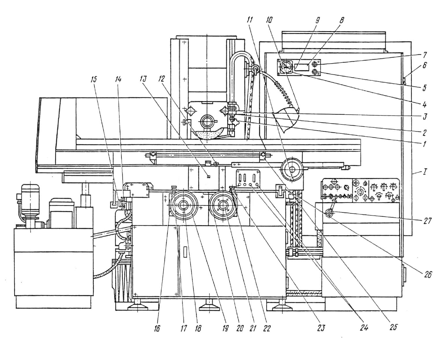
Розташування складових частинин плоскошліфувального верстата 3Е711ВФ1

Розташування органів керування плоскошліфувальним верстатом 3Е711ВФ1

Пульт керування керування плоскошліфувальним верстатом 3Е711ВФ1
Пульт керування керування плоскошліфувальним верстатом 3Е711ВФ1. Дивитись у збільшеному масштабі

Фото пульта керування плоскошліфувального верстата 3Е711ВФ1
Фото пульта керування плоскошліфувального верстата 3Е711ВФ1. Дивитись у збільшеному масштабі

Кінематична схема плоскошліфувального верстата 3Е711ВФ1
Кінематична схема плоскошліфувального верстата 3Е711ВФ1. Дивитись у збільшеному масштабі
Основні механізми та рухи у верстаті . На станині змонтовано колону. Хрестовий супорт перемішається по горизонтальним напрямним кочення станини. Стіл здійснює поздовжній зворотно поступальний рух на горизонтальних направляючих кочення. Шліфувальна головка переміщається вертикальними напрямними колони. У верстаті змонтовані механізми вертикальної та поперечної подачі, а також гідропривід.
Головний рух шпиндель та шліфувальний круг отримують від електродвигуна через ремінну передачу.
Поперечна подача хрестового супорта здійснюється від електродвигуна постійного струму через косозубі колеса. При включенні муфти вправо відбувається автоматична подача супорта - безперервна або переривчаста на кожен хід або подвійний хід столу. Для забезпечення переривчастої подачі при поздовжньому реверсі столу дається команда включення двигуна М2 від безконтактного колійного перемикача.
Поздовжнє подання Зворотно-поступальне переміщення столу можна здійснити вручну або від гідроприводу. Ручну подачу здійснюють маховичком із вбудованим у нього планетарним механізмом. Сателіти обкатуються навколо нерухомого центрального колеса z=19 і через колесо z=20 обертають рейкове колесо z=18 і рейку. Поздовжнє переміщення столу за один оберт маховичка 1 дорівнює Snp = 11,3 мм.

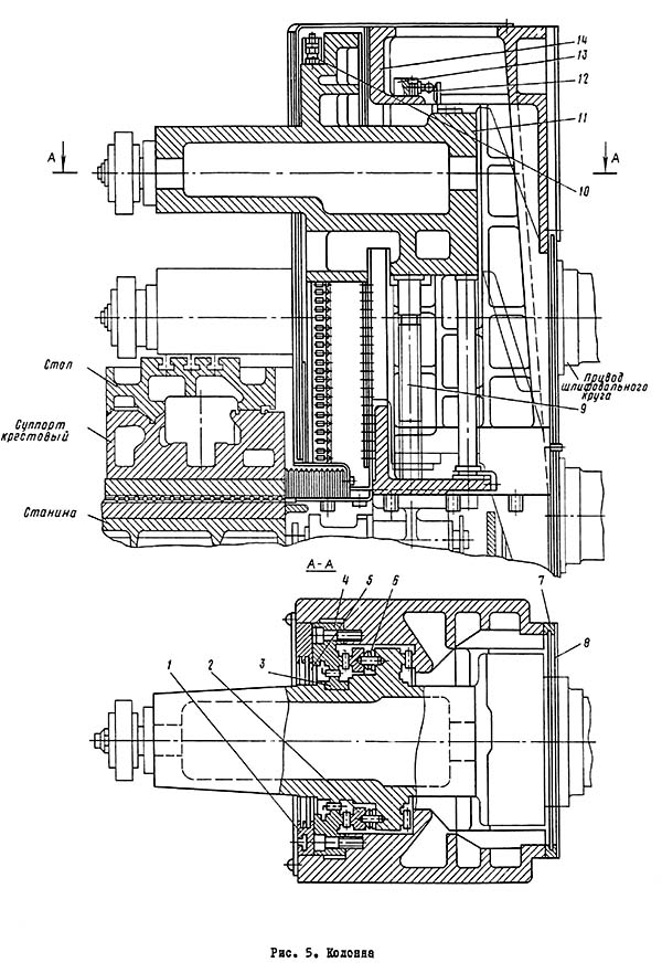
Колона плоскошліфувального верстата 3Е711ВФ1
Колона плоскошліфувального верстата 3Е711ВФ1. Дивитись у збільшеному масштабі
Механізм (рис. 8) призначений для точної установки столу та відліку переміщень. На хрестовому супорті 2 в поперечному напрямку передбачивши кронштейн 5 з індикатором 4. Упор 3 Т-подібному пазу кронштейна I кріпиться до станини 6 праворуч. Упор 3 може встановлюватися на всій довжині поперечного переміщення супорта 2. Лінійка закріплена на станині 6, а упор на супорті 2.
Датчик (рис. 9) призначений для керування автоматичною вертикальною подачею. Він забезпечує автоматичне перемикання чорнових подач на чистові, встановлення бажаної величини чистового припуску та відключення подачі після досягнення заданого розміру. Датчик встановлений на колоні 8 і переміщається в Т-подібному пазу, фіксація його в потрібному положенні з висоті виробляється гайками 7. На шліфувальній головці 10 встановлений кронштейн 5 з мікрометричним упором 6, який впливає на упор датчика 4, пов'язаний з перемиканням контактів Команд.
При шліфуванні партії деталей після кожної редагування шліфувального кола для забезпечення отримання заданого розміру по висоті мікрометричний упор 6 слід перемістити вгору на величину переміщення шліфувальної головки 10 вниз, виробленому при редагуванні шліфувального круга, тобто на величину зменшення шліфувального кола по радіусу. Барабан 3 служить для налаштування величини чистового припуску.
При зносі шліфувального кола на 25 мм радіусом мікрометричний упор 6 повертається у вихідне нижнє положення, а електроконтактний датчик переміщається вниз по пазу. Для запобігання поломці датчика, при переміщенні шліфувальної головки з нижнього положення вгору, він переміщається разом з болтом головкою 9.
Шпиндель шліфувального кола приводиться у обертання від електродвигуна I (рис.10), через поліклінову передачу. Натяг ременя 2 здійснюється гвинтом 3, що переміщає кронштейн 8.
Кронштейн 8 кріпиться ггвинтами 7 до заднього торця корпусу шліфувальної головки 4. Зняття шківа б з шпинделевого конуса проводиться гвинтом 5, який при його вивертанні стягує шків 6 з конуса шпинделя.
Супорт хрестовий 6 (рис. 11) забезпечує поздовжнє та поперечне переміщення столу. Верхні поздовжні (v - подібна 15 і плоска 14) напрямні служать для поздовжнього, а нижні поперечні (дві плоскі 2,5 - для поперечного переміщення. До шишів поверхні супорта 6 кріпиться кронштейн 3 гайки поперечної подачі. Кран 7 поздовжнього реверсу столу розміщений в середній частинини на передній стінці супорта На валику 8 реверсу кріпиться пластина 9, яка входи, в паз безконтактного колійного перемикача для отримання команди на поперечну або вертикальну подачі.
Між верхніми напрямними встановлюється гідроциліндр 12. Праворуч на передній стінці всередині супорта встановлена колодка 4 для стравлювання повітря з гідроциліндра та регулювання мастила направляючих.
Перед підйомом супорта необхідно звільнити кронштейн супорта 6 у гайці поперечної подачі та від'єднати шланги від супорта.
У верстатах 3Е711АФ1, 3Е721АФ1-1, 3E711B-1 і 3E710A відмінною особливістю є те, що по верхнім напрямним 14 і 15 супорта стіл переміщається на роликах 13.
Механізм (рис. 16) призначений зміни напрями переміщення хрестового супорта I в крайніх положеннях. По закріпленої на супорті плавці 2 в залежності від ширини шліфування встановлюється два кулачки 3, 5 з екранами 7, які в крайніх положеннях супорта входять в проріз безперервних колійних перемикачів (БВК) 6, закріплених на станині 4.
Для обмеження найбільшого переміщення супорта планці 2 встановлюються екрани 7 обмеження переміщення кулачків поперечного реверсу.
Механізм (рис. 17) являє собою двоступінчастиний редуктор з циліндричними зубчастиними прямозубими колесами, змонтований в окремому корпусі 10 і кріпиться до передньої стінки хрестового супорта 3. Ручне переміщення столу здійснюється обертанням маховика 7. Вал-шестерня 8 який передає обертання пов'язаний з валом 4. Нерухливо сидить на валу губчасте колесо 5 передає обертання зубчастому колесу 9, що визначає обертання вала I, а введене в зачеплення про рейку зубчасте колесо 2 переміщає стіл. Зубчасте колесо 2 вводиться в зачеплення з пружиною рейкою 12. При включенні гідроприводу механізм автоматично відключається поршнем II.
Механізм (рис. 18) призначений для фіксації супорта від поперечних переміщень, фіксація здійснюється притисканням пластини I, закріпленої на станині планкою 2, корпусу 3 поворотом болта 4.

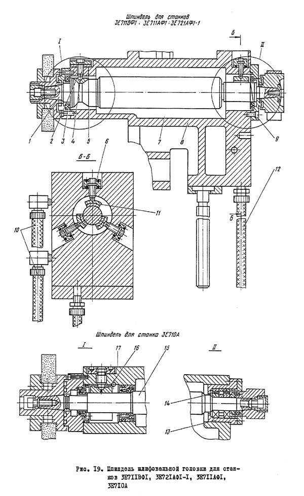
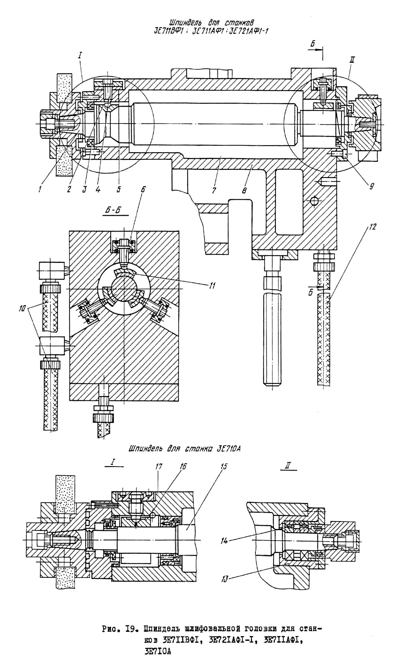
Шпиндель шліфувальної головки плоскошліфувального верстата 3Е711ВФ1
Шпиндель шліфувальної головки плоскошліфувального верстата 3Е711ВФ1. Дивитись у збільшеному масштабі
На верстатах 3Е711ВФ1, 3Е711АФ1, 3Е721АФ1-1 шпиндель I (рис. 19) обертається у двох гідродинамічних підшипниках 2 і 11. Передній V-подібний підшипник 2 сприймає як радіальні, так і осьові зусилля. Сферичні поверхні штирів 4, що утримують вкладиш, дозволяють останнім самовстановлюватися в напрямку обертання. Зазор у передньому підшипнику 2 регулюється підшліфуванням компенсаторів 5, а в задньому - встановлюються переміщенням по різьбленню самих штирів 6. Для забезпечення прилягання вкладишів опори в У-подібному пазу шпинделя два нижніх штирі виконані з ексцентриситетом сфери щодо посадкової поверхні. Підшипники 2 і 11 знаходяться в масляній ванні 7, утвореної корпусом головки 8 і ущільненнями 3 і 9. Для заливання рекомендується застосовувати ретельно фільтровану олію І-5А з кінематичною в'язкістю при 50°С 4-5 ст. Мастило підводиться гнучкими шлангами 10. Дренаж здійснюється шлангом 12.
На верстаті 3Е710A передня опора шпинделя 15 в корпусі 17 обертається в гідродинамічному підшипнику 16. Задня опора шпинделя монтується у фланцях 13 корпусу 17 на двох радіально-упорних підшипниках 14. Передня опора сприймає тільки радіальні. Збирання витоків з передньої опори здійснюється в корпусі і зливається через трубу в бак мастила. Задня опора сприймає радіальні та осьові навантаження.
На верстатах 3E711B, 3E721ВФ1-1, 3E721B-1, 3E711B-1 відмінною особливістю є те, що шпиндель 1 (рис. 20) у склянках 2 корпусу 4 змонтований на підшипниках кочення. У передній опорі встановлений роликопідшипник 3 з конічним отвором на внутрішньому кільці, а в задній - два радіально-упорних 5. Передня опора може переміщатися в осьовому напрямку разом із шпинделем при температурних деформаціях.
Шліфувальний круг I (рис. 21) встановлений між двома фланцями 2 і 3 і закріплений ггвинтами 4. Балансування шліфувального круга проводиться балансувальними вантажами 6, встановленими в пазу переднього фланця 2.
Зняття шліфувального кола I з конуса проводиться гвинтом 5, який при його вивертанні стягує шліфувальний круг I разом із фланцями 2 і 3 з конуса шпинделя.

Механізм вертикальної подачі плоскошліфувального верстата 3Е711ВФ1
Механізм вертикальної подачі плоскошліфувального верстата 3Е711ВФ1. Дивитись у збільшеному масштабі
Механізм забезпечує:
Автоматична подача проводиться кроковим електродвигуном 18 (рис. 22) через зубчасту передачу 17, 16, 15, 14, електромагнітну муфту 6 карданний вал 5, що з'єднує механізм з редуктором. При передачі руху від механізму подач до редуктора фрикційні диски 9 шліцевої втулки 8 притискаються пружинами 10 до фланця 7, а при включенні електродвигуна прискореного переміщення електромагнітна муфта б звільняє щілинну втулку 8, роз'єднуючи тіл самим механізм подачі.
Розмір подачі регулюється кутом повороту ротора електродвигуна 18.
Груба ручна подача здійснюється маховиком 13 через зубчасте колесо I, муфту II на вал карданний 5, при цьому черв'як 2 повинен бути виведений з зачеплення рукояткою 3.
Тонка ручна подача забезпечується кнопкою 4 через черв'як 2, косозубого колеса 1 на маховик 13 і через муфту II на карданний вал 5. За допомогою кнопки 12 включається муфта II при ручній подачі або зубчасте колесо 14 при автоматичній.
На верстатах 3E711В-I і 3E710A відмінною особливістю механізму вертикальної подачі є, що автоматична подача виробляється електродвигуном 16 (рис. 23) з друкарським якорем, через муфту 15, зубчасті колеса 14, 13, 12, 11, 10, 9, 9 з'єднувальний механізм вертикального подавання з редуктором. Розмір подачі регулюється дисковим друкарським якорем електродвигуна ПЯ-250.
Груба ручна подача здійснюється маховиком 8 через зубчасте колесо I, напівмуфту 6 на карданний вал 5, при цьому черв'як 2 повинен бути виведений з зачеплення рукояткою 3. Тонка ручна подача забезпечується кнопкою 4 через черв'як 2, косозубого колеса I, маховик 8 карданний вал 5. За допомогою кнопки 7 включається муфта 6 при ручній подачі або зубчасте колесо 9 при автоматичній.
На ставках 3E7IIB та 3E72IB-I ручна груба подача шліфувальної головки здійснюється обертанням маховика.
Автоматична вертикальна подача здійснюється від лопатевого гідроциліндра II (рис. 24), що працює в момент поперечного реверсу столу.
На осі гідроциліндра II закріплений важіль 10 з собачкою 12. Собачка 12 може ковзати по заслінці 14 або зачіпатися з храповим колесом 13. Хропове колесо 13 жорстко пов'язане з валом 15 черв'ячного редуктора вертикальних переміщень.
При передачі руху від механізму подачі до редуктора фрикційні диски 3 шліцевої втулки приймаються 4 пружинами 2 до фланця.
При прискореному переміщенні шліфувальної головки електромагнітна муфта 5 звільняє втулку шліцеву 4, тим самим роз'єднує механізм подач з маховиком I, забезпечуючи безпеку роботи. Величина автоматичної подачі регулюється заслінкою 14, що перекриває зуби храпового колеса 13. На кнопці 9 повороту заслінки 14 нанесені поділу величини подачі, що встановлюється.
Тонка ручна подача забезпечується кнопкою через 6 черв'як 7, косозубе колесо 8, маховик I, шліцеву втулку 4 на карданний вал 16.

Технічні характеристики електродвигунів верстата 3Е711ВФ1

Схема циклу плоскошліфувального верстата 3Е711ВФ1

Зв'язок між пристроями електроустаткування верстата 3Е711ВФ1

Настановне креслення плоскошліфувального верстата 3Е711ВФ1
Настановне креслення плоскошліфувального верстата 3Е711ВФ1. Дивитись у збільшеному масштабі

Технічні дані та характеристики верстата 3Е711ВФ1
Технічні дані та характеристики верстата 3Е711ВФ1. Дивитись у збільшеному масштабі
Гарна бесіда вкорочує робочий день.
Закон Мерфі