Виробник настільного токарного верстата Умілець (СН, СН-1) - Середньоволзький верстатобудівний завод СВСЗ , заснований у 1876 році.
Виробництво металорізальних верстатів на Середньоволзькому верстатобудівному заводі вперше почалося наприкінці січня 1926 року. Першим випущеним верстатом на підприємстві був токарно-гвинторізний верстат зі східчастиним шківом моделі ТВ-155В.
У 1934 році на заводі було створено оригінальний токарно-гвинторізний верстат моделі СП-162 з числом швидкостей - 8, числом обертів шпинделя за хвилину - від 24 до 482. На верстаті вперше було встановлено індивідуальний електродвигун потужністю 1,5 кВт.
У роки війни завод освоїв випуск токарно-гвинторізного верстата 1615 року і незабаром модернізував його, довівши швидкість шпинделя до 1000 обертів на хвилину.
У 1949 році запущений у серійне виробництво верстат 1616 , у шістдесятих роках моделі - 1В616 та 1А616 , а з початку сімдесятих років почався випуск серії 16Б16 .
З 90-х років минулого століття підприємство СВСЗ випускає токарні верстати під торговою маркою SAMAT .
Верстати токарно-гвинторізні моделей Умілець (СН, СН-1) призначені для виконання різноманітних токарних робіт, у тому числі для нарізування метричних різьблень. Клас точності Н згідно з ГОСТ 8.
Токарно-гвинторізний настільний верстат «Умілець» призначений для різних видів механічної обробки виробів з металу, деревини, пластмас. Верстат виготовляється з 2-х виконань: з ручною поздовжньою подачею супорта без додаткових пристосувань та з приводом подач, з фрезерним та деревообробним пристроями. На верстаті першого виконання можна виконувати токарні, свердлильні роботи.
На верстаті другої виконання можна виконувати токарні, фрезерні, свердлильні, фугувальні, розпилювальні операції.
За допомогою нескладних пристроїв, виготовлених на цьому верстаті самим споживачем, можна виконувати інші роботи. Верстат «Унелец» може бути нспспззован в побутових умовах виготовлення різних виробів домашнього побуту, в шкільних майстерень, в гуртках при клубах і доках піонерів, станціях молодих техніків.
Настільний токарно-гвинторізний верстат Умілець відноситься до малих верстатів і призначений для обробки заготовок невеликих розмірів:
Шпиндель верстата отримує 12 ступенів прямих та зворотних (160..3150 об/хв) частот обертання. Швидкість обертання шпинделя визначається положенням 2-х клинових ременів на трьох шківах:
Передній кінець шпинделя різьбовий М27 х 2,5 мм.
Привід подач (модель верстата СН-01) отримує рух від зубчастого колеса на шпинделі та передає його на ходовий гвинт. Привід подач складається з 5 зубчастиних коліс - одного постійного, зчепленого зі шпинделем і 4-х змінних (гітари).
Вибір швидкості механічної подачі і кроку різьби, що нарізається здійснюється перестановкою змінних зубчастиних коліс гітари в приводі подач. Привід подач забезпечує:
Ходовий гвинт включається і вимикається кулачковою муфтою і використовується як для нарізування різьблення так і для механічного подачі супорта при точенні.

Фото токарно-гвинторізного верстата Умілець

Фото токарно-гвинторізного верстата Умілець

Фото токарно-гвинторізного верстата Умілець

Фото токарно-гвинторізного верстата Умілець

Фото токарно-гвинторізного верстата Умілець

Розташування складових частинин токарного верстата Умілець

Розташування органів керування токарно-гвинторізним верстатом Умілець

Кінематична схема токарно-гвинторізного верстата Умілець
Схема кінематична токарно-гвинторізного верстата Умілець. Дивитись у збільшеному масштабі
У ланцюзі приводу головного руху обертання шпинделя 14 здійснюється від електродвигуна 1 через клинопасові передачі і ступінчасте шківи 2, 3, 4. , В, Г, Д та кулачкову муфту 13.
Привід складається з електродвигуна 1 (див. рис. 4), закріпленого на кронштейні 2 і трьох ступінчастих шківів 3, 4, 5; Натяг ременів і зміна міжцентрової відстані між шківами при перекиданні ременів на інші струмки шківів здійснюється переміщенням шківа 4, закріпленого на рухомій опорі 6. Привід дозволяє отримати 12 робочих частот обертання шпинделя від 160 до 3150 об/хв.
Вузол шпинделя (рис. 5) складається з шпинделя 1, опорами якого є два радіально-упорні підшипники 2, встановлені у фланцях 3. Фланці кріпляться в корпусі основи. На передньому кінці шпинделя закріплений трикулачковий патрон 4, на задньому кінці закріплені зубчасте колесо 5, що передає обертання приводу подач, шків клинопасової передачі 6.
Повідковий патрон, що входить до комплекту верстата, укладений у ящику для приладдя. Повідковий патрон (див. рис. 6), що встановлювався замість трикулачкового патрона і застосовується для обробки деталей у центрах, складається з наполегливого центру 1, вставленого в конічний отвір шпинделя, гайки 2, навернутої на передній кінець шпинделя і повідця 3.
Механізм (див. рис. 7) складається з ходового ггвинта 1, на правочку кінці якого кріпиться маховик 3 з лімбом 2. Інший кінець ггвинта з'єднаний муфтою 4 з валом 5, встановленим у радіально-упорні підшипники.
Привід подач (рис. 8, 9, 10), що переміщає обертання від шпинделя на ходовий гвинт, складається із зубчастого колеса 1 (див.рис. 8), змінних зубчастих колесо 2, 3, 4, 5, кулачкової зчіпної муфти 6, 7 .
Повертаючи рукоятку 1 (див. рис.10), закріплену на осі г, за годинниковою стрілкою, переміщуємо важіль 3 з сухарем 4 і вводимо кулачкову муфту в зачеплення, включаючи подачу супорту. Повертаючи рукоятку проти годинникової стрілки вмикаємо подачу супорта. Варіант передачі, зображений на рис.8, використовується для подачі при звичайному точенні, на рис. 9 - для нарізування правого різьблення, на рис. 19 - для нарізування лівого різьблення. 5.10, Супорт.
Супорт (див. рис. 11) призначений для здійснення подачі ріжучого інструменту. Поздовжня подача супорта здійснюється вручну через механізм переміщення супорта або автоматично приводом подач.
При обертанні ходового ггвинта рух на каретку 2 передається через гайку 1. Поперечна подача повзушки 6 здійснюється вручну обертанням маховичка через гвинт 4 і гайку 5.

Привід головного руху і шпиндель токарного верстата Умілець

Привід головного руху токарного верстата Умілець

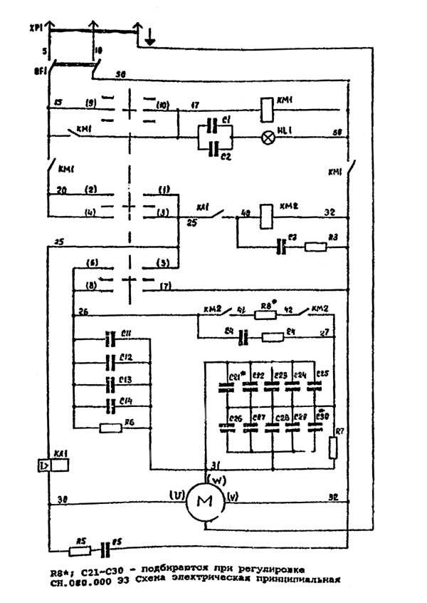
Електрична схема токарного верстата Умілець
Схема електрична токарно-гвинторізного верстата Умілець. Дивитись у збільшеному масштабі
| Найменування параметру | CH | CH-1 |
| Основні параметри | ||
| Клас точності згідно з ГОСТ 8-82 | Н | Н |
| Найбільший діаметр заготовки над станиною, мм | 175 | 175 |
| Найбільший діаметр заготовки над супортом, мм | 90 | 90 |
| Найбільша довжина заготівлі (РМЦ), мм | 215 | 215 |
| Найбільша висота різця, мм | 10 х 16 | 10 х 16 |
| Шпиндель | ||
| Діаметр наскрізного отвору в шпинделі, мм | 15 | 15 |
| Найбільший діаметр прутка, мм | 14 | 14 |
| Число ступенів частот прямого обертання шпинделя | 12 | 12 |
| Частота прямого обертання шпинделя, об/хв | 160..3150 | 160..3150 |
| Розмір внутрішнього конуса в шпинделі, М | Морзе 2 | Морзе 2 |
| Кінець шпинделя різьбовий | М | М |
| Супорт. Подання | ||
| Найбільша поздовжня довжина ходу каретки, мм | 215 | 215 |
| Ціна поділу лімба поздовжніх подач, мм | 0,5 | 0,5 |
| Найбільша поперечна довжина ходу каретки, мм | 90 | 90 |
| Ціна поділу лімба поперечних подач, мм | 0,05 | 0,05 |
| Число ступенів поздовжніх подач | ||
| Межі поздовжніх подач, мм/про | немає | 0,05..0,175 |
| Межі поперечних подач, мм/про | немає | немає |
| Швидкість швидких переміщень супорта, поздовжніх, м/хв. | немає | немає |
| Кількість нарізних різьблень метричних | ||
| Межі кроків різьб метричних, що нарізаються, мм | немає | 0,2..2,5 |
| Рухомий різцетримач (різцеві санки) | ||
| Ціна поділу лімба різцевих санчат, мм | 0,05 | 0,05 |
| Найбільше переміщення санок, мм | ||
| Найбільший кут повороту різцевих санчат, мм | ±90° | ±90° |
| Задня бабка | ||
| Ціна поділу лімба, мм | немає | немає |
| Розмір внутрішнього конуса пінолі | Морзе 1 | Морзе 1 |
| Найбільше переміщення пінолі, мм | 40 | 40 |
| Поперечне зміщення корпусу задньої бабки, мм | немає | немає |
| Електроустаткування | ||
| Напруга мережі живлення, В | ~220 В | ~220 В |
| Кількість електродвигунів на верстаті | 1 | 1 |
| Потужність електродвигуна головного приводу, кВт | 0,55 | 0,55 |
| Габарити та маса верстата | ||
| Габарити верстата, мм | 770 х 460 х 360 | 770 х 460 х 360 |
| Маса верстата, кг | 85 | 90 |