Виробник токарного верстата моделі 1716ПФ3, 1716ПФ4 - Середньоволзький верстатобудівний завод СВСЗ , заснований у 1876 році.
Виробництво металорізальних верстатів на Середньоволзькому верстатобудівному заводі вперше почалося наприкінці січня 1926 року. Першим випущеним верстатом на підприємстві був токарно-гвинторізний верстат зі східчастиним шківом моделі ТВ-155В.
У 1934 році на заводі було створено оригінальний токарно-гвинторізний верстат моделі СП-162 з числом швидкостей - 8, числом обертів шпинделя за хвилину - від 24 до 482. На верстаті вперше було встановлено індивідуальний електродвигун потужністю 1,5 кВт.
В 1935 завод першим в СРСР виготовив різьбофрезерний верстат моделі 561, а з військового 1941 приступає до випуску цілої гами різьбофрезерних напівавтоматів: 5А63, 5А64, 5М63, 5М64.
У роки війни завод освоїв випуск токарно-гвинторізного верстата 1615 року і незабаром модернізував його, довівши швидкість шпинделя до 1000 обертів на хвилину.
У 1949 році запущений у серійне виробництво верстат 1616 , у шістдесятих роках моделі - 1В616 та 1А616 , а з початку сімдесятих років почався випуск серії 16Б16 .
З 90-х років минулого століття підприємство СВСЗ випускає токарні верстати під торговою маркою SAMAT .
Токарний верстат з ЧПУ 1716ПФ3 призначений для високопродуктивної обробки деталей типу тіл обертання з конструкційних сталей, чавуну, кольорових та легких сплавів та інших матеріалів. Застосовується у серійному виробництві.
Цикл роботи верстата напівавтоматичний.
Напівавтомат 1716ПФ3 може випускатися в різних виконаннях, що позначаються буквено-цифровими індексами, що додаються до позначення моделі напівавтомата.
При комплектації різними пристроями ЧПУ до позначення додаються індекси Cl, C2 і т.д. Залежно від діапазону частот обертання шпинделя надаються індекси 01, 02 і т.д.
При постачанні напівавтомата 1716ПФ3 зі спеціальними налагодженнями до позначення додаються індекс з номером налагодження Н011, Н012 і т.д.
Напівавтомати з найбільшою довжиною виробу, що обробляється Lобр=750 мм додаткового позначення не мають.
Станина токарного верстата 1716ПФ3 являє собою замкнуту динамічно жорстку конструкцію, що має велику міцність на вигин і кручення. Загартовані до високої твердості чавунні напрямні забезпечують тривале збереження геометричної точності.
Похило розташування станини за віссю центрів забезпечує вільний сход стружки і доступ в зону різання.
Велика потужність та швидкодія приводів подачі та головного руху, висока частота обертання шпинделя у поєднанні з жорсткою конструкцією верстата забезпечують високопродуктивну обробку з використанням сучасних різальних матеріалів.
Напрямні поперечної повзушки, поздовжні направляючі каретки, поверхні клинів і планок облицьовані антифрикційним матеріалом, що забезпечує в поєднанні з їх імпульсним мастилом високу плавність і стабільність переміщень супорта.
Автоматизація всіх допоміжних переміщень на верстаті (прибирання стружки, керування затискачем заготовки, переміщенням пінолі, переміщенням та закріпленням на станині задньої бабки, переміщенням огородження) створює передумови для повної автоматизації циклу обробки у разі застосування промислового робота як засіб завантаження-вивантаження.
Шпиндель напівавтомата в залежності від виконання базується на підшипниках високої точності (роликових конічних або кулькових радіально-упорних типу «дуплекс» та «триплекс») це дозволяє отримати високу точність форми відпрацьованих деталей.
Напівавтомат 1716ПФ3 має 12-позиційну інструментальну головку з диском для швидкозмінних блоків токарного інструменту. Налаштування блоків можливе на пристрої.
Передбачено можливість автоматичного видалення стружки за допомогою стрічкового транспортера.
Зона різання закрита огорожею каркасного типу, що виключає проникнення стружки і СОЖ за огорожу.
Компонування напівавтомата допускає стикування з будь-якими типами роботів.
Електроустаткування напівавтомата розташоване у навісній шафі, встановленій на підставі, що надає верстату мобільності та економить виробничу площу.
Залежно від виконання напівавтомат може оснащуватися УЧПУ та електроприводами як вітчизняного, так і імпортного виробництва.
Достоинства токарного верстата 1716ПФ3:
Кліматичне виконання УХЛ4 за ГОСТ 15150-69.
Залежно від типу УЧПУ та рівня автоматизації до позначення додаються індекси:
Напівавтомат 1716ПФ3 дозволяє працювати в автоматичному циклі при оснащенні його автоматичним засобом завантаження.
Складання та редагування керуючої програми може здійснюватися оператором на робочому місці за допомогою клавіатури пристрою ЧПК або поза напівавтоматом з наступним введенням програми із зовнішнього програмного власника та з редагуванням на робочому місці.
Станіна є замкнутою динамічно жорсткою конструкцією, що володіє великою міцністю на вигин і кручення. Похило розташування станини за віссю центрів забезпечує вільний сход стружки і доступ в зону різання.
Напрямні поперечної повзушки, поздовжні направляючі каретки, поверхні клинів та планок покриті антифрикційним матеріалом, що забезпечує у поєднанні з імпульсним мастилом високу плавність та стабільність переміщень супорта.
Автоматизація всіх допоміжних переміщень на верстаті (прибирання стружки, керування затискачем заготовки, переміщенням пінолі, переміщенням та закріпленням на станині задньої бабки, переміщенням огородження), створює передумови для повної автоматизації циклу обробки у разі застосування промислового робота як засіб завантаження-вивантаження.
Шпиндель верстата поряд з токарною обробкою допускає роботу в режимі стежить координати, забезпечує рух подачі при фрезеруванні та кутового позиціонування з точністю до 0,001 град.
12-позиційна револьверна головка дозволяє нести як блоки токарного інструменту, так і головки з інструментами, що обертаються. Привід інструмента, що обертається, проводиться від окремого, розташованого на супорті, двигуна постійного струму з широким діапазоном регулювання. При встановленні необхідного інструменту в приводні головки з відповідним рухом головного шпинделя на верстаті можуть виконуватися фасонне та контурне фрезерування (як радіальне, так і осьове), свердління, нарізування різьблення, у тому числі і позацентрових отворах (наприклад, обробка кулачків складної форми, гравіювальні роботи).
Використання 12-позиційної револьверної головки, оснащеної приводом інструменту, що обертається, істотно розширює технологічні можливості верстата і забезпечує проведення багатоопераційної обробки з однієї установки заготовки і тим самим підвищення продуктивності і точності.
Велика потужність та швидкодія приводів подачі та головного руху, висока частота обертання шпинделя у поєднанні з жорсткою конструкцією верстата забезпечують високопродуктивну обробку з використанням сучасних різальних матеріалів.
Зона різання закрита огорожею каркасного типу, що виключає проникнення стружки і СОЖ за огорожу.
Компонування напівавтомата допускає стикування з будь-якими типами промислово освоєних роботів. Електроустаткування напівавтомата розташоване у навісній шафі, встановленій на підставі, що надає верстату мобільності.
При оснащенні системою автоматичного керування точністю обробки, промисловим роботом та зовнішнім обладнанням напівавтомат може працювати як гнучкий виробничий модуль.
Ступінь автоматизації токарного верстата 1716ПФ4 (Samat 160NC4):
Персонал для обслуговування: один оператор 2-3-го розряду на два верстати; один наладчик 4-6-го розряду на п'ять верстатів. Категорія умов зберігання Ж за ГОСТ 15150-69.
Категорія умов транспортування в частинині впливу кліматичних та механічних факторів Ж за ГОСТ 23170-78 та 0СТ2 Н92-1-81.
Розробник - Середньоволзький верстатобудівний завод, м. Куйбишев.

Рабочая зона токарного верстата 1716пф3

Габарити робочого простору токарного верстата 1716пф3
Габаритні розміри робочого простору токарного верстата 1716ПФ3. Дивитись у збільшеному масштабі

Габарити робочого простору токарного верстата 1716пф3
Габаритні розміри робочого простору токарного верстата 1716ПФ4. Дивитись у збільшеному масштабі

Шпиндель токарного верстата 1716пф3

Фото токарного верстата 1716пф3

Фото токарного верстата 1716пф3

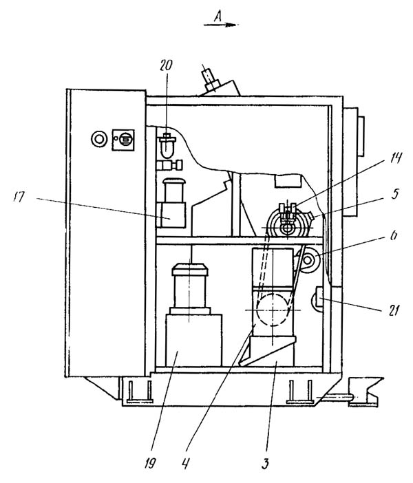
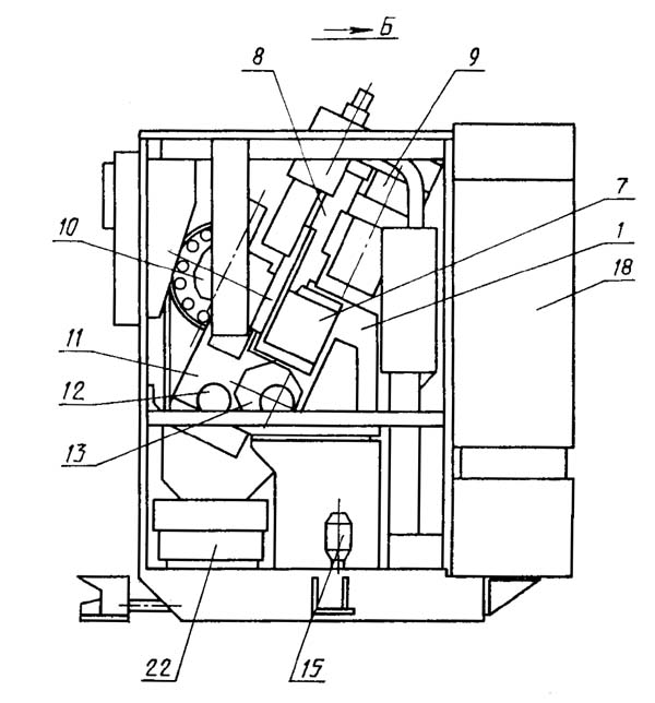
Розташування основних вузлів токарного верстата 1716пф3

Розташування основних вузлів токарного верстата 1716пф3

Розташування основних вузлів токарного верстата 1716пф3

Установче креслення токарного верстата 1716пф3
| Найменування параметру | 1716PF3 | 1716PF4 | 16A20F3 |
|---|---|---|---|
| Основні параметри верстата | |||
| Найбільший діаметр встановлюваного виробу над станиною, мм | 320 | 360 | 500 |
| Найбільший діаметр виробу, що обробляється над супортом, мм. | 160 | 160 | 200 |
| Найбільша довжина виробу, що встановлюється в центрах (РМЦ), мм | 750, 1000 | 750 | 1000 |
| Шпиндель | |||
| Кількість робочих швидкостей шпинделя | б/с | б/с | |
| Межі чисел оборотів шпинделя, об/хв | 6..3000 | 10..4000 | 20...2500 |
| Межі чисел оборотів шпинделів приводного інструменту, об/хв | - | 5..2000 | - |
| Діаметр отвору в шпинделі, мм | 53 | 63 | 55 |
| Центр шпинделя передньої бабки по ГОСТ 13214-67 | Морзе №6 | Морзе №6 | Морзе №6 |
| Центр пиноли задньої бабки по ГОСТ 13214-67 | Морзе №5 | Морзе №5 | Морзе №5 |
| Кінець шпинделя по ГОСТ 12593-72 | 6K | 6K | 6K |
| Найбільший момент, що крутить, на шпинделі не менше, Нм (кгс*м) | 420 | 320 | 800 (80) |
| Супорт. Подання | |||
| Найбільше переміщення супорта поздовжнє (Z), мм | 760 | 760 | 905 |
| Найбільше переміщення супорта поперечне (X), мм | 230 | 230 | 210 |
| Межі кроків різьб, що нарізаються, мм | 0,25...40 | ||
| Діапазон швидкостей поздовжніх подач, мм/хв (мм/об) | 20..5000 (0,01..20) | 20..5000 (0,01..20) | 10..2000 (2,8) |
| Діапазон швидкостей поперечних подач, мм/хв (мм/об) | 10..2500 (0,005..10) | 10..2500 (0,005..10) | 5..1000 (1,4) |
| Швидкість швидких поздовжніх переміщень (Z), м/хв. | 10 | 10 | 15 |
| Швидкість швидких поперечних переміщень (X), м/хв. | 5 | 5 | 7,5 |
| Висота різця, мм | 25 | 25 | 25 |
| Кількість позицій на поворотній різцетримці (кількість інструментів у револьверній головці) | 12 | 12 | 8 (6,12) |
| Найбільше зусилля різання, Н | 6300 | 8000 | |
| Параметри системи ЧПУ | |||
| Позначення системи ЧПУ | Електроніка МС2101.05 | Електроніка МС2101.05 | НЦ-31-02 |
| Число керованих координат | 2 (X, Z) | 3 (X, Z, C) | 2 (X, Z) |
| Кількість одночасно керованих координат | 2 (X, Z) | 2 (X, Z) | 2 (X, Z) |
| Дискретність завдання координат у поздовжньому напрямку (дискретність завдання по осі Z) | 0,001 | 0,001 | 0,001 |
| Дискретність завдання координат у поперечному напрямку (дискретність завдання по осі X) | 0,0005 | 0,0005 | 0,001 |
| Межі програмованих подач поздовжніх/поперечних, мм/про | 0,01..20 | 0,01..20 | 20,01..40 |
| Межі програмованих подач поперечних, мм/про | 0,005..10 | 0,005..10 | 20,01..40 |
| Точність заданого переміщення по осі X, мм | 0,008 | 0,008 | |
| Точність заданого переміщення осі Z, мм | 0,012 | 0,012 | |
| Точність заданого переміщення по осі C, град | - | 0,0347 | - |
| Електроустаткування верстата | |||
| Електродвигун головного приводу, кВт | 11 | 11 | 11 |
| Електродвигун поздовжніх подач - номінальний момент, що крутить, Нм (кгс*м) | 23 | 23 | 23 (2,3) |
| Електродвигун поперечних подач - номінальний момент, що крутить, Нм (кгс*м) | 23 | 23 | 17 (1,7) |
| Електродвигун станції змазки каретки, кВт | 0,18 | ||
| Електродвигун станції змазування шпиндельної бабки, кВт | 0,27 | ||
| Електродвигун насоса охолодження, кВт | 0,12 | 0,12 | 0,12 |
| Електродвигун координати С, кВт | - | 1,0 | - |
| Електродвигун інструментальної головки, кВт | - | 2,1 | - |
| Сумарна потужність електродвигунів, кВт | 21 | 21 | 21,4 |
| Сумарна потужність верстата, кВт | 21,5 | 21,5 | 24 |
| Габарити і масса верстата | |||
| Габаритні розміри станку з ЧПУ (довжина, ширина, висота), мм | 3600 х 1690 х 2300 | 3600 х 1690 х 2300 | 3700 х 3000 х 2100 |
| Маса верстата з ЧПУ, кг | 4000 | 4150 | 4150 |