Виробник токарного верстата моделі 162-ВУ - Середньоволзький верстатобудівний завод СВСЗ , заснований у 1876 році.
Виробництво металорізальних верстатів на Середньоволзькому верстатобудівному заводі вперше почалося наприкінці січня 1926 року. Першим випущеним верстатом на підприємстві був токарно-гвинторізний верстат зі східчастиним шківом моделі ТВ-155В.
У 1934 році на заводі було створено оригінальний токарно-гвинторізний верстат моделі СП-162 з числом швидкостей - 8, числом обертів шпинделя за хвилину - від 24 до 482. На верстаті вперше було встановлено індивідуальний електродвигун потужністю 1,5 кВт.
У роки війни завод освоїв випуск токарно-гвинторізного верстата 1615 року і незабаром модернізував його, довівши швидкість шпинделя до 1000 обертів на хвилину.
У 1949 році запущений у серійне виробництво верстат 1616 , у шістдесятих роках моделі - 1В616 та 1А616 , а з початку сімдесятих років почався випуск серії 16Б16 .
З 90-х років минулого століття підприємство СВСЗ випускає токарні верстати під торговою маркою SAMAT .
Токарний верстат 162-ВУ почав вироблятися в 1943..1944 роках (тоді він назвався ще Верстатобудівний завод ім. ЦК Машинобудування ) сконструйований на базі верстата 162-СП і був замінений на більш досконалий для того часу 1615 року .
Токарно-гвинторізний верстат 162-ВУ призначений для токарної обробки порівняно невеликих деталей з різних матеріалів як швидкорізальними, так і твердосплавними інструментами в умовах індивідуального та серійного виробництва. На верстаті можна нарізати різцем метричні, дюймові, модульні та різьби.
Верстат 162-ВУ відрізняється від верстата 162-СП, в основному, коробкою подач: у верстаті 162-ВУ відмовилися від Нортонівської коробки (передача з накидним колесом) і замінили її коробкою з пересувними зубчастиними колесами.
Шпиндель встановлений на бронзових (ОЦС-6-4-3) підшипниках ковзання, які можуть регулюватися підтягуванням.
Число оборотів шпинделя: 24, 39, 59, 97, 117, 193, 293, 482 (8 ступенів).
Пуск та зупинка проводиться фрикційною пластинчастою муфтою. Увімкнення цієї муфти здійснюється рукояткою на передній стінці коробки швидкостей. При виключенні муфтою обертання шпинделя одночасно включається гальмо для зупинки шпинделя.
Призначення коробки подач - змінювати швидкості обертання ходового ггвинта і ходового валу, що забезпечує переміщення супорта з обраною швидкістю в поздовжньому і поперечному напрямках. Вхідний вал коробки подач отримує обертання зубчастиних коліс гітари.
Коробка подач верстата 162-СП дозволяє за допомогою 17-змінних шестерень нарізати:
Метричні різьби: 0,5/0,6/0,7/0,75/0,8/1/1,25/1,5/1,75/2/2,25/2,5/2,75 /3/3,25/3,5/4/4,5/4,75/5/5,56/6/6,5/7/8/9/9,5/10/11/12.
Ходовий гвинт та ходовий валик зблоковані від одночасного включення.

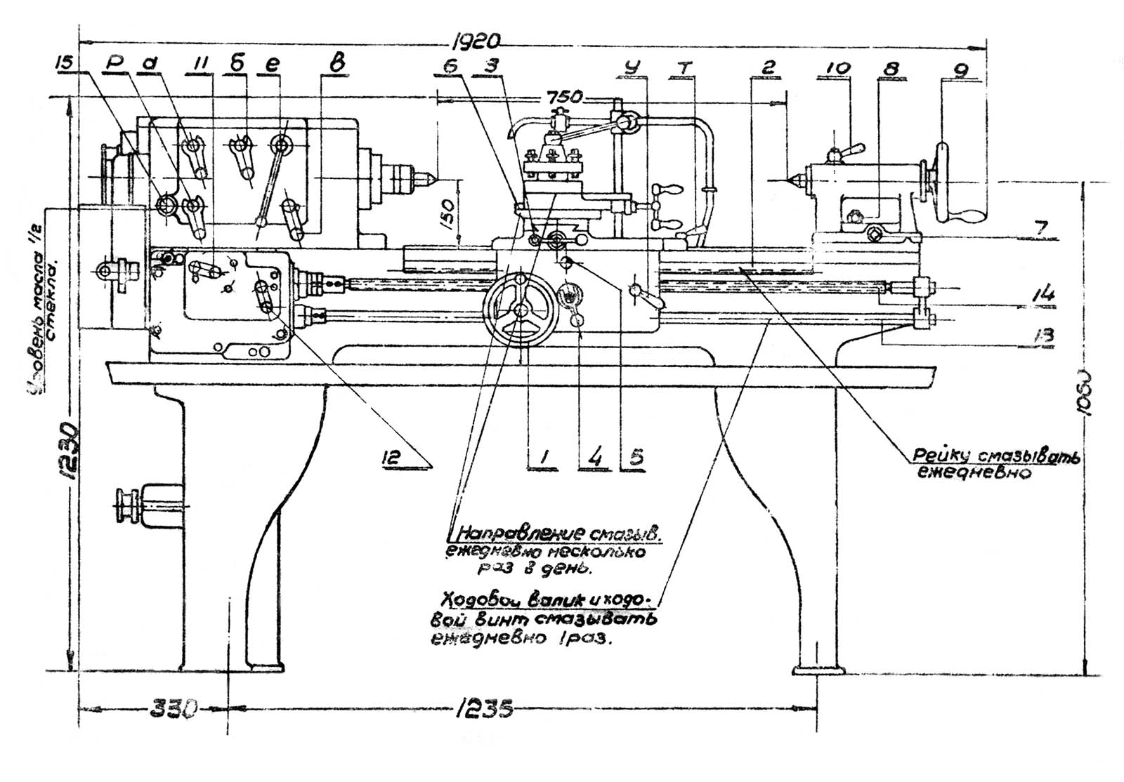
Розташування органів керування токарним верстатом 162-ВУ
Розташування органів керування токарним верстатом 162-ВУ. Дивитись у збільшеному масштабі

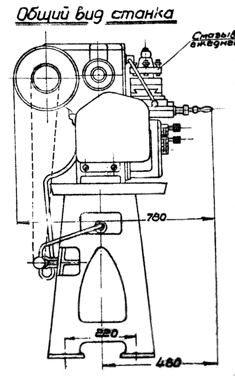
Фото токарного верстата 162-ВУ
Фото токарного верстата 162-ВУ. Дивитись у збільшеному масштабі

Фото токарного верстата 162-ВУ
Фото токарного верстата 162-ВУ. Дивитись у збільшеному масштабі

Фото токарного верстата 162-ВУ
Фото токарного верстата 162-ВУ. Дивитись у збільшеному масштабі

Розташування органів керування токарним верстатом 162-ВУ
Розташування органів керування токарним верстатом 162-ВУ. Дивитись у збільшеному масштабі

Кінематична схема токарно-гвинторізного верстата 162-ВУ
Кінематична схема токарно-гвинторізного верстата 162-ВУ. Дивитись у збільшеному масштабі

Таблиця різьб і подач токарно-гвинторізного верстата 162-ВУ
Таблиця різьблення та подач токарно-гвинторізного верстата 162-ВУ. Дивитись у збільшеному масштабі

Шпиндель токарно-гвинторізного верстата 162-ВУ
Шпиндель токарно-гвинторізного верстата 162-ВУ. Дивитись у збільшеному масштабі

Копировальная линейка токарно-гвинторізного верстата 162-ВУ
Копіювальна лінійка токарно-гвинторізного верстата 162-ВУ. Дивитись у збільшеному масштабі

Шлифовальное пристрій токарно-гвинторізного верстата 162-ВУ
Шліфувальний пристрій токарно-гвинторізного верстата 162-ВУ. Дивитись у збільшеному масштабі

Номограма використання токарно-гвинторізного верстата 162-ВУ
Номограма використання токарно-гвинторізного верстата 162-ВУ. Дивитись у збільшеному масштабі

Електрична схема токарного верстата 162-ВУ
Електрична схема токарно-гвинторізного верстата 162-ВУ. Дивитись у збільшеному масштабі
| Найменування параметру | 1A616 | 1615 рік | 162-ВУ | 162-СП |
|---|---|---|---|---|
| Основні параметри | ||||
| Клас точності згідно з ГОСТ 8-82 | Н | Н | Н | Н |
| Найбільший діаметр заготовки, що обробляється над станиною, мм | 320 | 320 | 320 | 320 |
| Наибольший диаметр заготовки, обрабатываемой над суппортом, мм | 180 | 150 | 200 | 200 |
| Наибольшая длина заготовки (РМЦ), мм | 710 | 750 | 750 | 750 |
| Высота оси центров над плоскими направляющими станины (высота центров), мм | 155 | 150 | 150 | |
| Высота от опорной поверхности резца до линии центров, мм | 20 | 20 | 20 | |
| Наибольшее расстояние от оси центров до кромки резцедержателя, мм | 168 | |||
| Наибольшая длина обтачивания, мм | 660 | 700 | ||
| Шпиндель | ||||
| Диаметр сквозного отверстия в шпинделе, мм | 35 | 35 | 35 | 35 |
| Наибольший диаметр прутка, мм | 34 | 34 | 34 | 34 |
| Число ступеней частот прямого обертання шпинделя | 21 | 16 | 8 | 8 |
| Частота прямого обертання шпинделя, об/мин | 9..1800 | 26..492 | 24..482 | 24..482 |
| Число ступеней частот обратного обертання шпинделя | 21 | 4 | ||
| Частота обратного обертання шпинделя, об/мин | 9..1800 | 142..580 | ||
| Размер внутреннего конуса в шпинделе, М | Конус морзе 5 | Конус морзе 5 | Конус морзе 5 | Конус морзе 5 |
| Кінець шпинделя по ГОСТ 12593-72 | 6К | |||
| Розміри приводного шкива, мм | Ø 250 х 50 | Ø 250 х 50 | ||
| Число оборотів приводного шкива, об/мин | 430 | 430 | ||
| Суппорт. Подачи | ||||
| Наибольшее перемещение поздовжньої каретки суппорта от руки, мм | 670 | 760 | ||
| Наибольшее перемещение поздовжньої каретки суппорта механически, мм | 670 | 700 | ||
| Наибольшее перемещение поперечної каретки суппорта, мм, мм | 195 | 190 | ||
| Перемещение поздовжньої каретки суппорта на одно деление лимба, мм | ||||
| Перемещение поперечної каретки суппорта на одно деление лимба, мм, мм | 0,05 | |||
| Число ступеней продольных і поперечных подач | 90 | 152 | 42 | |
| Пределы продольных рабочих подач, мм/об | 0,065..0,91 | 0,06..2,72 | 0,056..2,5 | 0,06..2,12 |
| Пределы поперечных рабочих подач, мм/об | 0,065..0,91 | 0,025..1,1 | 0,023..1 | 0,024..0,836 |
| Скорость быстрых перемещений суппорта, продольных, м/мин | нет | нет | нет | |
| Скорость быстрых перемещений суппорта, поперечных, м/мин | нет | нет | нет | нет |
| Количество нарезаемых різьб метрических | 28 | 30 | 32 | |
| Пределы шагов нарезаемых різьб метрических, мм | 0,5..24 | 0,5..12 | 0,5..12 | 0,25..8 |
| Количество нарезаемых різьб дюймовых | 39 | 42 | 28 | |
| Пределы шагов нарезаемых різьб дюймовых | 56..1 | 60..1,75 | 60..1,75 | 60..2,25 |
| Количество нарезаемых різьб модульных | 19 | 16 | 8 | |
| Пределы шагов нарезаемых різьб модульных | 0,25..22 | 0,5..6 | 0,5..6 | 0,25..2 |
| Количество нарезаемых різьб питчевых | нет | нет | нет | |
| Пределы шагов нарезаемых різьб питчевых | 128...2 | нет | нет | нет |
| Наибольшие розміри державки резца (ширина х высота), мм | 25 х 20 | 20 х 20 | 20 х 20 | |
| Наибольшее усилие, допускаемое механізмом подач на резце - продольное, кг | 400 | |||
| Наибольшее усилие, допускаемое механізмом подач на резце - поперечное, кг | 475 | 500 | ||
| Шаг ходового продольного гвинта, мм | 6 | 4 на 1" | ||
| Шаг поперечного гвинта, мм | 4 | 4 | ||
| Резцовые салазки | ||||
| Наибольшее перемещение резцовых салазок, мм | 85 | |||
| Перемещение резцовых салазок на одно деление лимба, мм | 0,1 | |||
| Наибольший угол поворота резцовых салазок, град | ±90° | ±90° | ||
| Цена деления шкалы поворота резцовых салазок, град | 1° | 1° | ||
| Число резцов в резцовой головке | 4 | 4 | 4 | 4 |
| Задня бабка | ||||
| Диаметр пиноли задньої бабки, мм | ||||
| Конус отверстия в пиноли задньої бабки | Морзе 3 | Морзе 3 | Морзе 3 | |
| Наибольшее перемещение пиноли, мм | 85 | 110 | 110 | |
| Перемещение пиноли на одно деление лимба, мм | ||||
| Величина поперечного смещения корпуса бабки, мм | ±12 | |||
| Електроустаткування | ||||
| Количество електродвигателей на станке | 2 | 2 | ||
| Мощность електродвигуна головного привода, кВт | 4 | 1,5 | 1.5 | |
| Тип електродвигуна головного привода | А02-41-4 | |||
| Мощность електродвигуна насоса охлаждения, кВт | 0,125 | 0,125 | ||
| Габарити і масса верстата | ||||
| Габарити верстата (длина ширина высота), мм | 2135 х 1225 х 1220 | 1960 х 880 х 1235 | ||
| Масса верстата, кг | 1500 | 850 |