Виробник токарно-гвинторізного верстата моделі Samat 400 - Середньоволзький верстатобудівний завод СВСЗ , заснований у 1876 році.
Виробництво металорізальних верстатів на Середньоволзькому верстатобудівному заводі вперше почалося наприкінці січня 1926 року. Першим випущеним верстатом на підприємстві був токарно-гвинторізний верстат зі східчастиним шківом моделі ТВ-155В.
У 1934 році на заводі було створено оригінальний токарно-гвинторізний верстат моделі СП-162 з числом швидкостей - 8, числом обертів шпинделя за хвилину - від 24 до 482. На верстаті вперше було встановлено індивідуальний електродвигун потужністю 1,5 кВт.
В 1935 завод першим в СРСР виготовив різьбофрезерний верстат моделі 561, а з військового 1941 приступає до випуску цілої гами різьбофрезерних напівавтоматів: 5А63, 5А64, 5М63, 5М64.
У роки війни завод освоїв випуск токарно-гвинторізного верстата 1615 року і незабаром модернізував його, довівши швидкість шпинделя до 1000 обертів на хвилину.
У 1949 році запущений у серійне виробництво верстат 1616 , у шістдесятих роках моделі - 1В616 та 1А616 , а з початку сімдесятих років почався випуск серії 16Б16 .
З 90-х років минулого століття підприємство СВСЗ випускає токарні верстати під торговою маркою SAMAT .
Торгова марка Samat 400 включає лінійку верстатів, спроектованих на базі 16Б16А і 16Б16П .
Токарно-гвинторізні верстати SAMAT 400 XS/SS особливо високої точності спроектовані на базі моделі 16Б16А (клас точності А за ГОСТ 8-82) призначені для виконання особливо точних технологічних операцій із застосуванням найпрогресивнішого інструменту.
Показники точності верстата:
Можливе застосування у серійному та дрібносерійному виробництві на великих заводах, а також у приватних невеликих цехах.
Переваги моделі верстата SAMAT 400 S/S:
Токарно-гвинторізні верстати SAMAT 400 X/S/M/L підвищеної точності спроектовані на базі моделі 16Б16П (клас точності П за ГОСТ 8-82) можуть бути використані як у промисловому виробництві, так і в індивідуальних майстернях.
Верстати призначені для виконання різноманітних токарних видів обробки, включаючи нарізування метричних, дюймових, модульних та різьб. Технічні характеристики, висока жорсткість і велика потужність приводу дозволяють проводити на ньому напівчорнові та чистові операції, обробляти чорні та кольорові метали, а також загартовані до високої твердості сталі з шорсткістю оброблених поверхонь до 1,25 Ra.
Привід основного руху потужністю 5,5 або 7,5 кВт (за бажанням Замовника) може бути виготовлений як з механічним перемиканням швидкостей (20 фіксованих швидкостей з діапазоном 25-2000 об/хв), так і безступінчастиним з регулюванням кількості обертів шпинделя.
Головним приводом верстатів з безступінчастиним регулюванням Samat 400 (S, M, L) з літерою "V" є також асинхронний двигун N = 5,5 кВт, який керується частотними перетворювачами японських фірм або "Mitsubishy electric" або "Omron", гарантія надійності яких складає до 3-х років.
Використання частотного перетворювача у приводі головного руху верстата дозволяє безступінчасто регулювати швидкість шпинделя та підбирати оптимальний режим обробки деталей.
Переваги безступінчастого приводу:
Висока точність і чистота обробки забезпечуються точністю виготовлення всіх базових деталей і ретельністю складання верстата, застосуванням в якості опор шпинделя високоточних підшипників, балансуванням всіх деталей верстата, що швидко обертаються, широким діапазоном швидкостей різання з безступінчастиним регулюванням.
Тривале збереження гарантованої точності та працездатності верстата забезпечуються застосуванням у конструкції верстата досконалої системи мастила, високолегованих сталей з подальшою азотацією для виготовлення шпинделів, шестерень, валів і т.д., виготовлена з високоміцного чавуну (СЧ 25), загартована до HRC 42-45 ретельно відшліфована станина, а також застосування роликових радіально-упорних високоточних саморегульованих шпиндельних підшипників.
Для найбільшої зручності роботи на верстаті може встановлюватися система цифрової індикації з дискретністю, що забезпечує задану точність верстата.
Відлік поздовжніх та поперечних переміщень різця ведеться за лімбами або індикаторними упорами, встановленими на каретці та станині верстата.
Широкий діапазон поздовжніх та поперечних подач, всіляких різьблень та спіралей забезпечуються коробкою подач при максимальній кількості змінних шестерень.
Для покращення якостей оброблюваних деталей та розширення технологічних можливостей зі верстатом можуть поставлятися рухомі та нерухомі люнети, конусна лінійка, барабан упорів, задній супорт.
У комплект обов'язкового поставки входить патрон 3-х кулачковий ф 200, жорсткий упор поздовжнього ходу, мінімальний комплект змінних шестерень, центр Морзе 5, що обертається, центри упорні Морзе 4 і 5, інструмент для обслуговування верстата, гарантований комплект запасних частинин, посібник з експлуатації.
Верстат має прискорений хід каретки та супорта у поздовжньому та поперечному напрямках.
Керування робітниками та прискореними переміщеннями каретки та супорта здійснюється однією рукояткою, зручно розташованою на фартуху.
Верстат комплектується чотирипозиційним різцеутримувачем та різцеутримувачем з механізмом швидкого відведення різця при нарізанні різьблень.
Частота обертання шпинделя встановлюється ручкою, розташованою на фартуху. Її можна змінювати під час обертання шпинделя.
У шпиндельній бабці є два перебори 1:4 та 1:16.
При виконанні обробки обробки рух від шпинделя коробці подач передається ремінною передачею, що сприяє плавній роботі верстата при високій частоті обертання шпинделя і тривалому збереженню точності змінних коліс.
Верстат має сучасну архітектурну форму, зручний в управлінні та обслуговуванні.
Токарні верстати з оперативною системою керування (ОСУ) моделі SAMAT 400 XC/SC «ВЕКТОР » забезпечують високу точність, продуктивність та якість.
Верстати SAMAT 400 XC / SC ВЕКТОР – це верстати нового покоління, що відповідають сучасним тенденціям світового верстатобудування.
Вектор - токарно-гвинторізний верстат Samat 400XC, Samat 400SC, Samat 400SC - оснащений пристроєм оперативного керування Штурман , що складається з програмованого контролера та рідкокристалічного терміналу з тактильним ефектом.
Верстати призначені для різноманітних токарних робіт у одиничному, дрібносерійному та серійному виробництві.
Зберігши всі переваги універсального, верстат дозволяє здійснювати роботу в автоматичному режимі за введеними програмами або за допомогою широкого набору мікроциклів, або в процесі виконання оператором першої деталі.
При оснащенні 4-х позиційною автоматичною головкою верстат застосовується у великосерійному та масовому виробництві.
Переваги верстата
Пристрій оперативного керування забезпечує універсальні функції верстата:
Пристрій оперативного керування дозволяє:
Максимальна кількість кадрів повторення та мікроциклів в одній програмі становить 99.
Максимальна кількість запам'ятовуваних програм складає 50.
Значення коректорів інструментів, усунення початкових точок, параметрів мікроциклів зберігають своє значення при вимкненні верстата.
У системі використовується загальноприйнята для токарних верстатів система координат:
Класс точності верстата П по ГОСТ 8—71.
Торговая марка Samat 400 - ето семейство токарно-винторезных верстатів производства Средневолжского станкостроительного завода.
В семейство токарных верстатів Samat 400 входят модификации верстатів 16Б16А і 16Б16П:

Габарити робочого простору токарного верстата Samat 400

Шпиндель токарно-гвинторізного верстата Samat 400

Рабочая зона обробки токарного верстата Samat 400

Фото токарно-гвинторізного верстата Samat 400 SS

Гітара токарно-гвинторізного верстата Samat 400 SS

Лимб токарно-гвинторізного верстата Samat 400 SS

Фото токарно-гвинторізного верстата Samat 400 SS компании СтанГідроМаш
Фото токарного верстата Samat 400sc (Вектор 400sc). Скачать в увеличенном масштабе

Фото токарно-гвинторізного верстата Samat 400 SS компании СтанГідроМаш
Фото токарного верстата Samat 400sc (Вектор 400sc). Скачать в увеличенном масштабе

Фото токарно-гвинторізного верстата Samat 400 MV

Фото токарно-гвинторізного верстата Samat 400 MV

Фото токарного верстата Samat 400sc (Вектор 400sc)

Фото токарного верстата Samat 400sc (Вектор 400sc)
Фото токарного верстата Samat 400sc (Вектор 400sc). Скачать в увеличенном масштабе

Розташування органів керування токарним верстатом Samat 400
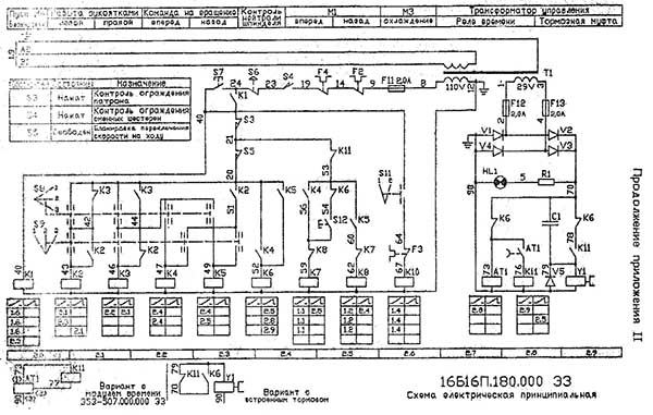
Принципиальная електрична схема 400S.180.000 Э3 (16Б16П.180.000 Э3).
Питание ланцюгів електроустаткування осуществляется следующими напряжениями:
Електроустаткування верстата предназначено для подключения к трехфазной сети переменного тока з глухозаземленным или изолированным нейтральным проводом.
На станке установлены три трехфазных короткозамкнутых асинхронных електродвигуна:

Електрична схема токарно-гвинторізного верстата Samat-400
Схема електрична токарно-гвинторізного верстата Samat-400. Дивитись у збільшеному масштабі

Електрична схема токарно-гвинторізного верстата Samat-400
Схема електрична токарно-гвинторізного верстата Samat-400. Дивитись у збільшеному масштабі

Електрична схема токарно-гвинторізного верстата Samat-400 з АКП
Схема електрична токарно-гвинторізного верстата Samat-400 з АКП. Дивитись у збільшеному масштабі
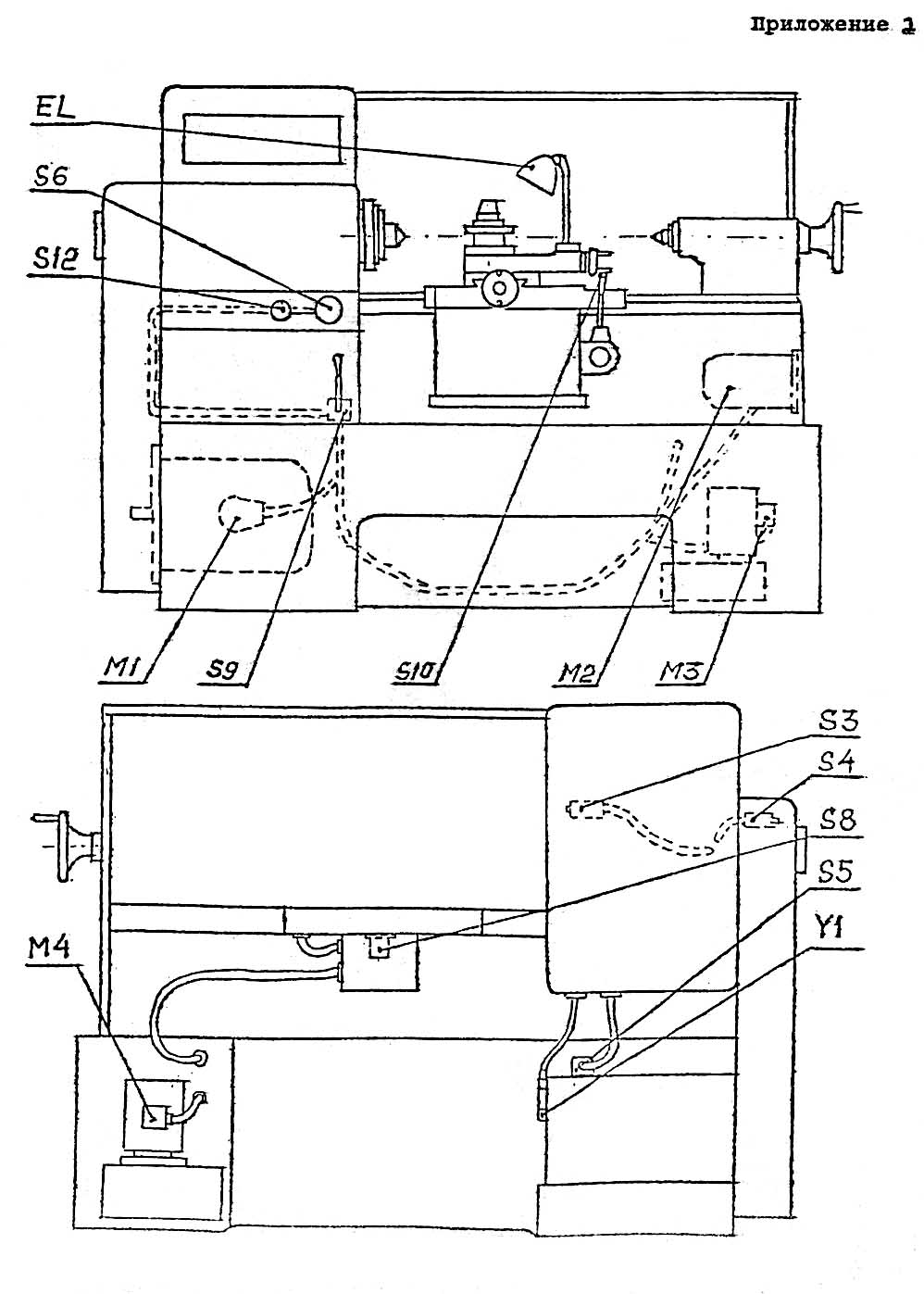
Схема розположення електроустаткування на станке приведена на рис. 1 (Приложение 1).
Электропривід верстата имеет 3 трехфазных асинхронных двигуна М1, M2 і М3. В состав вузлів, поставляемых по особому заказу входит трехфазный асинхронный двигатель М4.
Коробка швидкостей головного приводу имеет електромагнитную муфту, посредством которой осуществляется торможение шпинделя.
Для керування включением і остановом шпинделя имеются две рукоятки: правая переключателя S3 і левая переключателя S9.
Реверс шпинделя осуществляется за счет реверса двигуна Ml головного привода.
Верстат имеет електрошкаф.
Мощность лампы накаливания светильника местного освещения - 40 (60) Вт.
Допустимое отклонение напряжения питающей сети на вводе 0,9...1,1 номинального значения, отклонение частоти от номинального значения в пределах +1 Гц.
Тип питающей сети верстата, потребляемый ток верстата, данные об електродвигунах указаны в свидетельстве о выходном контроле електроустаткування в разделе 15 ч. IV 1-го альбома руководства.
Условия експлуатации електроустаткування верстата:
В случае експлуатации верстатів на высоте свыше 1000м над уровнем моря по согласованию з потребителем необходимо учитывать снижение диелектрической прочности изоляции і охлаждающее действие воздуха.
Принципиальная схема 400S.180.000 Э3 і принципиальные схеми вузлів, поставляемы по особому заказу, приводятся в приложениях к руководству.
Установкой рукоятки вводного выключателя F1 в положение 1 електрообладнання верстата подключается к питающей електросети і включается сигнальная лампа HL1.
При воздействии на кнопку керування S7 включается реле К2, К3 і магнитный пускатель К1. Магнитный пускатель К1 включает електродвигатель М4 станції змазки.
После запуска електродвигуна M1 могут быть включены:
Ускоренное перемещение каретки може происходить независимо от запуска електродвигуна Ml; кнопкой керування S10 включается магнитный пускатель К9 електродвигуна М2 быстрых перемещений каретки і суппорта.
Работа одновременно двумя рукоятками керування, например, увімкнення шпинделя правой рукояткой, а відключення левой рукояткой - невозможно.
Если одной из рукояток шпиндель включен - вторая рукоятка никакого воздействия на работу приводу не оказывает, т.к., если работают правой рукояткой, реле К2 оказывается отключенным, а при работе левой рукояткой отключается реле КЗ. Но, если обе рукоятки находятся в нейтральном положении і реле К2, К3 включены, то начинать работу можно любой рукояткой керування.
Чтобы включить рабочий ход шпинделя левой рукояткой керування її следует перевести из положения 2 "Шпиндель стоп" в положение 3 "Шпиндель вперед". При етом контакты переключателя S9 в цепях 2.0 і 2.1 размыкаются і реле КЗ отключается, а контакт S9 в ланцюги 2.2. замыкается і включает реле К4, контакт которого, в свою очередь, включает реле К6 (контроль нейтрали шпинделя).
Для останова шпинделя рукоятку керування следует перевести из положения 3 в положение 2 "Шпиндель стоп". При етом контакты переключателя S9 в цепях 2.0 і 2.1 замыкаются і включается реле К3, а контакт в ланцюги 2.2 размыкается і отключает реле К4 і через него К6. Контакт К6 в ланцюги 2.9 включает електромагнитную муфту Y1. Шпиндель тормозится і останавливается.
При торможении реле К11 включается і отключается з помощью Модуля часу AT1. Время торможения шпинделя задается в пределах 2..3 секунды і регулируется потенциометром модуля часу AT1. Информация о модуле часу приведена в разделе 3.
Чтобы включить обратный ход шпинделя "Шпиндель назад", рукоятку керування следует перевести из положения 2 "Шпиндель стоп" в положение 1 "Шпиндель назад". При етом, контакты переключателя S9 в цепях 2.0 і 2.1 размыкаются і реле К3 отключается, а контакт S9 в ланцюги 2.3 замыкается і включает реле К5.
При включении реле контакт К5 в ланцюги 2.5 включает магнитный пускатель К8 ходу назад, і електродвигатель Ml начинает вращаться в обратном направлении. Другой контакт реле К5 в ланцюги 2.3 включит реле К6.
Для останова шпинделя рукоятку керування из положения 1 следует перевести в положение 2 "Шпиндель стоп". При етом контакты переключателя S9 в цепях 2.0 і 2.1 замыкаются і включается реле КЗ, контакт S9 в ланцюги 2.3 размыкается і отключается реле К5. Обесточенное реле К6 включает електромагнитную муфту Y1. Шпиндель тормозится і останавливается. После остановки шпинделя реле К11 отключается і отключает електромагнитную муфту Y1.
При управлении шпинделем правой рукояткой керування команда "Шпиндель вперед" или "Шпиндель назад" подается переключателей S8. При подаче етих команд переключателем S8 реле К2 отключается, а реле К3 остается включенным. В остальном действие електросхеми аналогично действию при управлении шпинделем левой рукояткой керування.
Для освещения зоны обробки верстата на каретке установлен светильник EL1 (узел 400L.083.000 поставляемый по особому заказу).
Увімкнення і відключення лампы местного освещения производится переключателем SA3, который находится на светильнике EL1.
Модуль часу предназначен для увімкнення исполнительного елемента на заданное время при подаче управляющим контактом входного сигнала (напряжения живлення).
Если в качестве исполнительного елемента используется електромагнитное реле, то данное пристрій является електронным реле часу.
Длительность входного сигнала должна быть больше выдержки часу.
Технічні данные:
Конструктивно модуль часу состоит из стеклотекстолитовой плиты з односторонним монтажом електронных елементів і угольника основания.
Для подсоединения к источнику живлення і к реле нагрузки на плате имеются три вывода з маркировкой "+", "-" і "к".
При подаче напряжения через открытый транзистор V3 включается исполнительный елемент К (реле нагрузки). Одновременно начинает заряжаться конденсатор С1 времязадающей ланцюги Cl, P1, Р2 от стабилизированного стабилитроном V1 напряжения порядка 11...12 В. Время заряда конденсатора С1, определяющее выдержку часу, регулируется резистором R1. Резистор R2 служит для ограничения минимальной выдержки часу.
Когда напряжение на конденсаторе С1 превысит падение напряжения (порог срабатывания) на объемном сопротивлении базы однопереходного транзистора, входящего в состав гибридного порогового тиристора V2, через емиттерный переход начнется лавинообразный разряд конденсатора.
Импульс тока на базе однопереходного транзистора, являющийся одновременно і управляющим електродом тиристора, включает тиристор і напряжение на стабилитроне V1 падает до величины падения напряжения на тиристоре порядка 1,5 В.
Через тиристор R3 подается напряжение смещения на однопереходный транзистор, а резистор R4 является его нагрузкой.
Поскольку напряжение на делителе R6, R7 резко уменьшается, то транзистор V3 закрывается і реле К отключается.
Диод V4 защищает выходной транзистор от токов самоиндукции катушки реле К, а диод V5 защищает схему от неправильной полярности питающего напряжения.
Снятие напряжения живлення до срабатывания модуля часу приведет к быстрому (за 0,015 секунды) разряду времязадающего конденсатора С1, так как пропадает смещающее напряжение через резистор R3 і емиттерный переход однопереходного транзистора будет открыт. Следовательно влияние накопленной выдержки часу не будет сказываться на длительности выдержки часу в следующем цикле роботи.
Время восстановления к повторному включению определяется временем разряда конденсатора фильтра С2 через балластный резистор R5 на включенный тиристор V2. После очередного срабатывания при подаче напряжения живлення через время менее 0,06 секунды тиристор V2 може оставаться включенным і выходной транзистор V3 і реле К останутся отключенными.
Виконання модуля часу для роботи в специальных (импульсных) схемах з уменьшенным до 0,02 секунды временем восстановления отличаются отсутствием конденсатора фильтра С2 і при литании выпрямленным напряжением коеффициент пульсации должен быть менее 10%.
Резистор R8 служит для ограничения бросков зарядного тока через управляющий контакт увімкнення модуля часу.
Маркировка выводов тиристора і транзистора:
На станке предусмотрены наступні блокировки:
При подъеме кожуха ограждения патрона или оттянутой рукоятке переключения швидкостей шпинделя при его вращении - шпиндель тормозится і останавливается. Увімкнення обертання шпинделя може осуществлено повторным включением рукоятки керування після возобертання кожуха і рукоятки в рабочее положение.
При открывании дверки коробки передач отключается електродвигатель головного приводу Ml. Шпиндель тормозится і останавливается. Увімкнення обертання шпинделя возможно після закрытия дверки нажатием пусковой кнопки S7 і включением рукоятки керування.
Во время пуска і роботи верстата (рукоятка автоматичного выключателя К1 в положении 1) невозможно открыть дверку ел. шкафа, т.к. срабатывает механическая блокировка приводу вводного автомата).
Ограничение продольного і поперечного переміщення каретки і суппорта осуществляется механическими блокировками, описанными в п. 8.7 1 альбома руководства.
При первоначальном пуске верстата необходимо прежде всего проверить надежность заземления і состояние електроустаткування і проводов.
Осмотреть електроаппаратуру, установленную в електрошкафу.
Подвижные частини магнитных пускачів і реле должны перемещаться свободно, без заеданий і перекосов, как при воздействии на них рукой, так і от дії возвратных пружин
После осмотра, если електрообладнання исправно, електрошкаф закрыть і установкой рукоятки вводного выключателя F1 в положение 1 "Включено" подключить електрообладнання верстата под напряжение. При етом на пульті електрошафи загорается сигнальная лампа HL1.
Запуск електродвигуна головного приводу M1, увімкнення шпинделя верстата і другие операции следует производить в соответствии з разделом 2.
Действие всех предусмотренных схемой блокировок необходимо проверить по разделу 4.

Список елементів токарно-гвинторізного верстата Samat-400
Список елементів токарно-гвинторізного верстата Samat-400. Дивитись у збільшеному масштабі

Список елементів токарно-гвинторізного верстата Samat-400
Список елементів токарно-гвинторізного верстата Samat-400. Дивитись у збільшеному масштабі

Список елементів токарно-гвинторізного верстата Samat-400
Список елементів токарно-гвинторізного верстата Samat-400. Дивитись у збільшеному масштабі

Список елементів токарно-гвинторізного верстата Samat-400
Список елементів токарно-гвинторізного верстата Samat-400. Дивитись у збільшеному масштабі

Електрична схема модуля часу токарно-гвинторізного верстата Samat-400

Список елементів модуля часу токарно-гвинторізного верстата Samat-400

Розташування елементів токарно-гвинторізного верстата Samat-400
Розташування елементів токарно-гвинторізного верстата Samat-400. Дивитись у збільшеному масштабі
| Наименование параметра | Samat 400 SS | Samat 400 SV | Вектор SC | МС Вектор SC |
|---|---|---|---|---|
| Основні параметри | ||||
| Класс точності по ГОСТ 8-82 | А | П | В | П |
| Наибольший диаметр заготовки устанавливаемой над станиной, мм | 400 | 400 | 400 | |
| Наибольший диаметр заготовки устанавливаемой над суппортом, мм | 220 | 220 | 220 | |
| Наибольшая длина заготовки (РМЦ), мм | 500, 750 | 500, 750, 1000, 1500 | 500, 750 | |
| Параметри точності | ||||
| Постоянство диаметра в поперечном сечении (круглость), мм | 0,0016 | 0,007 | 0,007 | 0,007 |
| Постоянство диаметра в продольном сечении, мм | 0,006 | 0,012 | 0,008 | 0,012 |
| Прямолинейность торцевой поверхности, мм | 0,004 | 0,01 | 0,006 | |
| Шероховатость поверхности після чистовой обробки | Ra 0,63 | Ra 2,5 | Ra 1,25 | Ra 2,5 |
| Шпиндель | ||||
| Диаметр сквозного отверстия в шпинделе, мм | 45 | 45 | 45 | |
| Наибольший диаметр прутка, мм | 44 | 44 | 44 | |
| Число ступеней частот прямого обертання шпинделя | Б/с | Б/с | Б/с | |
| Частота прямого обертання шпинделя, об/мин | 16..2800 | 12..2200 | 25..2500 | |
| Размер внутреннего конуса в шпинделе, М | Конус морзе 6 | Конус морзе 6 | Конус морзе 6 | |
| Кінець шпинделя по ГОСТ 12593-72 | 6К | 6К | 6К | |
| Торможение шпинделя | есть | есть | ||
| Наибольший крутящий момент на шпинделе, Нм | 135 | |||
| Суппорт. Подачи | ||||
| Наибольшее расстояние от оси центров до кромки резцедержателя, мм | 185 | 185 | ||
| Наибольшее продольное перемещение суппорта от руки, по валику, по винту, мм | 500, 750 | 500, 750, 1000, 1500 | ||
| Наибольшее поперечное перемещение суппорта от руки, по винту, мм | 220 | 220 | ||
| Высота резца, мм | 25 | 25 | ||
| Пределы продольных подач, мм/об | 0,25..2,8 | 0,05..2,8 | 0,01..9,99 | |
| Пределы поперечных подач, мм/об | 0,025..1,4 | 0,025..1,4 | 0,005..4,99 | |
| Скорость быстрых перемещений суппорта, продольных, м/мин | 4 | 4 | 6 | |
| Скорость быстрых перемещений суппорта, поперечных, м/мин | 2 | 2 | 3 | |
| Продольное перемещение на одно деление лимба, мм | 1 | 1 | ||
| Продольное перемещение на одно деление нониуса, мм | 0,1 | 0,1 | ||
| Продольное перемещение на один оборот лимба, мм | 100 | 100 | ||
| Поперечное перемещение на одно деление лимба, мм | 0,025 | 0,025 | ||
| Поперечное перемещение на один оборот лимба, мм | 5 | 5 | ||
| Дискретность ппродольных і поперечных перемещений в ручном режиме, мм | - | - | 0,001 | |
| Пределы шагов нарезаемых різьб метрических, мм | 0,25..56 | 0,25..56 | 0,2..56 | |
| Пределы шагов нарезаемых різьб дюймовых, ниток на 1" | 112..0,5 | 112..0,5 | 28..1 | |
| Пределы шагов нарезаемых різьб модульных | 0,25..56 | 0,25..56 | - | |
| Пределы шагов нарезаемых різьб питчевых | 112..0,5 | 112..0,5 | - | |
| Предохранитель от перегрузки по приводу головного руху і по приводу подач | есть | есть | ||
| Блокування поздовжніх та поперечних подач | є | є | ||
| Вимикаючі поздовжні упори | Є | Є | ||
| Верхній супорт (різцеві санки) | ||||
| Найбільше переміщення, мм | 120 | 120 | ||
| Кут повороту різцетримки, град | 90° | 90° | ||
| Ціна поділу лімба, мм | 0,05 | 0,05 | ||
| Переміщення на один оберт лімба, мм | 3 | 3 | ||
| Задня бабка | ||||
| Найбільше переміщення пінолі, мм | 120 | 120 | ||
| Розмір центру в пінолі | Морзе 5 | Морзе 5 | Морзе 5 | Морзе 5 |
| Поперечне переміщення бабки вперед, мм | ±5 | ±5 | ||
| Електроустаткування верстата | ||||
| Електродвигун головного приводу, кВт (об/хв) | 5,5/ 7,5 (1430) | 5,5/ 7,5 (1430) | 5,5 | 5,5 |
| Привід прискорених переміщень, кВт (об/хв) | 0,37 (1500) | 0,37 (1500) | ||
| Електродвигун насоса охолодження, кВт (об/хв) | 0,125 (2680) | 0,125 (2680) | ||
| Електродвигун станції мастила, кВт (об/хв) | 0,18 (1370) | 0,18 (1370) | ||
| Габарити та маса верстата | ||||
| Габарити верстата (РМЦ = 750 мм), мм | 2220 х 1110 х 1505 | 2220 х 1110 х 1505 | 2225 х 1190 х 1470 | 2225 х 1190 х 1470 |
| Маса верстата, кг | 2040 рік | 2040 рік | 1985 рік | 1985 рік |