metalinstryment.com
Довідник по металорізальних верстатів та пресовому обладнанні

Коробка подач фрезерных верстатів серии 6Т
схеми, опис, характеристики

Коробка подач фрезерных верстатів серии 6т







Відомості про виробника консольно-фрезерных верстатів серии 6Т

Производитель фрезерных верстатів серии 6Т Горьковский завод фрезерных верстатів, ГЗФС, основанный в 1931 году.





Продукция Горьковского завода фрезерных верстатів ГЗФС


Коробка подач фрезерных верстатів серии 6Т. Назначение, область применения

Консольно-фрезерные верстати серии Т выпускались Горьковским заводом фрезерных верстатів (ГЗФС) начиная з 1985 года. Верстати сходны между собой по конструкції, широко унифицированы і є дальнейшим усовершенствованием аналогичных верстатів серии Р.

Конструкція і принцип роботи коробки подач фрезерных верстатів серии 6т

Коробка подач обеспечивает получение рабочих перемещений стола по 3-м координатам.

Коробка подач является самостоятельным узлом, монтируемым з левой стороны консоли. Она одинакова для всей гаммы верстатів, — 6Т12-1, 6Т13-1, 6Т82-1, 6Т83-1 6Т12, 6Т13, 6Т82, 6Т82Г, 6Т82ш, 6Т83, 6Т83Г, 6Т83Ш.



Розташування органів керування фрезерным верстатом 6Т82-1

Розташування органів керування фрезерным верстатом 6Т82-1

Розташування органів керування фрезерным верстатом 6Т82-1

Розташування органів керування фрезерным верстатом 6Т82-1. Скачать в увеличенном масштабе



Список органів керування фрезерным верстатом 6Т82-1

  1. Указатель швидкостей шпинделя
  2. Кнопка "Толчок шпинделя"
  3. Переключатель "Зажим-отжим инструмента"
  4. Кнопка "Перемещение стола вперед, влево, вверх"
  5. Переключатель выбора направления переміщення стола
  6. Кнопка "Перемещение стола назад, вправо, вниз"
  7. Кнопка "Стоп переміщення стола"
  8. Кнопка "Замедленная подача"
  9. Кнопка "Быстрое перемещение стола" (дублирующая)
  10. Кнопка "Стоп" аварийная
  11. Кнопка "Стоп шпинделя" (дублирующая)
  12. Рукоятка переключения швидкостей шпинделя
  13. Кнопка "Пуск шпинделя" (дублирующая)
  14. Ручное перемещение хобота
  15. Зажим серег
  16. Зажимы салазок
  17. Клавиша "Перемещение стола влево"
  18. Клавиша "Перемещение стола вправо"
  19. Клавиша "Стоп продольного перемещение стола"
  20. Зажимы стола
  21. Переключатель увімкнення режима роботи стола "Ручной - механический"
  22. Маховик ручного продольного переміщення стола
  23. Кнопка "Пуск шпинделя"
  24. Кольцо-нониус
  25. Лимб механізма поперечных перемещений стола
  26. Ручное поперечное перемещение стола
  27. Кнопка "Стоп" аварийная
  28. Ручное вертикальное перемещение стола
  29. Переключатель выбора режима роботи верстата
  30. Грибок переключения подач
  31. Кнопка "Стоп шпинделя"
  32. Переключатель "Замедленная подача"
  33. Кнопка "Быстрое перемещение стала"
  34. Клавиш "Стоп вертикального переміщення стола"
  35. Клавиша "Перемещение стола вниз"
  36. Клавиша "Перемещение стола вверх"
  37. Маховик ручного продольного переміщення стола (дублирующий)
  38. Клавиша "Стоп поперечного переміщення стола"
  39. Клавиша "Перемещение стола вперед"
  40. Клавиша "Перемещение стола назад"
  41. Зажим хобота
  42. Вводной выключатель
  43. Переключатель направления обертання шпинделя "Влево-вправо"
  44. Переключатель насоса охлаждения "Включено-выключено"
  45. Переключатель выбора автоматических циклов по рамке
  46. Переключатель выбора автоматических циклов стола
  47. Зажим консоли
  48. Зажимы поворотных салазок
  49. Рукоятка ручного вертикального і поперечного перемещений стола, (съемная)

История выпуска верстатів Горьковским заводом, ГЗФС

В 1937 году на Горьковском заводе фрезерных верстатів были изготовлены первые консольно-фрезерные верстати серии 6Б моделей 6Б12 і 6Б82 з рабочим столом 320 х 1250 мм (2-го типоразмера).

В 1951 году запущена в производство серия консольно-фрезерных верстатів: 6Н12, 6Н13П, 6Н82, 6Н82Г. Верстат 6Н13ПР получил “Гран-При” на всемирной выставке в Брюсселе в 1956 году.

В 1960 году запущена в производство серия консольно-фрезерных верстатів: 6М12П, 6М13П, 6М82, 6М82Г, 6М83, 6М83Г, 6М82Ш.

В 1972 году запущена в производство серия консольно-фрезерных верстатів: 6Р12, 6Р12Б, 6Р13, 6Р13Б, 6Р13Ф3, 6Р82, 6Р82Г, 6Р82Ш, 6Р83, 6Р83Г, 6Р83Ш.

В 1975 году запущены в производство копировальные консольно-фрезерные верстати: 6Р13К.

В 1978 году запущены в производство копировальные консольно-фрезерные верстати 6Р12К-1, 6Р82К-1.

В 1985 году запущена в производство серия 6Т-1 консольно-фрезерных верстатів: 6Т12-1, 6Т13-1, 6Т82-1, 6Т83-1 і ГФ2171.

В 1991 году запущена в производство серия консольно-фрезерных верстатів: 6Т12, 6Т12Ф20, 6Т13, 6Т13Ф20, 6Т13Ф3, 6Т82, 6Т82Г, 6Т82ш, 6Т83, 6Т83Г, 6Т83Ш.






Схема кінематична консольно-фрезерного верстата серии 6Т

серии 6Т Схема кінематична консольно-фрезерного верстата

Кінематична схема консольно-фрезерного верстата серии 6Т

1. Схема кінематична консольно-фрезерного верстата серии 6Т. Скачать в увеличенном масштабе

2. Схема кінематична консольно-фрезерного верстата серии 6Т. Скачать в увеличенном масштабе



Кінематична схема приведена для понимания связей і взаимодействия основних елементів верстата. На выносках проставлены числа зубьев (г) шестерен (звездочкой обозначено число заходов червяка).

Привід головного руху осуществляется от фланцевого електродвигуна через упругую соединительную муфту.

Числа оборотів шпинделя изменяются передвижением трех зубчатых блоков по шлицевым валам.

Коробка швидкостей сообщает шпинделю 18 различных швидкостей.

Привід подач осуществляется от фланцевого електродвигуна, смонтированного в консоли. Посредством двух трехвенцовых блоков і передвижного зубчатого колеса з кулачковой муфтой коробка подач обеспечивает получение 18 различных подач, которые через шариковую предохранительную муфту передаются в консоль і далее при включении соответствующей кулачковой муфты к гвинтам продольного, поперечного і вертикального перемещений.

Ускоренные переміщення получаются при включении фрікциону швидкого ходу, вращение которого осуществляется через промежуточные зубчасті колеса непосредственно от електродвигуна подач.

Фрикцион сблокирован з муфтой рабочих подач, что устраняет возможность их одновременного увімкнення.

Графики, поясняющие структуру механізма подач верстата, приведены на рис. 6 і 7.

Привід подач, включающий ланцюг ускоренного ходу, ланцюг рабочих подач і ланцюг замедленных перемещений, осуществляется от фланцевого електродвигуна М2 размещенного на правой стороне консоли. Посредством четырех 2-х венцовых зубчатых блоков і одновенцового подвижного зубчатого колеса увімкнення перебора, коробка подач обеспечивает получение 22 различных подач, которые передаются на выходной вал привода, снабженный муфтой увімкнення ускоренного ходу, муфтой увімкнення рабочих подач і предохранительной шариковой муфтой. С зубчатого венца предохранительной муфты S3 рух поступает в коробку раздачи движений по ходовым гвинтам, где для каждой координаты перемещений стола установлено по две управляющих електромагнітних муфты з взаимно противоположными направлениями вращений. Рух стола в заданном направлении обеспечивается включением соответствующей муфты в раздаточной коробке.

Ускоренные переміщення получаются включением муфты ускоренного ходу 43 і електродвигуна подач, рух з которого через конические зубчасті колеса 39 і 40 передається на вал II, а затем через колесо 42 сообщается зубчатому венцу муфты 43 свободно обкатывающемуся на валу XI і взаимодействующему з електромагнитной муфтой увімкнення ускоренного ходу.

Рабочие переміщення обеспечиваются включением муфты подач 45 при работающем двигателе і разомкнутой муфте ускоренного ходу. Скорость обертання выходного вала XI при включенной подаче определяется положением передвижных зубчатых блоков в коробке подач.

Замедленные переміщення осуществляются за счет уменьшения основной подачі в два раза з помощью понижающего редуктора, в который входят приемное зубчатое колесо 86, промежуточные 85 і 87 і выходное - 88. Передачу руху на вход редуктора замедления осуществляет зубчатое колесо муфты 45, свободно обкатывающееся на валу XI. При включенной муфте замедленной подачі рух з редуктора передається на зубчатое колесо 44, жестко связанное з валом XI. муфты ускоренного ходу і рабочих подач при включении замедления отключаются.

Установчі ручні переміщення стола производятся маховиками 22 или 37. Перемещения салазок і консоли - съемной рукояткой 49 (рис.15).

График продольных і поперечных подач консольно-фрезерного верстата

График продольных і поперечных подач консольно-фрезерного верстата

График продольных і поперечных подач консольно-фрезерного верстата. Дивитись у збільшеному масштабі



График, поясняющий структуру механізма подач верстата, приведен на рис.18 (вертикальные подачі в три раза меньше продольных і поперечные).

Список зубчатых колес, червяков, ходовых винтов к кінематичної схеме приведен в табл.4.


Конструкція коробки подач консольно-фрезерного верстата серии 6Т

Коробка подач (рис.23) обеспечивает получение рабочих перемещений стола по 3-м координатам.

Коробка подач

Коробка подач консольно-фрезерного верстата

Коробка подач консольно-фрезерного верстата

Коробка подач консольно-фрезерного верстата. Дивитись у збільшеному масштабі



Коробка подач консольно-фрезерного верстата

Коробка подач консольно-фрезерного верстата

Коробка подач консольно-фрезерного верстата. Дивитись у збільшеному масштабі



Коробка подач консольно-фрезерного верстата

Коробка подач консольно-фрезерного верстата

Коробка подач консольно-фрезерного верстата. Дивитись у збільшеному масштабі



Коробка подач консольно-фрезерного верстата

Коробка подач консольно-фрезерного верстата

Коробка подач консольно-фрезерного верстата. Дивитись у збільшеному масштабі



Вращение на входное колесо I коробки подач поступает з зубчатого венца 5 (рис.25), установленного на валу УII консоли. Получаемые в результате переключения блоков шестерен скорости через выходное колесо 3 (рис.25) і паразитную шестерню 20 (рис.24) передаются на муфту подач (рис. 25) установленную на размещенном в консоли выходном валу XVI ланцюги ускоренного ходу. Коробка подач і ланцюг ускоренного ходу от поломок при перегрузках защищены шариковой предохранительной муфтой 22. Величина момента, развиваемого муфтой, регулируется изменением зусилля пружин, воздействующих на шарики, размещенные в пазах на торце зубчатого колеса. При перегрузке механізма подач, шарики, преодолевая зусилля пружин, выдавливаются из пазов і зубчатое колесо 21 начинает проскальзывать относительно вала 16, при етом рабочая подача прекращается.

Регулювання муфты считается правильным, если не происходит її срабатывание при одновременном быстром перемещении консоли вверх і по любой другой координате.

Подача змазки к вузлам приводу подач осуществляется плунжерным насосом з приводом от шарикопідшипника 2, насаженного на ексцентрично выполненную ступицу входного колеса (рис.23).

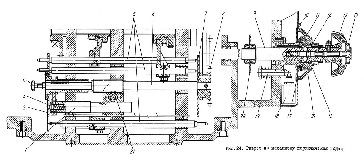
Механізм переключения подач

Механізм переключения подач консольно-фрезерного верстата

Механізм переключения подач консольно-фрезерного верстата

Механізм переключения подач консольно-фрезерного верстата. Дивитись у збільшеному масштабі



Механізм переключения подач (рис.24) включает жестко связанный з валом 6 диск 7, подвижный вдоль оси вала диск 2, штанги 5 з переключающими вилками. При переключениях диски движутся во встречном направлении и, воздействуя на торцы штанг, перемещают их і связанные з ними блоки переключаемых шестерен в осевом направлении. Заданное направление переміщення штанг (вправо - влево) обеспечивается наличием в дисках отверстий, расположенных против соответствующих торцев штанг. Ступица диска 7 снабжена кольцевой проточкой і зубчатым колесом 8, посредством которых механізм переключения подач связан з валом керування 9.

Для переключения подачі необходимо нажать кнопку 14 і вытянуть грибок 13 на себя до отказа. При етом вал 9 потянет за собой связанный з ним вал 6 з диском 7. Диск 2, связанный при помощи рейки I і шестерни 21 з валом 6, в етом случае, будет двигаться в противоположном направлении до упора его ступицы в винт 4, а концы штанг освободятся от взаимодействия з дисками. Последующим поворотом грибка 13 вокруг оси установить по лимбу II требуемую величину подачі против стрелки-указателя 10.

Переключення подачі производится переміщенням грибка в осевом направлении до первоначального фиксированного положения. Если дослать грибок в исходное положение не удается, то следует снова повторить рух на себя. При етом воздействием диска 20 через толкатель 19 будут замкнуты контакты конечного выключателя 18, управляющие импульсным включением двигуна подач, після етого возврат грибка в исходное положение пройдет без затруднений.

Смещение дисков 2 і 7 в осевом направлении предотвращается фиксацией вала 9 во включенном положении двумя шариками 16 і втулкой 15, При нажиме на кнопку 14, шарики попадают в кольцевую проточку валика 17 і освобождают от фиксации вал 9.

Фиксация поворота дисков переключения осуществляется подпружиненным шариком 3, расположенным в отверстии рейки I.




Консоль

Консоль консольно-фрезерного верстата

Консоль консольно-фрезерного верстата

Консоль консольно-фрезерного верстата. Дивитись у збільшеному масштабі



Консоль консольно-фрезерного верстата

Консоль консольно-фрезерного верстата

Консоль консольно-фрезерного верстата. Дивитись у збільшеному масштабі



Консоль является базовым узлом, объединяющим вузли ланцюги подач верстата. Непосредственно в корпусе консоли встроены ланцюг ускоренных перемещений, коробка раздачи движений по ходовым гвинтам і вал керування механізмом переключения подач. На левой стороне консоли прифланцована съемная коробка подач з патрубком для залива масла, а также расположены указатели роботи насоса і уровня масла в масляном резервуаре консоли. С правой стороны крепится редуктор замедленных перемещений, електродвигатель подач і распределительная коробка для живлення електромагнітних муфт, размещенная под защитным кожухом електродвигуна.

Наличие распределительной коробки з клеммными рейками позволяет, не вскрывая консоли, прозвонить ланцюг любой из електромагнітних муфт в приводе подач.

На переднем торце консоли размещены кнопки периодической подачі масла к направляющим стола, салазки і консоли. Здесь же расположен грибок переключения подач.

Корпус консоли разделен поперечної перегородкой на два отсека. В переднем отсеке встроена муфтовая коробка раздачи движений по ходовым гвинтам. Доступ к муфтам при осмотрах і ремонтных работах осуществляется через боковые окна: через правое - к предохранительной і муфтам поперечного ходу, через левое - к муфтам вертикальних перемещений.

Демонтаж і установка муфт продольного ходу производится через отверстие в передньої стенке консоли, закрытое опорным фланцем підшипника муфтового вала.

При демонтаже валов з муфтами поперечного і вертикального перемещений стола не следует нарушать первоначальную налаштування положения блокировочных конечных выключателей, обеспечивающих відключення електромагнітних муфт при пользовании съемной рукояткой установочных перемещений.

Ланцюг ускоренного ходу представляет собой две пары постоянно сцепленных зубчатых передач, установленных на валах 11, 7 і 16 (рис.25), зубчасті колеса 9, 6 і 3 етих передач жестко соединены з валами 11 і 7 , а ведомое колесо 15 свободно вращается на валу 16 і жестко соединяется з ним при замыкании муфты ускоренного ходу 14.

На валу, кроме муфты увімкнення ускоренного ходу, размещены муфты увімкнення подач 18, зубчатое колесо 17 для связи з выходной шестерней редуктора замедленной подачі, а также предохранительная муфта 22, через которую передається рух на коробку раздачи руху по ходовым гвинтам.

Для каждой координаты перемещений в раздаточной коробке установлено по две муфты з взаимно противоположными направлениями вращений ведущих зубчатых венцов. С муфтового вала 25 через зубчасті колеса 2 і I вращение передається на винт поперечных перемещений 32. На винт вертикальних перемещений обертання поступаю* з вала 27 через цилиндрическую зубчатую пару 29; 30 і конические зубчасті колеса 5 і 4 (рис.25, 26).

Вращение на винт продольных перемещений передається з вала 28 посредством двойного блока 26 (рис.25), свободно установленного на кінці гвинта поперечных подач перемещений, на шлицевый вал 31.

Далее вращение через две конические пары шестерен 12; 13 і 14; 4 поступает на гильзу 10 (рис.28), связанную з винтом продольных перемещений I, посредством скользящей шпонки.

Механізм пропорционального замедления подачі

Механізм пропорционального замедления подачі (рис.27) предназначен для снижения подачі в два раза при врезании і выходе инструмента при фрезеровании.

Зубчатое колесо I для механізма замедления является входным, колесо 3 - выходным. Входное колесо находится в зацеплении з зубчатым колесом 19 (рис. 25) свободно обкатывающимся по валу, выходное - з колесом 17, жестко установленным на етом же валу.

Увімкнення механізма замедления в работу осуществляется муфтой 2 (рис.27). При етом муфта подач отключается. Увімкнення механізма замедления происходит в ручном режиме переключателем 32 на основном пульті или кнопкой 8 (рис.15) на боковом пульті, а в автоматическом - кулачком, установленным на передньої плоскости стола, воздействующим на блок путевых микропереключателей.

При включении замедленной подачі кнопкой или кулачком, продолжительность замедленного переміщення определяется временем нажатия на кнопку или длиной кулачка.




Стол і салазки

Стол консольно-фрезерного верстата

Стол консольно-фрезерного верстата

Стол консольно-фрезерного верстата. Дивитись у збільшеному масштабі



Салазки консольно-фрезерного верстата

Салазки консольно-фрезерного верстата

Салазки консольно-фрезерного верстата. Дивитись у збільшеному масштабі



Стол і салазки (рис.28, 29) обеспечивают продольные і поперечные переміщення стола.

Ходовой винт I (рис.28) получает вращение через скользящую шпонку гильзы 10, смонтированной во втулках 5 і 7. Гильза 10 через шлицы получает вращение от зубчатой полумуфты 6 при сцеплении її з зубчатой полумуфтой 5, жестко связанной з коническим зубчатым колесом 4. Полумуфта 5 имеет зубчатый венец, з которым зацепляется зубчатое колесо приводу круглого стола. Полумуфта 6 имеет зубчатый венец для осуществления обертання гвинта поздовжньої подачі при переміщеннях от маховика. Вращение на зубчатый венец передається от шестерни 4 (рис.29), которая подпружинена на случай попадания зуба на зуб. Зацепление зубчатого венца 3 полумуфты з шестерней 4 возможно только в случае расцепления полумуфты 6 з полумуфтой 5 (рис. 28) і осуществляется переміщенням рейки I от переключателя 6, закрепленного на валике 2 (рис.29). Таким образом осуществляется блокировка маховика 5.

Гайки 2 і 3 ходового гвинта I (рис.28) расположены в левой частини салазок. Правая гайка 3 зафиксирована двумя штифтами в корпусе салазок: левая гайка 2, упираясь торцем в правую, при повороте її червяком выбирает люфт в винтовой паре.

Стол соединяется з ходовым винтом через кронштейны, установка которых на торцах стола производится по фактическому расположению гвинта і фиксируется контрольными штифтами. 7порные підшипники смонтированы на разных концах гвинта, что устраняет возможность его роботи на продольный изгиб. При монтаже гвинта обеспечивается предварительный натяг ходового гвинта гайками з усилием 1000... 1250 H (l00..125 кгс).

Зажим салазок на направляючих консоли обеспечивается планками 9, на которые воздействует ексцентрик валика 8.





6М12П Верстат консольно-фрезерный вертикальний з поворотной головкой. Відеоролик.




    Список литературы:

  1. Верстати вертикальные консольно-фрезерные 6Т12-1, 6Т13-1. Руководство по експлуатации 6Т12-1.00.000 РЭ,
  2. Верстати вертикальные консольно-фрезерные 6Т12, 6Т13. Руководство по експлуатации 6Т12.00.000 РЭ,
  3. Верстати вертикальные консольно-фрезерные 6Т12-29, 6Т13-29. Руководство по експлуатации 6Т12-29.00.000 РЭ, 1992
  4. Верстати консольно-фрезерные 6Т82Г-1, 6Т82-1, 6Т83Г-1, 6Т83-1. Руководство по експлуатации 6Т82Г-1.00.000 РЭ,
  5. Верстати фрезерные консольные широкоуниверсальные 6Т82Ш, 6Т83Ш. Руководство по експлуатации 6Т82Ш.00.000 РЭ, 1986

  6. Аврутин С.В. Основы фрезерного дела, 1962
  7. Аврутин С.В. Фрезерне дело, 1963
  8. Ачеркан Н.С. Металлорежущие верстати, Том 1, 1965
  9. Барбашов Ф.А. Фрезерне дело 1973
  10. Барбашов Ф.А. Фрезерные роботи (Профтехобразование), 1986
  11. Блюмберг В.А. Справочник фрезеровщика, 1984
  12. Григорьев С.П. Практика координатно-расточных і фрезерных работ, 1980
  13. Копылов Р.Б. Работа на фрезерных верстатах, 1971
  14. Косовский В.Л. Справочник молодого фрезеровщика, 1992
  15. Кувшинский В.В. Фрезерование,1977
  16. Ничков А.Г. Фрезерные верстати (Библиотека станочника), 1977
  17. Пикус М.Ю. Справочник слесаря по ремонту металлорежущих верстатів, 1987
  18. Плотицын В.Г. Расчёты настроек і наладок фрезерных верстатів, 1969
  19. Плотицын В.Г. Наладка фрезерных верстатів,1975
  20. Рябов С.А. Современные фрезерные верстати і их оснастка, 2006
  21. Схиртладзе А.Г., Новиков В.Ю. Технологическое обладнання машиностроительных производств, 1980
  22. Тепинкичиев В.К. Металлорежущие верстати, 1973
  23. Чернов Н.Н. Металлорежущие верстати, 1988
  24. Френкель С.Ш. Справочник молодого фрезеровщика (3-е изд.) (Профтехобразование), 1978








Заказать

Кто владеет информацией - тот владеет миром.

Натан Ротшильд