metalinstryment.com
Довідник по металорізальних верстатів та пресовому обладнанні

5В833 Електроустаткування верстата
Електросхема верстата

5В833 Загальний вигляд зубошлифовального верстата







Відомості про виробника зубошлифовального верстата 5В833

Производитель вертикального зубошлифовального верстата 5В833 Егорьевский станкостроительный завод Комсомолец, основанный в 1930 году.

Завод за время своего существования выпустил свыше 60 моделей: зубофрезерных, зубодолбежных, зубошлифовальных, зубозакругляющих і других зубообрабатывающих верстатів.





Продукция Егорьевского станкостроительного завода Комсомолец


5В833 Верстат зубошлифовальный універсальний напівавтомат з цикловым программным керуванням підвищеної точності. Назначение і область применения

Зубошлифовальный верстат 5В833 предназначен для шлифования прямозубых і косозубых цилиндрических колес в серийном і крупносерийном производстве.

Шлифование производится абразивным червяком методом обкатки при непрерывном делении.

Витки червяка имеют в осевом сечении форму прямобочной производящей рейки з шагом, равным окружному шагу шлифуемого колеса.

Окончательное профилирование винтовой поверхности абразивного червяка производится на самом станке многониточными стальными накатниками или алмазными резцами.

Отличительными особенностями верстата 5В833 є наличие електрической связи в ланцюги деления, осуществляемой двумя синхронными електродвигунами, і отсутствие в ланцюги деления диференціала. Это упрощает конструкцию верстата і повышает надежность і долговечность его роботи.

Для вытяжки і очистки отсасываемых паров охлаждающей жидкости имеется вытяжной вентилятор з набором сетчатых фильтров. Для встраивания в автоматическую линию верстат не приспособлен.

Верстат 5В833 работает по замкнутому напівавтоматическому циклу і обеспечивает стабильность геометрических размеров шлифуемых зубчатых колес.

Верстат 5В833 выполнен по классу точності В в соответствии з нормами точності ГОСТ 13086—67 «Верстати зубошлифовальные для цилиндрических колес, работающие абразивным червяком. Нормы точності».

Шероховатость обработанной поверхности V8 по ГОСТ 2789—59.

Зубчасті колеса модулем до 0,8 мм нужно шлифовать без предварительного нарізання зубьев.

Окончательное профилирование винтовой нитки на абразивном червяке выполняется на самом станке стальным многониточным накатником или алмазными резцами.





Габарит робочого простору зубошлифовального верстата 5В833

5В833 Габарит робочого простору зубошлифовального верстата

Габарит робочого простору зубошлифовального верстата 5в833


Загальний вигляд і общее пристрій верстата 5В833

Фото вигляд зубошлифовального верстата 5В833: моделі 1966 і 1969 года

Фото зубошлифовального верстата 5в833: моделі 1966 і 1969 года


Фото вигляд зубошлифовального верстата 5В833: моделі 1971 і 1974 года

Фото зубошлифовального верстата 5в833: моделі 1971 і 1974 года


5В833 універсальний зубошлифовальный. Фото

Фото зубошлифовального верстата 5в833


5В833 універсальний зубошлифовальный. Фото

Фото зубошлифовального верстата 5в833


Розташування складових частин зубошлифовального верстата 5В833

5В833 Розташування складових частин зубошлифовального верстата 5В833

Розташування складових частин верстата 5в833. Вид спереди

Розташування складових частин зубошлифовального верстата 5В833. Дивитись у збільшеному масштабі



5В833 Розташування складових частин зубошлифовального верстата 5В833

Розташування складових частин верстата 5в833. Вид сбоку

Розташування складових частин зубошлифовального верстата 5В833. Дивитись у збільшеному масштабі



Специфікація складових частин зубошлифовального верстата 5В833





Електроустаткування зубошлифовального верстата 5В830, 5В832, 5В833, 5В835


Загальні відомості

Електроустаткування верстата содержит наступні електрические машины і исполнительные електрические аппараты:


Стабилизатор напряжения

Для безупречной роботи синхронных реактивных електродвигателей, установленных на станке і обеспечивающих высокую точность обробки зубчатых колес, необходимо, чтобы напряжение і частота переменного тока сети живлення оставались постоянными.

При частоте 50 Гц питание синхронных реактивных електродвигателей М1 і М2 осуществляется от стабилизатора напряжения (рис.1), представляющего собой синхронный генератор СН з системой самовозбуждения і автоматичного регулювання напряжения.

Генератор, смонтированный на общей плите з приводным електродвигуном М12, поставляется з панелью керування ПУ, которая представляет собой електротехническое пристрій з приборами і аппаратурой для контроля, защиты і керування режимами роботи генератора.

Если верстат изготовлен для увімкнення в сеть о частотой переменного тока 60 Гц, то от стабилизатора напряжения питание подается на все електрообладнання верстата.

Размещение електромагнитного агрегата і панелі керування ПУ производится на месте при установці верстата.

Более подробные відомості о монтаже і експлуатации стабилизатора напряжения приведены в "Инструкции по монтажу і експлуатации генераторов серии ЕСС з панелью керування серии ПУ".


Система живлення електроустаткування верстата

Верстат предназначен для подключения к сети трехфазного переменного тока напряжением 380 В, частотой 50 Гц.

  1. На синхронные реактивные електродвигатели М1 і М2 подается стабилизированное напряжение 380 В, 50 Гц
  2. На асинхронные короткозамкнутые трехфазные електродвигатели М3...М9, М11, М12 подается напряжение 380В, 50 Гц переменного трехфазного тока.
  3. На електродвигатель М10:
  4. На електродвигатель М12 подается напряжение ... в, 60 Гц переменного трехфазного тока.
  5. На електромагниты ЭМ1..ЭМ4, ЭМ8 подается напряжение 110 В переменного тока от трансформатора Tp1.
  6. На верстатах моделей 5В832, 5В833, 5В835 на електромагнитную муфту ковзання ЭМС подается регулируемое напряжение от 0 до 32 В постоянного тока от трансформатора Тр2 через выпрямитель Вп1 і полупроводниковый усилитель.
  7. На верстатах моделей 5В832, 5В833, 5В835 на електромагнітні муфты ЭМ5..ЭМ7 подается напряжение 24 В постоянного тока от трансформатора ТР2 через выпрямитель Вп2.
  8. На ланцюги керування подается напряжение 110 В переменного тока от трансформатора Tpl.
  9. На лампы местного освещения верстата Л1, Л2 подается напряжение 36 В переменного тока от трансформатора ТРl.
  10. На полупроводниковый усилитель подается напряжение 32 В постоянного тока от трансформатора Тр2 черев выпрямитель ВП1.

Подготовка електроустаткування верстата к первоначальному пуску

После установки верстата, бака охлаждения і стабилизатора напряжения необходимо заземлись верстат і внешнее електрообладнання. Болты заземления установлены на станине верстата, корпусе електрошафи, баке охлаждения і корпусе стабилизатора напряжения.

Перед пуском верстата необходимо произвести наступні монтажные соединения (рис.4):

Верстат моделі 5В830:

провода електрошафи верстата A13, В13, С13 соединить з зажимами выводной коробки приводного електродвигуна стабилизатора напряжения М12;

провода електрошафи верстата H1, Н2, Н3 соединить з зажимами автоматичного выключателя В4 панелі керування ПУ стабилизатора напряжения;

провода електрошафи верстата 41, 43 соединить з зажимами блок-контакта автоматичного выключателя В4 панелі керування ПУ;

провода електрошафи верстата 501, 503 соединить з зажимами I*А, I*С киловаттметра панелі керування ПУ;

провода питающей сети присоединять к зажимам А, В, С, автоматичного выключателя B1.

Верстати моделей 5В832, 5В833

Верстати моделей 5В832, 5В833 при напряжении 380 В, частоте 50 Гц: контакты A13(9), В13(10), C13(11) штепсельного разъема електрониши Ш13 соединить з зажимами выводной коробки приводного електродвигуна М12 стабилизатора напряжения;

Контакты Н1(12), H2(13), Н3(14) штепсельного разъема електрониши Ш13 соединить з зажимами автоматичного выключателя В4 панелі керування ПУ стабилизатора напряжения;

Контакты 41(2), 43(3) штепсельного разъема електрониши Ш13 соединить з зажимами блок-контакта автоматичного выключателя В4 панелі керування ПУ.

Контакты 501(5), 503(6) штепсельного разъема електроники Ш13 соединить з зажимами I*А і I*С киловаттметра панелі керування ПУ;

Провода питающей сети присоединить к зажимам А, В, С, клеммного набора, расположенного на боковой стенке електрониши.

Верстати моделей 5В832, 5В833, 5В835 при напряжении ...в, частоте ...Гц:

Клеммные зажимы електрониши верстата А13, B13, C13 соединить з зажимами выводной коробки приводного електродвигуна стабилизатора напряжения M12;

H1, Н2, Н3 соединить з зажимами автоматичного выключателя В4 панелі керування ПУ;

41 і 43 соединить з зажимами блокировочного контакта автоматичного выключателя В4 панелі керування ПУ;

2 і 265 соединить з клеммными зажимами панелі керування ПУ (+) і (-);

501 і 503 соединить з зажимами I*А і I*С киловаттметра панелі керування ПУ;

провода от питающей сети соединить з зажимами А, В, С клеммного набора, расположенного на боковой стенке електрониши.

Для обеспечения високою точності обробки зубчатых колес верстат необходимо подключить к наиболее стабильной з равномерной нагрузкой електросети.

Проверку і увімкнення електроустаткування верстата следует поручать квалифицированному електрику.

При внешнем осмотре електроустаткування верстата перед пуском необходимо проверить:

Далее необходимо проверить работу електроустаткування верстата по циклам без детали.

При включений верстата правильное направление обертання електродвигателей гідронасосов і системы змазки определяется по стрелкам на кожухах вентиляторов електродвигателей или по показаниям манометров систем гідравлики і змазки.

Синхронный генератор СН выпускается для правого обертання (по часовий стрелке, если смотреть со сторона привода).

Електродвигун шлифовального круга М1 должен вращаться по часовий стрелке, если смотреть з рабочей стороны верстата.

Направление обертання електродвигуна вироби М2 определяется по шпинделю вироби. Последний должен вращаться против часовий стрелки, если смотреть сверху.

При ремонтi или осмотре електроустаткування, з'єднанні і разъединении всех штепсельных разъемов вводный автоматический выключатель B1 должен быть выключен.

При наладке електроустаткування следует мати в виду, что увімкнення верстата при отсоединенных проводах в клеммной коробке електродвигуна правки М11 приводит к зарядке конденсаторов C1, С2, С3, напряжение на которых остается в етом случае і після отключения верстата.


Опис дії електрической схеми верстата

Електрична схема верстата обеспечивает:

Перед началом роботи на станке включаются вводный автоматический выключатель B1, автоматические выключатели В2 і В3, расположенные на панелі електрошафи, автоматический выключатель В4 панелі керування генератора ПУ.

Если верстат изготовлен для увімкнення в сеть з частотой переменного тока 50 Гц, то після увімкнення автомата B1 загорается сигнальная лампа ЛС1.

Включается тормозная електромагнитная муфта суппорта вироби ЭМ7 на верстатах моделей 5В832, 5В833, 5В835.

Во всех режимах роботи верстата, кроме правки профиля шлифовального круга, після увімкнення контактора К3 включается контактор К10 і приводной електродвигатель стабилизатора напряжения M12.

Генератор СН возбуждается. Реостатом установки Р7 панелі-керування генератора по вольтметру устанавливается напряжение 380 В.

Если ставок изготовлен для увімкнення я сеть з частотой переменного тока 60 Гц, то після увімкнення автоматов B1, В2, В3, В4 при нажатии на кнопку "Пуск" KH15 (на рисунках не обозначено), включаются контактор К10 і приводной електродвигатель стабилизатора напряжения М12. Генератор СН возбуждается. Реостатом установки РУ панелі керування генератора по вольтметру устанавливается напряжение 380 в.

Загорается сигнальная лампа ЛС1, включается тормозная електромагнитная муфта суппорта вироби ЭМ7 на верстатах моделей 5В832, 5В833, 5В835.

От стабилизатора напряжения СН питание подается на все електрообладнання верстата. Дальнейшая робота електросхеми верстата і при частой 50 Гц і при частоте 60 Гц протекает одинаково.


Шлифование зубьев шестерни

Для шлифования зубьев шестерни переключатель В7 ставится в положение "Шлифование".

Выключатель B10 "Цанга" необходимо установить в положение "0". Ползунковым переключателем В20 устанавливается скорость вертикальной подачі в начале автоматичного цикла шлифования, а ползунковым переключателем B2I - в кінці.

Рукоятку отключения муфты следует установить в положение "Цикл", при етом конечный выключатель B13 нажат.

При нажатии на кнопку "Пуск" КН1 включается реле часу РВ1, контактор К3, електродвигатели сепаратора М4, змазки шлифовальной бабки М5, змазки стойки М6 (на верстатах моделей 5В832, 5В833, 5В835), пылесоса М7, гідронасосов М8 і М9, електромагнит ЭМ8 на станке 5В835.

При нажатии на кнопку "Подвод" КН7 включается промежуточное реле Р3 і електромагнит ЭМ1. Электромагнит ЭМ1 переключает золотник, вследствие чего подается давление і осуществляется подвод шлифовальной бабки. Окончательное зацепление шлифовального круга з изделием производится вручную.

При нажатая на кнопку «Пуск" КН9 включаются промежуточное реле Р5, реле часу РВ4, контакторы K1 і К2, електродвигатель шлифовалъного круга М1 і вироби М2.

На станке моделі 5В835 выключается електромагнит ЭМ8. Переключается золотник, вследствие чего подается давление в гідравлическую муфту, которая соединяет електродвигатель М1 со шпинделем шлифовального круга.

Через выдержку часу 2..4 сек, необходимую для разгона електродвигуна шлифовального круга, включаются промежуточные реле Р4, Р7, реле часу РВ2 і електромагнит ЭМ4, управляющий переміщенням золотника. Происходит поджим заднего підшипника шпинделя шлифовального круга. При создании определенного давления поджатия підшипника закрывается контакт выключателя реле давления РД.

Реле часу РВ2 выключает реле часу РВ4, промежуточное реле Р4, і через выдержку часу 4 сек, необходимую для обеспечения синхронизации обертання шлифовального круга і вироби, включает промежуточное реле Р6.

Выключается промежуточное реле Р5 і осуществляется контроль за поджимам заднего підшипника шпинделя шлифовального круга. Загорается сигнальная лампа ЛС2, сигнализирующая о готовности ставка к шлифованию.

Выключателем "Охлаждение" В14 включаются контактор К6 і електродвигатель охлаждения М3. Увімкнення охлаждения може производиться після нажатия на кнопку "Пуск" КН9, если выключатель будет включен до пуска електродвигуна шлифовального круга М1.

Затем необходимо включить выключатель "Цанга" В10. Включается електромагнит ЭМ3. При воздействии післяднего на золотник включается гідравлически действующая цанга, которая зажимает оправку з изделием. Момент увімкнення цанги регулируется при помощи изменения выдержки часу реле РВ2.

Автоматический цикл шлифования начинается при нажатии на кнопку "Пуск" КН3.

Рассмотрим работу електросхеми верстата, когда рух суппорта вироби начинается з переміщення вниз.


Верстат моделі 5В830

После нажатия на кнопку "Пуск" КН3 включается контактор К5, промежуточное реле P1, контактор К12 (на рисунках не обозначен), приводной електродвигатель електромашинного усилителя М6, получают питание обмотки керування електромашинного усилителя ЭМУ. Електродвигун вертикальной подачі М10 осуществляет рабочее перемещение суппорта вироби вверх.

Рух суппорта вироби происходит до нажатия на конечный выключатель BI2, після которого выключаются контактор К5 і електродвигатель М10.

Включается реле часу РВ4, промежуточное реле P10, електромагнит ЭМ2, который, перемещая золотник, осуществляет радиальную подачу шлифовальной бабки.

Через выдержку часу 2..4 секунды замыкается контакт реле часу РВ4 і включается промежуточное реле Р4. Выключаются промежуточное реле P10 і електромагнит ЭМ2.

Включаются контактор К4, електродвигатель вертикальной подачі M10 (в верстатах з импортной електроаппаратурой промежуточное реле P13 на рисунках не обозначено).

Выключаются реле часу РВ4 і промежуточное реле Р4.

Суппорт вироби начинает перемещаться вверх.

В крайнем верхнем положении суппорта вироби нажимается конечный выключатель B12 (или В22, в верстатах з импортной електроаппаратурой на рисунках не обозначен), выключаются контактор К4, електродвигатель М10.

Включаются реле часу РВ4, промежуточное реле Р10, електромагнит ЭМ2. Происходит радиальная подача шлифовальной бабки.

Через выдержку часу 2..4 сек включаются промежуточное реле Р4, контактор К5 і електродвигатель М10.

Суппорт вироби начинает перемещаться вниз.

Далее робота електросхеми повторяется.


Верстати моделей 5В832, 5В833, 5В835

После нажатия на кнопку "Пуск" КН3 включаются контактор К5, електродвигатель приводу вертикальной подачі М10, реле часу РВ10, промежуточное реле P1, електромагнитная муфта ЭМб.

Выключается тормозная електромагнитная муфта ЭМ7.

Через выдержку часу 0,5..1,0 сек. получает питание електромагнитная муфта ковзання ЭМС, которая совместно з електромагнитной муфтой ЭМ6 і електродвигуном М10 осуществляет рабочее перемещение суппорта вироби вниз.

Рух суппорта вироби происходит до нажатия на конечный выключатель BI2, після которого выключаются контактор К5, електродвигатель М10 і реле часу РВ3.

Включатся реле часу РВ4, промежуточное реле Р10, електромагнит ЭМ2, который, перемещая золотник, осуществляет радиальную подачу шлифовальной бабки.

Через выдержку часу 2..4 сек. замыкается контакт реле часу РВ4 і включается промежуточное реле Р4. Выключаются промежуточное реле Р10 і електромагнит ЭМ2.

Включается контактор К4, електродвигатель М10, рало вромени РВ3 (промежуточное реле P13 в верстатах з импортной електроаппаратурой).

Выключаются реле часу РB4 і промежуточное реле Р4.

Через выдержку часу 0,5..1,0 сек. снова получает питание муфта ковзання ЭМС. Суппорт вироби перемещается вверх.

В крайнем верхнем положении суппорта вироби нажимается конечный выключатель B12 (ИЛИ В22 в верстатах з импортной електроаппаратурой).

Выключается контактор К4, електродвигатель М10 (промежуточное реле P13 в верстатах з импортной електроаппаратурой).

Включаются реле часу РВ4, реле P10 і електромагнит ЭМ2. Происходит радиальная подача шлифовальной бабки.

Через выдержку часу 2..4 сек. включаются промежуточное реле Р4, контактор К5, електродвигатель М10 і реле часу РB3.

Через выдержку часу 0,5..1,0 сек получает питание муфта ковзання ЭМС. Суппорт вироби начинает перемещаться вниз.

Далее робота електросхеми повторяется.

Суппорт вироби при шлифовании шестерен осуществляет возвратно-поступательное движение.

В крайнем верхнем і нижнем положениях суппорта происходит радиальная подача шлифовальной бабки.

Заготовка автоматически шлифуется до необходимого размера. Радиальная подача прекращается при подходе шлифовальной бабки к месткому упору.

Последняя радиальная подача може произойти в крайнем нижнем і в крайнем верхнем положениях суппорта вироби. Во время післядней радиальная подачі рукоятка автоматичною подачі шлифовальной бабки возвращается в нулевое положение і переключается конечный выключатель BI6.

Включается промежуточное реле Р9. Выключается ползунковый переключатель В20, включается переключатель B21. Автоматически супорт вироби переключается на другую скорость переміщення, установленную ползунковым переключателем B21.

Во время следующего очередного нажатия на конечный выключатель BI2 (или В22 в станке з импортной електроаппаратурой) происходит увімкнення промежуточного реле Р2.

Выключается сигнальная лампа ЛС2, которая указывает, что до автоматичного виключення верстата остался один ход суппорта вироби.

Последний ход суппорта вироби заканчивается нажатием на конечный выключатель B12 (или В22) в том же крайнем положении суппорта, в котором происходит післядняя радиальная подача шлифовальной бабки.

При етом включается реле часу РB5, отключаются промежуточное реле Р3 і електромагнит ЭМ1. Происходит отвод шлифовальной бабки.

Включается реле часу РВ2, которое через выдержку часу 4 сек, необходимую для выхода шлифовального круга из зацепления со шлифуемой, шестерней, выключает контакторы К1, К2, К6. Включается реле часу РВ6. Происходит торможение електродвигуна шлифовального круга М1.

Через выдержку часу, необходимую для торможения, отключаются промежуточные реле P1, Р6, Р7, Р8, Р9, Р10, реле часу РВ2, РВ4, РВ5, РВ6 (только на верстатах моделей 5В830, 5В832, 5В833).

На станке моделі 5В835 після виключення промежуточного реле Р3 включается реле часу РВ2, которое через выдержку часу 4 сек, необходимую для выхода шлифовального круга из зацепления со шлифуемой шестерней, выключает контакторы K1, К2, К6, електродвигатели шлифовального круга М1, обертання вироби - М2, насоса охлаждения - М3, промежуточные реле P1, Р2, Р6, Р7, Р9, Р10, реле часу РВ4, РВ5.

Шлифовальный круг останавливается при помощи колодочного тормоза. После отключения контактора K1 включается електромагнит ЭМ8, который переключает золотник, вследствие чего подается давление на колодочный тормоз і снимается давление з гідравлической муфты.

Автоматический цикл шлифования закончен.

Если по окончании радиальной подачі требуется большее количество вертикальних ходов суппорта вироби, то включается переключатель B19 - "Продолжение цикла".

Суппорт вироби перемещается в кінці автоматичного цикла возвратно-поступательно без радиальной подачі в крайних положениях необходимое количество раз. Для окончания шлифования следует выключить переключатель "Продолжение цикла" - B19.

Если момент виключення переключателя B19 совпадает з нажатием упора на конечный выключатель B12 (или В22), то мгновенно начнется отвод шлифовальной бабки з післядующим остановом електродвигателей шлифовального круга і вироби. Если же вимкнення будет произведено при свободном конечном выключателе B12 (ИЛИ В22), то отвод шлифовальной бабки і вимкнення електродвигателей произойдет при очередном нажатии на конечный выключатель B12 (или В22).

При установці суппорта вироби в среднее положение для контактирования новой заготовки со шлифовальный кругом необходимо нажать кнопки "Вверх" КН5 или "Вниз" КН6. Включаются промежуточные реле Р8, P1, контактор К4 или К5, електропривід вертикальной подачі.

Суппорт вироби быстрым ходом перемещается в необходимом направлении. Быстрое перемещение суппорта заканчивается при отпускании кнопки КН5 или КН6.

Следует мати в виду, что быстрое і рабочее перемещении суппорта вироби происходят в том случае, если ползунковые переключатели В20 і B21 выведены из нулевого положения.


Правка профиля шлифовального круга

Переключатель В7 устанавливается в положение "Правка". Рукоятка переключения муфты должна быть установлена в положение "Правка". Конечный выключатель B13 не нажат.

Нажатием на кнопку "Пуск" KH1 включаются реле часу PBI, контактор К3, електродвигатели сепаратора М4, змазки шлифовальной бабки М5, змазки стойки М6 (на верстатах моделей 5В832, 5В833, 5В835), пылесоса М7, гідронасосов М8, М9.

Електросхема обеспечивает односторонний і двухсторонний методы правки шлифовального круга.

Односторонний метод

В етом случае правка витка абразива производится при движении салазок механізма правки вдоль оси шпинделя только в одну сторону: от "а" к "в" (см.рис.2).

Переключатель B17 "Правка" ставится в положение "___".

Рассмотрим работу електросхеми, начиная з того момента, когда салазки механізма правки находятся в положении "а" (см.рис.2).

Нажатием на кнопку "Пуск" KH13 включается промежуточное реле Р11, контактор К7, електродвигатель правки М11, електромагнит ЭМ4, реле часу РВ5.

Электромагнит ЭМ4, перемещая золотник, осуществляет поджим заднего підшипника шпинделя шлифовального круга.

Салазки механізма правки перемещаются из точки "а" в точку "b".

Выключателем "Охлаждение" B14 включаются контактор К6 і електродвигатель насоса охлаждения М3.

В точке "b" нажимается конечный выключатель B18. ВыключаютсяЯ контактор К7, електродвигатель правки М11, реле часу РВ5.

Включается електромагнит ЭМ2, который, перемещая золотник, осуществляет отвод механізма правки из точки "b" в точку "с". Через выдержку часу 1..2 сек, необходимую для торможения електродвигуна правки М11, включаются контактор К9, електродвигатель правки М11, реле часу РВ5.

Салазки механізма правки быстро перемещаются из точки "с" в точку "d"?. В точке "d" происходит переключение конечного выключателя B18 (или В23 в верстатах з импортной електроаппаратурой).

Выключаются контактор К9, реле Р10, електродвигатель правки М11, реле часу РВ5. Електродвигун правки тормозится. Через выдержку часу 1..2 сек включаются контактор К7, електродвигатель правки М11 реле часу РВ5. Выключается електромагнит ЭМ2. Механізм правки перемещается из точки "d" в точку "а".

Далее цикл работ механізма правки повторяется. При правке радиальная подача производится вручную. Выключение правки производится нажатием на кнопку "Стоп" KH14. При етом выключаются промежуточное реле Р11, електромагнит ЭМ4, електродвигатель правки М11.

Двухсторонний метод

В етом случае правка витка осуществляется при движении салазок механізма правки вдоль оси шпинделя в обе стороны (см.рис.21».

Переключатель BI7 "Правка" ставится в положение "____".

Рассмотрим работу електросхеми, начиная з того момента, когда салазки механізма правки находятся в положении "а" (см.рис.2).

При нажатии на кнопку "Пуск" KH13 включаются промежуточное реле Р11, контактор К7, електродвигатель правки М11, електромагнит ЭМ4, реле часу РВ5.

Электромагнит ЭМ4, перемещая золотник, осуществляет поджим заднего підшипника шпинделя шлифовального круга.

Салазки механізма правки перемещаются из точки "а" в точку "b".

Выключателем "Охлаждение" B14 включаются контактор К6 і електродвигатель насоса охлаждения М3.

В точке "b" нажимается конечный выключатель B18. Выключаются контактор К7, електродвигатель правки М11, реле часу РВ5.

Через выдержку часу 1-2 сек, необходимую для торможения електродвигуна правки М11, включаются контактор K8, електродвигатель правки М11. Салазки механізма правки перемещаются из точки "b" в точку "а".

В точке "а" происходит переключение конечного выключателя B18 (или В23 в верстатах з импортной електроаппаратурой, на рисунках не указан).

Далее цикл роботи механізма правки повторяется. При правке радиальная подача производится вручную. Выключение правки производится нажатием на кнопку "Стоп" КН14. При етом выключаются промежуточное реле Р11, електромагнит ЭМ4, електродвигатель правки М11.


Правка алмазом верха шлифовального круга

Переключатель В7 устанавливается в положение "Правка верха".

Выключатель В10 "Цанга" необходимо установить в положение "0".

Рукоятку переключения муфты следует установить в положение "Цикл", конечный выключатель B13 нажат.

Правка алмазом верха шлифовального круга производится односторонним і двухсторонним методами, для чего переключатель режима роботи правки В17 устанавливается в соответствующее положение.

Нажатием на кнопку "Пуск" КН9 включаются промежуточное реле Р5, реле часу РВ4, контактор K1, електродвигатель шлифовального круга М1. Работа електросхеми при разгоне електродвигуна шлифовального круга М1 аналогична работе при шлифовании зубьев шестерни.

Через некоторое время, необходимое для полного запуска електродвигуна шлифовального круга M1, після увімкнення промежуточного реле Р6, можно включить електродвигатель правки М11 при помощи кнопки "Пуск" KH13.

Выключение електродвигуна правки М11 осуществляется при помощи кнопки "Стоп" KH14.

Выключение електродвигуна шлифовального круга Ml производится при помощи кнопки "Стоп" КН10.


Наладочные режими роботи

Переключатель В7 ставится в положение "Наладка".

Выключатель B10 "Цанга" необходимо установить в положение "0".

Рукоятку переключения муфты следует установить в положение "Цикл", конечный выключатель B13 нажат.

При наладочных режимах роботи верстата шлифовальная бабка отведена.

  1. При помощи кнопки "Пуск" КН3 включается вертикальное перемещение суппорта вироби. При перемещении суппорта в крайних его положениях происходит увімкнення електромагнита ЭМ2, если рукоятка автоматичною подачі шлифовальной бабки не находится в нулевом положении і упор не нажимает на конечный выключатель B16.
  2. При помощи кнопки "Пуск" КН9 осуществляется одновременное увімкнення електродвигателей шлифовального круга М1 і вироби М2. Одновременный останов происходит при нажатии на кнопку "Стоп" КН10. При наладочном режиме роботи верстата і при шлифовании зубьев шестерни електросхема верстата обеспечивает возможность остановки і повторного увімкнення обертання вироби без останова обертання шлифовального круга при совместном их вращении.
  3. При нажатии на кнопку "Пуск" КН11 включается електродвигатель обертання вироби. Выключение происходит при нажатии на кнопку "Стоп" KH12.
  4. При помощи выключателя В10 включается і выключается поджим цанги.

Блокировки зубошлифовального верстата 5В830, 5В832, 5В833, 5В835

1. При исчезновении или уменьшении давления поджима заднего підшипника шпинделя шлифовального круга размыкается контакт реле давления РД. Выключается реле часу РB1.

При шлифовании зубьев шестерни происходит отвод шлифовальной бабки, а через выдержку часу, достаточную для выхода шлифовального круга из зацепления з шестерней, выключается весь верстат.

При правке профиля і правке алмазов верха шлифовального круга вимкнення верстата происходит в крайних положениях салазок механізма правки.

При наладочных режимах роботи уменьшение давления поджима підшипника приводит к выключению верстата через выдержку часу, на которую настроено реле часу PB1.

2. Для ограничения вертикального переміщення суппорта вироби в крайнем верхнем і нижнем положениях установлен аварийный конечный выключатель В11, при нажатии на который выключается електродвигатель вертикальной подачі М10.

3. Для ограничения переміщення механізма правки в крайнем левом і правом положениях установлены конечные выключатели В8 і В9. При нажатии на них происходит мгновенное відключення верстата.

4. Увімкнення обертання електродвигуна шлифовального круга M1 при циклах "Шлифование" і "Правка верха", а также увімкнення всех наладочных режимов роботи верстата возможно только після установки выключателя "Цанга" B10 в положение "0".

5. Совместное вимкнення електродвигателей шлифовального круга М1 і вироби М2 при цикле "Шлифование" возможно осуществить кнопкой "Стоп" КН10 только після відведення шлифовальной бабки.

6. При частоте 50 Гц аварийное вимкнення защитного автомата В4 во время шлифования приводит к выключению електродвигателей шлифовального круга Ml і вироби М2, отжиму цанги, выключению приводу вертикальной подачі.


Электропривід вертикальной подачі зубошлифовальных верстатів 5В830, 5В832, 5В833, 5В835

Верстат моделі 5В830

В качестве приводу вертикальной подачі суппорта вироби применен привід о електродвигуном постоянного тока М10, который получает питание от електромашинного усилителя ЭМУ (на рисунках не обозначено) з системой автоматичного регулювання, состоящей из тахогенератора і полупроводникового усилителя. Привід обеспечивает диапазон регулювання скорости 1:80 з жесткостью механических характеристик -+10%.

На рис.2 приведена принципова схема електропривода. Датчиком обратной связи по скорости обертання является тахогенератор постоянного тока ТГ, связанный з валом електродвигуна М10. Напряжение тахогенератора является линейной функцией от скорости обертання вала електродвигуна М10. Это напряжение подается на выпрямитель Д2, собранный по однофазное мостовой схеме. Выпрямленное напряжение сравнивается з задающим напряжением, снимаемым з ползунковых переключателей В20 і B21. Разность обоих напряжений подается на вход трехкаскадного полупроводникового усилителя, работающего в релейном режима. Первый каскад усилителя является составным і выполнен на транзисторах T1 і Т2. Питание коллекторной ланцюги первого каскада осуществляется через делитель R5 і R6. Для защиты входной ланцюги от больших сигналов (например, при пуске приводу на максимальную скорость обертання) служат диоды Д4 і Д5, шунтирующие вход усилителя при напряжении, превышающей напряжение отпирания диодов.

Второй каскад усилители собран по схеме з общим емиттером на транзисторе Т3. С коллекторной нагрузки второго каскада в ланцюг базы первого через сопротивление R3 вводится положительная обратная: связь, обеспечивающая релейный режим роботи усилителя.

Выходной каскад, собранный на транзисторе Т4, является усилителем МОЩНОСТИ, в коллекторную ланцюг которого включены обмотки керування електромашинного усилителя ЭМУ. Для надежного запирания выходного транзистора на его базу подается постоянное напряжение +2,1 В , снимаемое з сопротивления R1. Источником запирающего напряжения является дополнительная обмотка трансформатора Тр2.

Для защиты выходного транзистора от перенапряжения служит диод Д3, шунтирующий индуктивную нагрузку (обмотки керування ЭМУ).

Загальний вигляд полупроводникового усилителя приведен на рис.5.

Для устойчивой роботи приводу введена гибкая отрицательная обратная связь, состоящая из емкости С4 і сопротивлений R47, R48.

Для того, чтобы напряжение, подаваемое на електродвигатель М10, при быстром перемещении суппорта вироби не превышало 140 В, в ланцюг обмоток керування ЭМУ введены сопротивления R49 і R50.

Верстати моделей 5В832, 5В833, 5В835

В качестве приводу вертикальной подачі суппорта вироби на верстатах применен привід з електромагнитной муфтой ковзання типа ПМСМ-6 з системой автоматичного регулювання, состоящей из тахогенератора і полупроводникового усилителя.

На рис.6 приведено изображение конструктивного пристроя електромагнитной муфты скольжении. Она состоит из двух основних частин: ведущего массивного якоря % жестко связанного з валок приводного електродвигуна I (М10), і ведомого индуктора, жестко связанного з ведомым валом. Индуктор состоит из двух зубчатых дисков 6 і 8, между которыми находится катушка обмотки возбуждения 7. Питание катушки постоянным током осуществляется через скользящий контакт, состоящий из щетки 4 я токоведущего кольца 5. Другой конец катушки соединен з корпусом муфты.

При включении приводного електродвигуна якорь 9 начинает вращаться. При появлении в катушке тока возбуждения возникает магнитный поток. В связи з наличием в индукторе муфты зубцов і впадин во вращающемся якоре 9 наводится електродвижущая сила, вызывающая появление в нем вихревых токов. В результате взаимодействия тока якоря о магнитным потоком индуктора появляется електромагнитный момент. Под действием етого момента индуктор і жестко связанный з ним ведомый вал начинает вращаться в ту же сторону, что і ведущий вал. Скорость обертання ведомого вала зависит от тока возбуждения муфты і момента сопротивления на валу муфты.

Основным условием возникновения вращающегося електромагнитного момента является наличие ковзання. Величина ковзання муфты зависит от тока возбуждения і момента нагрузки. Поетому, изменяя ток возбуждения, можно получить на выходном валу муфты плавное изменение скорости.

Для обеспечения достаточной жесткости механических характеристик приводу з муфтой ковзання применяется замкнутая система автоматичного регулювання скорости обертання.

Привод, устанавливаемый на верстатах, обеспечивает диапазон регулювання скорости 1:80 з жесткостью механических характеристик ±10%.

На рис.2 приведена принципова схема електропривода.

Асинхронный електродвигатель М10 приводит во вращение якорь муфты ЭМС.

Датчиком обратной связи до скорости обертання является тахогенератор постоянного тока ТГ, связанный з выходным валом електромагнитной муфты ковзання посредством ременной передачи з соотношением 2:1.

Постоянное напряжение тахогенератора является линейной функцией от скорости обертання выходного вала муфты ковзання ЭМС. Это напряжение подается на одну диагональ полупроводникового поста Д2, з другой диагонали которого через делитель R8, R9, R10 снимается напряжение сравнения. Разность напряжения сравнения і задающего напряжения, снимаемого з потенциометров В20 і В21, поступает на вход трехкаскадного полупроводникового усилителя.

Первый каскад усилителя является составным і выполнен на транзисторах T1, Т2, Т5. Питание коллекторной ланцюги первого каскада осуществляется через делитель R5 і R6. ДЛЯ защиты входной ланцюги от больших сигналов (например, при пуске приводу на максимальную скорость обертання) служат диоды Д4 і Д5, шунтирующие вход усилителя при напряжении, превышающем напряжение отпирания диодов.

Второй каскад усиления собран по схеме з общим емиттером на транзисторе Т3. С коллекторной нагрузки второго каскада в ланцюг базы первого через сопротивления R3 вводится положительная обратная связь, обеспечивающая релейный режим роботи усилителя.

Выходной каскад, собранный на транзисторе Т4, является усилителем мощности, в коллекторную ланцюг которого включена обмотка електромагнитной муфты ковзання ЭМС.

Для защиты выходного транзистора от перенапряжения служит диод Д3, шунтирующий индуктивную нагрузку (катушку возбуждения муфты ЭМС). Загальний вигляд полупроводникового усилителя приведен на рис.5.


Вказівки по експлуатации і обслуговування електроустаткування зубошлифовальных верстатів 5В830, 5В832, 5В833, 5В835

Пуск верстата

Для пуска верстата необходимо включить:

Шлифование шестере

Для пуска шлифования шестерен необходимо:

  1. Переключатель В7 установить в положение "Шлифование"
  2. Выключатель "Цанга" В10 установить в положение "О"
  3. Ползунковым переключателем В20 установить необходимую скорость переміщення суппорта вироби в начале цикла шлифования, а ползунковым переключателем B21 - в кінці.
  4. Выключатель "Продолжение цикла" B19 установить в положение "I" (при необходимости большего числа вертикальних перемещений суппорта вироби по окончании радиальной подачі).
  5. Рукоятку переключения муфты установить в положение "Цикл" "____")
  6. Нажать на кнопку КН7 "Подвод" шлифовальной бабки; отвод шлифовальной бабки осуществляется при нажатии кнопки КН8 "Отвод
  7. Нажать кнопку КН9 - "Пуск" електродвигателей шлифовального круга М1 і вироби М2
  8. Выключатель "Охлаждение" B14 поставить в положение "I", при етом включается електродвигатель насоса охлаждения МЗ
  9. Выключатель Цанга" В10 установить в положение "I" для обеспечения зажиму оправки з изделием
  10. Нажать на кнопку КН3 - "Вертикальная подача", при етом включается електродвигатель М10 і на станке моделі 5B830 електродвигатель М6. Выключение електродвигуна М10 і на станке моделі 5В830 електродвигуна М6 осуществляется при нажатии на кнопку "Стоп" КН4.
  11. Увімкнення і вимкнення електродвигуна пылесоса осуществляется переключателем B15.

Правка профиля круга

Необходимо:

Правка алмазом верха шлифовального круга

Необходимо:





Наладка верстата

Необходимо:


По окончании роботи на станке необходимо:

1. Выключить електродвигатели сепаратора М4, змазки шлифовальной бабки М5, змазки стойки М6 (на верстатах моделей 5В832, 5В833, 5В835), пылесоса М7, гідронасосов М8 і М9, что осуществляется при помощи кнопки "Стоп" КН2, которая имеет грибовидный толкатель красного цвета і предназначена также для аварийного виключення верстата.

2. При частоте 60 Гц выключить приводной електродвигатель стабилизатора напряжения М12 при помощи кнопки "Стоп" KH16.

3. Выключить вводный автоматический выключатель B1.


Обслуговування електроустаткування верстата

Все електрические соединения выполнены в соответствии з монтажной електросхемой верстата (см.рис.3, 4, 5)

Електроустаткування верстата необходимо регулярно і тщательно очищать от пыли і грязи. Надежность роботи електродвигателей і електроапаратури зависят от их чистоты.

Двери електрошафи должны быть тщательно закрыты. Необходимо следить за качеством уплотнений, при плохом состоянии которых увеличивается запыленность електроустаткування і резко снижается надежность его роботи.

При замене змазки следует учитывать, что конструкция електромагнитной муфты ковзання требует сложной разборки привода.


Вказівки по обслуговування і ремонту електроривода ПМСМ-6

Для разборки приводу необходимо:

Сборку агрегата производят в обратном порядке.

При етом следует учитывать, что посадка якоря на вал електродвигуна - напряженная (Н), а посадка підшибників на вал, ступицу якоря і в корпусе индуктора - підшибниківая плотная (Пл.).

Для изъятия підшибників из индуктора необходимо отвинтить упорную гайку з уплотнением. Затем при помощи двух цилиндрических штифтов, которые вставляются в отверстия, расположенные в корпусе индуктора, следует выбить підшипники.

Для сиены щетки муфты необходимо ослабить винт, фиксирующий щеткодержатель, і вывернуть его. После етого из гильзы извлекается старая щетка і вставляется новая.

В случае выхода из строя катушки необходимо разобрать муфту і индуктор, отсоедини» катушку і намотать новую.

Електрична схема зубошлифовального верстата 5в833

Електрична схема зубошлифовального верстата 5в833

Електрична схема зубошлифовального верстата 5в833. Дивитись у збільшеному масштабі



Електрична схема зубошлифовального верстата 5в833

Електрична схема зубошлифовального верстата 5в833

Електрична схема зубошлифовального верстата 5в833. Дивитись у збільшеному масштабі



Стабилизатор напряжения зубошлифовального верстата 5в830

Стабилизатор напряжения зубошлифовального верстата 5в830

Стабилизатор напряжения зубошлифовального верстата 5в830. Дивитись у збільшеному масштабі



Муфта ковзання зубошлифовального верстата 5в833

Муфта ковзання зубошлифовального верстата 5в833

Муфта ковзання зубошлифовального верстата 5в833. Дивитись у збільшеному масштабі



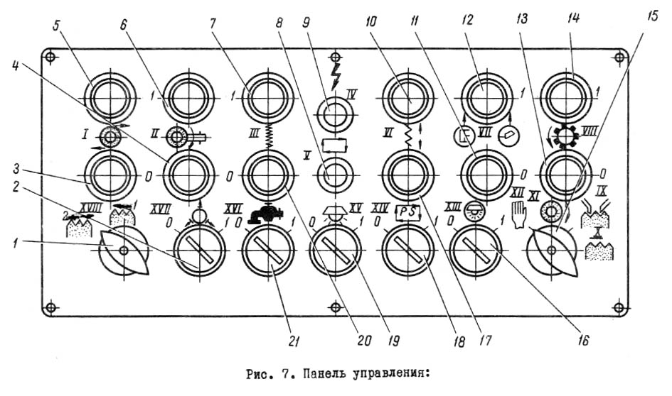
Панель керування зубошлифовального верстата 5в833

Панель керування зубошлифовального верстата 5в833

Панель керування зубошлифовального верстата 5в833. Дивитись у збільшеному масштабі



Список органів керування зубошлифовальным верстатом 5В833

Список органів керування зубошлифовальным верстатом 5В833

Размещение електроустаткування на зубошлифовальном станке 5в833

Размещение електроустаткування на зубошлифовальном станке 5в833

Размещение електроустаткування на зубошлифовальном станке 5в833. Дивитись у збільшеному масштабі



Специфікація електроустаткування зубошлифовального верстата 5в833

Специфікація електроустаткування зубошлифовального верстата 5в833

Специфікація електроустаткування зубошлифовального верстата 5в833. Дивитись у збільшеному масштабі



Специфікація електроустаткування зубошлифовального верстата 5в833

Специфікація електроустаткування зубошлифовального верстата 5в833

Специфікація електроустаткування зубошлифовального верстата 5в833. Дивитись у збільшеному масштабі



Специфікація електроустаткування зубошлифовального верстата 5в833

Специфікація електроустаткування зубошлифовального верстата 5в833

Специфікація електроустаткування зубошлифовального верстата 5в833. Дивитись у збільшеному масштабі



Специфікація електроустаткування зубошлифовального верстата 5в833

Специфікація електроустаткування зубошлифовального верстата 5в833

Специфікація електроустаткування зубошлифовального верстата 5в833. Дивитись у збільшеному масштабі



Специфікація електроустаткування зубошлифовального верстата 5в833

Специфікація електроустаткування зубошлифовального верстата 5в833

Специфікація електроустаткування зубошлифовального верстата 5в833. Дивитись у збільшеному масштабі



Специфікація електроустаткування зубошлифовального верстата 5в833

Специфікація електроустаткування зубошлифовального верстата 5в833

Специфікація електроустаткування зубошлифовального верстата 5в833. Дивитись у збільшеному масштабі



Специфікація електроустаткування зубошлифовального верстата 5в833

Специфікація електроустаткування зубошлифовального верстата 5в833

Специфікація електроустаткування зубошлифовального верстата 5в833. Дивитись у збільшеному масштабі



Специфікація електроустаткування зубошлифовального верстата 5в833

Специфікація електроустаткування зубошлифовального верстата 5в833

Специфікація електроустаткування зубошлифовального верстата 5в833. Дивитись у збільшеному масштабі



Специфікація електроустаткування зубошлифовального верстата 5в833

Специфікація електроустаткування зубошлифовального верстата 5в833

Специфікація електроустаткування зубошлифовального верстата 5в833. Дивитись у збільшеному масштабі






5В833 Верстат зубошлифовальный універсальний напівавтомат. Відеоролик.





Технічні характеристики зубошлифовального верстата 5В833

Наименование параметра 5В833 5А841 5М841
Основні параметри верстата
Диаметр устанавливаемого вироби, мм 40..320 30..320 30..320
Наименьший диаметр окружности впадин, мм 30
Модуль устанавливаемого вироби, мм 0,5..4 1,8..8 1,5..8
Число зубъев устанавливаемого вироби, мм 12..200 10..200 10..200
Наибольшая ширина зубчатого прямозубого венца устанавливаемого вироби, мм 150 150 160
Расстояние между центрами суппорта обрабатываемого вироби, мм 215..335 175..400
Расстояние от оси круга до линии центров, мм 195..420
Наибольший угол наклона зубъев, мм ±45 ±45 ±45
Точность обробки, DIN 4..5
Наибольшая масса устанавливаемого вироби, кг 200 200
Бабка шлифовальная (шпиндельна)
Диаметр шлифовального круга (абразивного червяка), мм 330..400 260..350 260..350
Ширина шлифовального круга (абразивного червяка), мм 63; 80 16..32 13..32
Диаметр посадочного отверстия шлифовального круга (абразивного червяка), мм 203 127
Диаметр кінця шлифовального шпинделя, мм 50
Число оборотів шлифовального круга, 1/мин 1920 1920
Вертикальное перемещение шлифовального шпинделя, мм 180
Суппорт вироби
Диаметр стола, мм 280 280
Ход стола, мм 180 30..165
Подача обката, мм/мин 6..800
Конус шпинделя вироби, мм Морзе 3
Конус верхней бабки, мм Морзе 3
Ручное перемещение стойки вдоль оси шлифовального шпинделя, мм 120
Ползун
Длина ходу, мм 20..160
Число двойных ходов ползуна в минуту (бесступенчатое регулювання) 50..280
Ролик опорный
Наибольшая величина зоны перестановки, мм 405
Перемещение опорного ролика на одно деление лимба перестановки, мм 0,002
Перемещение опорного ролика на один оборот лимба перестановки, мм 0,02
Перемещение опорного ролика на один оборот лимба распределения припуска, мм 0,16
Цена деления шкалы нониуса зоны перестановки, мм 0,002
Цена деления шкалы лимба распределения припуска, мм 0,005
Механізм правки
Количество алмазов 3
Диапазон компенсации износа шлифовального круга при правке, мм 0..45
Автоматическая прерывная радиальная подача механізма правки, мм 0,01..2
Привід і електрообладнання верстата
Количество електродвигателей на станке 8 8
Електродвигун головного приводу - шлифовального шпинделя, кВт 4,0 1,1 1,5
Електродвигун насоса гідравлики, кВт 1,1 2,2 2,2
Електродвигун вентилятора масляного теплообменника, кВт 0,27
Електродвигун приводу механізма подачі, кВт 0,18 0,18
Електродвигун насоса охлаждения, кВт 0,15 0,15
Електродвигун магнитного сепаратора, кВт 0,5 0,18 0,18
Електродвигун приводу ползуна (вертикальной подачі), кВт 1,1 1,9
Електродвигун редуктора поворота ползуна, кВт 1,1
Електродвигун пылесоса, кВт 0,27
Електродвигун системы змазки, кВт 0,08; 0,27
Суммарная мощность електродвигателей, кВт 7,08 6,6
Габаритные розміри і масса верстата
Габаритные розміри верстата (длина х ширина х высота), мм 2400 х 2500 х 2040 2850 х 2315 х 2635 2850 х 2315 х 2085
Масса верстата з електрообладнанням і охолодженням, кг 7000 8000 8000

    Список литературы по зубообработке

  1. Зубошлифовальный напівавтомат 5В833. Руководство по обслуговування, 1974

  2. Ачеркан Н.С. Металлорежущие верстати, Том 1, 1965.
  3. Гальперин Е.И. Наладка зуборезных верстатів, 1960.
  4. Козлов Д.Н. Зуборезные роботи, 1971.
  5. Кучер А.М., Киватицкий М.М., Покровский А.А., Металлорежущие верстати (Альбом общих видов, кинематических схем і вузлів), 1972.
  6. Лоскутов В.В., Ничков А.Г. Зубообрабатывающие верстати, 1978.
  7. Малахов Я.А. Зубообрабатывающие і резьбофрезерные верстати і их наладка, 1972.
  8. Мильштейн М.З. Нарезание зубчатых колес, 1972.
  9. Овумян Г.Г., Адам А.И. Справочник зубореза, 1983.
  10. Птицин Г.А., Кокичев В.Н. Зуборезные верстати, 1957.
  11. Шавлюга Н.И. Расчет і примеры наладок зубофрезерных і зубодолбежных верстатів, 1978.
  12. Руководящий материал для конструкторов, проектирующих технологическую оснастку. Основні данные і посадочные места металлорежущих верстатів. НИИМАШ, 1968.









Заказать

Кто владеет информацией - тот владеет миром.

Натан Ротшильд