metalinstryment.com
Довідник по металорізальних верстатів та пресовому обладнанні

5М324А Верстат зубофрезерный вертикальний напівавтомат
схеми, опис, характеристики

5М324А Загальний вигляд  зубофрезерного верстата







Відомості про виробника вертикального зубофрезерного верстата напівавтомату 5М324А

Производитель вертикального зубофрезерного напівавтомату 5М324А Егорьевский станкостроительный завод Комсомолец, основанный в 1930 году.

Завод за время своего существования выпустил свыше 60 моделей: зубофрезерных, зубодолбежных, зубошлифовальных, зубозакругляющих і других зубообрабатывающих верстатів.





Продукция Егорьевского станкостроительного завода Комсомолец, СЗК


5м324а Верстат зубофрезерный вертикальний напівавтомат. Назначение і область применения

Верстат зубофрезерный вертикальний напівавтомат 5М324А - более пізня модификация верстата 5К324А.

Зубофрезерный напівавтомат 5М324А предназначен для фрезерування цилиндрических зубчатых колес, а также червячных колес радиальным методом в условиях единичного, мелкого і среднесерийного производства.

Нарезание зубчатых колес производится по способу обкатки фрезы і обрабатываемой заготовки методами «попутного» і «встречного» зубофрезерування з диагональной і обычной подачами.

При зубофрезеровании з диагональной подачей фреза перемещается вдоль нарезаемого зуба і одновременно вдоль собственной оси, что значительно повышает її стойкость.

Конструкція верстата 5м324а передбачає возможность радиального врізання фрезы в заготовку, что сокращает машинное время обробки.

При обработке прямозубых колес в станке 5М324А должны осуществляться наступні руху:

При автоматических циклах, кроме того, совершаются радиальная подача і установочные переміщення стола. При обработке косозубых колес необходимо еще дополнительное вращение стола для обробки зубьев, расположенных по винтовой линии.

При обработке червячных колес методом радиальной подачі в станке совершаются:

Верстат 5М324А работает по напівавтоматическому циклу.

Верстат 5м324а выполнен в соответствии з нормами точності по ГОСТ 659—67.

Ввиду отсутствия протяжной подачі червячные колеса нарезаются только методом радиального врізання.

Большая универсальность верстата і высокая степень его автоматизации обеспечивают работу верстата по автоматическим циклам з радиальным врезанием попутным і встречным методами з механизацией вспомогательных движений.

Налаштування на скорость різання і необходимую подачу производится сменными шестернями.

Встроенная в автоматический цикл осевая периодическая передвижка фрезы, осуществляемая от отдельного електродвигуна, значительно повышает стойкость фрезы до її переточки.

Значительная мощность двигуна приводу шпинделя фрезы, высокая скорость і достаточная загальна жесткость верстата позволяют производить обработку кобальтовыми фрезами на повышенных режимах зубчатых колес модулем до 6 мм.

По точності верстат изготовлен в соответствии з требованиями ГОСТ 659—67 по кассу Н.


Конструкція зубофрезерного напівавтомату 5м324а

Виды нарезаемых колес на зубофрезерном станке 5м324а

Виды нарезаемых колес на зубофрезерном станке 5м324а


На верстатах 5м324а можно нарезать:

При методе радиальной подачі заготовка може подаваться на фрезу или наоборот. По методу обкатки можно также фрезеровать шлицевые валы, многогранники, нарезать зубья на цепных звездочках, храповых колесах і т. д. Для всех видов указанных специальных зацеплений применяют червячные фрезы соответствующих профилей.

Нарезание цилиндрических прямо- і косозубых колес, а также червячных колес методом радиальной подачі — ето основні виды работ, к которым верстат наиболее приспособлен.


Методы роботи на зубофрезерном станке 5м324а


5м324а Верстат зубофрезерный. Габарити робочого простору

Методы роботи на зубофрезерном станке 5м324а. Рис. 33.

Нарезание колес може осуществляться как встречным методом, при котором вертикальная подача фрезы происходит сверху вниз (рис. 33, а), так і попутным методом, при котором вертикальная подача фрезы происходит знизу вверх (рис. 33, б). При попутном зубофрезеровании допускается увеличение скорости різання на 20—25% по сравнению со встречным методом при одновременном уменьшении шероховатости поверхности зуба.

На етом станке можно нарезать цилиндрические колеса диаметром до 800 мм (при модуле до 10 мм і вертикальном перемещении фрезы — — 360 мм). Наибольший диаметр червячной фрезы, устанавливаемой во фрезерном суппорте, 180 мм при длине 175 мм. Степень точності обробки соответствует 7-му классу по ГОСТ 1643—72.

В конструкції верстата предусмотрены механізмы, обеспечивающие прогрессивные методы зубофрезерування: радиальное врезание инструмента в заготовку, диагональную подачу, встречное і попутное фрезерование, возможность применения фрез большого диаметра, длины і т. п. Повышенные частота обертання фрезы і подача, значительное увеличение мощности головного приводу в сочетании з високою жесткостью верстата допускают работу на повышенных режимах різання і позволяют применять острозаточенные і твердосплавные червячные фрезы.

Вертикальное расположение оси нарезаемого колеса при нерухомою суппортной стойке і подвижном столе обеспечивает необходимую жесткость і устойчивость в работе. Массивная задня стойка, жестко соединенная со столом, обеспечивает надежную работу верстата без дополнительного крепления к суппортной стойке верхней траверсой. Цикл роботи верстата автоматизирован. Все рабочие і вспомогательные руху: быстрый подвод заготовки к инструменту, зубонарезание, быстрый отвод колеса і инструмента в исходное положение і остановка верстата — осуществляются автоматически. Уборка стружки осуществляется шнековым транспортером, расположенным внутри станины. Для зажиму заготовки верстат можно снабжать гідромеханическим пристрійм, монтируемым в столе.





Габарити робочого простору зубофрезерного напівавтомату 5м324а

Габарит робочого простору зубофрезерного верстата напівавтомату 5м324а

Габарит робочого простору зубофрезерного верстата 5м324а

Габарит робочого простору зубофрезерного верстата напівавтомату 5м324а. Дивитись у збільшеному масштабі



Посадочные і присоединительные базы напівавтомату 5м324а

Посадочные і присоединительные базы зубофрезерного напівавтомату 5м324а

Посадочные і присоединительные базы напівавтомату 5м324а

Посадочные і присоединительные базы зубофрезерного напівавтомату 5м324а. Дивитись у збільшеному масштабі



Загальний вигляд і общее пристрій верстата 5м324а

Фото зубофрезерного верстата 5м324а

Фото зубофрезерного верстата 5м324а



Фото зубофрезерного верстата 5м324а

Фото зубофрезерного верстата 5к324

Фото зубофрезерного верстата 5м324а. Дивитись у збільшеному масштабі



Фото зубофрезерного верстата 5м324а

Фото зубофрезерного верстата 5к324

Фото зубофрезерного верстата 5м324а. Дивитись у збільшеному масштабі



Фото зубофрезерного верстата 5м324а

Фото зубофрезерного верстата 5к324

Фото зубофрезерного верстата 5м324а. Дивитись у збільшеному масштабі



Розташування органів керування верстатом напівавтоматом 5м324а

5м324а Розташування органів керування верстатом напівавтоматом 5м324а

Розташування органів керування верстатом 5м324а

Розташування органів керування верстатом 5м324а. Дивитись у збільшеному масштабі







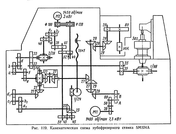
Схема кінематична зубофрезерного верстата 5м324а

Схема кінематична зубофрезерного верстата 5м324а

Кінематична схема зубофрезерного верстата 5м324а

Схема кінематична зубофрезерного верстата 5м324а. Дивитись у збільшеному масштабі



Среди различных зубообрабатывающих верстатів наиболее распространены зубофрезерные верстати, работающие червячной фрезой. К таким верстатам относится верстат 5М324А, конструктивные особливості которого во многом характерны для верстатів зубофрезерной группы. Верстат выпускается егорьевским заводом «Комсомолец» і предназначен для нарізання цилиндрических і червячных зубчатых колес в условиях крупносерийного і серийного производства.

Верстат 5М324А (рис. 118) состоит из станины 1, на которой жестко закреплена стойка 8 і перемещается стол 17, з контрподдержкой 15. По направляющим стойки в вертикальном направлении перемещается каретка 11 з суппортом 13, несущим инструмент.

В станине 1 размещены коробка 2 со сменными зубчатыми колесами гітари головного руху. Главный електродвигатель, приводящий во вращение стол з нарезаемым зубчатым колесом 23 і инструментальный шпиндель з червячной фрезой 24, находится з задньої стороны станины. В станине размещен транспортер стружки, приводимый во вращение от отдельного електродвигуна. Резервуар для СОЖ находится в станине, откуда она насосом подается в зону обробки, а її количество регулируется краном 12.

Стойка 8 служит для розміщення коробки 3 з механізмами переміщення каретки 11, которую можно перемещать вручную за квадрат 5 или автоматически, поворачивая рукоятку 4 в положение увімкнення автоматичною подачі. Под крышкой 6 находятся сменные зубчасті колеса гітари деления і сменные зубчасті колеса гітари диференціала. На передньої стенке стойки укреплен пульт керування 7.

Каретка 11 снабжена передвигаемыми упорами 9 і 10, которые регулируют величину ходу каретки. Упоры воздействуют на расположенные в стойке конечные выключатели, отключающие електродвигатель вертикального переміщення каретки.

В корпусе стола 17 находится шпиндель, на котором устанавливают нарезаемое зубчатое колесо 23. Сверху корпуса стола 17 жестко закреплена контрподдержка 15 з поворотным кронштейном 14, который служит для центрирования оправки з заготовкой. Кронштейн поднимается і опускается гідроцилиндром, управляемым вручную краном 16. Корпус стола 17 можно перемещать вручную, вращая винт з квадратом 19. Рукояткой 18 устанавливают в определенное положение упоры стола. Вращением вручную валика 21 осуществляют смазку механізмов, расположенных в столе. На корпусе стола размещены упоры 20 і 22, которые нажимают на конечные выключатели, дающие команду на ускоренный подвод стола.

По точності верстат соответствует классу Н (нормальная точность) і обладает високою степенью автоматизации.

Основні технические данные зубофрезерного верстата 5М324А

В станке инструмент і заготовка связаны между собой і з источником руху, которым чаще всего является електродвигатель. Последовательный ряд сцепляющихся пар зубчатых, червячных і ременных передач, по которым вращение от какого-либо вала передається исполнительному органу, называют кінематичної ланцюгю. Так как параметри обробки зубчатых колес разнообразны і зависят от числа обрабатываемых зубьев, модуля, применяемого инструмента і т. д., то каждая кінематична ланцюг имеет свой орган налаштування.

Кинематическая налаштування верстата в основном сводится к определению параметров органів налаштування, з помощью которых должно быть достигнуто необходимое перемещение конечных звеньев кінематичної ланцюги. Такие переміщення называют расчетными і используют для составления уравнения кинематического баланса, в которое еще входит і параметр органа налаштування.

Из уравнения кинематического баланса находят зависимость параметра органа налаштування от постоянных коеффициентов ланцюги. Такая зависимость называется формулой налаштування. По ней определяют числа зубьев сменных зубчатых колес, диаметры сменных шкивов і др.

При составлении уравнения кинематического баланса используют зависимость частот обертання от чисел зубьев ведущих і ведомых зубчатых колес. Так как скорости обертання точок двух начальных (тоже і делительных) окружностей парных зубчатых колес одинаковы, то, выразив их через диаметр і частоту обертання, можно записать

π · d1 · n1 = π · d2 · n2 (22)

или, заменив диаметр зубчатого колеса на его выражение через модуль і число зубьев, имеем

π · mz1 · n1 = π · mz2 · n2


Схема нарізання косозубых цилиндрических колес на станке 5м324а

Схема нарізання косозубых цилиндрических колес на станке 5м324а

Схема нарізання косозубых цилиндрических колес на станке 5м324а



Диференціал верстата 5м324а

Диференціал верстата 5м324а



Схема змазки зубофрезерного верстата 5м324а

Схема змазки зубофрезерного верстата 5м324а



Суппорт зубофрезерного верстата 5м324а

Суппорт зубофрезерного верстата 5м324а



Пульт керування зубофрезерного верстата 5м324а

Пульт керування зубофрезерного верстата 5м324а




Основні неполадки при зубофрезеровании і методы их устранения

Погрешности і елементы зубчатого колеса

Погрешности і елементы зубчатого колеса

Погрешности і елементы зубчатого колеса. Дивитись у збільшеному масштабі



Отклонение от нормальной роботи верстата, а также любые неточності в установці детали, инструмента, гітар і др. в конечном счете отражаются на качестве нарезаемого зубчатого колеса. Контроль зубчатого венца осуществляется в соответствии з требованиями ГОСТ 1643—72.

На рис. 140 приведены некоторые погрешности зубчатого колеса і их обозначения по ГОСТу, которые могут встретиться в практической деятельности наладчика.

Часть неполадок можно устранить в процессе подготовки верстата к работе, а некоторые — в процессе его подналагодження. Ниже рассмотрены неполадки, наиболее часто встречающиеся в практике і устраняемые наладчиком.

1. Нельзя пустить верстат в наладочном или автоматическом режимах

Возможные причины: неправильная регулировка реле давления, вимкнення тепловых реле електродвигателей і увімкнення аварийных конечных выключателей.

Для устранения етих неисправностей необходимо в первую очередь проверить давление в гідросистеме верстата (должно быть 18...20 кгс/см2). При падении давления до 14 кгс/см2 реле давления отключает верстат. Затем нужно проверить состояние тепловых реле в електрошкафу верстата. При перегреве електродвигателей толкатель его теплового реле будет выдвинут до появления красной метки. После возврата толкателя в рабочее утопленное положение необходимо разобраться в причинах, приведших к перегреву електродвигуна. Такими причинами могут быть завышенные режими обробки или заедание какого-нибудь робочого органа верстата.

Если після проверки давления і тепловых реле верстат не запускается, то следует проверить, не включены ли аварийные конечные выключатели ходу суппорта. Для устранения етой причины упор, включающий конечник, отодвигают от него і включают обратный ход. Затем аварийный упор возвращают в прежнее рабочее положение.

2. Рух фрезерного суппорта во время осевой передвижки фрезы происходит рывками

Причиной етому може быть потеря давления в системе гідравлічного зажиму суппорта, в результате чего супорт во время передвижки фрезы не отжимается і електродвигателю приходится преодолевать силы трения зажатого суппорта. Подобное явление, но в меньшей мере, може происходить при отсутствии змазки в направляючих суппорта.

Для устранения етой неполадки в работе верстата необходимо обеспечить гідравлический отжим суппорта поднятием давления в системе до требуемого уровня, а также наладить поступление змазки на направляющие.

3. При нарезании прямозубого колеса зуб не параллелен оси заготовки

Такое явление може быть при неточной налаштуванні гітари деления, когда сменные зубчасті колеса, близкие по числам зубьев, установлены не на свои места. Причиной непараллельности зуба оси колеса также може быть незакрепление ведомого вала гітари диференціала винтом, находящемся в опоре гітари. При етом под воздействием момента сил вращающихся колес диференціала его корпус доворачивает заготовку в какую-нибудь одну сторону.

Кроме указанных причин, такое же действие на заготовку оказывает ненадежное її закрепление, особенно при использовании гідрозажима.

Для устранения неполадки необходимо завернуть до упора винт, стопорящий ведомый вал гітари диференціала, проверить налаштування гітари деления і увеличить зажим заготовки.

4. При нарезании косозубого колеса происходит срезание зубьев

Срезание происходит, когда доворот заготовки от диференціала для образования требуемого угла наклона зуба происходит в сторону, противоположную той, на которую повернут супорт з фрезой.

Для устранения етой неполадки необходимо проверить правильность налаштування сменных зубчатых колес гітари диференціала з учетом направления витков фрезы і направления нарезаемого зуба.

Если фреза по отношению заготовки установлена правильно, то в сменные колеса гітари диференціала нужно установить паразитное колесо для изменения направления доворота заготовки.

Правильность налаштування гітари можно проверить по ескізам, находящимся в руководстве по експлуатации верстата.

5. Большая погрешность нарезаемых колес по разности окружных шагов зубьев

Причины етой погрешности могут заключаться в погрешности кінематичної ланцюги деления, неточной установці червячной фрезы, радиальном і торцовом биении заготовки і опорных поверхностей установочного приспособления, а также в биении центров стола і контрподдержки при нарезании колеса з установкой оправки в центрах.

Усунення етих неполадок сводится к следующему. Проверяется зацепление сменных колес гітари деления. Ошибку окружного шага може вызвать как полное отсутствие зазору между зубьями сменных колес, так і слишком большой зазор. Проверка производится покачиванием колеса рукой. После етого проверяются посадочные места приспособления для крепления заготовки, а также базовые поверхности самой заготовки з замером их биений.

Фактические величины биений не должны превышать допускаемых для данной степени точності нарезаемых зубчатых колес. Если на опорных торцах обнаружены забоины, то их нужно устранить шабровкой і зачистить оселком.

При обнаружении радиального і торцового биения фрезы необходимо проверить состояние прилегаемых поверхностей і снова собрать оправку з фрезой. При необходимости можно установить фрезу более высокого класса точності.

6. Большая накопленная погрешность окружных шагов нарезаемых колес

К етой погрешности приводят те же причины, которые влияют на погрешность окружного шага, т. е. неправильное положение заготовки в установочном приспособлении, неправильное зацепление сменных зубчатых колес гітари деления, биение червячной фрезы, биение центров стола і котрподдержки.

При исправлении етой погрешности особое внимание необходимо обратить на правильность установки заготовки. Надо устранить зазор между оправкой і посадочным отверстием заготовки, устранить биение оправки і самой заготовки, устранить отжим детали ведущим хомутиком при работе в центрах.

При контроле точності нарезаемого колеса устанавливать его на прибор следует на ту же поверхность, на которой обрабатывались зубья.

7. Большая погрешность профиля зуба

Вероятными причинами появления погрешности профиля зуба является плохое качество фрезы (отклонение угла профиля зубьев, неточность шага витка, отклонение ходу винтовых канавок, нерадиальность передньої поверхности зубьев, неточность посадочного отверстия і торцов і т. д.), недостаточность нарезанной частини фрезы, радиальное биение фрезы, биение заготовки, прогиб і отжим крепежного приспособления, погрешности делительной ланцюги верстата, проявляющиеся несколько раз за время обкатки одного зуба.

Для устранения причин, связанных з погрешностью инструмента, целесообразно заменить червячную фрезу, пред варительно проверив її точностные параметри.

При установці фрезы на оправку следует тщательно выставить її по радиальному і торцовому биению надежно закрепить в шпинделе.

Затем следует проверить, надежна ли закреплено установочное пристрій на планшайбе стола і не происходит ли заклинивания сменных зубчатых колес гітари деления.

8. Отклонение направления зубьев симметричное по обеим сторонам, так называемая конусность зубьев

Основной причиной етой погрешности является непараллельность руху фрезерного суппорта относительно оси обертання колеса в поздовжньої плоскости верстата. Такой характер отклонения направления зуба може быть і при интенсивном износе режущих кромок фрезы за время нарізання одного колеса. Непараллельность руху суппорта устраняется при отладке верстата на соответствие геометрическим нормам точності.

При интенсивном износе режущих кромок фрезы необходимо работать з уменьшенными режимами різання, исключающими появление вибраций і чрезмерного нагрева заготовки і фрезы.

9. Дробленая поверхность і следы вибрации на нарезаемых зубьях

Причиной дробления могут быть большие зазоры в заднем подшипнике, поддерживающем оправку з фрезой, і в переднем подшипнике шпинделя, большое расстояние между опорами оправки при малом її диаметре, недостаточно жесткое крепление заготовки, малое число зубьев фрезы, отсутствие змазки в суппорте или столе.

Для устранения указанных причин необходимо зазоры в підшибниківых опорах шпинделя і оправки всегда поддерживать на требуемом уровне, для чего периодически подтягивать гайкой передний подшипник ковзання у шпинделя, а при недопустимом износе втулки, поддерживающей опори заменить ее.

При появлении на поверхности зубьев дробления необходимо установить заготовку на более жесткое пристрій (с приближением опор-ной поверхности к нарезаемому венцу), а поддерживающий подшипник фрезерной оправки приблизить к шпинделю, удалив для етого з оправки промежуточные кольца.

Для чистовой обробки фрезу следует выбирать з возможно большим числом зубьев.

10. Большая шероховатость поверхности зубьев колеса

Причины погрешности заключаются в плохой заточке фрезы, большом биении фрезы, нежесткости крепления фрезы і заготовки, загрязнении і неправильном выборе СОЖ, большой поздовжньої подаче.

Для уменьшения шероховатости обрабатываемой поверхности необходимо сменить затупленную фрезу. Если ета мера не окажет своего дії, то нужно устранить нежесткость крепления фрезы і заготовки (как было описано выше) і сменить загрязненную СОЖ.

Последней мерой является уменьшение величины поздовжньої подачі, хотя ето і снижает производительность обробки.





Налаштування зубофрезерного верстата - напівавтомату 5м324а. Відео






Технічні характеристики зубофрезерного верстата 5м324а

Наименование параметра 5к32 5к324 5м324а
Основні параметри верстата
Наибольший модуль нарезаемого колеса (чугун), мм 10 8 8
Наибольший диаметр нарезаемых цилиндрических прямозубых колес (0°), мм 800 500 500
Наибольший диаметр нарезаемых цилиндрических косозубых колес (30°), мм 500 400 400
Наибольший диаметр нарезаемых цилиндрических косозубых колес (45°), мм 350 300 300
Наибольший диаметр нарезаемых цилиндрических косозубых колес (60°), мм 120..250 120..250 120..200
Наибольший диаметр нарезаемых червячных колес, мм 800 500 500
Наибольшая длина венца нарезаемых цилиндрических прямозубых колес (0°), мм 350 300 350
Наибольшая длина венца нарезаемых цилиндрических косозубых колес (30°), мм 200 200 230
Наибольшая длина венца нарезаемых цилиндрических косозубых колес (45°), мм 150 150 180
Наибольшая длина венца нарезаемых цилиндрических косозубых колес (60°), мм 130 130 130
Наименьшее число нарезаемых зубьев 12 12 12
Стол
Диаметр стола, мм 630 500 500
Расстояние между осями стола і фрезы, мм 80..500 60..350 60..350
Расстояние от плоскости стола і оси фрезы, мм 210..570 210..570 195
Ускоренное перемещение стола, мм/мин 170 170 140
Ручное перемещение стола за один оборот лимба, мм 0,5 0,5 0,5
Суппорт
Наибольшее перемещение суппорта, мм 360 360 360
Ускоренное перемещение каретки суппорта, мм/мин 550 550
Наибольший диаметр режущего инструмента, мм 200 200 180
Наименьшая длина режущего инструмента, мм 200 200 200
Диаметры фрезерных оправок, мм 32; 40 32; 40 32; 40
Ускоренное перемещение шпинделя вдоль оси, мм/мин 130 130
Расстояние от оси шпинделя до направляючих суппорта, мм 319 319
Наибольший угол наклона зубьев нарезаемого колеса, град ±60° ±60° ±60°
Поворот суппорта на одно деление шкалы линейки, град
Поворот суппорта на одно деление шкалы нониуса, мин 1` 1` 1`
Конусное отверстие шпинделя Морзе 5 Морзе 5 Морзе 5
Наибольшее осевое перемещение фрезы, мм 80 80 100
Механіка верстата
Пределы оборотів фрезы, об/мин 5...310 5...310
Число ступеней оборотів фрезы 9 9
Пределы продольных подач, мм/об 0,8...5,0 0,8...5,0
Пределы радиальных подач, мм/об 0,3...1,7 0,3...1,7
Пределы тангенциальных подач, мм/об 0,17...3,7 0,17...3,7
Число ступеней подач 7 7
Привід і електрообладнання верстата
Електродвигун головного привода, кВт/ об/мин 7,5/ 1460 7,5/ 1460 7,5/ 1460
Електродвигун ускоренного ходу, кВт/ об/мин 3/ 1430 3/ 1430 3/ 1430
Електродвигун приводу гідронасоса, кВт/ об/мин 1,1/ 930 1,1/ 930 1,1/ 930
Електродвигун насоса охлаждения, кВт/ об/мин 0,15/ 2840 0,15/ 2840 0,15/ 2840
Габаритные розміри і масса верстата
Габаритные розміри верстата (длина х ширина х высота), мм 2550 х 1510 х 2000 2500 х 1440 х 2000 2550 х 1640 х 2200
Масса верстата з електрообладнанням і охолодженням, кг 7200 6400 7700








Заказать

Тот, кто правильно указывает на мои ошибки, — мой учитель;
тот, кто правильно отмечает мои верные поступки, — мой друг;
тот, кто мне льстит, — мой враг.