metalinstryment.com
Довідник по металорізальних верстатів та пресовому обладнанні

5В833 Верстат зубошлифовальный універсальний напівавтомат
схеми, опис, характеристики

5В833 Загальний вигляд  зубошлифовального верстата







Відомості про виробника зубошлифовального верстата 5В833

Производитель вертикального зубошлифовального верстата 5В833 Егорьевский станкостроительный завод Комсомолец, основанный в 1930 году.

Завод за время своего существования выпустил свыше 60 моделей: зубофрезерных, зубодолбежных, зубошлифовальных, зубозакругляющих і других зубообрабатывающих верстатів.





Продукция Егорьевского станкостроительного завода Комсомолец


5В833 Верстат зубошлифовальный універсальний напівавтомат з цикловым программным керуванням підвищеної точності. Назначение і область применения

Зубошлифовальный верстат 5В833 предназначен для шлифования прямозубых і косозубых цилиндрических колес в серийном і крупносерийном производстве.

Шлифование производится абразивным червяком методом обкатки при непрерывном делении.

Витки червяка имеют в осевом сечении форму прямобочной производящей рейки з шагом, равным окружному шагу шлифуемого колеса.

Окончательное профилирование винтовой поверхности абразивного червяка производится на самом станке многониточными стальными накатниками или алмазными резцами.

Отличительными особенностями верстата 5В833 є наличие електрической связи в ланцюги деления, осуществляемой двумя синхронными електродвигунами, і отсутствие в ланцюги деления диференціала. Это упрощает конструкцию верстата і повышает надежность і долговечность его роботи.

Для вытяжки і очистки отсасываемых паров охлаждающей жидкости имеется вытяжной вентилятор з набором сетчатых фильтров. Для встраивания в автоматическую линию верстат не приспособлен.

Верстат 5В833 работает по замкнутому напівавтоматическому циклу і обеспечивает стабильность геометрических размеров шлифуемых зубчатых колес.

Верстат 5В833 выполнен по классу точності В в соответствии з нормами точності ГОСТ 13086—67 «Верстати зубошлифовальные для цилиндрических колес, работающие абразивным червяком. Нормы точності».

Шероховатость обработанной поверхности V8 по ГОСТ 2789—59.

Зубчасті колеса модулем до 0,8 мм нужно шлифовать без предварительного нарізання зубьев.

Окончательное профилирование винтовой нитки на абразивном червяке выполняется на самом станке стальным многониточным накатником или алмазными резцами.





Габарит робочого простору зубошлифовального верстата 5В833

5В833 Габарит робочого простору зубошлифовального верстата

Габарит робочого простору зубошлифовального верстата 5в833


Загальний вигляд і общее пристрій верстата 5В833

Фото вигляд зубошлифовального верстата 5В833: моделі 1966 і 1969 года

Фото зубошлифовального верстата 5в833: моделі 1966 і 1969 года


Фото вигляд зубошлифовального верстата 5В833: моделі 1971 і 1974 года

Фото зубошлифовального верстата 5в833: моделі 1971 і 1974 года


5В833 універсальний зубошлифовальный. Фото

Фото зубошлифовального верстата 5в833


5В833 універсальний зубошлифовальный. Фото

Фото зубошлифовального верстата 5в833


Розташування складових частин зубошлифовального верстата 5В833

5В833 Розташування складових частин зубошлифовального верстата 5В833

Розташування складових частин верстата 5в833. Вид спереди

Розташування складових частин зубошлифовального верстата 5В833. Дивитись у збільшеному масштабі




Список органів керування зубошлифовальным верстатом 5В833

  1. Рукоятка установки цикла роботи
  2. Рукоятка переміщення стойки
  3. Квадрат поворота суппорта
  4. Рукоятка ручной подачі шпиндельной бабки
  5. Рукоятка автоматичною подачі шпиндельной бабки
  6. Рукоятка установки величины автоматичною подачі шпиндельной бабки
  7. Линейный выключатель
  8. Рукоятка радиальной подачі механізма правки
  9. Рукоятка для согласования пристосувань для правки з ниткой абразивного червяка
  10. Фиксатор кожуха шлифовального круга
  11. Рукоятка переміщення верхнего центра
  12. Квадрат для переміщення верхней бабки суппорта
  13. Упоры налаштування на величину переміщення суппорта
  14. Квадрат переміщення суппорта
  15. Рукоятка переключения со шлифования на правку
  16. Кран подачі охлаждающей жидкости

5В833 Розташування складових частин зубошлифовального верстата 5В833

Розташування складових частин верстата 5в833. Вид сбоку

Розташування складових частин зубошлифовального верстата 5В833. Дивитись у збільшеному масштабі



Специфікація складових частин зубошлифовального верстата 5В833


Розташування органів керування зубошлифовальным верстатом 5В833

Пульт керування зубошлифовальным верстатом 5в833

Пульт керування зубошлифовальным верстатом 5в833

Пульт керування зубошлифовальным верстатом 5в833. Дивитись у збільшеному масштабі



Список органів керування зубошлифовальным верстатом 5В833

Список органів керування зубошлифовальным верстатом 5В833





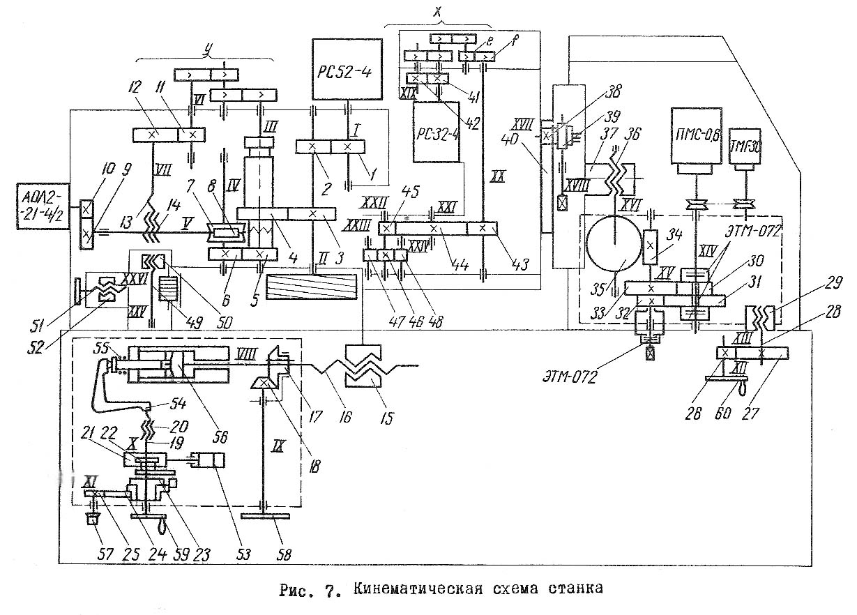
Схема кінематична зубошлифовального верстата 5В833

Схема кінематична зубошлифовального верстата 5В833

Кінематична схема зубошлифовального верстата 5в833

1. Схема кінематична зубошлифовального верстата 5В833. Дивитись у збільшеному масштабі

2. Схема кінематична зубошлифовального верстата 5В833. Дивитись у збільшеному масштабі

3. Схема кінематична зубошлифовального верстата 5В833. Дивитись у збільшеному масштабі

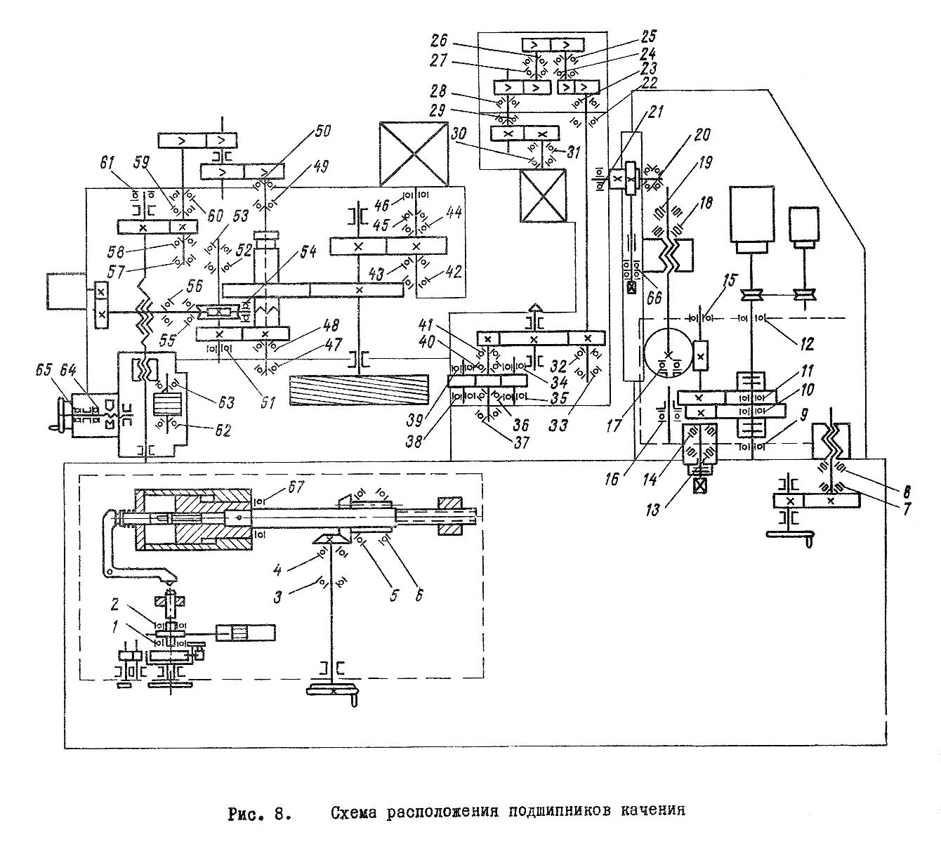
Схема розположення підшибників зубошлифовального верстата 5В833. Дивитись у збільшеному масштабі



Кінематична схема верстата состоит из четырех ланцюгів:

  1. ланцюг деления (ланцюг обката)
  2. ланцюг правки (ланцюг обката)
  3. ланцюги вертикальной подачі
  4. ланцюги радиальной подачі

Ланцюг деления

Ланцюг обеспечивает согласованное вращение абразивного червяка і шлифуемой заготовки (за один оборот абразивного червяка заготовка должна повернуться на один зуб). Налаштування на число зубьев производится при помощи сменных шестерен гітари деления "х". Характерной особенностью стенка является наличие в ланцюги деления електрической синхронной связи, осуществляемой двумя синхронными реактивными електродвигунами. Один електродвигатель через пару цилиндрических шестерен 1, 2 приводит во вращение шпиндель абразивного червяка II, другой через пару цилиндрических шестерен 41, 42 - гітару деления "х", сменные шестерни е, f і делительную пару 43, 44 приводит во вращение шпиндель вироби ХХI.

Ланцюг правки

Ланцюг согласовывает вращение абразивного червяка з переміщенням механізма правки (за один оборот абразивного червяка механізм правки должен переместится на один шаг накатываемого витка). Налаштування на шаг производится при помощи сменных шестерен гітари правки "У". Привід ланцюги правки осуществляется от двухскоростного електродвигуна мощностью 0,7/0,9 кВт. Через пару цилиндрических шестерен 10,9, червячную передачу 8,7, цилиндрические шестерни 6,5 приводится во вращение вал III. От него через кулачковую муфту і пару цилиндрических шестерен 4, 3 рух передається шпинделю абразивного червяка, а через сменные шестерня гітари. "V" і пару цилиндрических шестерен 11, 12 вращается винт 13, по которому поступательно перемещается гайка 14, имеющая опорную площадку. К опорной площадке гайки гідравликой прижата каретка механізма правки. Винт 49 служит для установки накатника или алмазного резца вдоль оси абразивного червяка.

Ланцюг вертикальной подачі суппорта

Ланцюг сообщает возвратно-поступательное рух суппорту вироби во время шлифования і налагодження. Привід вертикальной подачі - бесступенчатый з муфтой ковзання ПМС-0,6, з регулюванням через тахогенератор ТГ. Исполнительным евеном переміщення каретки з суппортом является пара винт-гайка 36, 37. Для увеличения диапазона регулювання величины подачі между приводом ПМС-0,6 і парой винт-гайка имеется двухступенчатый зубчатый перебор, переключаемый двумя електромагнитными муфтами ЭTM-072.

Ланцюг радиальной подачі

Ланцюг осуществляет радиальную подачу бабки шлифовального круга на изделие за каждый ход вироби і отвод бабки після окончания шлифования.

Ланцюг автоматичною радиальной подачі состоит из храпового механізма 23 і гідравлической следящей системы. Качательное рух собачке храпового механізма сообщается гідроцилиндром 53, Вращение храповика преобразуется в поступательное рух гвинта 19, который нажимает на рычаг 54. Рычаг перемещает следящий золотник 55, в результате чего поршень 56 перемещает шлифовальную бабку на величину радиальной подачі, устанавливаемую лимбом 57. Ручное перемещение при наладке осуществляется маховиком 58. В ланцюг ручного перемещеНИЯ шлифовальной бабки входит коническая передача 18, 17 і пара винт-гайка 16, 15. Маховик 59 служит для установки величины переміщення шлифовальной бабки при шлифовании заготовки. При подводе шлифовальной бабки нажатием кнопки "подвод" маховик 5 (см.рис.5) устанавливается так, чтобы деление "0,8" шкалы лимба маховика находилось против указателя.

Ручное перемещение стойки

Перемещением стойки осуществляется установка вироби, относительно абразивного червяка, обеспечивая использование всей рабочей ширины абразивного червяка при шлифовании. Ручное перемещение осуществляется маховиком 60.

В ланцюг ручного переміщення стойки входит цилиндрическая передача 26, 27 і пара винт-гайка 28, 29.





Опис конструкції зубошлифовального верстата 5в833

Станина

Станина (рис.9) выполнена цельной і представляет собой жесткую конструкцию прямоугольной формы. По продольным направляющий (V - образной і плоской) перемещается шлифовальная бабка з механізмом правки. По поперечным направляющим перемещается

В станине смонтированы:

Стойка з суппортом обрабатываемого вироби

Стойка (рис.10) имеет вертикальные і горизонтальные направляющие. По вертикальным направляющим перемещается каретка о суппортом вироби. Горизонтальные направляющие служат для переміщення стойки по станине..

Для перемещение каретки з суппортом применен регулируемый бесступенчатый привід ПМС-0,6 з двухступенчатой коробкой швидкостей. Керування коробкой швидкостей осуществляется переключателем на панелі керування.

Реверс руху каретки з суппортом осуществляется самим приводом при подаче команды ох регулируемых упоров. Для частиничной компенсации веса суппорта з кареткой установлены два гідравлических цилиндра одностороннего дії.

Суппорт вироби

Суппорт (рис.11) цилиндрическим пояском входит в каретку стойки і крепится тремя болтами. В нижней частини суппорта смонтирован шпиндель вироби, вращающийся в регулируемых конических бронзовых підшипниках, делительная цилиндрическая пара в шестеренчатый насос. Насосу вращение передається от большого делительного колеса через; цилиндрическую шестерню. На шпинделе устанавливается гідравлически действующая затискна цанга, выполняющая роль поводка, В верхней частини суппорта расположена гітара деления "х" і передвижная бабка верхнего центра. В средней частини суппорта смонтирован механізм ручного поворота суппорта на угол наклона зуба шлифуемого вироби.

Шлифовальная бабка

Шлифовальная бабка (рис. 12) перемещаемся по направляющим станины, осуществляя радиальную подачу абразивного червяка на изделие. Шпиндель абразивного червяка смонтирован в конических підшипниках ковзання і получает вращение от синхронного реактивного двигуна через две цилиндрические шестерни. Задний подшипник шпинделя, постоянно прижатый к нему пружиной (при пуске) і дополнительно гідравликой (при работе верстата), може перемещаться вдоль оси. На корпусе шлифовальной бабки смонтирован механізм правки. Привід механізма правки, размещенный внутри шлифовальной бабки, осуществляется от 2-х скоростного електродвигуна (1400/2720 об/мин). Винт механізма правки получает вращательное движение, а гайка - возвратно-поступательное. Гідравлическое давление салазок механізма правки, действующее на гайку, обеспечивает работу только одной стороны профиля різьби гвинта і гайки. Согласование обертання абразивного червяка з переміщенням механізма правки достигается налаштуванням гітари правки "У".

Накатник приводится во вращение абразивным червяком і перемещается возвратно-поступательно вдоль оси шпинделя строго согласованно з вращением абразивного червяка. Механізм правки позволяет вести работу односторонним і двусторонним методом.

Рекомендуется применять:

При правке алмазными резцами применяется только односторонний метод.


Схема гідравлічна зубошлифовального верстата 5В833

Гідравлічна схема зубошлифовального верстата 5в833

Гідравлічна схема зубошлифовального верстата 5в833

Гідравлічна схема зубошлифовального верстата 5в833. Дивитись у збільшеному масштабі




Последовательность налагодження і подготовка зубошлифовального верстата 5В833

Рассмотрим наладку зубошлифовального верстата 5В883 на шлифование прямозубого зубчатого колеса модуля 3 мм, з числом зубьев 60 і шириной зубчатого венца 20 мм.

При наладке верстата выполняют наступні операции: проверка исправности верстата і готовности его к работе; установка червячного шлифовального круга; правка червячного круга; установка заготовки; установка сменных зубчатых колес гітари деления; установка суппорта на угол наклона зуба заготовки; налаштування тормозного насоса; установка упоров длины шлифования; установка вертикальной подачі; установка радиальной подачі і величины радиального врізання.

Органы керування зубошлифовального верстата 5В833 показаны на рис.152. При осмотре верстата проверяют наличие заземления на корпусе електрошафи, а также наличие масла в резервуарах гідравлики по маслоуказателю 28, охлаждения по маслоуказателю 29, змазки стойки по маслоуказателю 19. Наличие масла в резервуаре змазки шлифовальной бабки проверяют, открыв дверку 30 на правом торце станины. При работе верстата контроль за смазкой шлифовального шпинделя і механізмов шлифовальной бабки осуществляется по манометрам 5. При дальнейшем осмотре верстата необходимо проверить состояние внешней електропроводки. Все штепсельные разъемы, включая находящиеся на золотниках керування, должны быть присоединены к своим колодкам.

Осмотр верстата заканчивается проверкой состояния центрифуги для очистки охлаждающей жидкости. Перед началом роботи в барабане центрифуги не должно быть шлама, а сливной патрубок 21 должен плотно входить в направляющие планки сливного отверстия станины. Теперь необходимо включить стабилизатор напряжения і насос гідравлики, затем нажатием соответствующих кнопок проверить перемещение шлифовальной бабки і вращение шлифовального круга.





Наладка вузлів верстата. Установка червячного шлифовального круга

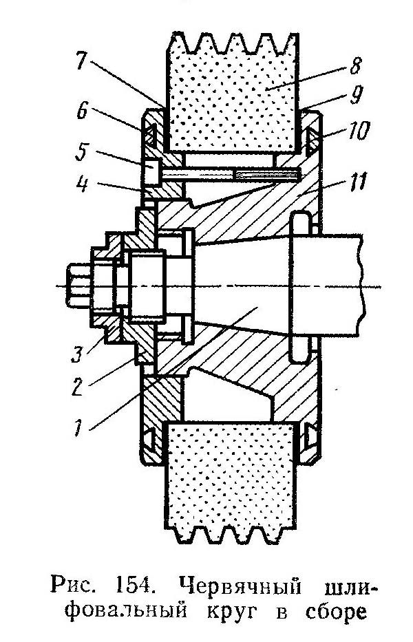
Червячный шлифовальный круг в сборе

Червячный шлифовальный круг в сборе

Червячный шлифовальный круг — ето абразивный инструмент, на периферии которого образована винтовая нарезка (рис. 154). Круг 8 в сборе з фланцем 4 і планшайбой 11 установлен на конец шлифовального шпинделя 1. При монтаже между кругом і планшайбой, а также фланцем устанавливают кольца 7 і 9 из тонкого листового алюминия или картона. Винты 5 нужно затягивать равномерно, соблюдая післядовательность в диаметральном порядке. Например, при восьми гвинтах очередность завертывания будет следующая: 1—5, 3—7, 2—6, 4—8. Неправильное завертывание винтов може привести к деформации отверстия планшайби и, как следствие, к неправильной її посадке на шпиндель верстата, а ето в свою очередь окажет отрицательное влияние на процесс шлифования.

В станке используют шлифовальные круги наибольшим диаметром 400 мм і высотой 63 і 80 мм. Материал кругов — белый електрокорунд, связка — керамическая, зернистость от М40 до 32, твердость от СМ2 до М3. Структура — открытая, 7 і 8-го номеpa. Характеристика круга нанесена на его торце. Например, если на шлифовальном круге нанесена маркировка 400X203X80 24А 16 М38К, то ето означает, что круг имеет наружный диаметр 400 мм, отверстие 203 мм, высоту 80 мм, изготовлен из белого електрокорунда з содержанием окиси алюминия 99,3% (24А), номер зернистости 16, твердость мягкая 3-го порядка, структура открытая 8-го номера, связка керамическая (К).

При обработке зубчатых колес червячным кругом для получения хороших результатов шлифования необходимо правильно выбирать характеристику шлифовального круга. В табл.31 приведены ориентировочные данные зернистости і твердости кругов в зависимости от модуля колеса.

Основні правила выбора характеристик круга: чем меньше модуль, тем меньше должна быть зернистость шлифовального круга; чем меньше модуль і меньше число зубьев колеса, тем тверже должен быть круг.


Выбор шлифовального круга

Червячные шлифовальные круги модуля до 1 мм профилируют непосредственно на зубошлифовальном станке из цилиндрического шлифовального круга, а более крупных модулей предварительно нарезают на токарному станке. Здесь же заправляют концы витка так, чтобы они были расположены друг против друга. Это необходимо для обеспечения статического равновесия. Затем круг, установленный на планшайбу, подвергают динамической балансировке на любой балансировочной машине, используя для балансировки передвижные грузы 6 і 10, вставленные в кольцевые пазы фланца і планшайби.

Особенно чувствительны к динамической неуравновешенности червячные круги крупных модулей. Работа з динамически неуравновешенными кругами приводит к ухудшению профиля зуба шлифуемого колеса, поетому для получения безупречного профиля необходимо применять динамическую балансировку круга після трех-четырех его правок.

Червячный круг в сборе устанавливают на шпиндель верстата, предварительно навернув на резьбовой его конец специальную предохранительную втулку. Перед установкой конусные поверхности шпинделя і планшайби тщательно протирают і проверяют отсутствие на них забоин. Планшайбу закрепляют гайкой 2 з левой резьбой і гайкой 3 з правой резьбой (см. рис. 154). Гайка 2 предохраняет червячный круг от поворота в первый момент обертання в направлении шлифования, а гайка 3 в направлении правки.


Правка червячного шлифовального круга

Процесс правки червячного круга состоит из ряда самостоятельных процессов, обеспечивающих требуемый профиль витка. Настройкой механізма правки достигается согласованное поступательное перемещение правящего инструмента з вращением круга. На станке 5В833 можно заправлять однозаходные червячные круги.

Гітара механізма правки располагается под крышкой 27 (см. рис. 152).

При налаштуванні гітари необходимо учитывать следующее условие сцепляемости первой пары сменных зубчатых колес: сумма зубьев должна составлять 105 (a1 + b1 = 105). Таблиця налаштування гітари правки приведена в руководстве по експлуатации верстата. Например, для червячного круга модулем 3 мм гітара составлена из следующих зубчатых колес

a1/b1 • c1/d1 = 45/60 • 80/40. (49)

Правка начинается з прорезки дна впадины витка однониточным прорезным роликом для обеспечения свободного выхода алмазных резцов на післядующем етапе правки.

На рис. 155 изображены ролик 3 з оправкой 1, свободно вращающиеся в центрах 2 і 5 установочного приспособления, которое закреплено на каретке механізма правки. Вращение ролика происходит от заправляемого круга 4 за счет трения. Одновременно ролик з кареткой перемещается вдоль оси шлифовального круга.

Прорезка дна впадины витка однониточным роликом

Прорезка дна впадины витка однониточным роликом

Границы переміщення определяются положением упоров, воздействующих на конечные выключатели. Упоры настраиваются так, чтобы в крайних положениях ролик 3 выходил за пределы червячного круга на 4...5 мм. Правку накатниками можно осуществлять односторонним или двухсторонним методом. При одностороннем методе ход правочных салазок в одну сторону является рабочим, а в обратную —- холостым. При холостом ходе салазки приспособления автоматически отводятся от шлифовального круга і перемещение происходит в два раза быстрее, чем при рабочем ходе. При двухстороннем методе правки ход салазок в обе стороны является рабочим. Метод правки выбирают установкой переключателя на пульті керування 18 (см. рис. 152). При етом рукоятка 25, находящаяся слева от механізма правки, переводится в положение «Правка».

Салазки механізма правки к червячному кругу подаются вращением маховичка 4. Величина подачі определяется по лимбу і должна составлять 0,01...0,03 мм на один рабочий ход при прорезке дна впадины витка. Если прорезают твердые круги, то радиальную подачу можно осуществлять після двух-трех рабочих ходов.

После большого износа шлифовального круга или після черновой прорезки витков применяют правку многониточным кольцевым накатником для подготовки боковых сторон профиля витка к післядующей правке алмазными резцами.

При правке многониточным кольцевым накатником (рис. 156) ход салазок настраивают таким образом, чтобы в крайних положениях накатник не выходил за пределы червячного круга, оставаясь в нем на 1—2 витка. Касание накатника з витком круга происходит при вращении маховичка 4 (см. рис. 152) в местах наибольшего радиального биения витка. После того накатник равномерно распределяется по впадине витка при помощи гвинта 23 і того же маховичка 4. Величина рабочей радиальной подачі накатника не должна превышать 0,01...0,03 мм на один рабочий ход салазок. Как і при правке однониточным роликом, в зависимости от условий радиальную подачу можно осуществлять після двух-трех рабочих ходов. Окончание правки определяют по равномерности съема абразива со всей окружности заправляемого червячного круга.

Правка боковых сторон витка многониточным накатником

Правка боковых сторон витка многониточным накатником

Правка алмазными резцами является окончательной операцией по подготовке шлифовального круга к работе. От правильности правки боковых сторон витка будет зависеть точность шлифования зубчатых колес, поетому к етой операции следует относиться з особым вниманием.

Алмазный різець (рис. 157), используемый для правки боковых сторон витка, представляет собой стальную державку 1, на кінці которой закреплена алмазная пластина 2, имеющая две режущие грани 3. Режущие грани должны быть расположены строго параллельно плоскости крепления резца (допускаемое отклонение 0,001 мм).

Приспособление для правки червячных кругов алмазными резцами (рис. 158) устанавливают на салазки механізма правки (с левой стороны верстата). Приспособление состоит из основания 3, на направляючих которого при вращении гвинта 15 перемещается плита 14.

Правка червячного шлифовального круга алмазными резцами

Правка червячного шлифовального круга алмазными резцами

На основании і плите установлены корпуса 6 і 17 з резцедержателями 8 і 12, на концах которых закрепляют алмазные резцы 9 і 11. Резцедержатели перемещают к шлифовальному кругу 10 вращением головок винтов 1 і 19. Величину переміщення отсчитывают по шкалам, нанесенным на ети винты.

При помощи етого приспособления можно производить правку червячных кругов з углом зацепления α = 14...30°. Державку з резцами на угол закрепления устанавливают поворотом корпусов 6 і 17 вокруг осей 7 і 13 до обеспечения размера М, определяемого по формуле

М = 100 • sin(38° — α) — 10 мм. (50)

При α = 20° имеем М = 100 • 0,30902 — 10 = 20,902 мм. На ету величину набирают блок мерных плиток, которые прикладывают к пластинке 4. Затем корпус 6 поворачивают до тех пор, пока блок мерных плиток не коснется упора 5, і в том положении аккуратно заворачивают гайку 2. Также поворачивают і закрепляют корпус 17.

Процесс правки червячного шлифовального круга алмазными резцами осуществляется следующим образом. Сначала устанавливают крайние положения ходу салазок механізма правки і ходу резцедержателей. Для етого резцедержатели 8 і 12 гвинтами 1 і 19 отводят в крайнее заднее положение. Маховичком 20 подводят салазки з установленным на них правочным пристрійм к заправляемому кругу. Вращением винтов 16 і 1 вводят алмазный різець 9 во впадину витка до тех пор, пока между вершиной алмазного резца і дном не останется зазор, приблизительно равный 1 мм. То же проделывают і з резцом 11, вращая винты 15 і 19. Это положение замечают по шкалам, нанесенным на фланцах под головками винтов 1 і 19, і в процессе правки его не переходят.

Затем етими же гвинтами выводят алмазные резцы из впадины витка на величину 1...2 мм за его пределы, включают автоматическое перемещение салазок і кулачками регулируют крайние положения ходу салазок з таким расчетом, чтобы в кінці ходу резцы 9 і 11 выходили за пределы червячного круга 10 на 3...5 мм.

После етого во время робочого ходу салазок (справа налево) вращением винтов 1 і 16, а также 19 і 15 подводят режущие кромки алмазных резцов до касания з боковыми сторонами впадины витка. С етого момента начинается процесс съема абразивного материала. Для сохранения режущих кромок резца во время правки червячный круг поливают слабой струей минерального масла.

Во время холостого ходу салазок (слева направо) алмазные резцы перемещают в направлении к заправляемому кругу на величину 1...3 мм, вращая винты 1 і 19 до ранее замеченного по шкале положения. Затем маховичком 20 осуществляют радиальную подачу салазок з пристрійм на величину 0,01...0,03 мм і гвинтами 1 і 19 при холостом ходе салазок постепенно выводят резцы из витка. В выведенном положении снова производят радиальную подачу маховичком 20.

Процесс правки длится до тех пор, пока алмазные резцы не будут снимать абразивный материал по всей длине витка равномерно, что определяется на слух. Обычно за одну правку снимают слой абразива 0,05...0,010 мм на сторону витка, что соответствует радиальной подаче алмазных резцов к червячному кругу на величину 0,15...0,30 мм в зависимости от степени износа витков і их размера.

При правке алмазными резцами необходимо помнить, что подачу резцов на червячный круг нужно производить только маховичком 20 і ни в коем случае не гвинтами 15 і 16, которые предназначены только для грубого подвода алмазов к виткам.

Окончательную форму профилю витка придают при правке периферии червячного круга алмазным карандашом (рис. 159). Карандаш 4 закрепляют в кронштейне 3 і устанавливают на салазки 1 механізма правки. Правку производят при быстром вращении круга 5 і медленном возвратно-поступательном движении салазок. При етом алмазный карандаш должен выходить за пределы круга на 3...5 мм. Во время холостого ходу салазок маховичком 2 осуществляют радиальную подачу карандаша на величину 0,03.-0,04 мм на каждый ход.

Правка периферии червячного шлифовального круга

Правка периферии червячного шлифовального круга

Через несколько проходов выключают вращение червячного круга і контролируют профиль витка, применяя специальные шаблоны (рис. 160). Круг считается заправленным правильно, если наибольшая сторона шаблона будет мати световую щель по заплечикам, а наименьшая по боковым сторонам профиля.


Налаштування гітари деления

Гітара деления расположена в верхней частини суппорта і состоит из шести сменных зубчатых колес, два из которых е і f устанавливают на постоянных осях в сочетаниях чисел зубьев 36 і 108, а также 24 і 120.

В первом случае формула налаштування гітари деления будет:

a/b • c/d = 12/z

А во втором:

a/b • c/d = 20/z

Таблиця настроек гітари деления для шлифования заготовок з числами зубьев 12...200 приведена в руководстве по експлуатации верстата. Сменные зубчасті колеса устанавливают на конусные шейки валов, имеющих торцовые шпонки, і закрепляют точной гайкой.

Посадочные места валов, сменных зубчатых колес і шпонок не должны мати забоин і грязи, чтобы не нарушать правильность установки сменных колес. Неправильная их установка приводит к увеличенной погрешности окружного шага. При повышенных требованиях к точності шлифования необходимо проверять торцовое і радиальное биение контрольных поясков сменных зубчатых колес, которое не должно превышать 0,003...0,006 мм. Сменные колеса устанавливают з минимальным боковым зазором между зубьями (0,06...0,10 мм), проверяя его покачиванием одного из колес.

Установка суппорта на угол наклона зуба. При шлифовании как прямозубых, так і косозубых колес изделие, установленное в центрах суппорта, перемещают вдоль направления обрабатываемого зуба. От точності установки суппорта зависит і точность направления зуба. При шлифовании прямозубых колес проверку точності установки осуществляют по цилиндрической контрольной оправке, а при шлифовании косозубых колес — по конусной оправке (рис. 161). Контрольную оправку 1 выполняют з углом конуса, точно соответствующим углу наклона зуба шлифуемого зубчатого колеса. Индикатор 2 устанавливают на неподвижную часть верстата, а каретку з суппортом 3 перемещают по направляющим стойки. Такие оправки применяют при ограниченном количестве углов наклона зубчатых колес на предприятии. При значительном их количестве для установки суппорта на требуемый угол применяют специальные приспособления з синусной линейкой, которую поворачивают по угловой шкале. Затем к контрольной поверхности линейки подводят измерительный наконечник индикатора і поворачивают супорт до тех пор, пока индикатор не зафиксирует наименьшие отклонения при перемещении каретки в обе стороны.

Установка суппорта на угол наклона обрабатываемых зубьев

Установка суппорта на угол наклона обрабатываемых зубьев


Установка давления тормозного насоса

При шлифовании зубчатых колес з различным числом зубьев шпиндель вироби вращается з различной частотой обертання, определяемой по формуле:

nизд = nдв/ z

где nдв — частота обертання електродвигуна (М2) приводу вироби; z — число шлифуемых зубьев.

Так, при шлифовании зубчатого колеса з числом зубьев z=15 шпиндель будет вращаться з 150 об/мин, а при шлифовании зубчатого колеса з z = 150 — только з 15 об/мин. При етом двигатель приводу вироби будет нагружен по-разному. Наибольшая нагрузка будет при обработке малозубых зубчатых колес. Для выравнивания условий роботи етого двигуна в кинематическую ланцюг деления встроен тормоз в виде гідронасоса, приводимый во. вращение от зубчатого колеса, находящегося на шпинделе. Перекрывая дросселем линию нагнетания масла, создают более тяжелые условия роботи насоса, а, следовательно, і приводного електродвигуна. Тормозной момент контролируют по давлению в гідросистеме. На передньої стенке стойки прикреплен график налаштування давления по числу шлифуемых зубьев і манометр 11 (см. рис. 152). От дросселя наружу введен винт 10. При обработке косозубых колес величина настраиваемого давления должна быть уменьшена на 0,5...1,0 кгс/см2.


Установка упоров длины шлифования

Процесс шлифования червячным кругом происходит при движении суппорта з заготовкой вдоль линии направления зуба. В ето время режущая винтовая поверхность круга находится в зацеплении з обрабатываемым зубом. При выходе етой поверхности за венец зубчатого колеса супорт з заготовкой останавливается от воздействия упоров 13 і 14 (см. рис. 152) на конечный выключатель. Упоры устанавливают таким образом, чтобы горизонтальная плоскость, расположенная по оси червячного круга, выходила за венец зубчатого колеса на величину 3...12 мм. Меньшая величина перебега относится к прямозубым колесам, а большая — к косозубым. Причем она зависит от модуля і угла наклона шлифуемого зуба.

Положение упоров уточняется при обработке первой заготовки по пропаданию искр на выходах. После пропадания искр каретка з суппортом должна пройти еще 2...3 мм до крайнего положения, т. е. до момента остановки.

Для облегчения налаштування упоров пользуются специальным указателем (рейсмусом), который при установці на площадку станины показывает верхним заостренным концом положение оси шлифовального шпинделя.


Установка вертикальной подачі

Вертикальная подача осуществляется от електропривода, не связанного з кінематичної ланцюгю деления. Величина подачі устанавливается в мм/мин. Однако при зубошлифовании червячным кругом, так же, как і при зубофрезеровании червячной фрезой, требуемую вертикальную подачу определяют в мм/об (т. е. за 1 оборот вироби). Для швидкого перевода одной размерности в другую около пульта керування подачей установлена таблица.

Величину подачі можно регулировать в пределах 3,78... 165 мм/мин і изменять її в любое время процесса обробки.

Величина вертикальной подачі устанавливается лимбами 16 і 17 (см. рис. 152). Лимбом 16 устанавливают величину черновой подачі, а лимбом 17 — чистовую. Черновые проходы обычно осуществляют з вертикальной подачей 1,5...3,0 мм/об, а чистовые 0,5...0,8 мм/об.


Установка радиальной подачі і величины радиального врізання

Автоматическую подачу шлифовальной бабки к обрабатываемому зубчатому колесу осуществляет гідравлический цилиндр со следящим золотниковым пристрійм. Такая подача называется радиальной. Величина її устанавливается головкой 3 (см. рис. 152) в пределах 0,02...0,08 мм на каждый рабочий ход суппорта. Положение головки фиксируется через каждые 0,01 мм. Величину подачі можно устанавливать і изменять в процессе обробки. При установці головки 3 на нуль супорт з изделием будет продолжать свое перемещение в обоих направлениях, но радиальной подачі шлифовального круга не будет.

Величину радиальной подачі выбирают, исходя из учета конкретных условий шлифования. В частности, при обработке зубчатых колес крупных модулей подачу можно выбирать большей величины; при шлифовании мягкими кругами радиальная подача може быть также большой, но не чрезмерной, приводящей к быстрому износу шлифовального круга. Кроме того, необходимо учитывать, что у твердых шлифовальных кругов, при очень малой радиальной подаче, из-за незначительных усилий різання абразивные зерна не вырываются из основы круга і очень быстро теряют свои режущие свойства. Наступает, так называемое «засаливание» шлифовального круга, приводящее к появлению прижогов на профиле зуба. Радиальная подача при черновых проходах обычно 0,04...0,06 мм, а при чистовых 0,02...0,03 мм на рабочий ход суппорта.

Общую величину радиального врізання червячного круга в заготовку определяют по формуле:

R = 1,462 ΔW

где R — загальна величина врізання, ΔW — разность фактической і расчетной длины общей нормали обрабатываемого зубчатого колеса, 1,462 — коеффициент, соответствующий углу зацепления 20°. Рассчитанную величину радиального врізання для первой заготовки устанавливают до начала шлифования поворотом маховика 2 (см. рис. 152) до совмещения її значения, нанесенного на лимбе, з риской указателя.


Шлифование зубчатых колес

Перед тем, как приступить непосредственно к процессу шлифования, необходимо снять со верстата оправку з заготовкой. После етого нажатием на пульті керування 18 (см. рис. 152) кнопки подвода шлифовальную бабку быстро подводят в сторону заготовки. Затем устанавливают оправку з заготовкой в центрах стола і контрподдержки, а маховичком 1 подводят шлифовальную бабку к заготовке до тех пор, пока витки червячного круга не войдут в плотное соприкосновение з зубьями заготовки.

В етом положении нулевую риску маховичка 1 устанавливают против риски указателя и, вращая маховичок в обратную сторону, отводят шлифовальную бабку от заготовки на 0,1... 0,2 мм. Образовавшийся при етом зазор между витками шлифовального круга і зубьями заготовки обеспечивает сохранность профиля витков при первом проходе вдоль зубьев заготовки, когда они еще имеют большое радиальное биение.

Дальнейшие операции по шлифованию производят в следующем порядке: поворотом выключателя на пульті керування 18 включают подачу охлаждающей жидкости; нажатием кнопки «Пуск» включают вращение шлифовального круга і вироби; при етом начинается і автоматическая вертикальная подача: вращением маховичка 1 плавно подводят шлифовальную бабку к заготовке до совпадения нулевой риски на лимбе маховичка з указателем или же до появления достаточно заметного пучка искр; поворотом переключателя на пульті керування включают цанговый зажим оправки з заготовкой. При большом биении обрабатываемого зубчатого венца цангу следует зажимать після нескольких проходов червячного шлифовального круга вдоль зубьев заготовки.

Число проходов со «свободным шлифованием» зависит от величины биения зубчатого венца, диаметра і модуля заготовки. Обычно оно равно 2...3, но може доходить і до 8...10.

При шлифовании косозубых колес цанговый зажим включают на первом проходе, так как на выходах червячного круга за торец зубчатого венца контакт его витков з зубьями заготовки може быть только з одной стороны, что исказит зубья по направлению.

Автоматический процесс шлифования длится до тех пор, пока лимб маховика 2, поворачивающийся при каждом проходе, не подойдет к своему нулевому положению, в котором специальным механізмом подается команда на осуществление чистового режима шлифования. При етом вертикальная подача переключается на меньшую, заранее установленную лимбом 17, величину.

Если на пульті керування переключатель «Продолжение цикла» установлен на нуль, то каретка з суппортом совершит еще два чистовых прохода, після чего шлифовальная бабка отойдет назад, і произойдет відключення синхронных електродвигателей приводу вироби і шлифовального круга. Процесс обробки закончен.

Не снимая со верстата оправки з заготовкой, производят замер длины общей нормали. Если она окажется больше допускаемых значений, то шлифование продолжают в следующем порядке. Вынимают оправку з изделием из верхнего центра і отклоняют її от шлифовального круга. Нажатием кнопки на пульті керування подводят шлифовальную бабку к заготовке і вставляют зубья заготовки в витки червячного круга. Маховик 1 отводят от заготовки на 0,10 мм. Осуществляют пуск обертання шлифовального круга і вироби і маховичком 1 сначала подводят шлифовальную бабку в нулевое положение по лимбу, а затем постепенно на величину, рассчитанную на до-шлифование.

Понаступні заготовки етого же размера шлифуют при неизменном положении маховичка 1, лимб которого поворачивают до совмещения нулевой риски з указателем.

Процесс шлифования происходит в описанном выше порядке, но налаштування на величину снимаемого припуска осуществляется маховичком 3, который поворачивают до образования плотного соединения витков червячного круга з зубьями заготовки. Перед пуском верстата маховичок 1 отводят от заготовки на 0,1 мм і при первом же проходе шлифования возвращают в исходное нулевое положение.

По окончании шлифования размер длины общей нормали будет одинаковым у всех обработанных зубчатых колес.

Перед установкой каждой післядующей заготовки необходимо произвести смещение суппорта з заготовкой относительно червячного круга. Это осуществляют маховиком 20. Величина единичного переміщення зависит от величины радиальной подачі і диаметра заготовки і находится в пределах 2...8 мм.




5В833 Верстат зубошлифовальный універсальний напівавтомат. Відеоролик.





Технічні характеристики зубошлифовального верстата 5В833

Наименование параметра 5В833 5А841 5М841
Основні параметри верстата
Диаметр устанавливаемого вироби, мм 40..320 30..320 30..320
Наименьший диаметр окружности впадин, мм 30
Модуль устанавливаемого вироби, мм 0,5..4 1,8..8 1,5..8
Число зубъев устанавливаемого вироби, мм 12..200 10..200 10..200
Наибольшая ширина зубчатого прямозубого венца устанавливаемого вироби, мм 150 150 160
Расстояние между центрами суппорта обрабатываемого вироби, мм 215..335 175..400
Расстояние от оси круга до линии центров, мм 195..420
Наибольший угол наклона зубъев, мм ±45 ±45 ±45
Точность обробки, DIN 4..5
Наибольшая масса устанавливаемого вироби, кг 200 200
Бабка шлифовальная (шпиндельна)
Диаметр шлифовального круга (абразивного червяка), мм 330..400 260..350 260..350
Ширина шлифовального круга (абразивного червяка), мм 63; 80 16..32 13..32
Диаметр посадочного отверстия шлифовального круга (абразивного червяка), мм 203 127
Диаметр кінця шлифовального шпинделя, мм 50
Число оборотів шлифовального круга, 1/мин 1920 1920
Вертикальное перемещение шлифовального шпинделя, мм 180
Суппорт вироби
Диаметр стола, мм 280 280
Ход стола, мм 180 30..165
Подача обката, мм/мин 6..800
Конус шпинделя вироби, мм Морзе 3
Конус верхней бабки, мм Морзе 3
Ручное перемещение стойки вдоль оси шлифовального шпинделя, мм 120
Ползун
Длина ходу, мм 20..160
Число двойных ходов ползуна в минуту (бесступенчатое регулювання) 50..280
Ролик опорный
Наибольшая величина зоны перестановки, мм 405
Перемещение опорного ролика на одно деление лимба перестановки, мм 0,002
Перемещение опорного ролика на один оборот лимба перестановки, мм 0,02
Перемещение опорного ролика на один оборот лимба распределения припуска, мм 0,16
Цена деления шкалы нониуса зоны перестановки, мм 0,002
Цена деления шкалы лимба распределения припуска, мм 0,005
Механізм правки
Количество алмазов 3
Диапазон компенсации износа шлифовального круга при правке, мм 0..45
Автоматическая прерывная радиальная подача механізма правки, мм 0,01..2
Привід і електрообладнання верстата
Количество електродвигателей на станке 8 8
Електродвигун головного приводу - шлифовального шпинделя, кВт 4,0 1,1 1,5
Електродвигун насоса гідравлики, кВт 1,1 2,2 2,2
Електродвигун вентилятора масляного теплообменника, кВт 0,27
Електродвигун приводу механізма подачі, кВт 0,18 0,18
Електродвигун насоса охлаждения, кВт 0,15 0,15
Електродвигун магнитного сепаратора, кВт 0,5 0,18 0,18
Електродвигун приводу ползуна (вертикальной подачі), кВт 1,1 1,9
Електродвигун редуктора поворота ползуна, кВт 1,1
Електродвигун пылесоса, кВт 0,27
Електродвигун системы змазки, кВт 0,08; 0,27
Суммарная мощность електродвигателей, кВт 7,08 6,6
Габаритные розміри і масса верстата
Габаритные розміри верстата (длина х ширина х высота), мм 2400 х 2500 х 2040 2850 х 2315 х 2635 2850 х 2315 х 2085
Масса верстата з електрообладнанням і охолодженням, кг 7000 8000 8000

    Список литературы по зубообработке

  1. Зубошлифовальный напівавтомат 5В833. Руководство по обслуговування, 1974

  2. Ачеркан Н.С. Металлорежущие верстати, Том 1, 1965.
  3. Гальперин Е.И. Наладка зуборезных верстатів, 1960.
  4. Козлов Д.Н. Зуборезные роботи, 1971.
  5. Кучер А.М., Киватицкий М.М., Покровский А.А., Металлорежущие верстати (Альбом общих видов, кинематических схем і вузлів), 1972.
  6. Лоскутов В.В., Ничков А.Г. Зубообрабатывающие верстати, 1978.
  7. Малахов Я.А. Зубообрабатывающие і резьбофрезерные верстати і их наладка, 1972.
  8. Мильштейн М.З. Нарезание зубчатых колес, 1972.
  9. Овумян Г.Г., Адам А.И. Справочник зубореза, 1983.
  10. Птицин Г.А., Кокичев В.Н. Зуборезные верстати, 1957.
  11. Шавлюга Н.И. Расчет і примеры наладок зубофрезерных і зубодолбежных верстатів, 1978.
  12. Руководящий материал для конструкторов, проектирующих технологическую оснастку. Основні данные і посадочные места металлорежущих верстатів. НИИМАШ, 1968.









Заказать

Кто владеет информацией - тот владеет миром.

Натан Ротшильд