metalinstryment.com
Довідник по металорізальних верстатів та пресовому обладнанні

5А832 Верстат зубошлифовальный універсальний напівавтомат
схеми, опис, характеристики

5А832 Загальний вигляд  зубошлифовального верстата







Відомості про виробника зубошлифовального верстата 5А832

Производитель вертикального зубошлифовального верстата 5А832 Егорьевский станкостроительный завод Комсомолец, основанный в 1930 году.

Завод за время своего существования выпустил свыше 60 моделей: зубофрезерных, зубодолбежных, зубошлифовальных, зубозакругляющих і других зубообрабатывающих верстатів.





Продукция Егорьевского станкостроительного завода Комсомолец


5А832 Верстат зубошлифовальный універсальний напівавтомат. Назначение і область применения

Зубошлифовальный верстат 5А832 предназначен для шлифования зубьев цилиндрических, прямозубых і косозубых колес, а также долбяков, шеверов і накатников.

Принцип роботи і особливості конструкції верстата

На станке 5А832 можно шлифовать зубчасті колеса і долбяки з модулем т = 0,3.. 2,5 мм. Наименьший диаметр обрабатываемых зубчатых колес 20 мм, наибольший — 200 мм.

Зубчасті колеса з т ≤ 0,8 мм шлифуют «по целому», без предварительного нарізання зуба.

Шлифование производится абразивным червяком методом обката, что обеспечивает повышенную производительность. Шлифовальный абразивный червяк може мати диаметр 330..400 мм при ширине 50..63 мм.

Наибольшая ширина шлифуемого зубчатого венца для прямозубых колес 80 мм.

Для шлифования косозубых колес при наибольшем угле наклона β = 45° і модуле тп = 2,25.. 2,5 мм ширина венца не должна превышать 35 мм.

Число зубьев шлифуемой заготовки — 12..200.

Основні конструктивные особливості верстата 5А832 в сравнении со верстатом 5832 заключаются в следующем:




Розташування органів керування зубошлифовальным верстатом 5А832

Розташування органів керування зубошлифовальным верстатом 5А832

Розташування органів керування зубошлифовальным верстатом 5А832. Дивитись у збільшеному масштабі




Кінематична схема і конструкция верстата

Кінематична схема зубошлифовального верстата 5А832

Кінематична схема зубошлифовального верстата 5А832

Кінематична схема зубошлифовального верстата 5А832. Дивитись у збільшеному масштабі



Основними вузлами верстата, (рис. VII.19) являются:

Станина 28 представляет собой жесткую чугунную отливку прямоугольной формы.

По продольным направляющим (V-образной і плоской) перемещается шлифовальная бабка 17 з механізмом правки 14. Поперечные направляющие такой же формы служат для установочных перемещений стойки 26 вместе з суппортом 23.

В станине смонтированы также:

Кінематична схема (рис. VII.20)* напівавтомату имеет ланцюги:

Ланцюг образования профиля зуба

Ланцюг вертикальних подач

Для шлифования зубьев по всей длине заготовки каретка 24 (рис. VII.19 і VII.21) вместе з суппортом 23 (рис. VII.19) перемещается по вертикальным направляющим стойки 26 парой винт — гайка. Винт 33 (рис. VII.2I) получает вращение через зубчасті передачи от гідродвигуна ГД (МГ 530; n = 350; Q = 12 л/мин) з дроссельным регулюванням.

Стойка з механізмом переміщення суппорта зубошлифовального верстата 5А832

Стойка з механізмом переміщення суппорта верстата 5А832

Стойка з механізмом переміщення суппорта зубошлифовального верстата 5А832. Дивитись у збільшеному масштабі



При включении електромагнитной муфты ЭМ2 (рис. VII.20 і VII.21) і выключенной муфте ЭМ2 вращение на винт 33 передається по ланцюги z29/z30 · z31/z32. При включении електромагнитной муфты ЭМ2 і выключенной — ЭМ1 включается перебор з передаточным отношением

iпер = z25/z26 · z27/z28 = 28/62 · 28/62 = 1/5

При совместном включении електромагнітних муфт ЭМ1 і ЭМ2 происходит торможение суппорта. Реверсирование руху суппорта в его крайних положениях осуществляется от гідроприводу при встрече упоров 25 (рис. VII.19) з расположенными на каретке конечными выключателями. Каретка 24 з суппортом 23 уравновешиваются двумя цилиндрами Ц6 (рис. VII.21 і VII.32), которые укреплены в верхней частини стойки.

В нижней частини суппорта смонтирован шпиндель 51 (рис. VII.22), верхней опорой которого служит бронзовый подшипник 50 з конической (конусность 1 : 10) опорной поверхностью. Нижня опора выполнена в виде конической втулки 46 (конусность 1:5) из легированной стали з закалкой до твердости HRC 45..50. Втулка 46 посажена на шпонку, расположенную в цилиндрической нижней частини шпинделя 51.

Суппорт зубошлифовального верстата 5А832

Суппорт зубошлифовального верстата 5А832

Суппорт зубошлифовального верстата 5А832. Дивитись у збільшеному масштабі



Верхнюю опору шпинделя вироби регулируют подшабриванием опорной торцовой поверхности підшипника 51, которая должна быть строго перпендикулярна оси — допускается отклонение лишь в пределах 0,005 мм.

Для регулювання нижнего підшипника ослабляют гайку 48 и, -подвинчивая гайку 47, перемещают втулку 46 до получения в опорной поверхности необходимого зазору (0,01—0,015 мм} і обеспечения легкого обертання шпинделя.

На нижнем кінці верхней конической опори шпинделя установлено делительное колесо 19. От передачи 19—20 через сменные колеса 21 і 22 вращение передається колесам 23 і 24 шестеренного насоса 61. Этот насос служит гідротормозом, а также способствует уменьшению вредного влияния возможных колебаний нагрузки при шлифовании.

Число оборотів гідротормоза устанавливается, в зависимости or числа зубьев шлифуемой заготовки, сменой зубчатых колес 21 і 22, а именно: при zзаг < 21 21—75 76—200

z21/z22 = 1/2 1/1 2/1

При выхаживании гідротормоз отключается. Давление масла в насосе 61 устанавливают в зависимости от числа зубьев шлифуемого колеса і контролируется манометром.

Оправка з заготовкой устанавливается в центрах 54 і 56 і зажимается цангой 55. Цанга 55 через уплотнительное кольцо 58 скреплена гвинтами 53 со шпинделем 51 и, таким образом, не имеет осьового переміщення, что исключает смещение оправки з изделием при зажиме в осевом направлении. Зажим оправки цангой производится от гідропривода, для чего масло под давлением подводится через штуцер і отверстие в шпинделе 51 в полость с. При етом поршень — фланец 59, который гвинтами 52 скреплен з колпаком 57, будет перемещаться вниз.

Закрепление шлифуемой детали на зубошлифовальном станке 5А832

Закрепление шлифуемой детали на зубошлифовальном станке 5А832

Закрепление шлифуемой детали на зубошлифовальном станке 5А832. Дивитись у збільшеному масштабі



Так как коническое отверстие колпака 57 находится в контакте со сферическим концом цанги 55, цанга, сжимаясь, зажимает оправку з изделием.

Тарельчатая пружина 60 разжимает цангу 55 при перемещении колпака 57 вверх.

На рис. VII.23 приведены примеры закрепления шлифуемых заготовок на оправках і в центрах в зависимости от их формы і размера. В случае, если заготовка не зажимается цангой, а лишь в центрах (рис. VII.23, е), применяется верхний вращающийся центр (рис. VII.24), который поджимается от гідропривода.

Заготовки проверяют на биение как після крепления на оправке, так і після крепления оправки в центрах. В зависимости от диаметра і модуля зубчатого венца биение шлифуемых заготовок не должно превышать 0,005..0,01 мм.

Перед началом шлифования супорт устанавливают в нулевое положение.

При обработке цилиндрических косозубых колес супорт должен быть повернут на соответствующий угол. Точность установки угла наклона лучше всего контролируется индикатором по конической оправке (рис. VII.25) з углом, соответствующим углу наклона зуба шлифуемой заготовки. Оправка зажимается в центрах, индикатор закрепляется на нерухомою шлифовальной бабке.

Вращающийся центр з гідроподжимом зубошлифовального верстата 5А832

Вращающийся центр з гідроподжимом зубошлифовального верстата 5А832

Вращающийся центр з гідроподжимом зубошлифовального верстата 5А832. Дивитись у збільшеному масштабі



Величину вертикальних подач при предварительном і чистовом шлифовании выбирают в зависимости от модуля і материала шлифуемого колеса, его термической обробки і требуемой точності вироби.

После етого по графику (рис. VII.26) определяют нужное положение дросселя (см. рис. VII.22). Шлифование зубчатых колес невисокою точності, а также предварительное шлифование производятся з более высокими режимами різання.

Для достижения высшей степени точності і чистоты поверхности при чистовом шлифовании рекомендуется післядний проход производить з минимальной глубиной різання (≥0,01 мм) і малой вертикальной подачей (0,3..0,8 мм/об).

Принятая величина вертикальной подачі s мм/об устанавливается: включением соответствующей електромагнитной муфты ЭМ1 или ЭМ2 (рис. VII.21) переключателем на пульті керування і поворотом рукоятки 27 (рис. VII. 19) установки соответствующего положения дросселя. На станке возможны подачі в пределах 1,6..106 мм/мин.

При післяднем проходе і при выхаживании, в случае роботи з подачами, установленными по шкале I (рис. VII.26), они автоматически уменьшаются в 5 раз; для етого електромагнитная муфта ЭМ1 (рис. VII.21) выключается, а муфта ЭМ2 включается.

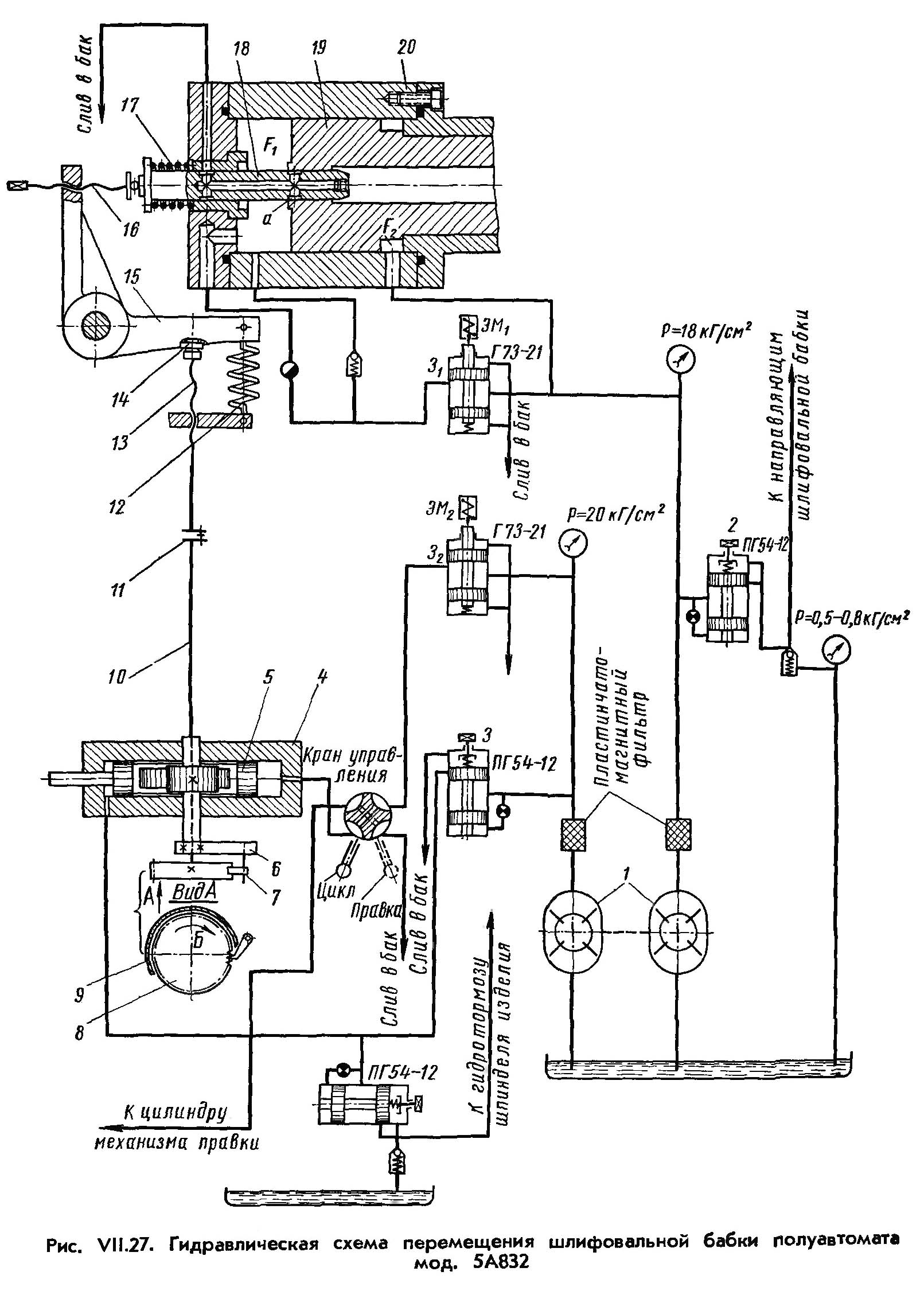
Ланцюг радиальной подачі на зубошлифовальном станке 5А832

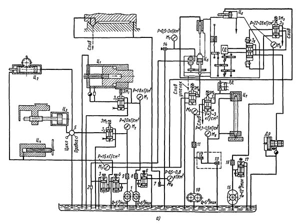
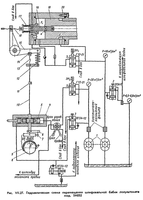
Ланцюг радиальной подачі осуществляет: подвод шлифовальной бабки в направлении вироби, подачу шлифовальной бабки за каждый ход суппорта з изделием (как вниз, так і вверх) з помощью гідравлічного следящего пристроя, а также отвод після окончания шлифования.

Подвод шлифовальной бабки

Подвод шлифовальной бабки происходит в процессе подготовки верстата к автоматическому шлифованию.

Все необходимые команды і переключения для осуществления перемещений при автоматическом шлифовании производятся з помощью гідроприводу і електроавтоматики. При нажатии кнопки «Подвод» включается електромагнит ЭМ1 (рис. VII.27). Давление масла, создаваемое сдвоенным лопастным насосом 1 і поддерживаемое постоянным в етой ланцюги напорным золотником 2, передається в полости F1 і F2 цилиндра 20 (рис. VII.27 і VII.28). Так как площадь поршня со стороны полости F1 больше, чем со стороны полости F2, то он перемещается вправо до открытия в следящем золотнике 18 отверстия а, через которое масло из полости F1 проходит в бак, уменьшая давление і уравновешивая поршень 19.

Шлифовальная бабка быстро перемещается на величину 27..30 мм. Для регулювання етого положения служит винт 16.

Маховичком 23 (рис. VII.28) шлифовальный круг подводят к заготовке до касания шлифовального круга з заготовкой, з отметкой по лимбу. После етого круг отводят назад на 0,2..0,3 мм і після увімкнення верстата вновь подводят на ту же величину.

Радиальная автоматическая подача

Радиальная автоматическая подача за каждый ход суппорта осуществляется переміщенням следящего золотника 18 (рис. VII.27, VII.28). При перемещении суппорта з изделием вверх или вниз і воздействии упора на конечный выключатель, включается електромагнит ЭМ2 (рис. VII.27) при включенном ранее електромагните ЭМ1. Давление масла, создаваемое насосом 1 і поддерживаемое постоянным в етой ланцюги напорным золотником 3, передається при установленном кране керування в положении «шлифование», в цилиндр 4 (рис. VII.27 і VII.28). Поршень-рейка 5, перемещаясь, поворачивает зубчатое колесо z40, свободно сидящее на валике 10, а также поводок 6 з собачкой 7. Собачка 7 при етом поворачивает храповое колесо 8, закрепленное на валике 10, который через скользящую шпонку муфты 11 соединен з винтом 13 (с левой резьбой).

При вращении храпового колеса 8 по стрелке Б (рис. VII.27) винт 13 (рис. VII.27 і VII.28) вывертывается из гайки і пружина 12 отклоняет рычаг 15 вниз, который пяткой 14 упирается в винт 13 и, преодолевая давление пружины 17, перемещает винтом 16 следящий золотник 18. Проходное сечение з етого золотника уменьшается, вследствие чего давление в полости F1 возрастет і поршень 19, а следовательно, і шлифовальная бабка переместятся на величину установленной подачі.

На кнопке 21 (рис. VII. 28) нанесены отметки, соответствующие подачам шлифовальной бабки 0,02..0,08 мм за каждый ход суппорта. Заданную подачу устанавливают поворотом кнопки 21 до совпадения з отсчетной отметкой. Через зубчасті колеса 37 і 38 производится поворот зубчатого колеса 39 і козырька 9 (рис. VII.27 і VII.28), который перекрывает соответствующее количество зубьев храпового колеса 8.

Величину подачі выбирают в зависимости от модуля і свойств материала (твердости зубьев і др.) шлифуемого колеса і от качества абразивного круга.

Каждый раз після осуществления радиальной подачі електромагнит ЭМ2 (рис. VII.27) выключается.

Давлением жидкости, поступающей от насоса 1 через напорный золотник 3, поршень-рейка 5 (рис. VII.27 і VII.28) будет перемещаться в другую сторону, реверсируя зубчатое колесо z40 і возвращая в первоначальное положение собачку 7. Тем самым механізм подготовляется для следующей подачі при другом крайнем лоложении суппорта з изделием.

Величина радиального врізання (т. е. переміщення шлифовальной бабки за весь цикл шлифования) устанавливается по лимбу маховичка 22 (рис. VII.28).

Отвод шлифовальной бабки (автоматический)

Отвод шлифовальной бабки (автоматический) після окончания шлифования происходит при выключенных електромагнитах ЭМ1 і ЭМ2 (рис. VII.27). Масло из полости F1 цилиндра 20 сливается в бак, а поршень со штоком і шлифовальной бабкой под давлением в полости F2 отводится назад.

Наладочные переміщення шлифовальной бабки

Наладочные переміщення шлифовальной бабки для подвода і відведення шлифовального круга к заготовке і от нее производятся маховичком 23 (рис. VII.28), вращение которого передається винту 45 (рис. VII.20 і VII.28) через конические зубчасті колеса 43 і 44.

Ланцюг образования винтовой нарезки на абразивном червяке

Ланцюг образования винтовой нарезки на абразивном червяке. Ланцюг правки приводится от двухскоростного електродвигуна Д7 (N = 0,75/1 кВт; п = 1420/2850 об/мин) (рис. VII.20 і VII.29)] через зубчасті колеса 10 і 9, фрикционную коническую муфту М1 червячную пару 8, 7, цилиндрические зубчасті колеса 6, 5 і при включенной муфте М2 вращение передається валу III. С вала III вращение передається через зубчасті колеса 4 і 3 шпинделю шлифовального круга, а через гітару правки iу і зубчасті колеса 11 і 12 — на винт 13 переміщення механізма правки.

Винт 13 получает только вращательное движение, а гайка 15 (рис. VII.29) — возвратно-поступательное. К торцу гайки 15 прикреплен фланец 16. В торец етого фланца шаровой опорой поджимается з помощью гідроприводу от цилиндра Ц4 (см. рис. VII.32) регулируемый толкатель, смонтированный в поздовжньої каретке механізма правки. Таким образом, вместе з гайкой 15 (рис VII.29) перемещается і каретка механізма правки.

Шлифовальная бабка зубошлифовального верстата 5А832

Шлифовальная бабка зубошлифовального верстата 5А832

Шлифовальная бабка зубошлифовального верстата 5А832. Дивитись у збільшеному масштабі



С помощью гідравлічного давления, действующего на гайку со стороны механізма правки, і других конструктивных і технологических мероприятии обеспечивают получение точного профиля витков абразивного червяка.

Каретка механізма правки перемещается по салазкам по роликовым направляющим з профилем в виде ласточкина хвоста. На верхней плоскости каретки закрепляется пристрій з установленным в его центрах накатником.

Салазки перемещаются по направляющим основания механізма правки парой винт — гайка от маховичка 13 (рис. VII.19).

Основание механізма правки боковым фланцем крепится к вертикальной плоскости корпуса 14 (рис. VII.29) шлифовальной бабки.

Каретка з установленным в приспособлении накатником получает рух вдоль оси шпинделя, согласованное з величиной шага заправляемого абразивного червяка.

За один оборот абразивного червяка накатник перемещается на величину, равную шагу его винтовой нарезки. Тяга 17 скреплена з фланцем 16 і перемещается вместе з гайкой 15.

Налаштування ланцюги образования винтовой нарезки на абразивном червяке

Налаштування ланцюги образования винтовой нарезки на абразивном червяке производится подбором сменных зубчатых колес гітари подач механізма правки iу (рис. VII.20 і VII.29).

Расчетное перемещение:


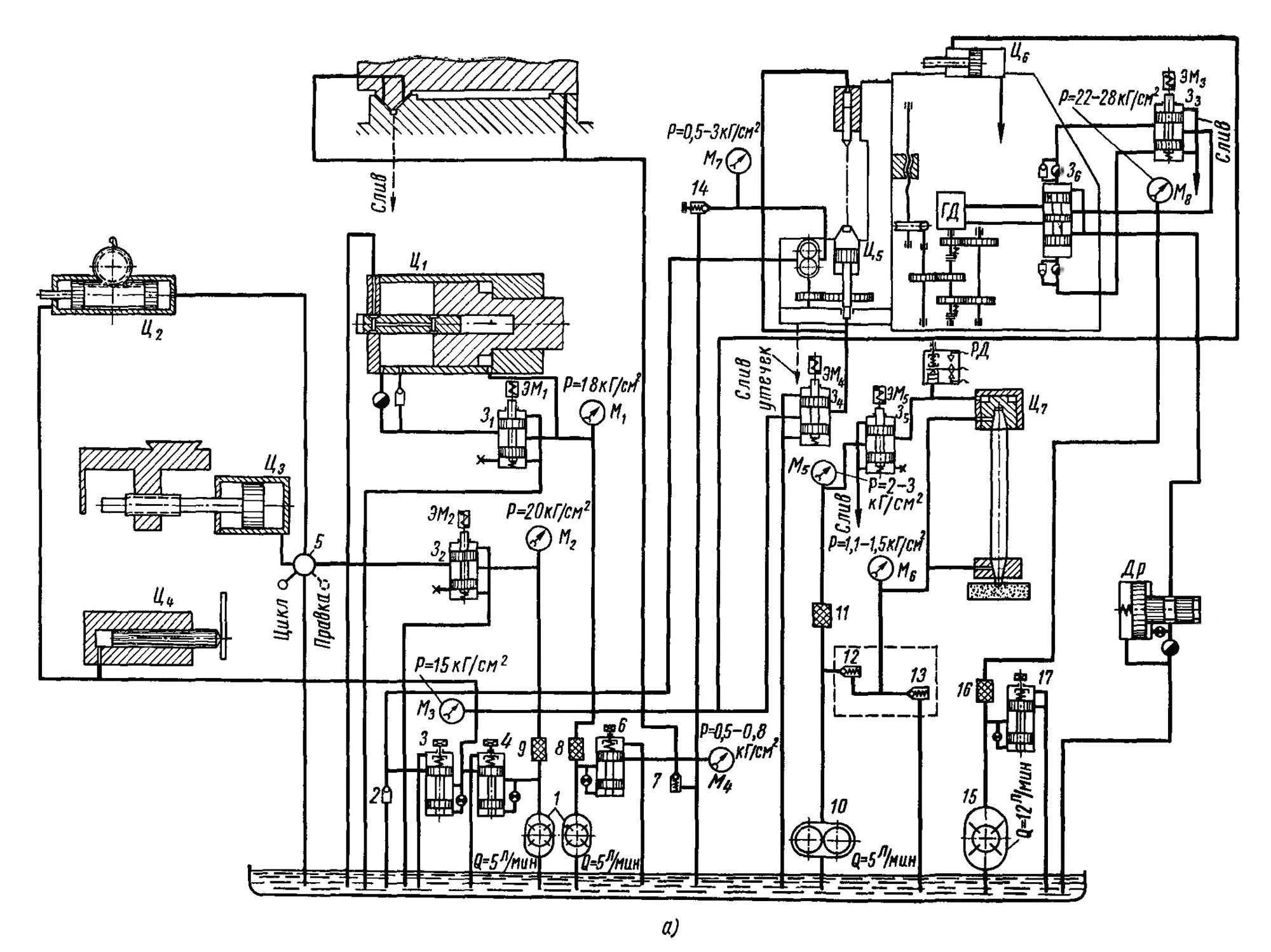
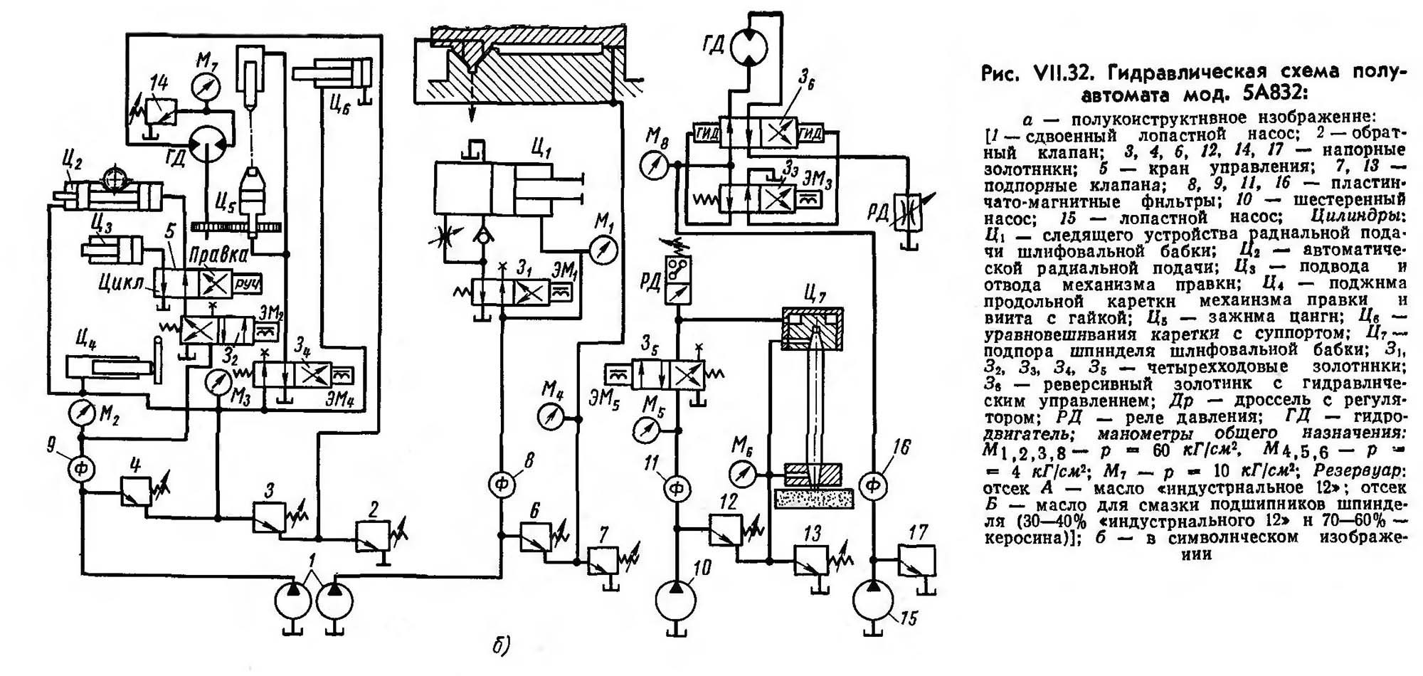
Гідравлічна схема (рис.VII.32) состоит из окремих секций.

Гідравлічна схема зубошлифовального верстата 5А832

Гідравлічна схема зубошлифовального верстата 5А832

Гідравлічна схема зубошлифовального верстата 5А832. Дивитись у збільшеному масштабі



Гідравлічна схема зубошлифовального верстата 5А832

Гідравлічна схема зубошлифовального верстата 5А832

Гідравлічна схема зубошлифовального верстата 5А832. Дивитись у збільшеному масштабі



Гідравлічна схема зубошлифовального верстата 5А832

Гідравлічна схема зубошлифовального верстата 5А832

Гідравлічна схема зубошлифовального верстата 5А832. Дивитись у збільшеному масштабі



От сдвоенного лопастного насоса 1 (Q — 8/8 л/мин) питается следящее пристрій радиальной подачі шлифовальной бабки (р = 18кГ/см2). От етой же секции смазываются направляющие шлифовальной бабки (р = 0,5..0,8 кГ/см2).

Вторая секция — от сдвоенного насоса питает ланцюг правки, ветвь уравновешивания каретки з суппортом, а также производит зажим цанги вироби і натяг ланцюги от гідротормоза.

От того же електродвигуна приводится второй лопастной насос 15, который питает гідродвигатель ГД, регулируемый дросселем Др і осуществляющий вертикальную подачу з реверсом при помощи реверсивного золотника Зв. Ветвь змазки і поджима шпинделя шлифовального круга питается от шестеренного насоса 10.


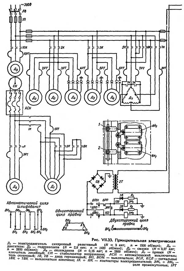
Принципиальная електрична схема (рис. VII.33)

На станке установлены два синхронных реактивных електродвигуна: для обертання шпинделя шлифовальной бабки Д1 (N = 3 кВт; п = 1500 об/мин) і для обертання заготовки Д8 (N = 1,1 кВт; п = 1500 об/мин), а также шесть асинхронных короткозамкнутых електродвигателей: Д2 — для приводу гідронасосов, Д3 — змазки, Д4 — пылесоса, Д5 — сепаратора, Д6 — охлаждения, Д7 — ланцюги правки.

Електрична схема зубошлифовального верстата 5А832

Електрична схема зубошлифовального верстата 5А832

Електрична схема зубошлифовального верстата 5А832. Дивитись у збільшеному масштабі



Електрична схема зубошлифовального верстата 5А832

Електрична схема зубошлифовального верстата 5А832

Електрична схема зубошлифовального верстата 5А832. Дивитись у збільшеному масштабі




Начало роботи

Перед началом роботи включением линейного выключателя ЛВ (рис. VII.33) подводится напряжение к пусковой аппаратуре. Переключателем 6ПУ включаются електромагнітні муфты ЭМ1 і ЭМ2. Их совместным включением осуществляется торможение суппорта при отведенной шлифовальной бабке. Это положение фиксируется включением сигнальной лампы КСЛ.

Подготовка верстата к шлифованию. Переключатель 2ПУ ставится в положение «Шлифование». При етом контакты 2ПУ (35—59; 47—45; 63—65; 34—32; 36—34) открыты, а контакт 2ПУ (30—6) закрыт. Конечный выключатель ВК1 нажат, і его контакт ВК1 (28—6) закрыт. Нажимом кнопки «Пуск» КУ1(19—35) включается реле часу 1РВ. Нормально открытые контакты реле 1РВ (23—21; 127—129) закрываются. Включается контактор 2К, а его нормально открытые контакты (19—35) закрываются. Происходит увімкнення електродвигателей: гідронасосов Д2; змазки Д3; пылесоса Д4. Нажимом кнопки «Подвод» — ЗКУ (129—51) включается промежуточное реле ЗРП. Н.з. контакт ЗРП (159—163) закрывается; происходит вимкнення одной из електромагнітних муфт ЭМ1 или ЭМ2, вследствие чего происходит растормаживание суппорта.

Н. о. контакты промежуточного реле ЗРП (35—49; 129—51; 35—59; 35—93) закрываются. Включается електромагнит ЭМ3, вследствие чего происходит подвод шлифовальной бабки.

Перед включением електродвигуна шлифовального круга шлифовальная бабка отводится на 0,2..0,3 мм. Нажимом кнопки «Пуск» — 5КУ (61—67) включаются реле часу 2РВ і контакторы 1К, 8К, 4К. Контакторы 1К і 8К включают електродвигатель шлифовального круга — Д1, і происходит разгон електродвигуна до первой скорости.

Контактор 4К непосредственно на прямую включает електродвигатель обертання вироби. Через 1..3 сек, необходимые для разгона електродвигуна Д1 до первой скорости, реле часу 2РВ открывает свой н. з. контакт 2РВ (67—71) і закрывает н. о. контакт 2РВ (67—75). Контактор 8К выключается, а 9К включается, і електродвигатель Д1 переключается со звезды на треугольник, вследствие чего происходит его разгон до рабочей скорости (1500 об/мин).

После закрытия н. о. контакта контактора 9К (35—151) включается реле часу 5РВ і через 2..4 сек, необходимые для разгона електродвигуна шлифовального круга Д1, закрывается н. о. контакт 5РВ (129—131). Включается промежуточное реле 2РП, н. о. контакты которого (65—67; 35—37; 67—75; 65—79; 35—85) закрываются. Происходит увімкнення електромагнита ЭМ5 і реле часу ЗРВ. Электромагнит ЭМ5 (рис. VII.32) переключает золотник 35, вследствие чего масло от насоса 10 поступает в цилиндр Ц7 поджима підшипника шпинделя шлифовального круга.

При создании определенного давления при поджиме підшипника выключается реле давления РД, і закрывается контакт ЗВК (23—27) (рис. VII.33). Реле часу ЗРВ, открывая свой н. з. контакт ЗРВ (67—69), выключает реле часу 2РВ. После выдержки часу, необходимой для обеспечения синхронизации чисел оборотів шлифовального круга і вироби, закрывается н. о. контакт реле часу ЗРВ (79—81), Включается промежуточное реле 1РП, н.з. контакты которого (25—27; 151—149) открываются, реле часу 5РВ выключается, і происходит контроль поджима підшипника шпинделя шлифовального круга. Если поджим підшипника не произошел, то контакт ЗВК (23—27) остается открытым, і верстат автоматически отключается.

При нормальной работе гідросистемы верстата н. о. контакты 1РП (3—5; 39—41; 57—59; 35—87; 36—6) закрываются.

Готовность верстата к шлифованию фиксируется включением сигнальной лампы ЗСЛ.

Шлифовальная бабка з вращающимся шлифовальным кругом подводится вращением маховичка 3 (см. рис. VII.19) к заготовке до появления искры, т. е. на 0,2..0,3 мм, на которые она была ранее отведена. Включается переключатель 1ПУ «Охлаждение» (рис. VI1.33) і его контакт 1ПУ (31—33) закрывается; включается контактор ЗК, а следовательно, включаются електродвигатели Д5 — сепаратора і Д6 — охлаждения. После етого включается переключатель ЗПУ «Цанга» і его контакт ЗПУ (87—89) закрывается, вследствие чего включается електромагнит ЭМ4 и, перемещая золотник 34 (рис. VII.32), открывает доступ маслу от насоса 1 в цилиндр Ц5. Происходит зажим оправки з изделием.

Увімкнення електродвигуна охлаждения Д6 і зажим цангой оправки з изделием могут производиться і автоматически; для етого переключатели 1ПУ і ЗПУ (рис. VII.33) включаются до пуска електродвигуна шлифовального круга Д1, а момент зажиму должен быть отрегулирован выдержкой часу реле ЗРВ з таким расчетом, чтобы он происходил після подвода шлифовального круга к заготовке (по искре).

Автоматический цикл шлифования начинается включением гідроприводу вертикальной подачі суппорта вироби. Переключатель 7ПУ «Наладка суппорта» (рис. VII.33) должен быть выключен, а его контакт 7ПУ (35—39) закрыт. При выключенном електромагните ЭМ3 происходит вертикальная подача суппорта вниз до встречи упора 1 з конечным выключателем 5ВК. При етом н. о. контакт 5ВК (93—99) закрывается і включается промежуточное реле 4РП; н. о. контакты 4РП (41—43; 95—97; 99—103; 109—143) закрываются. Включается електромагнит ЭМ2 (рис. VII.32) і переключает золотник З2, в результате чего происходит радиальная подача (см, стр. 221). Н. о. контакты 5РП (95—97; 93—113) (рис. VII.33) закрываются і включают електромагнит ЭМ3 (рис. VII.32); золотник 33 перемещается і подводит масло под другой торец реверсивного золотника 36, осуществляя етим реверсирование гідродвигуна ГЦ, а следовательно, і вертикальной 'подачі суппорта вироби. Суппорт перемещается вверх.

Когда упор сойдет з конечного выключателя 5ВК (рис. VII.33) н. р. контакт 5ВК (93—99) откроется, і промежуточное реле 4РП і електромагнит ЭМ2 (рис. VII.32) будут выключены.

Масло от насоса 1 проходит через напорный золотник 4, і поршень-рейка цилиндра Ц2 реверсируется. В кінці ходу вверх упор, 2 (рис. VII.33) нажимает на конечный выключатель 7ВК; н. р. контакт 7ВК (93—105) закроется. Включается (промежуточное реле 7РП, его н. з. контакты (93—95; 93—107) открываются, і промежуточное реле 5РП і електромагнит ЭМ3 выключаются. Суппорт перемещается вниз, н. о. контакты 7РП (41—43; 103—105; 143—147) закрываются, включается електромагнит ЭМ2, і вновь происходит радиальная подача.

Таким образом, радиальная подача производится как в крайнем нижнем, так і в крайнем верхнем положении суппорта.

Когда упор 2 освободит конечный выключатель 7ВК, н. о. контакт 7ВК (93—105) откроется, і промежуточное реле 7РП, а также електромагнит ЭМ2 выключаются. В кінці своего ходу вниз упор 1 нажимает на конечный выключатель 5ВК, і автоматический цикл шлифования продолжается. Заготовка шлифуется до установленного размера по жесткому упору.

Последняя радиальная подача може произойти как в крайнем верхнем, так і в крайнем нижнем положении суппорта. При осуществлении післядней радиальной подачі рукоятка автоматичною подачі шлифовальной бабки возвращается в нулевое положение і нажимает на конечный выключатель 2ВК (рис. VII.33). В результате етого происходит вимкнення сигнальной лампы ЗСЛ — етим фиксируется окончание радиальной подачі — вимкнення електромагнита ЭМ2 і електромагнитной муфты ЭМ1 (см. рис. VII.20 і VII.21) і увімкнення муфты ЭМ2. Если післядняя радиальная подача произошла при нижнем положении суппорта, то он из верхнего положения возвратится вновь в нижнее, но при етом радиальная подача не производится; происходит выхаживание при скорости переміщення, меньшей в 5 раз.

При возвращении суппорта в нижнее положение выключается електромагнит ЭМ1 (рис. VII.32), в результате чего отводится шлифовальная бабка. Включается електромагнитная муфта ЭМ1 (см. рис. VII.20), которая при совместном включении з муфтой ЭМ2 осуществляет торможение суппорта.

После выдержки часу 1..3 сек выключаются електродвигатели (рис. VII.33): шлифовальной бабки Д1 вироби Д8. охлаждения Д6, сепаратора Д5 і происходит отжим цанги. Автоматический цикл шлифования закончен.

Аналогично заканчивается автоматический цикл шлифования і в том случае, когда післядняя радиальная подача происходит в крайнем верхнем положении суппорта. В етом случае супорт сделает ход вниз і вернется в верхнее положение. Если необходимо, чтобы супорт сделал несколько проходов, після окончания радиальной подачі, то для етого включается переключатель 4ПУ «Продолжение цикла», а для окончания шлифования переключатель выключается.

Правка шлифовального круга. Для перехода со шлифования на правку накатником, переключатель 2ПУ ставится в положение «Правка».

Електрична схема обеспечивает оба цикла роботи верстата при правке накатником — одностороннюю і двустороннюю правку (см. стр. 227). В зависимости от етого переключатель 5ПУ «Правка» устанавливается на соответствующую отметку.

При правке алмазом абразивного инструмента по верху переключатель 2ПУ ставят в положение «Правка по верху». Рукоятку переключения со шлифования на правку ставят в положение«Шлифование», т. е. муфта М2 (см. рис. VII.20 і VII.29) выключается. Нажатием кнопки «Пуск» 7КУ (рис. VII.33) включают електродвигатель правки Д7 (см. рис. VII.20 і VII.29) при включенной муфте М1, а нажатием кнопки «Пуск» 5КУ — електродвигатель шлифовального круга Д1.

Выключение електродвигателей производится кнопками «Стоп» 6КУ і 8КУ (рис. VII.33).


Эксплуатация верстата

Для обеспечения високою точності обробки зубчатых колес і нормальной роботи синхронно-реактивных електродвигателей верстат подключается к наиболее стабильной равномерно нагруженной сети.

Питание синхронно-реактивных електродвигателей верстата осуществляется от стабилизатора напряжения в виде синхронного генератора типа ЕСС-62-4 (N = 12 кВт; п = 1500 об/мин) з приводом от електродвигуна Д9 (рис. VII.29) типа А-62/4 (N = 14 кВт; п= 1450 об/мин).

При правке накатником шлифовального круга стабилизатор напряжения не работает.

В станке имеется ряд блокировок. При исчезновении или уменьшении давления поджима підшибників шпинделя шлифовального круга верстат отключается. При работе механізма правки блокируются електродвигатели Д1 і Д7 (см. рис. VII.20) і др.

На станке зона шлифования і правки изолирована от внешней среды соответствующим ограждением.

Для засасывания паров масла, частиниц охлаждающей жидкости і абразивной пыли применены сетчатые фильтры. Начиная з модуля m = = 1 мм рекомендуется ставить на верстат абразивные червяки з предварительно нарезанной винтовой ниткой. Чем меньше модуль шлифуемого зубчатого колеса, тем мельче должна быть зернистость абразива і тем выше твердость инструмента. Для предварительного шлифования применяют абразивные червяки з более крупной зернистостью і меньшей твердостью, так как они более производительны.

Для шлифования зубчатых колес з модулем т < 2 мм производят статическую балансировку круга. Для получения точного профиля зуба при шлифовании колес з т > 2 мм необходимо производить динамическую балансировку абразивного круга.

Профиль винтовой нитки абразивного червяка контролируется микроскопом, который крепится в специальном приспособлении і устанавливается на салазках механізма правки. Микроскоп используется также для более точного уравнивания зазоров в ланцюги правки.

Температура в помещении, где установлен для роботи напівавтомат 5А832, должна постоянно поддерживаться в пределах 18..20° С.




5А832 Верстат зубошлифовальный універсальний напівавтомат. Відеоролик.




Технічні характеристики зубошлифовального верстата 5А832

Наименование параметра 5В833 5А841 5М841
Основні параметри верстата
Диаметр устанавливаемого вироби, мм 40..320 30..320 30..320
Наименьший диаметр окружности впадин, мм 30
Модуль устанавливаемого вироби, мм 0,5..4 1,8..8 1,5..8
Число зубъев устанавливаемого вироби, мм 12..200 10..200 10..200
Наибольшая ширина зубчатого прямозубого венца устанавливаемого вироби, мм 150 150 160
Расстояние между центрами суппорта обрабатываемого вироби, мм 215..335 175..400
Расстояние от оси круга до линии центров, мм 195..420
Наибольший угол наклона зубъев, мм ±45 ±45 ±45
Точность обробки, DIN 4..5
Наибольшая масса устанавливаемого вироби, кг 200 200
Бабка шлифовальная (шпиндельна)
Диаметр шлифовального круга (абразивного червяка), мм 330..400 260..350 260..350
Ширина шлифовального круга (абразивного червяка), мм 63; 80 16..32 13..32
Диаметр посадочного отверстия шлифовального круга (абразивного червяка), мм 203 127
Диаметр кінця шлифовального шпинделя, мм 50
Число оборотів шлифовального круга, 1/мин 1920 1920
Вертикальное перемещение шлифовального шпинделя, мм 180
Суппорт вироби
Диаметр стола, мм 280 280
Ход стола, мм 180 30..165
Подача обката, мм/мин 6..800
Конус шпинделя вироби, мм Морзе 3
Конус верхней бабки, мм Морзе 3
Ручное перемещение стойки вдоль оси шлифовального шпинделя, мм 120
Ползун
Длина ходу, мм 20..160
Число двойных ходов ползуна в минуту (бесступенчатое регулювання) 50..280
Ролик опорный
Наибольшая величина зоны перестановки, мм 405
Перемещение опорного ролика на одно деление лимба перестановки, мм 0,002
Перемещение опорного ролика на один оборот лимба перестановки, мм 0,02
Перемещение опорного ролика на один оборот лимба распределения припуска, мм 0,16
Цена деления шкалы нониуса зоны перестановки, мм 0,002
Цена деления шкалы лимба распределения припуска, мм 0,005
Механізм правки
Количество алмазов 3
Диапазон компенсации износа шлифовального круга при правке, мм 0..45
Автоматическая прерывная радиальная подача механізма правки, мм 0,01..2
Привід і електрообладнання верстата
Количество електродвигателей на станке 8 8
Електродвигун головного приводу - шлифовального шпинделя, кВт 4,0 1,1 1,5
Електродвигун насоса гідравлики, кВт 1,1 2,2 2,2
Електродвигун вентилятора масляного теплообменника, кВт 0,27
Електродвигун приводу механізма подачі, кВт 0,18 0,18
Електродвигун насоса охлаждения, кВт 0,15 0,15
Електродвигун магнитного сепаратора, кВт 0,5 0,18 0,18
Електродвигун приводу ползуна (вертикальной подачі), кВт 1,1 1,9
Електродвигун редуктора поворота ползуна, кВт 1,1
Електродвигун пылесоса, кВт 0,27
Електродвигун системы змазки, кВт 0,08; 0,27
Суммарная мощность електродвигателей, кВт 7,08 6,6
Габаритные розміри і масса верстата
Габаритные розміри верстата (длина х ширина х высота), мм 2400 х 2500 х 2040 2850 х 2315 х 2635 2850 х 2315 х 2085
Масса верстата з електрообладнанням і охолодженням, кг 7000 8000 8000

    Список литературы по зубообработке

  1. Ачеркан Н.С. Металлорежущие верстати, Том 1, 1965.
  2. Гальперин Е.И. Наладка зуборезных верстатів, 1960.
  3. Козлов Д.Н. Зуборезные роботи, 1971.
  4. Кучер А.М., Киватицкий М.М., Покровский А.А., Металлорежущие верстати (Альбом общих видов, кинематических схем і вузлів), 1972.
  5. Лоскутов В.В., Ничков А.Г. Зубообрабатывающие верстати, 1978.
  6. Малахов Я.А. Зубообрабатывающие і резьбофрезерные верстати і их наладка, 1972.
  7. Мильштейн М.З. Нарезание зубчатых колес, 1972.
  8. Овумян Г.Г., Адам А.И. Справочник зубореза, 1983.
  9. Птицин Г.А., Кокичев В.Н. Зуборезные верстати, 1957.
  10. Шавлюга Н.И. Расчет і примеры наладок зубофрезерных і зубодолбежных верстатів, 1978.
  11. Руководящий материал для конструкторов, проектирующих технологическую оснастку. Основні данные і посадочные места металлорежущих верстатів. НИИМАШ, 1968.









Заказать

Кто владеет информацией - тот владеет миром.

Натан Ротшильд