metalinstryment.com
Довідник по металорізальних верстатів та пресовому обладнанні

Фартук 16Б16П.062 для токарно-гвинторізного верстата 16Б16
схеми, опис, характеристики

Фартук 16Б16П.062 для токарно-гвинторізного верстата 16Б16







Відомості про виробника фартука 16Б16П.062

Производитель фартука моделі 16Б16П.062 - Гомельский завод станочных вузлів ГЗСУ, основанный в 1961 году.





Продукция Гомельского завода станочных вузлів ГЗСУ


Фартук 16Б16П.062.000СБ для токарно-гвинторізного верстата. Назначение, область применения

Фартук 16Б16П.062 - унифицированный узел предназначенный для преобразования вращательного руху ходового гвинта і ходового вала в продольное перемещение каретки і поперечное перемещение суппорта, а также для ручного керування етими переміщеннями в процессе роботи токарно-гвинторізного верстата (увімкнення і вимкнення рабочих і ускоренных перемещений каретки і суппорта, реверсирование перемещений і т.д.).

Унифицированный фартук 16Б16П.062 позволяет осуществлять работу по упору з автоматическим отключением подачі.

Принцип роботи і особливості конструкції фартука 16Б16П.062

Фартук 067 имеет встроенный електродвигатель ускоренного переремещения.

Кинематика фартука 16Б16П.062 включает четыре пары кулачковых муфт, позволяющих осуществить прямой і обратный ходы каретки і суппорта.

Направление переміщення каретки і суппорта совпадает з направлением увімкнення мнемонической рукоятки, расположенной на фартуке. Увімкнення быстрых перемещений во всех четырех направлениях осуществляется дополнительным нажатием кнопки, встроенной в ту же рукоятку. При нажатии кнопки включается електродвигатель быстрых перемещений, который через клиноременную передачу сообщает рух ходовому валу. В корпусе фартука смонтирована маточная гайка, включаемая рукояткой при нарезании резьб.

Оригинальная конструкция механізма виключення подач дает возможность роботи по жесткому упору ограничения продольного переміщення каретки, снабженному винтом тонкой регулировки. Точность виключення по упору на станке — 0,05 мм.

В фартуке 16Б16П.062 предусмотрены блокировки, предохраняющие от одновременного увімкнення ходового гвинта і ходового вала, а также от одновременного увімкнення поздовжньої і поперечної подач.

Регулювання зусилля, развиваемого механізмом подач, производится поворотом гайки. Величина зусилля определяется динамометром, который необходимо установить между жестким упором і кареткой. Следует следить за тем, чтобы величина зусилля не превышала допустимую.

Фартук універсального токарно-гвинторізного верстата 16Б16 - унифицированный узел 16Б16П.062 і расположен в корпусе, привернутом к каретке суппорта.

Фартук преобразует вращательное рух ходового гвинта или ходового валика в поступательное продольное перемещение каретки суппорта. Рух от ходового валика используется также для механического переміщення поперечных салазок і верхних салазок.

Ходовой винт получает вращение в коробке подач і используется при нарезании різьби. Вращательное рух ходового гвинта преобразовывается в поступательное рух суппорта з помощью разъемной (маточной) гайки. Тип нарезаемой різьби (метрическая, дюймовая, модульна, питчевая) і її шаг определяется взаємодія шестерен шпиндельной бабки, гітари і коробки подач.

Ходовой вал также получает вращение от коробки подач і используется при выполнении всех остальных токарных работ. Вращательное рух ходового вала преобразовывается в поступательное рух суппорта (рух подачі) з помощью червяка на скользящей шпонке і зубчатой рейки, закрепленной на станине, і сцепленной з ней зубчатого колеса. Скорость переміщення определяется в милиметрах на один оборот шпинделя (мм/об).

Входит в комплект і стоимость верстата:


Основні вузли фартука токарно-гвинторізного верстата 16к20

Основні вузли фартука токарно-гвинторізного верстата


Модифікації коробок подач для токарно-винторезных верстатів типа 16К20

Модифікації коробок подач для токарно-винторезных верстатів типа 16Б16, ИТ-1М


Основні технические характеристики фартука 16Б16П.062





Загальний вигляд фартука 16Б16П.062

Схема фартука 16Б16П.062

Схема фартука 16Б16П.062



Фото фартука 16Б16П.062

Фото фартука 16Б16П.062



Фото фартука 16Б16П.062

Фото фартука 16Б16П.062

Фото фартука 16Б16П.062. Скачать в увеличенном масштабе



Фото фартука 16Б16П.062

Фото фартука 16Б16П.062

Фото фартука 16Б16П.062. Скачать в увеличенном масштабе



Загальний вигляд фартука 067.0000.000

Фото фартука 067.0000.000 з механизированным приводом резцовых салазок

Фото фартука 067.0000.000 з механизированным приводом резцовых салазок

Фото фартука 067.0000.000 з механизированным приводом резцовых салазок. Скачать в увеличенном масштабе



Кінематична схема фартука 16Б16П.062

Кінематична схема фартука 16Б16П.062

Кінематична схема фартука 16Б16П.062

Кінематична схема фартука 16Б16П.062. Скачать в увеличенном масштабе





Фартук 16Б16П.062 токарно-гвинторізного верстата 16Б16П

16Б16П Верстат токарно-гвинторізний. Креслення Фартука

Креслення фартуха токарного верстата 16Б16П.062

1. Фартук токарно-гвинторізного верстата 16Б16П. Развертка. Скачать в увеличенном масштабе



16Б16П Верстат токарно-гвинторізний. Креслення Фартука

Креслення фартуха токарного верстата 16Б16П.062

1. Фартук токарно-гвинторізного верстата 16Б16П. Развертка. Скачать в увеличенном масштабе



16Б16П Верстат токарно-гвинторізний. Креслення Фартука

Креслення фартуха токарного верстата 16Б16П.062

1. Фартук токарно-гвинторізного верстата 16Б16П. Развертка. Скачать в увеличенном масштабе



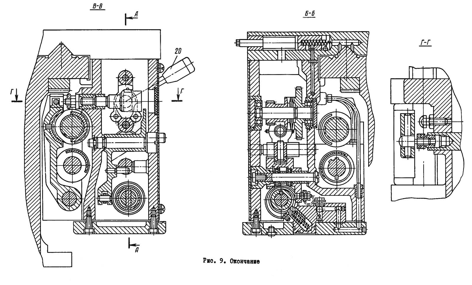
Конструкція механізма фартука 16Б16П.062 токарно-гвинторізного верстата 16Б16П

Фартук имеет четыре пары кулачковых муфт I (рис.9), 2, 3, 4, которые позволяют осуществлять прямой і обратный ходы каретки і суппорта.

Керування переміщеннями каретки і нижней частини суппорта осуществляется рукояткой 19. Направление увімкнення рукоятки совпадает з направлением переміщення каретки і суппорта.

Увімкнення быстрых перемещений суппорта в указанных четырех направлениях осуществляется дополнительным нажатием кнопки 18, встроенной в рукоятку 19.

При етом включается електродвигатель быстрых ходов, который через клиноременную передачу сообщает рух ходовому валу.

Величина переміщення фартука з помощью маховика отсчитывается по лимбу і нониусу з ценой деления, соответственно, 1 і 0,1 мм.

Фартук имеет блокирующее пристрій, препятствующее одновременному включению поздовжньої і поперечної подач суппорта і маточной гайки верстата.

В фартук встроен предохранительный механізм от перегрузки верстата, отрегулированный на максимальную величину зусилля отключения фартука (6000±500) Н.

При работе по упорам усилие отключения фартука можно снизить до необходимой величины гайкой 6 і ослаблением пружины 7.

Предохранительный механізм работает следующим образом.

При встрече каретки з упором или при перегрузке и, следовательно, остановке червячного зубчатого колеса 14, червяк 13, продолжая вращаться, вывертывается і через сухарь 12, толкатель 11, упорный подшипник 10, сжимая пружину 7, толкает стакан 9 вправо.

Защелка 8, западая в прорезь стакана 9, препятствует возвращению червяка в исходное положение.

При дальнейшем вращении червяка происходит смещение муфты 15 вправо под воздействием пружины 15, мелкозубая часть муфты 15 выходит из зацепления з муфтой 17. Червяк 13 прекращает вращаться.

Чтобы включить фартук, необходимо освободить стакан 9, подняв защелку 8.

Пружина 7 включит расцепленные зубчасті муфты 15, 17 і червяк 13.

Для нарізання різьби необходимо рукоятку 19 установить в нейтральное положение і рукояткой 20 включить маточную гайку. При етом реечную шестерни следует вывести из зацепления, вытянув кнопку 5 на себя.

Смазка фартука, направляючих станины і каретки производится плунжерным насосом, встроенным в крышку фартука.


Суппорт представлен на рис.10

Резцедержатель з помощью суппорта може перемещаться вдоль і поперек станины от механического приводу на рабочей подаче і ускоренно, а также от руки.

Каретка і поперечная ползушка суппорта имеют ограничения ходу в обе стороны. При перемещении суппорта до упора срабатывает механізм отключения фартука.

При необходимости каретка суппорта (рис. II) з помощью гвинта 18 (см. рис.3) може быть закреплена в любом месте станины.

Регулювання механізма фартука верстата 16Б16П.062






Фартук 16Б16П.062. Відеоролик.










Заказать

Кто владеет информацией - тот владеет миром.

Натан Ротшильд