Виробник настільного токарного верстата ТМС 0190 (0156) - Ульянівський завод важких та унікальних верстатів УЗТЗ .
Верстат ТМС 0156 відповідає ТУ2.0221815.108-87. Артикул 59-158р. Прейскуранти 098-01/335. Ціна 560 руб.
Токарний верстат ТМС 0156 є настільним токарним верстатом і призначається для всіляких токарних робіт у тому числі:
Традиційне наочне компонування верстата ТМС 0156 у поєднанні з відпрацьованою кінематичною схемою дозволяє впевнено забезпечити токарну обробку з класом точності Н протягом тривалого терміну експлуатації.
У порівнянні з пропонованими на ринку малогабаритними верстатами - Верстат ТМС 0156 простий в експлуатації, надійний та довговічний.
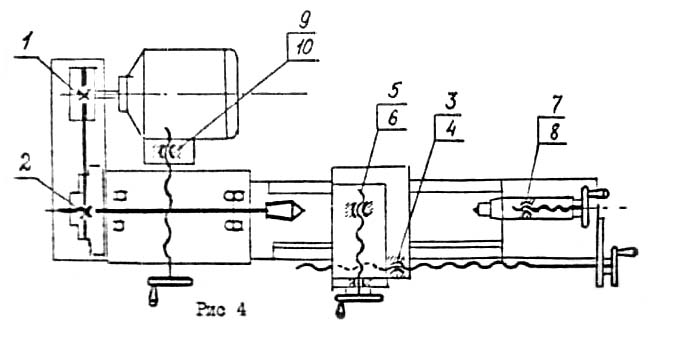
За допомогою рухомої різцетримки , змонтованої на каретці, можна обробляти конусні поверхні.
За допомогою задньої бабки можна проводити обробку виробів у центрах.
При цьому задню бабку встановлюють і фіксують з урахуванням довжини деталі, що обробляється. Один кінець деталі затискають в якомусь пристосуванні (трикулачковий патрон, повідковий патрон) встановленому на шпинделі, а другий кінець деталі підтискають центром (рухомим або НЕ рухомим).
Центр задньої бабки може також служити для підтискання інших пристроїв.

Загальний вигляд токарного верстата ТМС 0156

Фото токарного верстата ТМС 0156

Фото токарного верстата ТМС 0156

Фото токарного верстата ТМС 0156

Фото токарного верстата ТМС 0156

Розташування основних вузлів токарного верстата ТМС 0156

Розташування органів керування токарно-гвинторізним верстатом ТМС 0156

Кінематична схема токарного верстата ТМС 0156

Регулювання токарного верстата ТМС 0156
Для регулювання радіального зазору передньому підшипнику необхідно відвернути гвинти 2 і 7, зняти кришки 3 і 8, відігнути шайбу 4 і підтягнути гайку 5 так, щоб був відсутній осьовий люфт, а шпиндель плавно обертався без ривків і заїдань.
Складання вузла зробити у зворотній послідовності.

Електрична схема токарного верстата ТМС 0156
| Найменування параметру | TMS 0156 | ТН-1 |
|---|---|---|
| Основні параметри верстата | ||
| Клас точності | Н | Н |
| Найбільший діаметр заготовки, що встановлюється над станиною, мм | 125 | 150 |
| Найбільший діаметр заготовки, що обробляється над супортом, мм. | 63 | 90 |
| Висота центрів над плоскими напрямними станини, мм | 90 | 75 |
| Найбільша маса заготівлі, кг | 2 | |
| Найбільша довжина заготівлі, що обробляється в центрах (РМЦ), мм | 285 | 350 |
| Найбільша діаметр заготовки, що обробляється в патроні, мм | 70 | |
| Найбільша діаметр свердління по сталі, мм | 6 | |
| Шпиндель | ||
| Діаметр наскрізного отвору в шпинделі, мм | 11 | 15 |
| Діаметр патрона, мм | 100 | |
| Приєднання патрона до шпинделя. Кінець шпинделя | M27x2 | |
| Конус Морзе шпинделя | Морзе 2 | Морзе 2 |
| Число ступенів частот прямого обертання шпинделя | 3 | 9 |
| Частота прямого обертання шпинделя, об/хв | 500, 800, 1250 | 200, 271, 525, 650, 1000, 1200, 1700, 2800, 3200 |
| Число ступенів частот зворотного обертання шпинделя | 3 | 9 |
| Найбільший крутний момент на шпинделі, Нм | 1,2 | |
| Гальмування шпинделя | немає | немає |
| Блокування рукояток | немає | немає |
| Супорт. Подання | ||
| Найбільше поздовжнє переміщення супорта, мм | 250 | 350 |
| Переміщення супорта поздовжнє на один поділ лімба, мм | 0,04 | 0,05 |
| Найбільше поперечне переміщення супорта, мм | 55 | 90 |
| Переміщення супорта поперечне на один поділ лімба, мм | 0,04 | 0,05 |
| Число ступенів поздовжніх подач супорта | - | 6 |
| Межі поздовжніх робочих подач супорту, мм/про | - | 0,05; 0,75; 0,1; 0,125; 0,150; 0,175 |
| Межі робочих поперечних подач супорта, мм/про | немає | немає |
| Кількість нарізних різьблень метричних | - | 18 |
| Межі кроків різьб метричних, що нарізаються, мм | - | 0,2..2,5 |
| Межі кроків різьблення дюймових | немає | немає |
| Межі кроків різьблення модульних | немає | немає |
| Межі кроків різьблення питних | немає | немає |
| Висота різця, мм | 8 | 8 |
| Рухома різцетримка | ||
| Найбільше переміщення верхніх (різцевих) санчат, мм | ||
| Переміщення різцевих санок на один поділ лімба, мм | 0,05 | |
| Кут повороту різцевих санчат, град | ±90° | |
| Задня бабка | ||
| Конус Морзе пінолі | Морзе 1 | Морзе 2 |
| Найбільше переміщення пінолі, мм | 35 | 30 |
| Електроустаткування. Привід | ||
| Параметри мережі живлення | 220 В, 50 Гц | 220 В, 50 Гц |
| Електродвигун головного приводу, кВт | 0,25 | 0,55 |
| Синхронна частота обертання електродвигуна головного приводу, об/хв | 1390 | 3000 |
| Габарити та маса верстата | ||
| Габарити верстата (довжина ширина висота), мм | 830 х 445 х 270 | 825 х 410 х 300 |
| Маса верстата, кг | 50 | 85 |