metalinstryment.com
Довідник по металорізальних верстатів та пресовому обладнанні

6560 Верстат фрезерный вертикальний з крестовым столом (бесконсольный)
руководство, схеми, опис, характеристики

6560 Загальний вигляд  бесконсольного фрезерного верстата з крестовым столом







Відомості про виробника фрезерного вертикального бесконсольного верстата 6560

Производитель фрезерного вертикального бесконсольного верстата 6560 - Ульяновский завод тяжелых і уникальных верстатів УЗТС, основанный в 1956 году.

Разработчик верстата 6560 — Ульяновское специальное конструкторское бюро тяжелых фрезерных верстатів ГСКБФС.





Верстати, выпускаемые Ульяновским заводом тяжелых і уникальных верстатів УЗТС


6560 Верстат фрезерный вертикальний з крестовым столом. Назначение, область применения

Вертикальный фрезерный верстат з крестовым столом 6560 предназначен для скоростного фрезерування крупногабаритных деталей в условиях индивидуального і серийного производства.

Бесконсольный фрезерный верстат 6560 бесконсольного типа предназначены для высокопроизводительного фрезерування деталей из чугуна, стали і цветных металлов торцовыми, кінцівыми і фасонными фрезами. На верстатах выполняется обработка не только сырых, но і закаленных деталей з применением современного инструмента з ножами из ельбора, сверхтвердых композиционных материалов из металлокерамики. На верстатах производится фрезерование, сверление, зенкерование, развертывание і растачивание.

Особливості конструкції фрезерного верстата 6560

Бесконсольный фрезерный верстат 6560 предназначен для высокопроизводительной обробки различных деталей из чугуна, стали і цветных металлов в условиях единичного і мелкосерийного производства.

Наряду з фрезерованием на станке можно выполнять сверлильные операции. Наклонные поверхности обрабатываются за счет поворота бабки.

Высокая жесткость вузлів верстата позволяет вести обработку з применением различных видов современного быстрорежущего і твердосплавного инструмента. На станке применен механізм автоматичного зажиму инструмента в шпинделе.

Направляющие перемещаемых вузлів верстата оснащены планками из антифрикционного сплава, что обеспечивает их долговечность і длительное сохранение первоначальной точності.

В станке 6560 предусмотрена возможность одновременного увімкнення трех движений (продольного, поперечного і вертикального) і изменение величины і направления подач в процессе обробки.

Технологические возможности верстата могут быть расширены за счет использования накладной (угловой) фрезерной головки і круглого стола.

Класс точності верстата Н.

Шероховатость обработанной поверхности V 6.

Для приводу подач применен тиристорный преобразователь. Верстат поставляется з електропроводкой со штепсельными разъемами.


Пристрій і робота фрезерного верстата 6560

Верстат фрезерный вертикальний з крестовым столом 6560 имеет наступні руху:

  1. Вращение шпинделя
  2. Продольная подача стола
  3. Поперечная подача стола
  4. Вертикальная подача шпиндельной бабки
  5. Быстрый продольный і поперечний ход стола
  6. Быстрое перемещение шпиндельной бабки
  7. Осевое перемещение пиноли шпинделя

Привід стола в продольном і поперечном направлениях і вертикальное перемещение шпиндельной бабки осуществляется от одного електродвигуна постоянного тока через коробку подач.

Вращение шпинделя осуществляется от асинхронного електродвигуна 13 кВт через 18-и ступенчатую коробку передач.

Фрезерный верстат 6560 може работать в 3-х режимах:

  1. Автоматический режим - робота верстата по программе
  2. Наладочный режим - режим для налаштування программы
  3. Універсальный режим - робота верстата без использования программы

Основні характеристики фрезерного вертикального верстата з крестовым столом 6560

Производитель: Ульяновский завод тяжелых і уникальных верстатів УЗТС.

Фрезерный верстат 6560 производился з 1974 года.





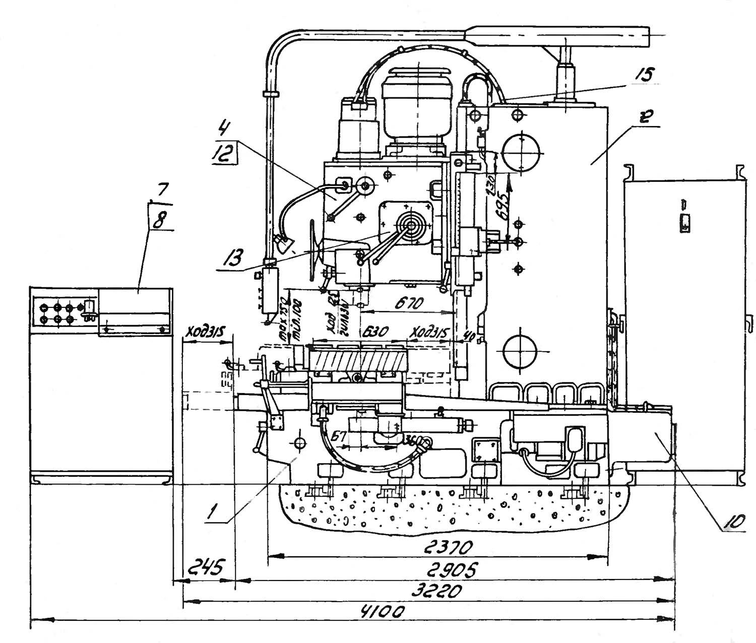
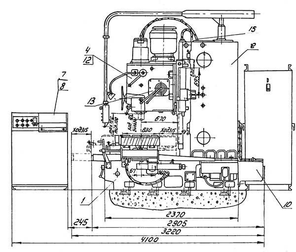
Габаритные розміри робочого простору фрезерного верстата 6560

6560 Габаритные розміри робочого простору бесконсольного фрезерного верстата з крестовым столом

Габаритные розміри робочого простору верстата 6560


Габаритные розміри робочого простору фрезерного верстата 6560

6560 Габаритные розміри робочого простору бесконсольного фрезерного верстата з крестовым столом

Габаритные розміри робочого простору верстата 6560


Габаритные розміри робочого простору фрезерного верстата 6560

6560 Габаритные розміри робочого простору бесконсольного фрезерного верстата з крестовым столом

Габаритные розміри робочого простору верстата 6560

Габаритные розміри робочого простору верстата 6560. Дивитись у збільшеному масштабі



Посадочные і присоединительные базы фрезерного верстата 6560

6560 Посадочные і присоединительные базы фрезерного верстата 6560

Посадочные і присоединительные базы фрезерного верстата 6560


Загальний вигляд вертикального бесконсольного фрезерного верстата 6560

6560 Загальний вигляд  бесконсольного фрезерного верстата з крестовым столом

Фото бесконсольного фрезерного верстата 6560


Розташування складових частин фрезерного верстата 6560

6560 Розташування складових частин фрезерного верстата 6560

Розташування складових частин фрезерного верстата 6560

Розташування складових частин фрезерного верстата 6А56. Дивитись у збільшеному масштабі


Розташування складових частин фрезерного верстата 6560

  1. Станина - 6560Ц.011.000
  2. Стойка - 6560Ц.012.000
  3. Стол, салазки стола - 6560Ц.021.000
  4. Бабка шпиндельна - 6560Ц.031.000
  5. Електроустаткування - 6560Ц.090.000
  6. Размещение електроустаткування на станке - 6560Ц.092.000
  7. Размещение електроустаткування в шкафу - 6560Ц.093.000
  8. Электрошкаф - 6560Ц.094.000
  9. Таблички - 6560Ц.100.000
  10. Коробка подач - 6560.511.000
  11. Механізм крепления инструмента - 6560.063.000
  12. Ограждение - 6560.072.000
  13. Механізм переключения швидкостей шпинделя - 6560.078.000
  14. Захист направляючих - 6560.079.000
  15. Подвод воздуха - 6560.083.000
  16. Охлаждение - 6560.085.000
  17. Станція змазки - 6560.086.000
  18. Пульт подвесной - 6560.91.000
  19. Подвеска пульта - 6560.94.000



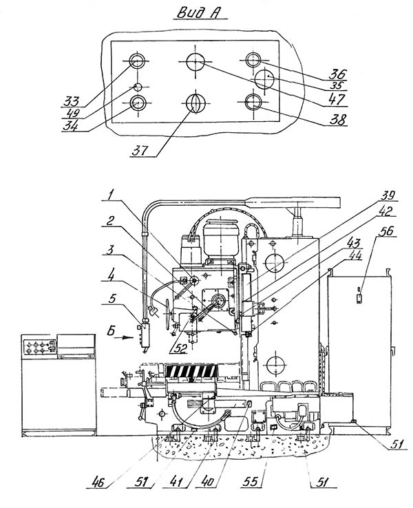
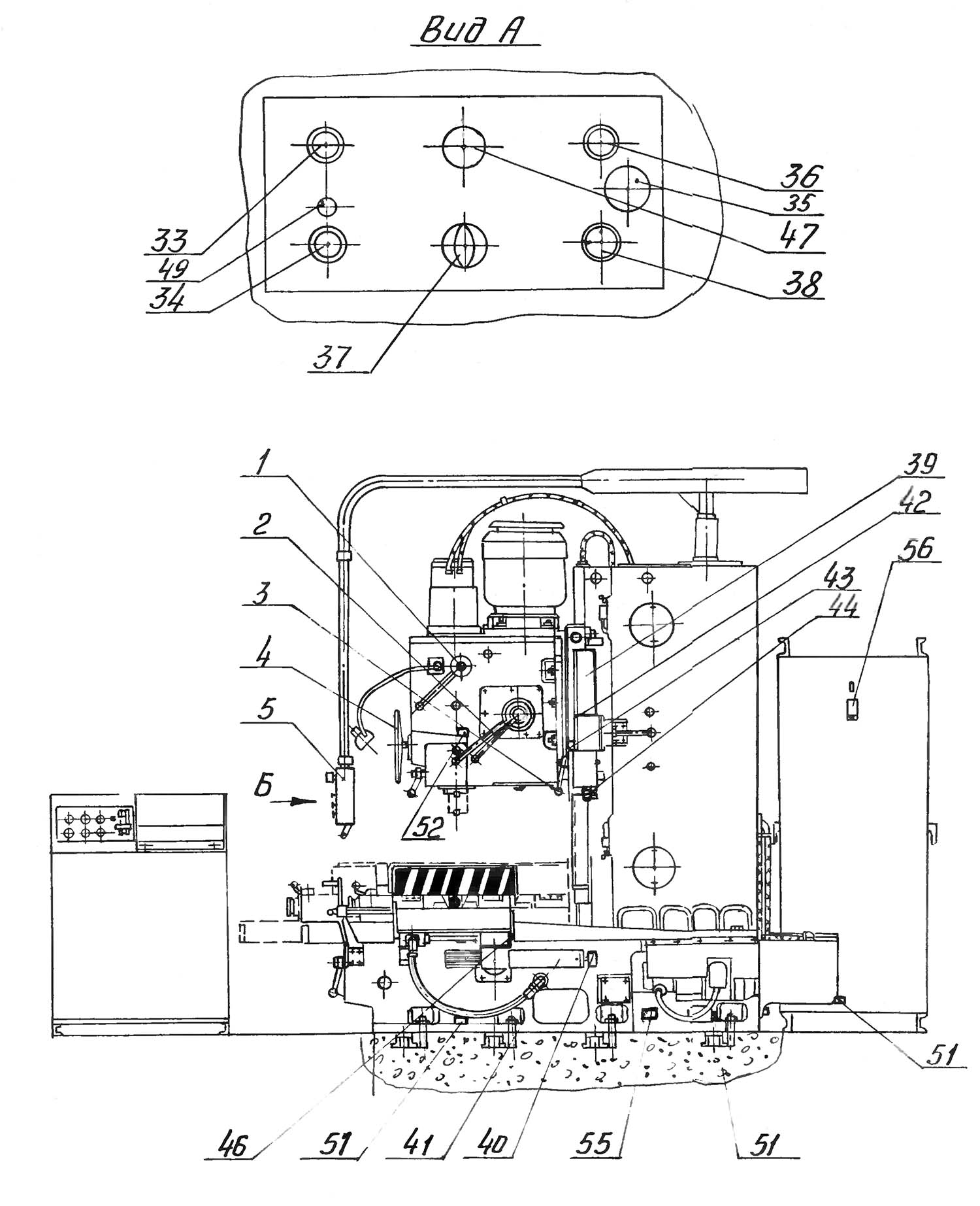
Розташування органів керування фрезерным верстатом 6560

6560 Органы керування фрезерным верстатом

Розташування органів керування фрезерным верстатом 6560

Розташування органів керування фрезерным верстатом 6560. Дивитись у збільшеному масштабі



6560 Органы керування фрезерным верстатом

Розташування органів керування фрезерным верстатом 6560

Розташування органів керування фрезерным верстатом 6560. Дивитись у збільшеному масштабі



Список органів керування фрезерным верстатом 6560

  1. Рукоятка перебора швидкостей
  2. Рукоятка переключения швидкостей
  3. Рукоятка зажиму бабки на направляючих стойки
  4. Маховик переміщення гильзы
  5. Пульт керування подвесной
  6. Рукоятка переключения поздовжньої подачі з механической на ручную
  7. Зажим стола на салазках
  8. Маховик продольного переміщення стола
  9. Рукоятка зажиму салазок стола
  10. Амперметр контроля нагруженности двигуна шпинделя
  11. Рукоятка переключения поперечної подачі з механической на ручную
  12. Рукоятка зажиму гильзы шпинделя
  13. Регулятор подач
  14. Ключ переміщення бабки "Вверх-Вниз"
  15. Ключ переміщення стола "Вправо-Влево"
  16. Ключ переміщення салазок стола "Вперед-Назад"
  17. Кнопка швидкого переміщення стола і бабки
  18. Кнопка пуска двигуная подач
  19. Кнопка пуска шпинделя
  20. Кнопка отключения двигуна подач
  21. Кнопка "Загальний Стоп"
  22. Кнопка "Шпиндель Стоп"
  23. Кран охлаждения
  24. Маховик поперечного переміщення стола
  25. Квадрат поворота шпиндельной бабки
  26. Кнопка "Проворот Шпинделя"
  27. Кнопка увімкнення двигуна насоса охлаждения
  28. Кнопка увімкнення освещения
  29. Тумблер переключения диапазонов подач
  30. Амперметр контроля нагруженности двигуна подач
  31. Переключатель механического зажиму инструмента
  32. Указатель отсчета переміщення бабки
  33. Кнопка поворота ленты на шаг
  34. Кнопка возврата ленты в исходное положение
  35. Кнопка "Загальний Стоп"
  36. Кнопка "Пуск программы"
  37. Переключатель режимов роботи верстата
  38. Кнопка "Стоп программы"
  39. Панель вертикального переміщення
  40. Винт переміщення панелі поперечного ходу
  41. Панель поперечного переміщення
  42. Линейка отсчета переміщення бабки
  43. Сигнальная лампа налаштування кулачков
  44. Винт переміщення панелі вертикального ходу
  45. Винт переміщення панелі продольного ходу
  46. Сигнальная лампа налаштування кулачков
  47. Сигнальная лампа "Вызов робочого" (окончание цикла)
  48. Панель продольного переміщення
  49. Сигнальная лампа "Исходное положение ленты"

6560 Пульт керування фрезерным верстатом

Пульт керування фрезерным верстатом 6560





Кінематична схема фрезерного верстата 6560

6560 Кінематична схема фрезерного верстата 6560

Кінематична схема фрезерного верстата 6560

Кінематична схема фрезерного верстата 6560. Дивитись у збільшеному масштабі



Схема електрична принципова фрезерного верстата 6560

Схема електрична принципова фрезерного верстата 6560

Електрична схема фрезерного верстата 6560

Схема електрична принципова фрезерного верстата 6560. Дивитись у збільшеному масштабі



Електроустаткування фрезерного верстата 6560


Настановне креслення бесконсольного фрезерного верстата 6560

6560 Настановне креслення бесконсольного фрезерного верстата

Настановне креслення бесконсольного фрезерного верстата 6560




Технічні характеристики бесконсольного фрезерного верстата 6560

Наименование параметра 654 6540 6550 6560
Основні параметри верстата
Розміри поверхности стола, мм 630 х 1600 400 х 1000 500 х 1250 630 х 1600
Расстояние от торца шпинделя до поверхности стола, мм 100..750 100..530 100..630 125..750
Расстояние от оси шпинделя до вертикальних направляючих (вылет), мм 640 430 530 670
Наибольшее перемещение стола в продольном направлении, мм 1250 800 1000 1250
Наибольшее перемещение стола в поперечном направлении, мм 600 400 500 630
Вертикальное перемещение бабки, мм 650 430 530 625
Наибольшая масса обрабатываемой детали, кг 2000 2000
Шпиндель. Бабка шпиндельна
Диаметр шпинделя по нижним підшипникам, мм 105 105
Частота обертання шпинделя, об/мин 25..1250 31,5..1600 31,5..1600 25..1250
Количество швидкостей шпинделя 18 18 18 18
Ход гильзы шпинделя 100 120 120 125
Скорость подачі бабки, мм/мин 4..480 4..800 4..800 3..500
Скорость установочного вертикального переміщення бабки, м/мин 0,8 0,8 0,8 0,8
Наибольший крутящий момент на шпинделе, кгс*м 214 17180 22900
Наибольшее усилие різання, допускаемое механізмом подачі бабки, кгс 1500 1100 1610 1500
Наибольший угол поворота шпиндельной бабки, град ±30° нет нет ±30°
Цена деления шкалы поворота шпиндельной бабки, мин 30 нет нет
Конус отверстия шпинделя Морзе 3 Морзе 3 Морзе 3 Морзе 3
Кінець шпинделя №3 ГОСТ 836-62 №3 ГОСТ 836-62 №3 ГОСТ 836-62 №3 ГОСТ 836-62
Рабочий стол
Цена деления лимба поперечного переміщення, мм 0,05 0,02 0,02
Цена деления лимба продольного переміщення, мм 0,05 0,02 0,02
Пределы продольных подач стола (б/с регулювання)(X), мм/мин 10..1200 10..2000 10..2000
Пределы поперечных подач стола (б/с регулювання) (Y), мм/мин 10..1200 10..2000 10..2000 10..1500
Скорость быстрых перемещений стола продольных і поперечных, м/мин 2,0 3,0 3,0 2,5
Наибольшее усилие різання, допускаемое механізмом подачі стола, продольное, кгс 2000 2600 3000 2000
Наибольшее усилие різання, допускаемое механізмом подачі стола, поперечное, кгс 2000 2700 3100 2000
Електроустаткування і привід верстата
Количество електродвигателей на станке 4 4 4 5
Електродвигун приводу головного руху, кВт 13 7,5 10 13
Електродвигун приводу постоянного тока приводов подач стола і бабки, кВт 4,5 2,2 2,2 4,1 х 2
Електродвигун насоса змазки, кВт 0,27 0,4 0,4 0,27
Електродвигун насоса охлаждения, кВт 0,12 0,12 0,12 0,12
Суммарная мощность установленных на станке електродвигателей, кВт 17,89
Габаритные розміри і масса верстата
Габаритные розміри (длина х ширина х высота), мм 3165 х 2890 х 3120 2507 х 2562 х 2785 2795 х 3200 х 2960 4190 х 3220 х 3120
Масса верстата, кг 11600 8000 12500 12000










Заказать

Кто владеет информацией - тот владеет миром.

Натан Ротшильд