metalinstryment.com
Довідник по металорізальних верстатів та пресовому обладнанні

6У612, 6У616 Верстат продольно-фрезерный двостоєчний
руководство, схеми, опис, характеристики

6У612 Загальний вигляд  продольно-фрезерного верстата







Відомості про виробника продольно-фрезерного верстата 6У612, 6У616

Производитель продольно-фрезерного верстата 6У612, 6У616 - Ульяновский завод тяжелых і уникальных верстатів УЗТС, основанный в 1956 году.





Верстати, выпускаемые Ульяновским заводом тяжелых і уникальных верстатів УЗТС


6У612 Верстат фрезерный продольный двостоєчний четырехшпиндельный. Назначение, область применения

Продольно-фрезерный четырехшпиндельный верстат 6У612 предназначен для фрезерування крупногабаритных деталей из чугуна, стали і цветных металлов методами фрезерування, сверления в единичном, мелкосерийном і серийном производстве.

Особливості конструкції фрезерного продольного верстата 6У612

Поворотные фрезерные бабки обеспечивают обработку наклонных плоскостей, а осевые подачі шпинделей позволяют вести фрезерование в труднодоступных местах, а также производить сверлильные роботи.

Раздельные приводы подач стола і фрезерных бабок дают возможность обрабатывать криволинейные контуры по разметке.

Оснащение направляючих стола і саней планками из антифрикционного сплава, а также применение системы змазки стола под давлением значительно повысило надежность і долговечность верстата.

В приводе стола имеется механізм автоматичного выбора зазору в паре червяк — рейка, обеспечивающий возможность еффективного попутного фрезерування.

Керування верстатами (включая регулювання подач стола, бабок і шпинделей, а также шкалы отсчетных устройств перемещений вузлів) сосредоточено на підвісному пульті.

Сокращение вспомогательного часу і повышение производительности верстатів достигается:

Электроприводы подач верстатів выполнены па тиристорных преобразователях.

Класс точності верстатів Н.


Габаритные розміри робочого простору продольного фрезерного верстата 6У612

6У612 Габаритные розміри робочого простору продольно-фрезерного верстата

Габаритные розміри робочого простору верстата 6У612

Габаритные розміри робочого простору верстата 6У612. Дивитись у збільшеному масштабі



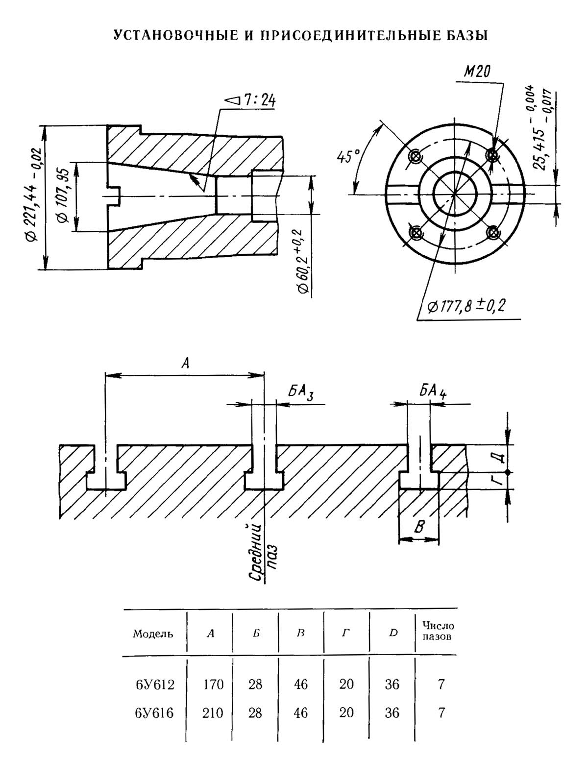
Посадочные і присоединительные базы фрезерного верстата 6У612

6У612 Посадочные і присоединительные базы фрезерного верстата 6У612

Посадочные і присоединительные базы фрезерного верстата 6У612

Посадочные і присоединительные базы фрезерного верстата 6У612. Дивитись у збільшеному масштабі



Загальний вигляд вертикального продольно-фрезерного верстата 6У612

6У612 Загальний вигляд  продольно-фрезерного верстата

Фото продольно-фрезерного верстата 6У612

Фото продольно-фрезерного верстата 6У612. Дивитись у збільшеному масштабі



6У612 Загальний вигляд  продольно-фрезерного верстата

Фото продольно-фрезерного верстата 6У612

Фото продольно-фрезерного верстата 6У612. Дивитись у збільшеному масштабі



6У612 Загальний вигляд  продольно-фрезерного верстата

Фото продольно-фрезерного верстата 6У612


Настановне креслення продольного фрезерного верстата 6У612

6У612 Настановне креслення фрезерного верстата 6У612

Настановне креслення фрезерного верстата 6У612

Настановне креслення фрезерного верстата 6У612. Дивитись у збільшеному масштабі





Технічні характеристики продольно-фрезерного верстата 6У612

Технічні характеристики продольно-фрезерного верстата 6У612

Технічні характеристики продольно-фрезерного верстата 6У612

Технічні характеристики продольно-фрезерного верстата 6У612. Дивитись у збільшеному масштабі



Технічні характеристики продольно-фрезерного верстата 6У612

Технічні характеристики продольно-фрезерного верстата 6У612

Технічні характеристики продольно-фрезерного верстата 6У612. Дивитись у збільшеному масштабі










Заказать

Кто владеет информацией - тот владеет миром.

Натан Ротшильд