metalinstryment.com
Довідник по металорізальних верстатів та пресовому обладнанні

П6326Б Пресс гідравлический одностоєчний правильно запрессовочный
схеми, опис, характеристики

П6326 Фото гідравлічного пресса одностоечного







Відомості про виробника пресса гідравлічного одностоечного П6326Б

Производителем пресса П6326Б является Оренбургский завод гідравлических прессов Гідропресс, основанный в 1953 году.

Первый гідравлический пресс для переработки пластмасс ПА-474 был принят государственной комиссией 23 сентября 1953 года, етот день прессостроители і считают днем рождения завода «Гідропресс».

В настоящее время однокривошипный пресс П6326Б производит ПАО «Кувандыкский завод кузнечно-прессового оборудования «Долина» г. Кувандык

В настоящее время пресс П6326Б производит, также, ООО СО "Прессмаш", г. Москва





Верстати, выпускаемые Оренбургским заводом гідравлических прессов ГідроПресс

П6326Б Пресс гідравлический одностоєчний правильно запрессовочный усилием 40 тн (400 кН). Назначение, область применения

Пресс гідравлический одностоєчний без гідроподушки П6326Б предназначен для выполнения широкого круга работ: запрессовки - выпрессовки, прошивки, калибровки, правки (рихтовки), листовой штамповки без глубокой вытяжки, а при наличии правильной оснастки - для правки деталей различного профиля.

Гідравлический пресс одностоєчний універсальний моделі П6326Б, усилием 400кН предназначен для выполнения следующих операций:

Прессы П6326Б могут применяться как в производственных, так і в ремонтных подразделениях і мастерских.

Прессы гідравлические П6326Б, П6326 не предназначены для выполнения разделительных операций типа вырубки, обрезки, а так же для горячештамповочных работ.

Прессы П6326Б, кроме того, имеют возможность встройки в автоматическую линию или комплекс. По особому заказу все прессы могут оснащаться правильным столом і оснасткой, а прессы ПБ6330-02 і ПБ6334-02 - механізмом точной правки.


Особливості конструкції. Все вузли прессов установлены на С-образной станине сваренной из листового проката. В верхней консоли закреплен рабочий цилиндр. К нижнему торцу штока цилиндра крепится ползун, з левой стороны пресса — конечные выключатели, з правой — електрошкаф з кнопочной панелью керування і манометры. На нижней консоли устанавливается стол для крепления инструмента или правильного стола, на который може быть установлено пристрій для правки. На передньої частини нижней консоли пресса расположены пульты керування. Для ручного керування предусмотрена рукоятка.

Привід пресса индивидуальный гідравлический, расположен внутри гідробака, установленного на станине.

Цилиндр - поршневого типа крепится в верхней частини станины. В отверстие штока цилиндра установлен рабочий инструмент.

Електросхема имеет блокировку, осуществляющую немедленное відключення вводного автомата при открывании дверцы електрошафи.

Рабочие органы цилиндра, насосов і гідроапаратури постоянно смазываются рабочей жидкостью — маслом — і не требуют специальной змазки. Оси рычагов керування смазываются пресс-масленками.

Особо опасная зона прессов имеет защитное ограждение і оборудована аварийными фотоелементами.

Режими роботи:

Керування прессом осуществляется:

Смазка комбинированная.

Конструкція прессов позволяет встраивать их в автоматические линии.

Климатическое виконання:

По отдельной заявке потребителя пресс комплектуется правильным столом і оснасткой для производства правки.

Разработчик — оренбургский завод гідравлических прессов «Гідропресс» (головной).


Загальний вигляд пресса гідравлічного одностоечного правильно запрессовочного П6326Б

Фото пресса гідравлічного одностоечного правильно запрессовочного П6326Б

Фото пресса гідравлічного одностоечного правильно запрессовочного П6326Б



Фото пресса гідравлічного одностоечного правильно запрессовочного П6326Б

Фото пресса гідравлічного одностоечного правильно запрессовочного П6326Б

Фото пресса гідравлічного одностоечного правильно запрессовочного П6326Б. Дивитись у збільшеному масштабі



П6326 Загальний вигляд гідропресса

Фото пресса гідравлічного одностоечного правильно запрессовочного П6326Б


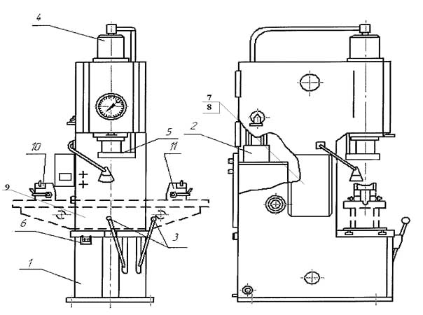
Основні вузли пресса гідравлічного одностоечного правильно запрессовочного П6326Б

Основні вузли пресса гідравлічного одностоечного правильно запрессовочного П6326Б

Основні вузли пресса гідравлічного одностоечного правильно запрессовочного П6326Б



  1. Станина
  2. Гідропривід
  3. Керування
  4. Цилиндр
  5. Ползун
  6. Електроустаткування
  7. Панель
  8. Электрошкаф
  9. Инструмент правильный
  10. Опора левая
  11. Опора правая

Комплект поставки пресса гідравлічного П6326Б

  • Системы керування прессом П6326Б, П6326
  • Схема рычажного керування прессом П6326Б
  • Схема рычажного керування прессом П6326Б

  • Кінематична схема пресса гідравлічного одностоечного правильно запрессовочного П6326Б

    Кінематична схема пресса гідравлічного одностоечного правильно запрессовочного П6326Б

    Кінематична схема пресса правильно запрессовочного П6326Б

    С целью обеспечения безопасности роботи на прессах П6326Б і П6326 керування выполнено двуручным. Для осуществления ходу штока вниз необходимо одновременно нажать на рукоятки 1, которые через коромысло 2, рычаг 4, ось обертання 3, тягу 5 і рычаг 6 опустят золотник 10 гідрораспределителя вниз. При прекращении воздействия на рукоятки выше перечисленная система подвижных звеньев под воздействием пружины 7, усилие которой регулируется винтом 8, установит золотник в верхнее крайнее положение, что обеспечит ход штока вверх до тех пор, пока нижний кулачок 11 через толкатель 13, рычаг 6, тягу 5 і рычаг 4 не установит золотник в нейтральное положение. Верхний кулачок 9, установленный как і нижний на штанге 12, служит для ограничения ходу штока вниз. Устанавливая кулачки в том или ином положении по длине штанги, можно получить необходимый (ограниченный) ход штока.

    При воздействии на одну из рукояток ходу штока не произойдет, так как коромысло 2, получая вращение только вокруг оси рычага 4, лишено возможности повернуться вокруг оси 3 і воздействовать на золотник гідрораспределителя. Усилие і скорость переміщення штока достигаются соответствующим положением рукояток керування прессом П6326Б, П6326.


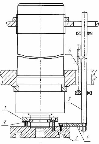
    Станина пресса гідравлічного одностоечного правильно запрессовочного П6326Б

    Станина пресса гідравлічного одностоечного правильно запрессовочного пресса П6326Б

    Станина пресса правильно запрессовочного П6326Б

    Станина сварная из листового проката, С-образной формы. В верхней консоли имеется опорная плита 1 і верхняя плита 2 для установки робочого цилиндра. В плиту 1 запрессована направляющая втулка 3.


    Цилиндр гідравлічного одностоечного правильно запрессовочного пресса П6326Б

    Цилиндр гідравлічного одностоечного правильно запрессовочного пресса П6326Б

    Цилиндр правильно запрессовочного пресса П6326Б

    Цилиндр – поршневого типа, закреплен при помощи разрезного кольца 1 і гайки 2 в верхней консоли станины. Уплотнение поршня 3 з цилиндром осуществляется поршневыми манжетами 4, штока з цилиндром - манжетами 5, установленными в направляющей втулке 6, крышки з цилиндром - резиновым кольцом 7.


    Ползун гідравлічного одностоечного правильно запрессовочного пресса П6326Б

    Ползун гідравлічного одностоечного правильно запрессовочного пресса П6326Б

    Ползун правильно запрессовочного пресса П6326Б

    Ползун через фланец 1 і разрезное кольцо 2 посредством винтов 3 соединяется со штоком цилиндра. На ползуне имеется 3 резьбовых отверстия для планки 4, соединяющей ползун со штангой 5.

    Гідросхема гідравлічного одностоечного правильно запрессовочного пресса П6326Б

    Гідросхема гідравлічного одностоечного правильно запрессовочного пресса П6326Б

    Гідросхема правильно запрессовочного пресса П6326Б


    В состав гідросистемы входит гідроагрегат серии П63В. Его гідравлічна схема вместе з рычажной системой ручного керування пресса П6326Б полностью обеспечивает выполнение всех позиций робочого цикла, пресса П6326Б, возможность регулювання швидкостей холостого, возвратного і робочого ходов, четкий останов ползуна пресса П6326Б в любом положении по ходу, плавный набор і безударный сброс давления.

    Нажатием кнопки «Пуск» включается електродвигатель насосной установки. В исходном положении ползун находится в крайнем верхнем положении. Рабочая жидкость из маслобака насосом подается в распределитель, соединяющий в нейтральном положении, штоковую і безштоковую полости робочого гідроцилиндра і насосную магистраль через фильтр со сливом.

    Быстрый ход ползуна вниз осуществляется переміщенням рукоятки керування в нижнее положение. При етом золотник распределителя і плунжер дросселя также перемещаются вниз. Рабочая жидкость от радиально-плунжерного насоса поступает в бесштоковую полость робочого гідроцилиндра. Штоковая полость гідроцилиндра при етом распределителем через фильтр соединена со сливом. Ползун пресса П6326Б быстро перемещается вниз.

    Регулювання скорости переміщення ползуна осуществляется рукояткой керування і определяется степенью переміщення золотника распределителя. При соприкосновении ползуна з обрабатываемой деталью появляется і возрастает технологическая нагрузка.

    Соответственно растет давление в бесштоковой полости і насосной магистрали. Плавность набора і сброса давления регулируется дросселем, установленным в линии керування предохранительного клапана.

    Для обеспечения возвратного ходу рукоятку керування перемещают вверх.

    При етом положении дросселя і золотник распределителя перемещается через нейтральное положение вверх. Разгрузка бесштоковой полости робочого гідроцилиндра і гідросистемы от давления осуществляется предохранительным клапаном, з помощью дросселя, установленного в линии керування етого клапана.

    После снижения давления гідравлическое блокировочное пристрій распределителя расфиксирует золотник распределителя, обеспечивая возможность переключения золотника в верхнее положение. При етом рабочая жидкость от обоих насосов поступает в штоковую полость робочого гідроцилиндра.

    В крайнем верхнем положении ползуна система керування пресса П6326Б механически выводит золотник распределителя і плунжер дросселя в нейтральное положение. Клапан закрывается.

    Смазочная система пресса гідравлічного П6326Б

    Исполнительные механізмы пресса П6326Б, гідроаппараты необходимо в постоянном режиме смазывать маслом, которое одновременно служит рабочей жидкостью.

    Підшипники електродвигуна смазываются солидолом «С» по ГОСТ 4366-76 один раз в год.

    Перед заменой змазки підшипники должны быть предварительно промыты. Камеры підшибників следует заполнять смазкой на 2/3 их объема.

    С периодичностью 1 раз в смену поверхность штанги і толкателя следует смазывать маслом.


    Пресс гідравлический. Загальні відомості

    Гідравлический пресс — ето гідравлічна машина, предназначенная для создания больших сжимающих усилий. Ранее назывался «пресс Брама», так как изобретён і запатентован Джозефом Брама в 1795 году.

    Гідравлический пресс состоит из двух сообщающихся гідравлических цилиндров (с поршнями) разного диаметра. Цилиндр заполняется гідравлической жидкостью, водой, маслом или другой подходящей жидкостью.

    Гідравлические прессы в отличие от молотов деформируют металл при малых скоростях руху робочого инструмента — до 30 см/с. Эта скорость в начале деформирования заготовки равна нулю.

    Основная робота совершается гідропрессами давлением рабочей жидкости (воды, емульсии, масла), создаваемым в рабочих цилиндрах. Чем выше ето давление і чем больше площадь рабочих цилиндров, тем значительнее усилие, развиваемое прессом. В настоящее время в гідравлических прессах создаются давления до 100 МПа (1000 ат). Усилие наиболее крупных гідравлических прессов доходит до 740 МН (75 000 тс).


    Обозначение гідравлических прессов

    Значения первых двух цифр в обозначениях гідравлических прессов:

    За двумя первыми цифрами следуют еще две цифры, обозначающие номинальное усилие пресса, а затем буква, которая показывает его модификацию в группе прессов данного вида.


    Значения основного параметра в обозначениях прессов:

    Таблиця 1. Обозначение основного параметра пресса

    Обозн. пресса Усилие пресса, кН Обозн. пресса Усилие пресса, кН Обозн. пресса Усилие пресса, кН Обозн. пресса Усилие пресса, кН
    14 25 кН 20 100 кН 30 1000 кН 40 10000 кН
    15 31,5 кН 21 125 кН 31 1250 кН 41 12500 кН
    16 40 кН 22 160 кН 32 1600 кН 42 16000 кН
    18 63 кН 23 200 кН 33 2000 кН 43 20000 кН
    24 250 кН 34 2500 кН 44 25000 кН
    25 315 кН 35 3150 кН 45 31500 кН
    26 400 кН 36 4000 кН 46 40000 кН
    28 630 кН 38 6300 кН 48 63000 кН

    Пример обозначения гідравлических прессов:




    П6326 Пресс гідравлический. Відеоролик.




    Технічні характеристики пресса П6326

    Наименование параметра П6320 П6324 П6326 П6328
    Основні параметри
    Номинальное усилие пресса, кН (т) 100 (10) 250 (25) 400 (40) 630 (63)
    Наибольший ход штока (ползуна), мм 400 500 500 500
    Наибольшее расстояние между столом і штоком - открытая высота пресса, мм 600 710 710 710
    Наибольшее расстояние между столом і штоком - открытая высота пресса в правильном виконанні, мм 420
    Расстояние от оси штока до станины (вылет), мм 200 250 320
    Скорость штока - рабочий ход, мм/сек 20 24 10
    Скорость штока - холостой ход, мм/сек 125 125 220
    Скорость штока - возвратный ход, мм/сек 300 300 310
    Розміри стола, мм 500 х 380 х 57 630 х 480 710 х 560
    Розміри проема в столе, мм 125 160
    Розміри съемного правильного стола, мм 1250 х 300 х 180 1600 х 360 х 250 1600 х 360
    Масса съемного правильного стола, кг 290
    Масса правильного инструмента, кг
    Высота стола над уровнем пола, мм 800 620
    Номинальное рабочее давление жидкости основне, МПа (кгс/см²) 16 (160) 20 (200) 25 (250)
    Електроустаткування
    Количество електродвигателей 1 2 1
    Електродвигун головного привода, кВт (об/мин) 3 (1500) 7,5 (1450) 13 11
    Габарити і масса пресса
    Габарити пресса (длина ширина высота), мм 1450 х 810 х 2285 1600 х 935 х 2730 1600 х 1845 х 2348 1060 х 1800 х 2900
    Масса верстата, кг 1260 1587 3000 3390

      Список литературы:

    1. Банкетов А.Н., Бочаров Ю.А., Добринский Н.С. і др. Кузнечно-прессовое обладнання, 1970
    2. Бочаров Ю.А., Прокофьев В, Н. Гідропривід кузнечно-прессовых машин, 1969
    3. Белов А.Ф., Розанов Б. В., Линц В. П. Объемная штамповка на гідравлических прессах, 1971
    4. Живов Л.И. Кузнечно-штамповочное обладнання, 2006
    5. Кузьминцев В.Н. Ковка на молотах і прессах, 1979
    6. Розанов Б.В. Гідравлические прессы, 1959
    7. Титов Ю.А. Обладнання кузнечно-прессовых цехов, 2001
    8. Щеглов В.Ф. Кузнечно-прессовые машины, 1989
    9. Берлет Разработка чертежей поковок, 2001
    10. Рудман Л.И. Справочник по оборудованию для листовой штамповки, 1989
    11. Романовский В.П. Справочник по холодной штамповке, 1965
    12. Охрименко Я.М. Технология кузнечно-штамповочного производства, 1966
    13. Кузьминцев В.Н. Ковка на молотах і прессах, 1979
    14. Мещерин В.Т. Листовая штамповка. Атлас схем, 1975