metalinstryment.com
Довідник по металорізальних верстатів та пресовому обладнанні

П6330 Пресс гідравлический одностоєчний правильно запрессовочный
схеми, опис, характеристики

П6330 Фото гідравлічного пресса одностоечного



Прессы механические, прессы гідравлические, верстати поперечно-строгальные

Відомості про виробника пресса гідравлічного одностоечного П6330

Производителем пресса П6330 является Оренбургский завод гідравлических прессов Гідропресс, основанный в 1953 году і Нелидовский завод гідравлических прессов НЗГП, основанный в 1972 году.

Первый гідравлический пресс для переработки пластмасс ПА-474 был принят государственной комиссией 23 сентября 1953 года, етот день прессостроители і считают днем рождения завода «Гідропресс».

В настоящее время однокривошипный пресс П6330 производит ПАО «Кувандыкский завод кузнечно-прессового оборудования «Долина» г. Кувандык

В настоящее время пресс П6330 производит, также, ООО СО "Прессмаш", г. Москва





Верстати, выпускаемые Оренбургским заводом гідравлических прессов ГідроПресс


П6330 пресс гідравлический одностоєчний правильно запрессовочный. Назначение, область применения

Пресс гідравлический одностоєчний П6330 предназначен для запрессовки, выпрессовки, прошивки, правки, листовой штамповки без глубокой вытяжки, монтажных, штамповочных і других работ, а также для правки при установці правильного стола і правильного инструмента. Применяется в различных отраслях промышленности, как в производственных, так і в ремонтных подразделениях і мастерских. Эксцентричное нагружение при работе пресса не допускается.

Вузли пресса П6330 монтируются на сварной станине С-образной формы. В верхней консоли станины расположен цилиндр, в нижней — механізм переключения керування (двурукое, однорукое, педальное). Привід пресса — гідравлический. Гідроагрегат П63В4 установлен внутри станины. Електроустаткування монтируется в електрошкафу, который расположен на задньої обшивке пресса. Обшивка со шкафом крепится к станине шарнирными петлями. Рукоятки керування посредством рычагов через механізм переключения керування связаны з планкой, которая одним концом соединена з распределительным золотником, другим — через возвратный штырь, модификатор связан з ползуном.

Керування прессом П6330 — двурукое і однорукое правое осуществляется переміщенням правой рукоятки.

Електросхема имеет блокировку, осуществляющую немедленное відключення вводного автомата при открывании дверцы електрошафи.

Рабочие органы цилиндра, насосов і гідроапаратури постоянно смазываются рабочей жидкостью — маслом — і не требуют специальной змазки. Оси рычагов керування смазываются пресс-масленками.

Разработчик — оренбургский завод гідравлических прессов «Гідропресс» (головной).


Пресс гідравлический. Загальні відомості

Гідравлический пресс — ето гідравлічна машина, предназначенная для создания больших сжимающих усилий. Ранее назывался «пресс Брама», так как изобретён і запатентован Джозефом Брама в 1795 году.

Гідравлический пресс состоит из двух сообщающихся гідравлических цилиндров (с поршнями) разного диаметра. Цилиндр заполняется гідравлической жидкостью, водой, маслом или другой подходящей жидкостью.


Обозначение гідравлических прессов

Значения первых двух цифр в обозначениях гідравлических прессов:

За двумя первыми цифрами следуют еще две цифры, обозначающие номинальное усилие пресса, а затем буква, которая показывает его модификацию в группе прессов данного вида.


Значения основного параметра в обозначениях прессов:

Таблиця 1. Обозначение основного параметра пресса

Обозн. пресса Усилие пресса, кН Обозн. пресса Усилие пресса, кН Обозн. пресса Усилие пресса, кН Обозн. пресса Усилие пресса, кН
14 25 кН 20 100 кН 30 1000 кН 40 10000 кН
15 31,5 кН 21 125 кН 31 1250 кН 41 12500 кН
16 40 кН 22 160 кН 32 1600 кН 42 16000 кН
18 63 кН 23 200 кН 33 2000 кН 43 20000 кН
24 250 кН 34 2500 кН 44 25000 кН
25 315 кН 35 3150 кН 45 31500 кН
26 400 кН 36 4000 кН 46 40000 кН
28 630 кН 38 6300 кН 48 63000 кН

Пример обозначения гідравлических прессов:





Габаритные розміри робочого простору пресса П6330

П6330 Габаритные розміри робочого простору гідропресса П6330


Габаритные розміри робочого простору пресса П6330 з правильным столом

П6330 Габаритные розміри робочого простору гідропресса П6330 з правильным столом


Посадочные і присоединительные базы гідропресса П6330

П6330 Посадочные і присоединительные базы гідропресса


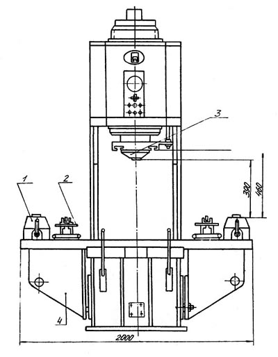
Загальний вигляд гідравлічного пресса П6330

П6330 Загальний вигляд  гідропресса


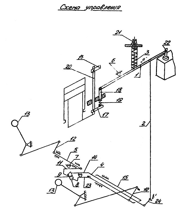
Схема керування гідравлическим прессом П6330

П6330 Схема керування гідравлическим прессом П6330


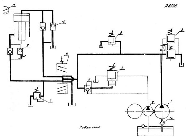
Гідросхема гідравлічного пресса П6330

П6330 Гідросхема гідравлічного пресса





П6330 Пресс гідравлический. Відеоролик.




Основні технические характеристики пресса П6330

Наименование параметра П6330
Основні параметри пресса
Номинальное усилие пресса, кН (т) 1000 (100)
Наибольший ход штока, мм 500
Наибольшее расстояние между столом і штоком - открытая высота пресса, мм 750
Расстояние от оси штока до станины (вылет), мм 400
Скорость штока - рабочий ход, мм/сек 12,5
Скорость штока - холостой ход, мм/сек 80
Скорость штока - возвратный ход, мм/сек 18
Розміри стола, мм 800 х 630
Розміри проема в столе, мм 200 х 415
Розміри съемного правильного стола, мм 2000 х 420
Масса съемного правильного стола, кг 960
Масса правильного инструмента, кг 195
Высота стола над уровнем пола, мм 745
Номинальное рабочее давление жидкости, кг/см2 250
Електроустаткування
Количество електродвигателей 1
Електродвигун головного привода, кВт 22
Габарити і масса пресса
Габарити пресса (длина ширина высота), мм 2250_900_2720
Масса верстата, кг 5500

    Список литературы:

  1. Банкетов А.Н., Бочаров Ю.А., Добринский Н.С. і др. Кузнечно-прессовое обладнання, 1970
  2. Бочаров Ю.А., Прокофьев В, Н. Гідропривід кузнечно-прессовых машин, 1969
  3. Белов А.Ф., Розанов Б. В., Линц В. П. Объемная штамповка на гідравлических прессах, 1971
  4. Живов Л.И. Кузнечно-штамповочное обладнання, 2006
  5. Кузьминцев В.Н. Ковка на молотах і прессах, 1979
  6. Розанов Б.В. Гідравлические прессы, 1959
  7. Титов Ю.А. Обладнання кузнечно-прессовых цехов, 2001
  8. Щеглов В.Ф. Кузнечно-прессовые машины, 1989
  9. Берлет Разработка чертежей поковок, 2001
  10. Рудман Л.И. Справочник по оборудованию для листовой штамповки, 1989
  11. Романовский В.П. Справочник по холодной штамповке, 1965
  12. Охрименко Я.М. Технология кузнечно-штамповочного производства, 1966
  13. Кузьминцев В.Н. Ковка на молотах і прессах, 1979
  14. Мещерин В.Т. Листовая штамповка. Атлас схем, 1975