Відомості про виробника токарно-гвинторізного верстата МК-3002
Виробник токарного верстата моделі МК-3002 – Московський верстатобудівний завод "Червоний пролетар" ім. А.І. Єфремова , заснований у 1857 році.
Перші універсальні токарно-гвинторізні верстати з коробкою швидкостей уперше в СРСР почали випускатися на Московському верстатобудівному заводі "Червоний пролетар" ім. А.І. Єфремова в 1932 році і отримали найменування ДІП-200 , ДІП-300 , ДІП-400 , ДІП-500 ( ДІП - Наздогнати І Перегнати), де 200, 300, 400, 500 - висота центрів над станиною.
У міру вдосконалення конструкції верстатів завод випускав дедалі сучасніші моделі - 1А62 , 1К62 , 16К20 , МК6056 .
Верстати, що випускаються Московським верстатобудівним заводом Червоний пролетар, КП
- 1А62 - верстат токарно-гвинторізний універсальний, Ø 400
- 1К62 - верстат токарно-гвинторізний універсальний, Ø 400
- 1К62Б - верстат токарно-гвинторізний підвищеної точності універсальний, Ø 400
- 1К282 - верстат токарний восьмишпиндельний вертикальний, Ø 250
- 1К620 - верстат токарно-гвинторізний універсальний з варіатором, Ø 400
- 1К625 - верстат токарно-гвинторізний полегшений з підвищеною лінією центрів, Ø 500
- 16А20Ф3 - верстат токарний з ЧПУ, Ø 400
- 16Б20П - верстат токарно-гвинторізний підвищеної точності, Ø 400
- 16К20 - верстат токарно-гвинторізний універсальний Ø 400
- 16К20ВФ1 - верстат токарно-гвинторізний універсальний високої точності з УЦІ, Ø 400
- 16К20М - верстат токарно-гвинторізний механізований, Ø 400
- 16К20П - верстат токарно-гвинторізний підвищеної точності, Ø 400
- 16К20ПФ1 - верстат токарно-гвинторізний підвищеної точності з УЦІ, Ø 400
- 16К20Ф3 - верстат токарний з ЧПУ, Ø 400
- 16К20Ф3С32 - верстат токарнійс ЧПУ, Ø 400
- 16К20Т1 - верстат токарний з оперативним керуванням, Ø 500
- 16К25 - верстат токарно-гвинторізний полегшений з підвищеною лінією центрів, Ø 500
- 162 - верстат токарно-гвинторізний універсальний, Ø 420
- 1622 - верстат токарно-гвинторізний універсальний, Ø 120
- 1730 - верстат токарний багаторізцевий копіювальний напіватомат, Ø 410
- ДИП-40 (1Д64) - верстат токарно-гвинторізний універсальний, Ø 800
- ДИП-50 (1Д65) - верстат токарно-гвинторізний універсальний, Ø 1000
- ДІП-200 - верстат токарно-гвинторізний універсальний, Ø 400
- ДІП-300 - верстат токарно-гвинторізний універсальний, Ø 630
- ДІП-400 - верстат токарно-гвинторізний універсальний, Ø 800
- ДИП-500 - верстат токарно-гвинторізний універсальний, Ø 1000
- МК6046, МК6047, МК6048 - верстат токарно-гвинторізний універсальний, Ø 500
- МК6056, МК6057, МК6058 - верстат токарно-гвинторізний універсальний, Ø 500
- МК-3002 - верстат токарний настільний, Ø 220
МК-3002 Верстат токарно-гвинторізний настільний широкоуніверсальний. Призначення, сфера застосування
Токарний настільний верстат МК-3002 є верстатом класу «хобі», і призначений для індивідуального (побутового) застосування, тобто за своїми конструктивними особливостями та технічними характеристиками верстат не призначений для використання на виробництві.
Настільний токарно-гвинторізний настільний широкоуніверсальний верстат МК-3002 призначений для різних видів механічної обробки виробів із металу, деревини, пластмаси.
На верстаті МК-3002 можуть виконуватися такі токарні операції:
- проточка та розточування зовнішніх та внутрішніх циліндричних, фасонних та конічних поверхонь
- свердління отворів, зняття фасок
- розточування отворів
- відрізка
- нарізування різцем метричної різьби
- порожнистий шпиндель верстата дозволяє використовувати як заготовку прутковий матеріал.
Токарно-гвинторізний верстат МК-3002 сконструйований у 1987 році і не випускається в даний час.
Традиційне наочне компонування верстата у поєднанні з відпрацьованою кінематичною схемою дозволяє впевнено забезпечити токарну обробку з класом точності «Н» протягом тривалого терміну експлуатації.
У порівнянні з пропонованими на ринку малогабаритними верстатами - він простий в експлуатації, надійний та довговічний.
Набір пристроїв та приладдя та можливість переналагодження робить верстат МК-3002 широкоуніверсальним. На верстаті можуть виконуватися такі операції:
- свердління отворів
- фрезерування площин, виїмок, канавок тощо.
- шліфування та полірування
- заточування різного різального та побутового інструменту
- розпилювання листового матеріалу, рейок, дощок за допомогою круглої пили.
- стругання площин рейок, брусків та дощок за допомогою фугувального пристрою
- навивку пружин
- нарізку різьблення плашками і мітчиками з ручним обертанням шпинделя до ін.
Набір пристроїв та приладдя, що постачаються зі верстатом:
- МК3002.320000.000 - Різцеутримувач
- МК3002.460000.000 - Оправлення для пили
- МК3002.461000.000 - Оправка для фуганка
- МК3002.462000.000 - Оправлення для шліфувального кола
- МК3002.463000.000 - Оправлення для шліфувального кола
- МК3002.464000.000 - Стіл
- МК3002.466000.000 - Патрон для фрез
- МК3002.467000.000 - Повідець
- 10-В16 - Свердлильний патрон ГОСТ 8522-79
- 7100-0003 - Патрон токарний ГОСТ 2675-80 7200-0203
- Тиски - ГОСТ 14904-80
Габарити робочого простору токарного верстата МК-3002

Габарити робочого простору токарного верстата МК-3002
Загальний вигляд токарно-гвинторізного верстата МК-3002

Фото токарного верстата МК-3002

Фото токарного верстата МК-3002

Фото токарного верстата МК-3002
Розташування складових частинин токарно-гвинторізного верстата МК-3002

Розташування складових частинин токарного верстата МК-3002
Перелік складових частинин токарно-гвинторізного верстата МК-3002
- коробка подач
- причина
- бабка шпиндельна
- підтримка
- бабка задня
- шафа керування
Розташування органів керування токарно-гвинторізним верстатом МК-3002

Розташування органів керування токарним верстатом МК-3002
Перелік органів керування токарно-гвинторізного верстата МК-3002
- Рукоятка зчеплення приводу подач:
- Верхнє положення - рух механічної подачі супорта вліво до шпинделя
- Нижнє положення - рух праворуч від шпинделя
- Центральне становище - рух подачі вимкнено
- Маховик поперечного супорта - Переміщення поперечного супорта
- Маховик верхнього супорта - Переміщення верхнього супорта
- Рукоятка затискача пінолі :
- Поворот рукоятки на себе забезпечує затискач пінолу.
- Поворот від себе - розтискання
- Маховик пінолі - Переміщення пінолі задньої бабки
- Маховик каретки - Поздовжнє переміщення каретки поперечного супорта
- Кнопка "Пуск шпинделя" (чорного кольору) - При натисканні на кнопку починається обертання шпинделя
- Кнопка "Стоп шпинделя" (червоного кольору) - При натисканні на кнопку припиняється обертання шпинделя
- Перемикач зміни напрямку обертання шпинделя:
- Включення вліво - пряме обертання шпинделя
- Увімкнення вправо - зворотне обертання шпинделя
- Кнопка "Стоп" аварійна - Аварійне відключення електрообладнання
- Гайка затискача задньої бабки
- Поворот гайки на себе забезпечує затискач бабки на основі
- поворот гайки від себе - розтискання бабки
- Гайка затискача різця - Поворот гайки на себе забезпечує затискач різця, поворот від себе - розтискання
- Гвинт фіксації супорта - Фіксація супорта на підставі
Схема кінематична токарно-гвинторізного верстата МК-3002

Кінематична схема токарного верстата МК-3002
Схема кінематична токарно-гвинторізного верстата МК-3002. Завантажити у збільшеному масштабі
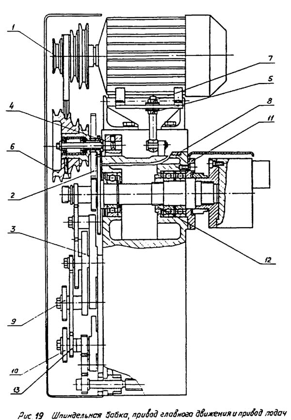
Шпиндельна бабка, привід головного руху та привід подач токарного верстата МК-3002

Привід головного руху токарного верстата МК-3002

Фото коробки передач (гітари) токарного верстата МК-3002
Таблиця налаштування ланцюга головного руху та приводу подач токарно-гвинторізного верстата МК-3002

Таблиця налаштування токарного верстата МК-3002
Схема електрична принципова токарно-гвинторізного верстата МК-3002

Електрична схема токарного верстата МК-3002
Схема електрична принципова токарно-гвинторізного верстата МК-3002. Скачать в увеличенном масштабе
Технічні характеристики токарного верстата МК-3002 і современных аналогов
| Найменування параметру |
ТВ-7М |
ТВ-9 |
МК-3002 |
| Основні параметри верстату |
|
|
|
| Клас точності |
Н |
Н |
Н |
| Найбільший діаметр заготовки над станиною, мм |
220 |
220 |
220 |
| Найбільший діаметр заготовки над супортом, мм |
100 |
100 |
120 |
| Висота центрів над плоскими напрямними станини, мм |
120 |
120 |
102 |
| Найбільша довжина заготовки у центрах (РМЦ), мм |
275 |
525 |
450 |
| Найбільша довжина заготовки в патроні, мм |
250 |
500 |
|
| Найбільша висота тримача різця, мм |
16 х 16 |
16 х 16 |
16 х 16 |
| Максимальний діаметр свердла та фрези, ММ |
|
|
13 |
| Найбільша маса оброблюваної заготівлі, кг |
5 |
10 |
|
| Шпиндель |
|
|
|
| Діаметр наскрізного отвору в шпинделі, мм |
18 |
18 |
20 |
| Конус Морзе шпинделя |
№3 |
№3 |
№3 |
| Число ступенів частот прямого обертання шпинделя |
6 |
6 |
8 |
| Частота прямого обертання шпинделя, об/хв |
60, 105, 185, 315, 555, 975 |
60, 105, 185, 315, 555, 975 |
160, 224, 355, 560, 900, 1250, 2000, 3150 |
| Гальмування шпинделя |
ні |
ні |
ні |
| Блокування рукояток |
ні |
ні |
ні |
| Супорт. Подання |
|
|
|
| Найбільше поздовжнє переміщення супорта, мм |
|
|
410 |
| Переміщення супорта поздовжнє на один поділ лімба, мм |
0,25 |
0,25 |
0,25 |
| Найбільше поперечне переміщення супорта, мм |
|
|
130 |
| Переміщення супорта поперечне на один поділ лімба, мм |
0,025 |
0,025 |
0,04 |
| Найбільше переміщення верхніх (різцевих) санчат, мм |
85 |
85 |
|
| Переміщення різцевих санок на один поділ лімба, мм |
0,025 |
0,025 |
0,025 |
| Кут повороту різцевих санчат, град |
±40° |
±40° |
|
| Число ступенів поздовжніх подач супорта |
6 |
6 |
6 |
| Межі поздовжніх робочих подач супорту, мм/про |
0,1; 0,12; 0,16; 0,20; 0,24; 0,32 |
0,1; 0,12; 0,16; 0,20; 0,24; 0,32 |
0,05; 0,75; 0,1; 0,125; 0,15; 0,175 |
| Межі робочих поперечних подач супорта, мм/про |
ні |
ні |
ні |
| Кількість нарізних різьблень метричних |
6 |
6 |
|
| Межі кроків різьб метричних, що нарізаються, мм |
0,1; 0,12; 0,16; 0,20; 0,24; 0,32 |
0,1; 0,12; 0,16; 0,20; 0,24; 0,32 |
0,2..4,0 |
| Межі кроків різьблення дюймових |
ні |
ні |
ні |
| Межі кроків різьблення модульних |
ні |
ні |
ні |
| Межі кроків різьблення питних |
ні |
ні |
ні |
| Задня бабка |
|
|
|
| Конус Морзе задньої бабки |
№2 |
№2 |
№2 |
| Найбільше переміщення пінолі, мм |
65 |
65 |
40 |
| Електроустаткування |
|
|
|
| Електродвигун головного приводу, кВт |
0,75 |
1,1 / 380 |
1,5 |
| Габарити та маса верстату |
|
|
|
| Габарити верстата (довжина ширина висота), мм |
1120 х 640 х 680 |
1405 х 620 х 730 |
1200 х 680 х 450 |
| Маса верстата, кг |
220 |
230 |
160 |