Виробник токарно-гвинторізного верстата 16к20пф1 - Московський верстатобудівний завод "Червоний пролетарій" ім. А.І. Єфремова , заснований у 1857 році.
Токарно-гвинторізний верстат з пристроєм цифрової індикації (УЦІ) 16К20ПФ1 спроектований на базі моделі 16К20П з високим ступенем уніфікації функціональних вузлів та деталей.
Токарний верстат з УЦІ 16К20ПФ1 належить до лінійки середніх верстатів з висотою центрів 200 мм, початок якої поклав перший верстат серії - ДІП-200 у 1932 році.
Пристроєм цифрової індикації - УЦІ забезпечує стабільність точності обробки та підвищення продуктивності праці.
Токарно-гвинторізний верстат 16К20ПФ1 призначений для виконання різних токарних робіт у центрах або патронах і нарізування метричної, модульної, дюймової та різьб.
Області застосування верстатів є одиничне, дрібносерійне багатономенклатурне виробництво. Застосування верстатів із пристроєм цифрової індикації покращує психофізіологічні умови праці робітника, усуває суб'єктивні чинники, елементи випадковості при відліку переміщень ріжучого інструменту, збільшує швидкість сприйняття та переробки цифрової інформації, зменшує психологічні навантаження та загальну стомлюваність робітника.
Основні відмінності верстата 16К20ПФ1 від базової моделі 16К20:
Верстат 16к20пф1 комплектується, як і модель 16к20п, супортом з механічним приводом різцевих санчат, який також за особливим замовленням може бути поставлений зі верстатом 16К20Ф1.
Включення механічного переміщення різцевих санчат здійснюється витягуванням на себе кнопки 122 при затиснутій рукоятці 129. Величина подачі різцевих санок дорівнює 1/4 величини поздовжньої подачі супорта.
В іншому механічна частинина обох станів повністю ідентична.
Шпиндельні підшипники верстата 16к20пф1 та 16к20 мають однаковий клас точності - 4 - підвищена точність верстата 16к20пф1 забезпечується більш точним складанням шпиндельного вузла.
На токарномуу верстаті 16к20пф1 встановлювалося УЦИ типу Ф5071 із зовнішнім блоком живлення Ф5075 та датчиком переміщень на базі безконтактного сельсину БС-155А .
Блоки Ф5075 і Ф5071 встановлені на платформі, що кріпиться до правої сторони заднього торця шпиндельної бабки верстата.
Сельсиновий датчик БС-155А вмонтований у корпус, що кріпиться до заднього торця каретки поперечного супорта. Вал датчика через муфту з'єднаний з ходовим гвинтом поперечного супорта. Від кінця ггвинта датчик передає сигнал до блоку цифрової індикації, де він візуально представляється у вигляді значення діаметра, що обробляється. Один оборот ггвинта відповідає 10 мм зміни діаметра, що обробляється.
В даний час УЦІ Ф5071 застаріло і більше не випускається. Ремонтувати чи модернізувати його не доцільно та простіше замінити на більш сучасну модель.
На ринку є достатньо пропозицій сучасних УЦІ як іноземного, так і вітчизняного виробництва.
Щоб обійтися без заміни датчика переміщень БС-155А, можна встановити УЦІ моделі Ф5290 .
УЦИ Ф5290 - одноосьовий моноблок, зібраний на мікропроцесорі та сучасній елементній базі, використовує датчик переміщень БС-155А .
Сучасні УЦІ працюють, як правило, з кутовими та лінійними інкрементними перетворювачами переміщення (інкрементними енкодерами), що мають напругу живлення +5 В та вихідні сигнали RS422 ПІ TTL.
Російська фірма СКБ ІС випускає широку лінійку сучасних УЦІ сімейства ЛІР (більше 15 моделей) та датчики до них; від простих одноосьових – ЛІР-500 до чотириосьових ЛІР-540.
УЦИ Ф5071 випускало Київське виробниче об'єднання " ТочЕлектроПрилад " - флагман приладобудування СРСР, (нині - Росток-прилад ЛТД ).
Розробкою, випуском та впровадженням пристроїв цифрової індикації об'єднання займалося з 70 років за постановою Ради Міністрів СРСР.
УЦИ Ф5071 це одноосьовий пристрій цифрової індикації, який відображає в цифровому вигляді поперечну координату верстата 16к20пф1 , тобто радіус або діаметр виробу, що обробляється.
Блок УЦІ Ф5071 зібраний на елементній базі мікросхем серій КР140, К155, К161, КР544, К555, К561.
У комплект УЦІ входить:
Блок цифрової індикації Ф5071 призначений для цифрової індикації переміщень рухливості вузлів металорізальних верстатів класу точності "Н".
Блок призначений Ф5071 для спільної роботи з датчиком переміщень на базі безконтактного сельсину БС-155А та блоком живлення типу Ф5075 у стаціонарних умовах механічних цехів машинобудівних підприємств.
Виробник: ЗАВОД ФІОЛЕНТ м. Сімферополь, ТУ: ЛШ0.301.005ТУ
БС-155А сельсин-приймач безконтактний, працює в індикаторному режимі за принципом трансформатора, що обертається. Застосовується отримання на вихідних обмотках напруги, амплітуда і фаза якого визначаються кутовим положенням ротора.
Сельсини БС-155А застосовуються як вимірювачі неузгодження стежать систем. За допомогою сельсинів даного типу можуть бути побудовані системи дистанційних передач індикаторного (ІДП) та трансформаторного (ТДП) типів, внаслідок чого розрізняють індикаторний та трансформаторний режими роботи сельсинів.

Сельсін БС-155А
Производителем УЦИ Ф5290 является ООО Росток-прилад лтд, г. Киев преемник ПО "ТочЭлектроПрибор".
Современное УЦИ, которое является более совершенным аналогом блока Ф5071.
УЦИ Ф5290, так же как і Ф5071 предназначен для совместной роботи з датчиком перемещений на базе бесконтактного сельсина БС-155А, но имеет встроенный блок живленняи і собран на базе микропроцессора.
УЦИ Ф5290 имеет дополнительные функции, которые могут облегчить работу з прибором і повысить производительность роботи на станке. Например:
Отличием УЦИ Ф5290 от Ф5291 является то, что УЦИ Ф5290 работает з датчиком переміщення типа сельсин, а УЦИ Ф5291 работает з датчиком переміщення типа линейка или угловой датчик переміщення.
Для использрвания в современных УЦИ сельсинного датчика перемещений БС-155А разработан преобразователь А560 (далее – преобразователь).
Преобразователь А560предназначен для преобразования сигналов, поступающих з сельсина БС-155А, в стандартные прямоугольные квадратурные диференціальные сигналы (SIN і COS) в уровнях TTL или HTL (определяется при заказе) для післядующей их обробки в системах числового программного керування (далее – ЧПУ) или пристроях цифровой индикации (далее – УЦИ ).

Пристрій цифровой индикации Ф5290
Пристрій цифровой индикации Ф5290. Дивитись у збільшеному масштабі
Пристрій цифровой индикации Ф5290 (в дальнейшем - УЦИ) предназначено для контроля линейных или угловых перемещений по одной оси координат з помощью первичного измерительного преобразователя перемещений - сельсина БС-155А (в дальнейшем - сельсин), индикации положения подвижных механізмов верстата или другой машины, в котором оно применяется, і используется в качестве специализированного вспомогательного комплектующего вироби в составе информационно-измерительных систем, металлообрабатывающих верстатів і других машин при измерении і контроле механических перемещений
Области применения - системы цифровой индикации.
По основному функциональному назначению УЦИ соответствует типу I по ГОСТ 27537.
УЦИ Ф5290 обеспечивает:
Дискретность цифрового отсчета соответствует значению, определяемому по формуле:
d = Nn/(100*N)
где d - значение дискретности, mm или градусы;
N - коеффициент масштабного преобразования отсчета, устанавливаемый на УЦИ і выбираемый из ряда 2, 3, 4, 5, 6, 8, 10, 12, 20. 40.
Nn - численное значение шага измерительного преобразователя (ИП), соответствующее перемещению в миллиметрах на один оборот ротора сельсина - для УЦИ Ф5290;
Производилель: СКБ ИС г. Санкт-Петербург.
ЛИР-511 Одноосевое полноразмерное пристрій цифровой индикации для роботи з угловыми і линейными инкрементными преобразователями переміщення (инкрементными енкодерами), имеющими напряжение живлення +5 В і выходные сигналы RS422 ПИ TTL.
В сравнении з ЛИР-510, имеет функциональную цифровую клавиатуру для преднабора, режим измерения радиус/диаметр, возможность компенсации люфта і систематической погрешности.

Пристрій цифровой индикации ЛИР-511
Выпускается в металлическом корпусе з высокопрочным порошковым покрытием. По типу корпуса различают два исполнения - приборное і панельное. Приборное виконання имеет в основании корпуса ножки з резьбовыми отверстиями, что позволяет использовать УЦИ как настільний прибор или закреплять его на кронштейне. Панельный варіант исполнения корпуса предназначен для встраивания УЦИ в технологические стойки, шиты, пульты керування і т.д. і его крепления при помощи отверстий в лицевой панелі.
На передньої панелі УЦИ ЛИР-511 расположено высококонтрастное индикационное светодиодное табло зеленого свечения з высотой цифр 13 мм (7 десятичных разрядов і знак), кнопки задания режимов измерения і цифровая клавиатура.
Дискретность входного сигнала енкодера, знак, формат индицирования і степень огрубления настраиваются для каждой оси з помощью кнопки "ПАРАМ", расположенной на задньої панелі прибора.
УЦИ предполагает возможность роботи в трех системах отсчета. Относительная система отсчета позволяет производить измерения от произвольно выбранной начальной позиции, которая определяется нажатием кнопки обнуления на передньої панелі в любом месте контролируемого переміщення і може определять систему координат измеряемой (обрабатываемой) детали. Абсолютная система отсчета определяет систему координат верстата или измерительной системы і связана з положением референтной метки енкодера. Для переключения между относительной і абсолютной системами отсчета предусмотрена кнопка на передньої панелі. Также существует і оперативная система отсчета, которая дает возможность производить промежуточные измерения без потери результата в абсолютной і относительной системе, для переключения на которую имеется кнопка на передньої панелі УЦИ.
На задньої панелі ЛИР-511 расположены разъем вилка РС10ТВ для подключения енкодера, вход для подключения питающей сети (сетевой кабель длиной 1,8 метра з евровилкой входит в комплект поставки), клавишный выключатель, клемма заземления, держатель предохранителя 2А. При заказе додаткових опций "порт RS232" і "приемник зовнішнього сигнала" устанавливаются разъемы D-sub вилка DB9 і вилка РС7ТВ.

Креслення робочого простору токарного верстата 16к20пф1

Креслення шпинделя токарного верстата 16к20пф1

Фото токарно-гвинторізного верстата 16к20пф1

Фото токарно-гвинторізного верстата 16к20пф1
Фото токарно-гвинторізного верстата 16к20пф1. Дивитись у збільшеному масштабі

Фото токарно-гвинторізного верстата 16к20пф1
Фото токарно-гвинторізного верстата 16к20пф1. Дивитись у збільшеному масштабі

Схема розположення органів керування токарним верстатом 16к20пф1

Шпиндельная бабка токарно-гвинторізного верстата 16к20пф1
Шпиндельная бабка токарно-гвинторізного верстата 16к20пф1. Скачать в увеличенном масштабе

Таблиця різьб і подач токарно-гвинторізного верстата 16к20пф1
1. Таблиця різьб і подач токарно-гвинторізного верстата 16к20пф1. Дивитись у збільшеному масштабі
2. Таблиця різьб і подач токарно-гвинторізного верстата 16к20пф1. Дивитись у збільшеному масштабі
3. Таблиця різьб і подач токарно-гвинторізного верстата 16к20пф1. Дивитись у збільшеному масштабі

Рукоятки керування коробкой подач токарного верстата 16к20пф1

Кінематична схема верстата 16к20пф1
1. Схема кінематична токарно-гвинторізного верстата 16к20пф1. Дивитись у збільшеному масштабі
2. Схема кінематична токарно-гвинторізного верстата 16к20пф1. Дивитись у збільшеному масштабі
3. Схема кінематична токарно-гвинторізного верстата 16к20пф1. Дивитись у збільшеному масштабі
4. Схема кінематична токарно-гвинторізного верстата 16к20пф1. Дивитись у збільшеному масштабі
Кінематична схема приведена для понимания связей і взаимодействия основних елементів верстата. На выносках проставлены числа зубьев (z) шестерен (звездочкой обозначено число заходов червяка).
Цифрой I обозначен супорт з механическим переміщенням резцовых салазок
Привід головного руху состоит из односкоростного асинхронного електродвигуна трехфазного тока і ступенчатой механической коробки швидкостей. От електродвигуна Ml з nдв = 1460 об/мин (рис. 4.3) через клиноременную передачу з диаметром шкивов 140 і 268 мм вращается вал I коробки швидкостей, на котором установлены свободно вращающиеся зубчасті колеса з числом зубьев z = 56 і z = 51 для прямого обертання шпинделя (по часовий стрелке) і z = 50 для обратного обертання (против часовий стрелки).
Увімкнення прямого или обратного обертання шпинделя осуществляется з помощью фрикционных муфт Мф1 і Мф2. Вал III получает две скорости обертання через колеса z = 34 или z = 39. Далее при помощи зубчатых колес z = 29, z = 21 или z = 38 і сцепляющихся з одним из соответствующих венцов z = 47, z = 55 или z = 38 і образующих тройной блок, приводится во вращение вал IV. С етого вала вращение може передаваться непосредственно на шпиндель: через зубчасті колеса z = 60 или z = 30 на блок з z = 48, z = 60 или через валы V і VI, образующие вместе з зубчатыми колесами переборную группу. В етом случае вращение передається зубчатыми колесами z = 45 или z= 15 (на валу IV), сцепляющимися з одним из венцов блока z = 45, z = 60 (на валу V), і парами колес 18/72 і 30/60.
В шпиндельной бабке помимо коробки швидкостей смонтирован перебор. Под перебором понимается дополнительная зубчатая передача, при помощи которой достигается увеличение количества швидкостей шпинделя. Кроме того, наличие перебора позволяет получать низкие числа оборотів і соответственно высокие значения крутящих моментов на выходном валу коробки.
В зависимости от варіантівувімкнення зубчатых колес в коробке швидкостей можно получить 22 значения частот обертання шпинделя.

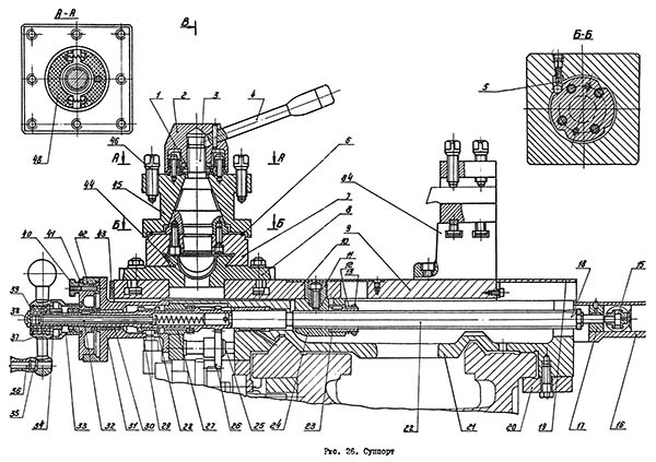
Креслення суппорта токарного верстата 16к20пф1
Суппорт токарно-гвинторізного верстата 16к20пф1. Ручное перемещение резцовых салазок
Модель верстата 16к20пф1 комплектуется механізмом автоматичною (механической) подачі верхних салазок суппорта. Коническая шестерня z — 20 гвинта верхних салазок получает вращение от шестерни z = 29 фартука через шестерню z=18, коническую пару z = 20, 20, шестерни z = 20, 23, 30, 28, 36 і коническую шестерню z = 20. При помощи етого пристроя можно обрабатывать конические поверхности под любым углом уклона конуса при автоматичною подаче верхних салазок.
Верстат 16К20ПФ1 комплектуется суппортом з механическим приводом резцовых салазок (рис.28, 29), который также по особому заказу може быть поставлен со верстатом 16К20Ф1. Увімкнення механического переміщення резцовых салазок 9 осуществляется вытягиванием на себя кнопки 122 при зажатой рукоятке 129. Величина подачі резцовых салазок равна 1/4 величины поздовжньої подачі суппорта.
Примечание: Номерами, начинающимися со 100, обозначены детали, относящиеся только к суппорту з механическим приводом резцовых салазок. Числами меньше 100 - детали, унифицированные от суппорта з ручным переміщенням резцовых салазок (рис. 26,27).
Пристрій цифровой индикации (рис.26) УВД состоит из блока живлення Ф5075 і блока цифровой индикации Ф5071 з сельсинным датчиком типа БС-155А 14 (рис.26).
Блоки Ф5075 і Ф5071 установлены на вращающейся платформе, крепящейся к правой стороне заднего торца шпиндельной бабки. Датчик 14 вмонтирован в корпус 16, крепящийся к заднему торцу каретки 21.
От кінця гвинта 22 через муфту 15 датчик 14 передает сигнал к блоку цифровой индикации, где он визуально представляется в виде значения обрабатываемого диаметра. Один оборот гвинта соответствует 10 мм изменения обрабатываемого диаметра.
Использование блоков Ф5071 і Ф5075 осуществляется согласно "Техническому описанию і инструкции по експлуатации" вышеуказанных блоков.
Cклад електроустаткування верстата з УЦИ 16к20пф1 идентичен составу електроустаткування верстата 16к20. Единственное отличие - наличие трансформатора для преобразования 380 В в 220 В для живлення блока живлення Ф5075.
Електроустаткування выполняет задачи керування, енергетического обеспечения приводов верстата і измерения диаметра обрабатываемых деталей. Для удобства роботи имеется местное освещение.
Различные исполнения верстатів отличаются мощностью електродвигуна головного привода, параметрами аппаратов зашиты і напряжением ланцюгів керування і местного освещения.
Специфікація елементів електроустаткування помещена в таблицах 6 і 8. Основні параметри електроустаткування верстата указаны в таблице 3.

Електрична схема верстата 16к20пф1
1. Схема електрична токарно-гвинторізного верстата 16к20пф1. Дивитись у збільшеному масштабі
В електросхеме предусмотрена блокировка, отключающая вводной автоматический выключатель при открывании двери шкафа керування. При включенном вводном автоматическом выключателе открывание двери шкафа приводит к срабатыванию путевого выключателя S1 (рис.4), который возбуждает катушку дистанционного расщепителя FI, і автоматический выключатель отключает електрообладнання верстата от сети. При открывании кожуха сменных зубчатых колес срабатывает микропереключатель S5, отключая електродвигатель головного привода.
Путевой выключатель S1 смонтирован в шкафу керування, микропереключатель S5 - на корпусе коробки подач.
Для осмотра і налагодження електроапаратури под напряжением (при открытой двери шкафа) в схеме предусмотрен деблокирующий переключатель S2, установленный в шкафу керування. Этим переключателем должны пользоваться только специалисты - електрики.
Переключатель S2 следует установить в положение "Дверь открыта", після чего можно включить вводной автоматический выключатель і приступить к наладочным работам»
По окончании пусконаладочных или ремонтных работ переключатель 2 поставить в первоначальное положение "Дверь закрыта", иначе закрывание двери шкафа вызывает самопроизвольное відключення вводного автоматичного выключателя.
При первоначальном пуске верстата необходимо путем зовнішнього осмотра проверить надежность заземления і качества монтажа електроустаткування. После осмотра отключить на клеммных наборах в шкафу керування провода живлення всех електродвигателей і при помощи вводного автоматичного выключателя F1 Верстат подключить к цеховой сети,
Проверить действие всех блокировочных устройств по п.7.4.
Проверить при помощи органів ручного керування (п.7.6.) четкость срабатывания магнитных пускачів і реле.
При достижении четкой роботи всех електроаппаратов, расположенных в шкафу керування, подсоединить ранее отключенные провода к клеммным наборам.
Поочередным включением електродвигателей проверить правильность направления их обертання по табл,7 і приступить к опробованию верстата в работе.
Пуск електродвигуна головного приводу М1 осуществляется кнопкой S4 (рис.4), которая замыкает ланцюг катушки контактора KI, переводя его на самопитание.
Останов електродвигуна головного приводу Ml, осуществляется нажатием кнопки S3.
Керування електродвигуном швидкого переміщення каретки і суппорта М2 осуществляется нажатием толчковой кнопки, встроенной в рукоятку фартука, воздействующей на конечный выключатель S8.
Пуск і зупинка електронасоса охлаждения М3 производится переключателем S7.
Работа електронасоса сблокирована з електродвигуном головного приводу Ml і увімкнення его возможно только після замыкания контактов пускателя К1.
Для ограничения холостого ходу електродвигуна головного приводу в схеме имеется реле часу КЗ. В средних (нейтральных) положениях рукояток увімкнення фрикционной муфты головного приводу замыкается нормально закрытый контакт конечного выключателя 6 і включается реле часу К3, которое через выдержку часу отключит своим контактом електродвигатель головного привода.
Производить регулировку выдержки часу в рабочем состоянии реле категорически воспрещается.
Захист електродвигателей головного привода, приводу швидкого переміщення каретки і суппорта, електронасоса охлаждения і трансформаторов от токов коротких замыканий производится автоматическими выключателями і плавкими предохранителями.
Захист електродвигателей (кроме електродвигуна М2) от длительных перегрузок осуществляется тепловыми реле.
Номинальные данные аппаратов, изменяющиеся в зависимости от напряжения питающей сети, приведены в таблице 8.
Нулевая защита електросхеми верстата, предохраняющая от самопроизвольного увімкнення електроприводу при восстановлении подачі електроенергии після внезапного її отключения, осуществляется катушками магнитных пускачів»
Опис роботи блока живлення А2 (Ф5075) і блока индикации A3 (Ф5071) изложено в прилагаемых технических описаннях і руководствах по експлуатации.
| Наименование параметра | 16к20ф1 | 16К20ПФ1 | 16К20ВФ1 |
|---|---|---|---|
| Основні параметри верстата | |||
| Класс точності по ГОСТ 8-82 | Н | П | В |
| Наибольший диаметр заготовки устанавливаемой над станиной, мм | 400 | 400 | 400 |
| Высота оси центров над плоскими направляющими станины, мм | 215 | 215 | 215 |
| Наибольший диаметр заготовки обрабатываемой над суппортом, мм | 220 | 220 | 220 |
| Наибольшая длина заготовки, устанавливаемой в центрах (РМЦ), мм | 710, 1000, 1400, 2000 |
710, 1000 | 710, 1000 |
| Наибольшее расстояние от оси центров до кромки резцедержателя, мм | 225 | 225 | 225 |
| Наибольший диаметр сверла при сверлении стальных деталей, мм | 25 | 25 | |
| Наибольшая масса заготовки, обрабатываемой в центрах, кг | 460..1300 | 460..1300 | 460 |
| Наибольшая масса заготовки, обрабатываемой в патроне, кг | 200 | 200 | 200 |
| Шпиндель | |||
| Диаметр отверстия в шпинделе, мм | 52 | 52 | 54 |
| Наибольший диаметр прутка, проходящий через отверстие в шпинделе, мм | 50 | 50 | 53 |
| Частота обертання шпинделя в прямом направлении, об/мин | 12,5..1600 | 12,5..1600 | 16..2000 |
| Частота обертання шпинделя в обратном направлении, об/мин | 19..1900 | 19..1900 | 16..2000 |
| Количество прямых швидкостей шпинделя | 22 | 22 | 22 |
| Количество обратных швидкостей шпинделя | 11 | 11 | 22 |
| Кінець шпинделя по ГОСТ 12593-72 | 6К | 6К | 6К |
| Коническое отверстие шпинделя по ГОСТ 2847-67 | Морзе 6 | Морзе 6 | Морзе 6АТ6 |
| Диаметр фланца шпинделя, мм | 170 | 170 | 170 |
| Наибольший крутящий момент на шпинделе, Нм | 1000 | 1000 | |
| Каретка. Подачи | |||
| Наибольшая длина продольного переміщення (длина обтачивания), мм | 645, 935, 1335, 1935 | 645, 935 | 645, 935 |
| Наибольшая длина поперечного переміщення, мм | 300 | 300 | 300 |
| Скорость быстрых продольных перемещений, мм/мин | 3800 | 3800 | 3800 |
| Скорость быстрых поперечных перемещений, мм/мин | 1900 | 1900 | 1900 |
| Максимально допустимая скорость перемещений при работе по упорам, мм/мин | 250 | 250 | 250 |
| Минимально допустимая скорость переміщення каретки (суппорта), мм/мин | 10 | 10 | 10 |
| Цена деления лимба продольного переміщення, мм | 1 | 1 | 1 |
| Цена деления лимба поперечного переміщення, мм | 0,05 | 0,05 | 0,05 |
| Диапазон продольных подач, мм/об | 0,05..2,8 | 0,05..2,8 | 0,025..2,8 |
| Диапазон поперечных подач, мм/об | 0,025..1,4 | 0,025..1,4 | 0,0125..1,4 |
| Количество подач продольных | 42 | 42 | |
| Количество подач поперечных | 42 | 42 | |
| Пределы шагов метрических резьб, мм | 0,5..112 | 0,5..112 | 0,5..112 |
| Пределы шагов дюймовых резьб, ниток/дюйм | 56..0,5 | 56..0,5 | 56..0,5 |
| Пределы шагов модульных резьб, модуль | 0,5..112 | 0,5..112 | 0,5..112 |
| Пределы шагов питчевых резьб, питч диаметральный | 56..0,5 | 56..0,5 | 56..0,5 |
| Наибольшее усилие, допускаемое механізмом подач на резце - продольное, Н | 5884 | 5884 | 4884 |
| Наибольшее усилие, допускаемое механізмом подач на резце - поперечное, Н | 3530 | 3530 | 1470 |
| Суппорт (Резцовые салазки, верхний суппорт) | |||
| Наибольшее перемещение резцовых салазок, мм | 150 | 150 | 150 |
| Перемещение резцовых салазок на одно деление лимба, мм | 0,05 | 0,05 | 0,05 |
| Наибольший угол поворота резцовых салазок, град | ±90° | ±90° | ±90° |
| Цена деления шкалы поворота резцовых салазок, град | 1° | 1° | 1° |
| Наибольшее сечение державки резца, мм | 25 × 25 | 25 × 25 | 25 × 25 |
| Высота от опорной поверхности резца до оси центров (высота резца), мм | 25 | 25 | 25 |
| Число резцов в резцовой головке | 4 | 4 | 2 |
| Механический привід резцовых салазок в основной комплектации, мм | нет | есть | есть |
| Пределы механических подач резцового суппорта | нет | 0,0125..0,7 (1/4 продольн) | 0,00625..0,7 (1/4 продольн) |
| Задня бабка | |||
| Диаметр пиноли задньої бабки, мм | |||
| Конус отверстия в пиноли задньої бабки по ГОСТ 2847-67 | Морзе 5 | Морзе 5 | Морзе 5АТ5 |
| Наибольшее перемещение пиноли, мм | 150 | 150 | 150 |
| Перемещение пиноли на одно деление лимба, мм | 0,1 | 0,1 | 0,1 |
| Величина поперечного смещения корпуса бабки, мм | ±15 | ±15 | ±15 |
| Електроустаткування | |||
| Електродвигун головного привода, кВт (об/мин) | 11 | 11 | 5,5 (720) |
| Електродвигун гідростанції, кВт (об/мин) | - | - | 2,2 (1425) |
| Електродвигун приводу быстрых перемещений, кВт (об/мин) | 0,12 | 0,12 | 0,75 (1390) |
| Електродвигун насоса СОЖ, кВт (об/мин) | 0,125 | 0,125 | 0,12 (1425) |
| Суммарная мощность всех електродвигателей, кВт | 8,57 | ||
| Пристрій цифровой индикации (УЦИ) | |||
| Система УЦИ | Ф5071, Ф5075, БС155А | Ф5071, Ф5075, БС155А | Ф5071, Ф5075, БС155А/ ЛЮМО-11 |
| Количество контролируемых координат Ф5071/ ЛЮМО-11 | 1/ 2 | ||
| Дискретность отсчета блока индикации - продольного переміщення, мкм | -/ 2 | ||
| Дискретность отсчета блока индикации - поперечного переміщення, мкм | 10/ 1 | ||
| Габарити і масса верстата | |||
| Габарити верстата (длина ширина высота) РМЦ=1000, мм | 2795 × 1190 × 1500 | 2795 × 1190 × 1500 | 2795 х 1190 х 1810 |
| Масса верстата, кг | 3010 | 3010 | 2870 |
Корисні посилання на тему. додаткова інформація
Верстати металорізальні Ілюстрований каталог на cd
100 найбільших фірм світу Ілюстрований каталог на cd
Верстати Німецькі Ілюстрований каталог на cd
Верстати Болгарські Ілюстрований каталог на cd
Верстати Тайванські Ілюстрований каталог на cd
Верстати Китайські Ілюстрований каталог на cd
Верстати стрічковопильні Ілюстрований каталог на cd
Машини ковальсько-пресові Ілюстрований каталог на CD
Деревообробне обладнання Ілюстрований каталог на cd
Продавці, пропозиції, ціни База даних
Іноземні виробники металообробного обладнання
Вузли, комплектуючі, оснастка Ілюстрований каталог на cd
Електронна бібліотека - верстатобудування, металообробка
Замовити
Хто володіє інформацією – той володіє світом.
Натан Ротшильд