Виробник токарно-гвинторізного верстата моделі ІЖ-250 - Іжевський машинобудівний завод "Іжмаш" , заснований у 1807 році.
Історія верстатобудування на Іжевському машинобудівному заводі "Іжмаш" починається 28 липня 1930 р. після виходу наказу №181 про створення верстатобудівного відділу.
Першою продукцією верстатобудівного виробництва на заводі став токарний верстат фірми "Леве" із зовнішньою трансмісією.
Найбільш масовими моделями універсальних токарних верстатів, випущеними в різний час, стали "Удмурт", "Удмурт-2" (161-АМ), ІЖ-250, 1І611П, 1ІС611В, 95ТС, 250ІТВМ, 250ІТВМ4 та токар.
Універсальний токарно-гвинторізний верстат моделі ІЖ-250 має висоту центрів 150 мм та відстань між центрами 500 мм.
Токарно-гвинторізний верстат ІЖ-250 - один із перших серійних верстатів, що випускаються Іжевським машинобудівним заводом у повоєнні роки. Випускався верстат до 1964 року, коли на зміну йому прийшов значно досконаліший токарно-гвинторізний верстат 1І611П .
Токарний верстат ІЖ-250 випускався порівняно недовго (1960-1964 роки). Верстат кардинально перероблений по відношенню до свого попередника (модель 161-АМ (Удмурт-2) ).
Верстати токарно-гвинторізні моделей ІЖ-250 призначені для токарної обробки в центрах, патроні або цангі, а також для нарізування різьблень метричної, модульної та дюймової для експлуатації на великих та малих підприємствах.
Верстати можуть застосовуватися в інструментальному та приладобудівному виробництві, пов'язаному з точною обробкою невеликих за розмірами деталей.
Верстат ІЖ-250П має підвищений клас точності та застосовується для виконання точніших робіт.
Шпиндель токарно-гвинторізного верстата ІЖ-250 встановлений на три підшипники кочення:
Шпиндель токарно-гвинторізного верстата ІЖ-250П встановлений на бронзові розрізні регульовані підшипники ковзання.
Кінець шпинделя різьбовий М68×6. Стандартний патрон Ø200 мм встановлюється на проміжний (перехідний) фланець, що нагвинчується на різьблення до упору. Діаметр отвору у шпинделі Ø 33 мм під пруток Ø 30 мм. Конус Морзе 5.
Редуктор встановлений у лівій тумбі верстата і є чотиривісною коробкою швидкостей, що отримує рух від фланцевого електродвигуна. Від редуктора через клинопасову передачу рух передається на шпиндель. На приводному валу редуктора розташовані фрикційна пластинчаста муфта та гальмо. Муфта забезпечує включення-вимикання обертання шпинделя, а гальмо зменшує час обертання шпинделя.
Коробка подач отримує рух через гітару від коробки швидкостей передньої бабки.
Крок різьблення та швидкість подачі вибирається рукоятками на передній кришці коробки подач.
Супорт верстата отримує рух від ходового валу, з'єднаного з вихідним валом коробки подач. При нарізанні різьблення рух супорта забезпечується ходовим гвинтом, при цьому ходовий вал не повинен обертатися.
Фартух супорта перетворює обертальний рух ходового валу або ходового ггвинта в поздовжній і поперечний рух супорта. Фартух також забезпечує ручне поздовжнє переміщення супорта від маховика.
Електроустаткування , встановлене на верстаті ІЖ-250:
Виробник – Іжевський машинобудівний завод Іжмаш. Початок серійного випуску – 1960 рік.

Габарити робочого простору токарного верстата ІЖ-250

Шпиндель токарного верстата ИЖ-250
Шпиндель токарного верстата ІЖ-250 Дивитись у збільшеному масштабі

Станина токарного верстата ИЖ-250
Станина токарного верстата ІЖ-250. Дивитись у збільшеному масштабі

Фото токарного верстата ИЖ-250
Фото токарно-гвинторізного верстата ІЖ-250. Дивитись у збільшеному масштабі

Фото токарного верстата ИЖ-250
Фото токарно-гвинторізного верстата ІЖ-250. Дивитись у збільшеному масштабі

Фото токарного верстата ИЖ-250

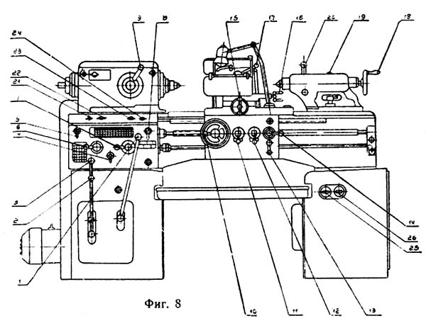
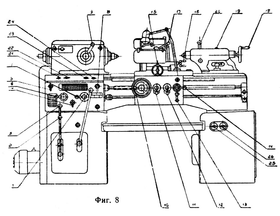
Розташування органів керування токарно-гвинторізним верстатом ІЖ-250
Органи керування токарно-гвинторізним верстатом ІЖ-250. Дивитись у збільшеному масштабі
Електроустаткування верстата здійснює:
Живлення ланцюгів електроустаткування здійснюється наступними напругами:
Живлення верстата здійснюється від мережі трифазного змінного струму напругою 380, частотою 50 Гц. Якість електроенергії має відповідати ГОСТ 13109-97
На верстаті встановлено 3 трифазні асинхронні короткозамкнуті електродвигуни:
Електроапаратура та пакетні вимикачі включення зовнішньої мережі та насоса охолодження знаходяться у ніші правої тумби. Кнопки напряму обертання та стопова, тумблер для включення місцевого освітлення та перемикач вибору швидкості ПС знаходяться на пульті, на коробці подач.
Електродвигуни та апаратура розраховані включення до мережі 380 вольт. Місцеве освітлення 26 ст.

Електрична схема токарно-гвинторізного верстата ІЖ-250
Схема електрична токарно-гвинторізного верстата ІЖ-250. Дивитись у збільшеному масштабі
Підключення електросхеми верстата до мережі здійснюється пакетним вимикачем ПС, при цьому через пускач П включається електродвигун маслонасоса мастила 2Д.
Для увімкнення електродвигуна 1Д на 420 об/мин, (треугольник) ручка переключения ПС ставится в положение "1 скорость", замыкаются контакты 23-19.
Для увімкнення електродвигуна 1Д на 2800 об/мин, (двойная звезда) ручка переключения ПС ставится в положение "II скорость".
Изменение скорости обертання ел. двигуна 1Д возможно путем изменения положения переключателя ПС.
В зависимости от выбранного направления обертання шпинделя нажатием кнопки 3KУ "Назад" включается пускатель Н.
Пример роботи схеми на II скорости і при направлении обертання шпинделя вперед:
Повернуть ручку переключателя ПС в положение «II скорость» подготавливается к включению пускатель 2С.
Нажатием кнопки 2КУ «Вперед» ставится на самопитание пускатель В, подготавливающий ланцюг 1Д на вращение в направлении "Вперед".
С поворотом рукоятки увімкнення на микропереключатель МП замыкает свои н.з. контакты 5-23 і включается пускатель 2С.
В результате увімкнення післядовательно двух пускачів В і 2С двигатель 1Д получает вращение вперед на II скорости. Останов 1Д осуществляется кнопкой 1КУ "Стоп" или рукояткой фрікциону. Работа схеми при вращении 1Д в направлении назад или при скорости 1420 об/мин. происходит аналогично описанной.
Увімкнення насоса охлаждения осуществляется пакетным выключателем BH з правой тумбы.
Захист електроустаткування верстата от короткого замыкания обеспечивается плавкими предохранителями 1ПП і 2ПП. Для защиты 1Д і 2Д ОТ перегрузок предусмотрены тепловые реле 1РТ і 2РТ. магнитные пускатели В і Н обеспечивают нулевую защиту 1Д.
1. Не рекомендуется выключать верстат во время его роботи вводным пакетным выключателем ВС, т. е. разрывать им ток.
2. При срабатывании тепловой защиты електродвигателей 1Д или 2Д необходимо некоторое время выждать, чтобы он охладился, затем выключить 1РТ ИЛИ 2РТ кнопкой возврата і включить верстат в работу.

Размещение електроустаткування на токарно-винторезном станке ИЖ-250
Размещение електроустаткування на токарно-винторезном станке ИЖ-250. Дивитись у збільшеному масштабі

Специфікація електроустаткування токарно-гвинторізного верстата ИЖ-250

Специфікація електроустаткування токарно-гвинторізного верстата ИЖ-250

Схема з'єднань електроустаткування токарно-гвинторізного верстата ИЖ-250
| Наименование параметра | ИЖ-250 | ИЖ-250П | 1И611п | 250итвм |
|---|---|---|---|---|
| Основні параметри | ||||
| Класс точності по ГОСТ 8-82 | Н | П | П | В |
| Наибольший диаметр заготовки обрабатываемой над станиной, мм | 250 | 250 | 250 | 240 |
| Наибольший диаметр заготовки обрабатываемой над суппортом, мм | 125 | 125 | 125 | 168 |
| Наибольшая длина заготовки (РМЦ), мм | 500 | 500 | 500 | 500 |
| Высота оси центров над плоскими направляющими станины, мм | 150 | 150 | 130 | 150 |
| Высота от опорной поверхности резца до линии центров, мм | 20 | 20 | 16 | 16 |
| Наибольшее рассояние от оси центров до кромки резцедержателя, мм | 130 | 127 | ||
| Шпиндель | ||||
| Диаметр сквозного отверстия в шпинделе, мм | 33 | 33 | 27 | 25 |
| Наибольший диаметр прутка, проходящий через отверстие в шпинделе, мм | 30 | 30 | 24 | 24 |
| Кількість щаблів прямого обертання шпинделя, об/хв | 22 | 22 | 21 | 21 |
| Частота прямого обертання шпинделя, об/хв | 16..2000 року | 16..2000 року | 20..2000 року | 25..2500 |
| Розмір внутрішнього конуса в шпинделі, М | Морзе 5 | Морзе 5 | Морзе 4 | Морзе 4 |
| Кінець шпинделя за ГОСТ 12593-72 | різьблення | різьблення | 4 | 4 |
| Гальмування шпинделя | Є | є | є | |
| Подання | ||||
| Найбільша довжина ходу каретки супорта, мм | 500 | 500 | 500 | 500 |
| Ціна поділу лімба поздовжнього переміщення супорта, мм | 0,1 | 0,1 | 0,1 | 0,1 |
| Поздовжнє переміщення за один оберт лімба, мм | 23,5 | 23,5 | 20 | 20 |
| Найбільше поперечне переміщення супорта, мм | 150 | 150 | 180 | 165 |
| Ціна поділу лімба поперечного переміщення супорта, мм | 0,05 | 0,05 | 0,02 | 0,05 |
| Поперечне переміщення за один оберт лімба, мм | 3 | 3 | 3 | 3 |
| Межі робочих подач поздовжніх, мм/про | 0,07..2,17 | 0,07..2,17 | 0,01..1,8 | 0,01..1,8 |
| Межі робочих подач поперечних, мм/про | 0,01...1,08 (1/2 вироб.) | 0,01...1,08 (1/2 вироб.) | 0,005..0,9 | 0,005..0,9 |
| Швидкість швидких переміщень супорта, поздовжніх, м/хв. | ні | ні | ні | ні |
| Швидкість швидких переміщень супорта, поперечних, м/хв. | ні | ні | ні | ні |
| Межі кроків різьб метричних, що нарізаються, мм | 0,2..6 | 0,2..6 | 0,2..48 | 0,2..48 |
| Межі кроків різьблення дюймових | 24..3,5 | 24..3,5 | 24..0,5 | 24..0,5 |
| Межі кроків різьблення модульних | 0,2..6 | 0,2..6 | 0,2..30 | 0,2..12 |
| Вимикаючі поздовжні упори | є | є | є | є |
| Вимикаючі поперечні упори | ні | ні | є | є |
| Швидке переміщення супорта | ні | ні | ні | ні |
| Різцеві санки | ||||
| Найбільше переміщення верхніх санчат супорта, мм | 120 | 120 | 120 | 120 |
| Ціна поділу лімба, мм | 0,1 | 0,1 | 0,05 | 0,05 |
| Найбільші розміри державки різця, мм | 20 х 20 | 20 х 20 | 16 х 16 | 16 х 16 |
| Ціна розподілу шкали повороту, град | 1 | 1 | 1 | 1 |
| Задня бабка | ||||
| Розмір внутрішнього конуса пінолі задньої бабки за ГОСТ 25557-82 | Морзе 3 | Морзе 3 | Морзе 3 | Морзе 3 |
| Центр пінолі задньої бабки за ГОСТ 13214-79 | Морзе 3 | Морзе 3 | Морзе 3 | Морзе 3 |
| Найбільше переміщення пінолі задньої бабки, мм | 90 | 90 | 85 | 85 |
| Ціна поділу лінійки переміщення пінолі, мм | 1 | 1 | 1 | 1 |
| Ціна поділу лімба переміщення пінолі, мм | 0,05 | 0,05 | ||
| Поперечне зміщення пінолі, мм | ±10 | ±10 | ±10 | ±10 |
| Електроустаткування | ||||
| Кількість електродвигунів на верстаті | 3 | 3 | 3 | 3 |
| Електродвигун головного приводу, кВт | 2,6/3 | 2,6/3 | 3 | 3 |
| Електродвигун станції мастила, кВт | 0,18 | 0,18 | 0,08 | 0,09 |
| Електродвигун насоса охолодження, кВт | 0,12 | 0,12 | 0,12 | 0,18 |
| Насос охолодження (помпа) | ПА-22 | ПА-22 | ПА-22 | ПА-22 |
| Габаритні розміри та маса верстата | ||||
| Габарити верстата (довжина ширина висота), мм | 2030 х 875 х 1220 | 2030 х 875 х 1220 | 1770 х 970 х 1300 | 1790 х 810 х 1400 |
| Маса верстата, кг | 1570 рік | 1570 рік | 1180 | 1180 |