Виробник та розробник токарного верстата моделі 1І611П - Іжевський верстатобудівний завод Іжмаш , заснований у 1807 році.
Історія верстатобудування на Іжевському машинобудівному заводі "Іжмаш" починається 28 липня 1930 р. після виходу наказу №181 про створення верстатобудівного відділу.
Найбільш масовими моделями універсальних токарних верстатів, випущеними в різний час, стали "Удмурт", "Удмурт-2" (161-АМ), ІЖ-250, 1І611П, 1ІС611В, 95ТС, 250ІТВМ, 250ІТВМ4 та токар.
Токарно-гвинторізний верстат 1І611П випускався заводом з 1964 по 1983 рік (майже 20 років) і вважався одним із найкращих верстатів, що випускаються в нашій країні.
Універсальний токарно-гвинторізний верстат 1І611П замінив у виробництві застарілу модель ІЖ-250 і був замінений на більш досконалу модель 250ІТВМ , 250ІТВМ.01, 250ІТВМ.03, 250ІТВМФ1 .
Токарно-гвинторізний верстат 1І611П підвищеної точності інструментальної групи призначений для виконання найрізноманітніших робіт у центрах, цангових або кулачкових патронах по чорних та кольорових металах, включаючи точення конусів, а також для нарізування метричних, модульних, дюймових різьблень.
Токарний верстат 1І611П застосовується для чистових та напівчистових робіт у одиничному та дрібносерійному виробництві. Верстати призначені для експлуатації переважно у багатоповерхових будинках, а також у рухомих ремонтних майстернях та судах.
Токарно-гвинторізний верстат 1І611П забезпечує:
Від моделі ІЖ-250 Верстат 1І611П отримав "двопризмінну" станину (з двома несучими призмами). У процесі вдосконалення, приблизно 1965..1968 роки, конструкція станини придбала сучасний профіль.
Приблизно в цей же період кришка передньої бабки була замінена з круглою литою на штамповану.
Токарно-гвинторізний верстат 1І611П – найбільш масова модель, яку виробляв завод. Він випускався з 1964 по 1982 рік – 18 років. Верстат 1І611П зберіг майже всі вузли попередньої моделі верстата ІЖ-250, ІЖ-250П , але став значно зручнішим в експлуатації.

Габаритні розміри робочого простору верстата 1і611п

Шпиндель токарно-гвинторізного верстата 1и611п
Шпиндель токарно-гвинторізного верстата 1і611п. Дивитись у збільшеному масштабі

Станина токарно-гвинторізного верстата 1и611п
Станина токарно-гвинторізного верстата 1і611п. Дивитись у збільшеному масштабі

Фото токарно-гвинторізного верстата 1и611п
Фото токарно-гвинторізного верстата 1І611П. Дивитись у збільшеному масштабі

Фото токарно-гвинторізного верстата 1и611п в музее завода ИжМаш
Фото токарно-гвинторізного верстата 1І611П. Дивитись у збільшеному масштабі

Фото токарно-гвинторізного верстата 1и611п
Фото токарно-гвинторізного верстата 1І611П. Дивитись у збільшеному масштабі

Фото токарно-гвинторізного верстата 1и611п

Розташування органів керування токарно-гвинторізним верстатом 1і611п

Таблиця різьблення та подач токарного верстата 1и611п
Табличка різьб і подач токарного верстата 1и611п. Дивитись у збільшеному масштабі

Таблиця різьблення та подач токарного верстата 1и611п
Табличка різьб і подач токарного верстата 1и611п. Дивитись у збільшеному масштабі

Таблиця різьблення та подач токарного верстата 1и611п
Табличка різьб і подач токарного верстата 1и611п. Дивитись у збільшеному масштабі

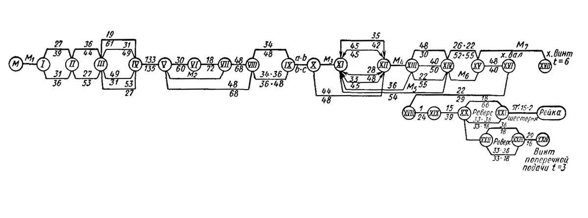
Структурна схема верстата 1и611п (к кінематичної схеме 2.)
Структурна схема токарно-гвинторізного верстата 1И611П. Дивитись у збільшеному масштабі

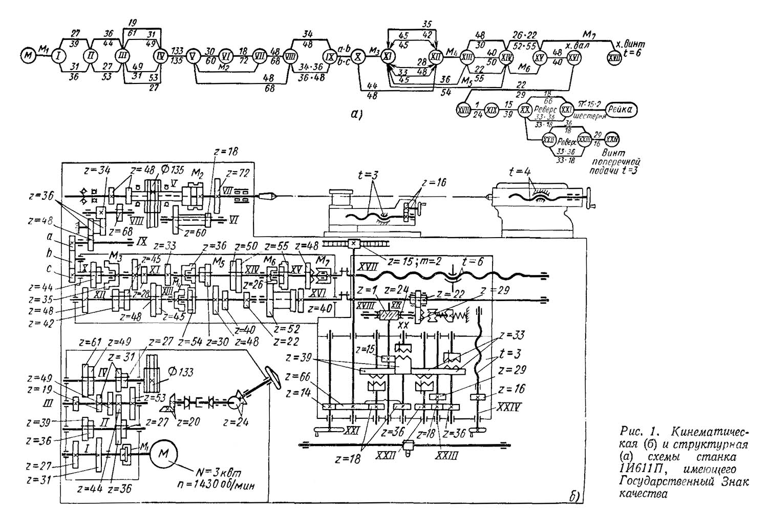
Кінематична схема токарно-гвинторізного верстата 1и611п
1. Схема кінематична токарно-гвинторізного верстата 1И611П. Дивитись у збільшеному масштабі
2. Схема кінематична токарно-гвинторізного верстата 1И611. Дивитись у збільшеному масштабі
3. Схема кінематична токарно-гвинторізного верстата 1И611П. Дивитись у збільшеному масштабі
4. Схема кінематична токарно-гвинторізного верстата 1И611П. Дивитись у збільшеному масштабі
5. Схема кінематична токарно-гвинторізного верстата 1И611. Дивитись у збільшеному масштабі
Кінематична схема верстата изображена на рис 39.
Шпиндель верстата VII получает вращение от електродвигуна (N = 2,8 кВт, n = 1430 об/мин) через коробку швидкостей і механізм передньої бабки. Вал I коробки швидкостей получает вращение от електродвигуна через зубчатую муфту M1, На вал II передаются две частоти обертання 27/39 или 31/36; вал III получает четыре частоти обертання через зубчасті колеса 36/44 или 27/53. На вал IV може быть передано 16 частот обертання через зубчасті колеса 19/61, 31/49 49/31 или 53/27.
Блокировку увімкнення зубчатых колес обеспечивают механізмом преселективного керування (см. рис. 26, в). Вращение з вала IV коробки швидкостей передається на вал V передньої бабки через клиноременную передачу d1 = 133, d2 = 135. С вала V вращение на шпиндель може быть передано непосредственно через муфту М2 или зубчатый перебор (30/60) (18/72).
Таким образом, шпиндель може получать 32 частоти обертання (2x2x4 + 2x2х4 = 32). Фактически рабочих частот обертання меньше, так как некоторые из них повторяются.
Для того чтобы лучше представить кинематические зависимости механізма головного руху, приведем расчет наименьшей і наибольшей частоти обертання шпинделя.
Наименьшая частота обертання:
nmin = 1430 (27/39) (27/53) (19/61) (133/135) (30/60) (18/72) = 20 об/мин
Наибольшая частота обертання:
nmax = 1430 (31/36) (36/44) (49/31) (133/135) = 2000 об/мин.
Аналогично можно рассчитать все остальные частоти обертання шпинделя.
Вращение к механізму подач можно передать со шпинделя через зубчасті колеса 48/68, в случае нарізання нормального шага різьби, і через зубчасті колеса 48/68 з вала V, в случае нарізання увеличенного шага різьби (звено увеличения шага). Шаг нарезаемой різьби можно увеличить в восемь раз. Далее вращение в вала VIII передається на гітару сменных колес (a/d) (c/d) через реверсивный механізм а передачей на зубчасті колеса (34/36) (36/44) или 34/44. С гітари сменных колец вращение передається на вал XI коробки подач.
Коробка подач представляет собой типовой механізм з передвижными блоками і зубчатыми муфтами.
Налаштування на нарезание різьби і подачу передбачає передачу обертання з вала XI на вал XII, далее на вал XIII, XIV, используя при етом соответствующее зацепление зубчатых колее і положение зубчатых муфт М3, М4 і М5, Вращение з вала XIV передається на вал XV механізма передачи обертання на ходовой вал или ходовой винт. Вращение на ходовой винт XVII з шагом t = 6 мм передається при включенных муфтах М6 і М7 через вал XIV і XV или через зубчасті колеса (26/52) (33/55).
Вращение на ходовой вал XVIII осуществляется через зубчасті колеса 48/40 при отключенной муфте М7.
При налаштуванні на нарезание точных різьб рух на ходовой винт XVII передают прямо через валы X, XI, XIV, XV при включенных муфтах МЗ, М5, М6, М7 минуя механізм коробки подач. С ходового вала XVIII вращение через зубчасті колеса 22/29 і муфту М8 передається на вал XIX механізма фартука. Через червячную передачу 1/24 вращение получает вал XX. Рух на реечную пару z = 15, m = 2 мм поздовжньої подачі передається через зубчасті колеса 15/39, муфту M10, зубчасті колеса 18/66; или через зубчасті колеса 15/39, муфту М9, зубчасті колеса 18/66. Рух на ходовой винт поперечної подачі з шагом t = 3 мм передається через зубчасті колеса (15/39) (39/39) (39/33), муфту М12, зубчасті колеса (36/18) (29/16) или через зубчасті колеса (15/39) 39/39) (39/33), муфту М11, зубчасті колеса (36/18) (29/16). Керування муфтами М9, M10, M11, M12 производят мнемонической рукояткой 21 (см, рис. 38), которой включают прямое і обратное перемещение суппорта з соответствующей подачей.
Схема розположення підшибників на токарному станке 1И611П

Схема розположення підшибників на токарному станке 1И611П
Схема розположення підшибників на токарному станке 1И611П. Дивитись у збільшеному масштабі

Список підшибників на токарному станке 1И611П
Список підшибників на токарному станке 1И611П. Дивитись у збільшеному масштабі

Список підшибників на токарному станке 1И611П
Список підшибників на токарному станке 1И611П. Дивитись у збільшеному масштабі

Редуктор токарно-гвинторізного верстата 1и611п
Редуктор, установленный в левой частини тумбы, представляет собой четырехосную коробку швидкостей з приводом от фланцевого електродвигуна. Редуктор имеет плоские направляющие для переміщення по направляющим тумбы при натяжении ременной передачи і закрепляется з помощью плит крепежными болтами.
Изменение чисел оборотів осуществляется преселективным пристрійм, позволяющим производить выбор чисел оборотів во время роботи верстата. Выбор чисел оборотів производится посредством маховика, поворотом которого в двух дисках создается определенная комбинация отверстий под фиксирующие пальцы рычагов, переключающих блоки шестерен.
Переключення швидкостей осуществляют следующим образом: предварительно маховиком устанавливают требуемое число оборотів шпинделя, в нужный момент увімкнення осуществляют з помощью рукоятки в два етапа — вначале рукоятку оттягивают на себя до появления заметного зусилля, удерживая рукоятку в етом положении, выжидают пока не снизится число оборотів шпинделя (не выше 100 об/мин), затем рукоятку оттягивают до отказа, производя, таким образом, увімкнення требуемой скорости.
При работе на низких скоростях шпинделя (ниже 100 об/мин) увімкнення може быть произведено сразу — движением рукоятки до отказа. В случае, если, по каким-либо причинам (остановился двигатель і т. д.) після первой попытки переключения не произошло, необходимо отпустить ручку і повторить переключение снова.

Передня бабка токрно-гвинторізного верстата 1И611П
Передня бабка токрно-гвинторізного верстата 1И611П. Дивитись у збільшеному масштабі

Передня бабка токарно-гвинторізного верстата 1и611п

Передня бабка токарно-гвинторізного верстата 1и611п
В середине бабки на гильзе находится шкив. Рух на шпиндель от редуктора передається четырьмя клиновыми ремнями. Шпиндель верстата получает 12 чисел оборотів от приемного шкива напрямую через зубчатую муфту і 12 — через перебор 1:8. На передньої стенке бабки (справа) находится рукоятка переключения шестерен перебора і зубчатой муфты. Керування перебором і зубчатой муфтой сблокировано так, что одновременное их увімкнення невозможно. Чтобы не смять торцы шестерен, переключение перебора на ходу не рекомендуется.
В корпусе передньої бабки имеется звено увеличения шага (8:1) і трензель, з которого вращение через гітару передається на коробку подач.
Шпиндель верстата 1И611П смонтирован на трех підшипниках:

Регулювання пошипников шпинделя верстата 1И611П
Регулювання пошипников шпинделя верстата 1И611П. Дивитись у збільшеному масштабі
Регулювання радиального зазору переднего підшипника шпинделя производится следующим образом:
Наружное кольцо підшипника устанавливают в корпус, після чего замеряют внутренний диаметр кольца — Д.
На конусную шейку шпинделя устанавливают внутреннее кольцо підшипника з роликами і натягивают его з помощью втулки з длинным направлением до тех пор, пока размер диаметра по ратинам не достигнет величины Д + (2...3 мкм).
После етого втулку удаляют і фиксируют подшипник гайкой 133.
Регулювання осьового зазору в задних підшипниках производится ганкой 117А через диск 115. Для етого необходимо нажать на передний центр по направлению оси шпинделя і подтянуть гайку 117А і диск 115 до касания з подшипником, сохраняя плавность обертання.
Подшипник 46209 - ето шариковый радиально-упорный однорядный подшипник основного конструктивного исполнения. Предназначен для восприятия обоих типов нагрузок, действующих в вузлах механізмов — і радиального, і осьового.
Данный тип очень редко выпускается на лидирующем заводе по производству радиально-упорных підшибників — 3 ГПЗ і только в виде модификации 6-46209Л. Підшипники высоких степеней точності можно купить только з хранения. Также данный тип (той же степени точності) може Вам встретиться производства 20 ГПЗ (Курск) і СПЗ-4 (Самара). Но качество продукции етих заводов не такое хорошее.
Помимо высокоточного оборудования і верстатів (большая часть которых, к сожалению, уже практически не используятся современной отечественной промышленностью), підшипники данного типа применяются в автотехнике, например данный тип установлен на задний мост грузового автомобиля ЗИЛ-133.
Импортные підшипники етого типа имеют маркировку 7209A. Сепаратор из латуни в номере отражается наличием буквы М, из полиамида — буквы D.

Схема підшипника 46209 (7209) токарного верстата 1И611П
Подшипник 8109 - ето шариковый упорный подшипник основного конструктивного исполнения і предназначен он для восприятия исключительно осевых нагрузок при небольших оборотах. Одно из колец в підшипниках етого типа имеет внутренний диаметр на 1 мм больше (то, которое устанавливается в корпус), чем другое (монтируется на вал) і их ни в коем случае нельзя путать, в противном случае срок службы всего вироби значительно сократиться.
В Российской Федерации производятся или производились в недавнем прошлом на 20 ГПЗ (КЗУП, Курск), СПЗ-4 (Самара) і ГПЗ-2 (Москва). Если на подшипнике стоит маркировка отличная от маркировки етих заводов (и всемирно известных брендов KOYO, NACHI, FBJ, SKF) — подшипник скорее всего китайский і долго не прослужит.
Применяется достаточно широко в сельскохозяйственной технике, всевозможных машинах і механізмах.
Підшипники импортного производства (а также китайские і ГПЗ-2) имеют обозначение 51109.

Схема підшипника 8109 (51109) сверлильного верстата 1И611П
Подшипник 3182112 - ето двухрядный роликовый радиальный подшипник, з короткими цилиндрическими роликами, з безбортовым наружным кольцом (вследствие чего комплект тел качения на сепараторе способен перемещаться і создавать «плавающую» опору), з коническим посадочным отверстием (1:12), канавкой і отверстиями для внесения смазочного материала. Основное место експлуатации таких підшибників — верстати различного применения, вузли где действуют высокие радиальные нагрузки і скорости. Этот типоразмер, как і большинство роликопідшибників етой серии производится в настоящее время только высокоточным.
Подшипник всегда выпускался на московском заводе ГПЗ-1, сейчас же его производство переводят в Волжский, на филиал Завода Авиационных Подшипников при 15 ГПЗ (все заводы объединены под егидой Европейской Подшипниковой Корпорации). Изготавливается несколько модификаций, отличающихся по классу точності і материалу сепаратора. Буква К означает наличие кольцевой проточки і трех отверстий для внесения змазки, Е — полиамидный сепаратор. Купить підшипники з гарантией качества можно только у официальных представителей ЕПК, которые есть во многих регионах страны, поскольку в подавляющем большинстве других фирм реализуют неликвидные вироби, которые могут работать і хорошо, но чаще нет. Ориентировочная цена новых заводских изделий составляет до 3800 рублей.
Импортные підшипники етого типоразмера имеют обозначение NN3012K (наличие буквы К в номере обязательно, так как она указывает на коническую посадку). В Россию поставляется продукция разной ценовой категории: наиболее дорогие і надежные — FAG, SKF, подешевле — NACHI і NSK. Еще более дешевый варіант — продукция восточно-европейских производителей — ZKL і FLT, которая чаще всего реализуется неликвидного качества, иногда даже уже бывшая в употреблении, производства 80-ых годов прошлого века. Ориентировочная цена наиболее качественных і дорогих импортных підшибників етого типа составляет около 280 евро, они как есть на складах компаний, так і поставляются под заказ.

Схема підшипника 3182112 токарного верстата 1И611

Фото підшипника 3182112 (NN3012K)

Коробка подач токарно-гвинторізного верстата 1и611п
Коробка подач закрытого типа позволяет без применения сменных шестерен нарезать метрические різьби всех стандартных шагов от 0,2 до 48 мм, дюймовые різьби з числом ниток на дюйм от 24 до 0,5, модульные з модулем 0,2-30 мм і получать подачі в пределах от 0,02 до 6 мм/об. Величина поперечных подач равна половине продольных.
Для нарізання різьб підвищеної точності механізм подач позволяет произвести прямое соединение ходового гвинта з гитарой, минуя механізм подач. При етом каждый шаг подбирается только сменными шестернями гітари.
Гітара крепится на левом торце коробки подач. Общее передаточное отношение ланцюги подач от шпинделя до 1-го ведущего вала гітари 1 : 2.
Передаточное отношение гітари 5:8 соответствует налаштуванні на метрическую резьбу. Для нарізання модульных, дюймовых різьб і різьб підвищеної точності (минуя механізм коробки подач) на гітарі предусмотрена возможность установки сменных шестерен.
В руководстве приводятся данные для налаштування верстата на нарезание різьб підвищеної точності, а также специальных резьб, не указанных в таблице налаштування механізма подач.
Регулювання натяжения ремней (фиг. 20) производится следующим образом: ослабить винты, крепящие плиты 017 і 018 к тумбе верстата, вращением гвинта 121 переместить плиты з укрепленным на них редуктором.
Электродвигатели і аппаратура рассчитаны на увімкнення в сеть напряжением 380 В і з частотой 50 Гц. Напряжение местного освещения 36 В і ланцюги керування 110 В. Для динамического торможения напряжение 60 В постоянного тока.
На станке установлены три трехфазных асинхронных електродвигуна:

Електрична схема токарного верстата 1и611п (1968 год)
Электрические схеми ранних і поздних модификаций верстатів имеют незначительные отличия, которые обусловлены применением более современных комплектующих: см. схему 1968 года і схему 1975 года.

Електрична схема токарного верстата 1и611п (1975 год)
Схема електрична токарно-гвинторізного верстата 1И611П. Дивитись у збільшеному масштабі

Розташування електроустаткування на токарному станке 1и611п

Список елементів електросхеми токарно-гвинторізного верстата 1и611п
Список елементів електросхеми верстата 1И611П. Дивитись у збільшеному масштабі
Подключение електрической частини верстата (Фиг. 15—16) к сети осуществляется выключателем ВС. При нажатии кнопки Кн2 происходит увімкнення магнитного пускателя КМ, которым включается електродвигатель змазки М2.
Затем переводом в верхнее положение рукоятки валика керування нажимается выключатель ВК1, включая пускатель KB (вперед). Последний включит електродвигатель M1 головного привода. При переводе рукоятки валика в нижнее положение нажимается выключатель ВК2, который включит пускатель КН (назад), при етом електродвигателю Ml будет обеспечено обратное вращение.
При установці валика керування из верхнего или нижнего положения в нейтральное через нормально закрытые контакты 3—21, 21—23, 23—25, 25—27 включится реле часу РВ. Реле часу своим нормально открытым контактом включит пускатель тормоза КТ, а другой закрытый контакт РВ з выдержкой часу разомкнет ланцюг етого пускателя. Величина выдержки настраивается на время, необходимое для полного останова електродвигуна головного приводу Ml, но не более 2,5 сек., так как налаштування на более длительное время може привести к выходу из строя селенового выпрямителя і трансформатора. Электродинамическое торможение происходит путем подачі постоянного тока от селенового выпрямителя СВ в обмотку статора електродвигуна. Конечный выключатель ВК3 служит для притормаживания електродвигуна M1 в момент переключения шестерен редуктора на ходу. Увімкнення електронасоса охлаждения производится выключателем ВН при работающем електродвигателе змазки М2. Увімкнення освещения осуществляется выключателем ВО.
При установці верстат должен быть надежно заземлен, т. е. подключен к общей системе заземления цеха. Болт заземления і ввод для електроживлення находятся позади верстата в нижней частини тумбы.
Перед пуском в ход електродвигателей следует:
Для обеспечения нормальной роботи електродвигуна частота увімкнення не должна превышать четырех в минуту, частота реверсирования не более двух в минуту.
При експлуатации електродвигателей необходимо обращать внимание на их смазку. Не реже двух раз в год проверять шарикопідшипники і заменять старую смазку новой. Промывать підшипники следует бензином, употребление керосина не допускается. В случае сильного износа шарикопідшипники должны быть заменены новыми.
Электродвигатели і аппаратуру необходимо регулярно очищать от пыли і грязи сухой тряпкой. Во избежание разъедания слоя изоляции не допускается промывать обмотки електродвигателей бензином или керосином.
Не реже одного раза в декаду следует проверять состояние контактных з'єднань і проводов, подводящих ток к електродвигунам.
Необходимо также проверять плотность контакта болта заземления. Следить за исправностью магнитных пускачів, своевременно подчищать подгоревшие контакты наждачным полотном или бархатным напильником. Смазывать контакты нельзя. Износившиеся контакты должны быть своевременно заменены новыми.
Коррозия на магнитопроводах електроаппаратов вызывает усиленное гудение, поетому их рабочие поверхности периодически должны смазываться машинным маслом і затем протираться насухо.
Не рекомендуется выключать верстат пакетным выключателем ВС во время его роботи.
В случае отключения електродвигуна тепловым реле необходимо выявить причину і після 15-мннутного перерыва кнопкой возврата включить тепловое реле. Только після етого можно продолжать работу.
Тепловые реле имеют регулировку в пределах 25% от номинального тока.
При осмотре или ремонтi електроапаратури выключатель ВС должен быть выключен.
Примечание. При работе верстата з частыми пусками или реверсами необходимо регулятор тока уставки теплового реле РТ1 поставить в плюс до максимума или зашунтировать нагревательные елементы.
| Наименование параметра | ИЖ-250П | 1И611П | 250-ИТВ | 250ИТВМ.01 |
|---|---|---|---|---|
| Основні параметри | ||||
| Класс точності по ГОСТ 8-82 | Н,П | П | В | В |
| Наибольший диаметр заготовки устанавливаемой над станиной, мм | 250 | 260 | 300 | 300 |
| Наибольший диаметр заготовки обрабатываемой над станиной, мм | 250 | 250 | 240 | 240 |
| Наибольший диаметр заготовки над суппортом, мм | 125 | 125 | 168 | 168 |
| Наибольшая длина заготовки (РМЦ), мм | 500 | 500 | 500 | 500 |
| Наибольшая длина обточки, мм | 500 | |||
| Высота центров, мм | 150 | 135 | 150 | 150 |
| Высота резца, мм | 20 х 20 | 16 х 16 | 16 х 16 | 16 х 16 |
| Шпидель | ||||
| Диаметр сквозного отверстия в шпинделе, мм | 33 | 25 | 25 | 25 |
| Наибольший диаметр прутка, мм | 30 | 24 | 24 | 24 |
| Число ступеней частот прямого обертання шпинделя | 22 | 21 | 18 | 21 |
| Частота прямого обертання шпинделя, об/мин (число ступеней) | 16..2000 (22) | 20..2000 (21) | 63..3150 (18) | 25..2500 (21) |
| Размер внутреннего конуса в шпинделе (ГОСТ 13214) | Морзе 5 | Морзе 4 | Морзе 4 | Морзе 4 |
| Торможение шпинделя | есть | есть | есть | есть |
| Кінець шпинделя по ГОСТ 12593-72 | М68х6 | 4 | 4К | 4 |
| Подачи | ||||
| Наибольшая длина ходу каретки, мм | 500 | 500 | 500 | 500 |
| Наибольшее поперечное перемещение суппорта, мм | 150 | 180 | 170 | 165 |
| Продольное перемещение суппорта за один оборот лимба, мм | 23,5 | 20 | 20 | |
| Цена деления лимба продольного переміщення суппорта, мм | 0,1 | 0,1 | 0,1 | 0,1 |
| Цена деления лимба поперечного переміщення суппорта, мм | 0,05 | 0,02 | 0,02 | 0,05 |
| Поперечное перемещение суппорта за один оборот лимба, мм | 3 | 3 | 2 | 3 |
| Число ступеней продольных подач | 25 | 24 | 21 | |
| Пределы рабочих подач продольных, мм/об | 0,02..2,17 | 0,01..3 (25) | 0,01..1,5 | 0,01..1,8 |
| Число ступеней поперечных подач | 25 | 24 | 21 | |
| Пределы рабочих подач поперечных, мм/об | 0,01..1,08 | 0,005..1,5 | 0,005..0,75 | 0,005..0,9 |
| Скорость быстрых перемещений суппорта, продольных, м/мин | нет | нет | нет | нет |
| Наибольшее допустимое тяговое усилие, Н (кг) | 5000 (500) | |||
| Количество нарезаемых різьб метрических | 33 | 30 | 33 | |
| Пределы шагов нарезаемых різьб метрических, мм | 0,2..6 | 0,2..48 (33) | 0,2..24 (30) | 0,2..48 (33) |
| Количество нарезаемых різьб дюймовых | 26 | 21 | 26 | |
| Пределы шагов нарезаемых різьб дюймовых, ниток на дюйм | 24..3,5 | 24..0,5 (26) | 24..1 (21) | 24..0,5 (26) |
| Количество нарезаемых різьб модульных | 35 | 21 | 25 | |
| Пределы шагов нарезаемых різьб модульных, модули | 0,2..6 | 0,2..30 (35) | 0,2..6 (21) | 0,2..12 (25) |
| Пределы шагов нарезаемых різьб питчевых | нет | нет | нет | нет |
| Верхние салазки суппорта (Резцовые салазки) | ||||
| Наибольшее перемещение салазок, мм | 120 | 120 | 120 | |
| Цена деления лимба переміщення салазок, мм | 0,1 | 0,05 | 0,02 | |
| Перемещение салазок за один оборот лимба, мм | 3 | |||
| Різьбопокажчик | нет | нет | нет | нет |
| Блокировка | есть | есть | есть | есть |
| Предохранение от перегрузок | есть | есть | есть | есть |
| Выключающие упоры продольные / поперечные | есть/ нет | есть | есть | есть |
| Быстрый ход | нет | нет | нет | нет |
| Задня бабка | ||||
| Центр в пиноли задньої бабки | Морзе 3 | Морзе 3 | Морзе 3 | Морзе 3 |
| Наибольшее перемещение пиноли задньої бабки, мм | 90 | 85 | 85 | |
| Цена деления линейки/ лимба переміщення пиноли задньої бабки, мм | 1/ 0,05 | 1/ 0,05 | ||
| Поперечное смещение задньої бабки, мм | ±10 | ±10 | ±10 | ±10 |
| Електроустаткування | ||||
| Количество електродвигателей на станке | 3 | 3 | 3 | 3 |
| Мощность електродвигуна головного привода, кВт (об/мин) | 2,6/ 3 (1420/ 2800) | 3 (1420) | 3 (1430) | 3 (1410) |
| Тип електродвигуна головного привода | ФТ-42-4/2 | АОЛ2-32-4 | АИР100S4ПУ3 | |
| Мощность електродвигуна станції змазки, кВт (об/мин) | 0,18 (1400) | 0,08 (1390) | 0,09 (2700) | 0,09 (1350) |
| Тип електродвигуна гідростанції | АОЛ-012-4 | АОЛ-012-4 | ||
| Тип станції змазки | С48-12М | |||
| Мощность електродвигуна насоса охлаждения, кВт (об/мин) | 0,125 (2800) | 0,15 (2800) | 0,12 (2800) | 0,18 (3000) |
| Насос охлаждения (помпа) | ПА-22 | ПА-22 | ПА-25МС | |
| Габарити і масса верстата | ||||
| Габарити верстата (длина ширина высота), мм | 2030 х 875 х 1220 | 1770_970_1300 | 1790_810_1400 | |
| Маса верстата, кг | 1570 рік | 1120 | 1180 |
1И611П верстат токарно-гвинторізний: - паспорт, (djvu), 1968 г., 1,1 Мб, Скачать