Виробник токарно-гвинторізного верстата моделі ІЖ-250 - Іжевський машинобудівний завод "Іжмаш" , заснований у 1807 році.
Історія верстатобудування на Іжевському машинобудівному заводі "Іжмаш" починається 28 липня 1930 р. після виходу наказу №181 про створення верстатобудівного відділу.
Першою продукцією верстатобудівного виробництва на заводі став токарний верстат фірми "Леве" із зовнішньою трансмісією.
Найбільш масовими моделями універсальних токарних верстатів, випущеними в різний час, стали "Удмурт", "Удмурт-2" (161-АМ), ІЖ-250, 1І611П, 1ІС611В, 95ТС, 250ІТВМ, 250ІТВМ4 та токар.
Універсальний токарно-гвинторізний верстат моделі ІЖ-250 має висоту центрів 150 мм та відстань між центрами 500 мм.
Токарно-гвинторізний верстат ІЖ-250 - один із перших серійних верстатів, що випускаються Іжевським машинобудівним заводом у повоєнні роки. Випускався верстат до 1964 року, коли на зміну йому прийшов значно досконаліший токарно-гвинторізний верстат 1І611П .
Токарний верстат ІЖ-250 випускався порівняно недовго (1960-1964 роки). Верстат кардинально перероблений по відношенню до свого попередника (модель 161-АМ (Удмурт-2) ).
Верстати токарно-гвинторізні моделей ІЖ-250 призначені для токарної обробки в центрах, патроні або цангі, а також для нарізування різьблень метричної, модульної та дюймової для експлуатації на великих та малих підприємствах.
Верстати можуть застосовуватися в інструментальному та приладобудівному виробництві, пов'язаному з точною обробкою невеликих за розмірами деталей.
Верстат ІЖ-250П має підвищений клас точності та застосовується для виконання точніших робіт.
Шпиндель токарно-гвинторізного верстата ІЖ-250 встановлений на три підшипники кочення:
Шпиндель токарно-гвинторізного верстата ІЖ-250П встановлений на бронзові розрізні регульовані підшипники ковзання.
Кінець шпинделя різьбовий М68×6. Стандартний патрон Ø200 мм встановлюється на проміжний (перехідний) фланець, що нагвинчується на різьблення до упору. Діаметр отвору у шпинделі Ø 33 мм під пруток Ø 30 мм. Конус Морзе 5.
Редуктор встановлений у лівій тумбі верстата і є чотиривісною коробкою швидкостей, що отримує рух від фланцевого електродвигуна. Від редуктора через клинопасову передачу рух передається на шпиндель. На приводному валу редуктора розташовані фрикційна пластинчаста муфта та гальмо. Муфта забезпечує включення-вимикання обертання шпинделя, а гальмо зменшує час обертання шпинделя.
Коробка подач отримує рух через гітару від коробки швидкостей передньої бабки.
Крок різьблення та швидкість подачі вибирається рукоятками на передній кришці коробки подач.
Супорт верстата отримує рух від ходового валу, з'єднаного з вихідним валом коробки подач. При нарізанні різьблення рух супорта забезпечується ходовим гвинтом, при цьому ходовий вал не повинен обертатися.
Фартух супорта перетворює обертальний рух ходового валу або ходового ггвинта в поздовжній і поперечний рух супорта. Фартух також забезпечує ручне поздовжнє переміщення супорта від маховика.
Електроустаткування , встановлене на верстаті ІЖ-250:
Виробник – Іжевський машинобудівний завод Іжмаш. Початок серійного випуску – 1960 рік.

Габарити робочого простору токарного верстата ІЖ-250

Шпиндель токарного верстата ИЖ-250
Шпиндель токарного верстата ІЖ-250 Дивитись у збільшеному масштабі

Станина токарного верстата ИЖ-250
Станина токарного верстата ІЖ-250. Дивитись у збільшеному масштабі

Фото токарного верстата ИЖ-250
Фото токарно-гвинторізного верстата ИЖ-250. Дивитись у збільшеному масштабі

Фото токарного верстата ИЖ-250
Фото токарно-гвинторізного верстата ИЖ-250. Дивитись у збільшеному масштабі

Фото токарного верстата ИЖ-250

Розташування органів керування токарно-гвинторізним верстатом ИЖ-250
Органы керування токарно-гвинторізним верстатом ИЖ-250. Дивитись у збільшеному масштабі

Кінематична схема токарно-гвинторізного верстата ИЖ-250
Схема кінематична токарно-гвинторізного верстата ИЖ-250. Дивитись у збільшеному масштабі

Схема розположення підшибників токарного верстата ИЖ-250
Схема розположення підшибників токарного верстата ИЖ-250. Дивитись у збільшеному масштабі
Станина жесткой конструкції з диагональными ребрами, з призматическими направляющими. На верхней частини станины расположены 4 направляющие: две внешние — призматические для переміщення каретки суппорта і две внутренние -- одна призматическая і одна плоская для переруху задньої бабки. Станина устанавливается на пустотелые тумбы. Между тумбами установлено корито для стружки і жидкости, выдвигающееся вперед по пазам, пролитым в тумбах. В левой тумбе смонтирован редуктор з фланцевым двухскоростным електродвигуном.
На задньої частини левой тумбы установлен шестеренчатый насос з фильтром для змазки. Резервуар для масла расположен в верхней частини тумбы.
В нише правой тумбы смонтировано електрообладнання верстата. С задньої стороны тумбы на кронштейне укреплен електронасос для охлаждающей жидкости. Резервуаром для жидкости служит полость правой тумбы.
Редуктор, установленный в левой тумбе, представляет собой четырехосную коробку з приводом от фланцевого двигуна. На приводном валу редуктора расположены фрикционная пластинчатая муфта і тормоз. Муфта обеспечивает увімкнення і вимкнення обертання шпинделя, а тормоз уменьшает время обертання шпинделя по инерции після его виключення. Керування фрикционной муфтой і тормозом осуществляется посредством рукоятки 1 (фиг. 8). При її повороте вправо вначале должно произойти відключення фрикционной муфты, а затем увімкнення тормоза. Внутри коробки рух идет через валик фрікциону і шестеренчатый механізм к шкиву, установленному на выходном валу редуктора.

Передня бабка токарно-гвинторізного верстата ИЖ-250
Передня бабка токарно-гвинторізного верстата ИЖ-250. Дивитись у збільшеному масштабі
Передня бабка устанавливается на станине з левой стороны. Рух на шпиндель бабки передається от редуктора клиновидными ремнями. Шпиндель верстата получает 12 чисел оборотів от приемного шкива напрямую через зубчатую муфту і 10 швидкостей через перебор 1 : 10. На стенке передньої бабки находится рукоятка переключения шестерен перебора і зубчатой муфты: Она имеет три положения. Керування перебора і зубчатой муфты сблокировано так, что одновременное их увімкнення невозможно.
Радиальная нагрузка на шпиндель воспринимается передним роликовым 2-х рядным подшипником і задним радиальным. Підшипники устанавливаются в корпусе бабки, перемещение вдоль которой осуществляется регулировкой радиального зазор.)
Осевая нагрузка на шпиндель воспринимается упорным шарикоподшипником, смонтированным в задньої опоре.
Шпиндель разгружен от радиальных усилий, вызываемых натяжением ремня.
Передний конец шпинделя имеет канавку для предохранителей, предотвращающих самопроизвольное свинчивание патронов при остановке или реверсировании верстата.

Коробка подач токарно-гвинторізного верстата ИЖ-250
Коробка подач токарно-гвинторізного верстата ИЖ-250. Дивитись у збільшеному масштабі
Коробка подач получает рух от передньої бабки через гітару. Механізм коробки подач, при соответствующей налаштуванні гітари, позволяет получить метрические різьби з шагом 0,2..6 мм, дюймовые різьби з числом ниток на дюйм от 24 до 3,1/2, подачі от 0,02 мм до 0,84 мм/об і модульные різьби з модулями ОТ 0,2 мм до 6 мм. і диапазоном подач 0,07 — 2,17 мм/об.
Для получения более точных різьб і коробке подач предусмотрено положение, когда ходовой винт соединяется напрямую з гитарой, минуя механізм подач. При етом нужный шаг різьби подбирается сменными шестернями гітари.
Выходной вал коробки подач соединяется з ходовым валиком регулируемой предохранительной шариковой муфтой, которая срабатывает при перегрузке в ланцюги подач.
Гітара установлена на левом торце коробки подач. Общее передаточное отношение ланцюги подач от шпинделя до 1-го ведущего вала гітари 1 : 1. Передаточное отношение шестерен гітари 5:8 соответствует налаштуванні на метрическую резьбу. Передаточное отношение шестерен гітари при нарезании дюймовой різьби: 60 · 127/ 110 · 96
Налаштування шестерен гітари на указанные передаточные отношения достигается за счет зацепления ведущей шестерни гітари поочередно то з одной, то з другой ведомой шестерней двойного блока шестерен гітари.
Для нарізання модульных різьб і різьб при прямом включении ходового гвинта на гітарі предусмотрена постановка сменных шестерен. В руководстве имеются указания указания по налаштуванні гітари на указанные різьби.
Сменные шестерни к верстату не прикладываются і могут быть изготовлены только по особому зааказу.
Задня бабка (фиг. 14) имеет жесткий корпус. Рукояткой через винтовой механізм она крепится к станине.
Дли более жесткого креплении бабки к станине предусмотрен дополнительный болт. Конструкція бабки позволяет обрабатывать небольшие конуса за счет смешения корпуса (3) относительно поддона (2). Корпус бабки закрепляется в нужном положении гвинтами (1).
Фартук закрытого типа з задньої крышкой. Фартук обеспечивает получение продольных і поперечных подач суппорта вручную, механически от коробки подач через ходовой валик, а также нарезание різьб по ходовому винту.
Наличие блокировочного пристроя исключает возможность одновременного увімкнення ходового вала і ходового гвинта. Передача обертання з ходового вала на шестерни фартука производится з помощью конических шестерен. Увімкнення поздовжньої і поперечної подач осуществляется включением муфт з пилообразным зубом. Реверс подачі осуществляется за счет переміщення конических шестерен, связанных непосредственно з ходовым валом. С левой стороны фартук имеет маховик для ручного переміщення суппорта. На оси маховика установлен лимб продольных подач з ценой деления 0,1 мм. С правой стороны фартука расположена рукоятка для увімкнення гайки ходового гвинта. Верхнее положение рукоятки соответствует выключенному положению гайки ходового гвинта, нижнее — включенному.
При нарезании різьби реечная шестерня выводится из зацепления з рейкой переміщенням рукоятки, находящейся маховика.
Суппорт крестовой конструкції имеет ручное і механическое продольное перемещение по направляющим станины і поперечное перемещение по направляющим каретки.
Кроме того, верхняя часть суппорта, несущая на себе четырехрезцовую головку, имеет независимое ручное перемещение по направляющим средней поворотной частини і може поворачиваться па 90° в ту і другую сторону.
Осевое усилие поперечного гвинта воспринимается упорными шариком Лимбы поперечної подачі і подачі верхней частини суппорта выполнены з ценой деления 0,05 мм.
Охлаждающая жидкость из резервуара правой тумбы електронасосом типа ПА производительностью 22 л/мин подается к режущему инструменту. Отработанная жидкость поступает в корито і стекает через сетку обратно в резервуар. Количество охлаждающей жидкости, подводимой к режущему инструменту, регулируется краном на трубопроводе. Пуск електронасоса производится поворотом правого переключателя на правой тумбе. Сетку і трубопровод необходимо по мере загрязнения чистить.
Ограждение — служит для защиты токаря от стружки. Оно крепится шарнирно на верхней частини суппорта і в случае надобности може быть повернуто к задньої частини верстата, не мешая при етом производить различные наверочные роботи.
Освещение — на правом кінці з задньої частини каретки на угольнике укреплена осветительная арматура К1; увімкнення лампочки производится тумблером, расположенным на пульті над коробкой подач.
Верстат снабжен трехкулачковым самоцентрирующим патроном Ø 200 ГОСТ 2675—47 і поводковым патроном. Поводковый патрон (фиг. 15) или трехкулачковый патрон навертывается на резьбу шпинделя до упора і удерживается от свинчивания при остановке і реверсе шпинделя двумя предохранительными шайбами 2 з помощью винтов 3 (фиг. 15).
Фланец к трехкулачковому патрону прикладывается з припуском на приточку под посадочное место патрона потребителем.

Схема змазки токарно-гвинторізного верстата ИЖ-250
Схема змазки токарно-гвинторізного верстата ИЖ-250. Дивитись у збільшеному масштабі
Регулювання подачі масла осуществляется дросселями (фиг. 17 узел А).
Коробка подач і редуктор смазываются разбрызгиванием масла. Перед пуском верстата резервуары коробки подач, редуктора, фартука, а также левой тумбы должны быть наполнены:
Смазка механізма фартука осуществляется от плунжерного насоса, установленного в нижней частини фартука (фиг. 17 узел Б). Необходимо мати в виду, что при выключенном реечном зацеплении (при нарезании резьб) насос не работает, ПОЭТОМУ ДЛЯ подачі змазки к ходовому винту надо периодически делать несколько оборотів вручную маховиком поздовжньої подачі.
Все остальные места верстата, нуждающиеся в смазке, имеют ручную смазку от окремих масленок согласно схеме змазки.
В период експлуатации необходимо следить за работой масляных насосов і через маслоуказатель за количеством смазочного материала в резервуарах.
Перед первоначальным пуском верстата необходимо:
1) Проверить, наличие масла в редукторе, резервуаре левой тумбы, коробке подач, фартуке.
2) Проверить заземление верстата; если верстат не заземлен - заземлить.
3) После подключения к сети верстат необходимо включить на минимальное число оборотів шпинделя, разогреть его в течение 10..15 минут, затем проверить па холостом ходу работу механізмов верстата, масляных насосов і приступить к налаштуванні верстата для его роботи.

Регулювання токарного верстата ИЖ-250
Регулювання токарного верстата ИЖ-250. Дивитись у збільшеному масштабі
Желательно, чтобы регулировку підшибників шпинделя производил всегда один і тот же специалист, т. к. от правильной регулировки зависит точность верстата.
Регулировке подвергаются підшипники как правой так і левой опори (фиг. 18)
Усунення радиального люфта і в прaвой опоре шпинделя производится следующим образом: утопив винт 5, ослабляют гайку 4 і при вывернутом винте 1, поворотом гайки 2 внутреннее кольцо роликопідшипника 3 натягивают на коническую шейку шпинделя, затягивают гайку 4, вывинчивают стопорный винт 5 і ввинчивают стопорный винт 1.
Регулювання підшибників 7 і 8 левой опори производится при помощи гаек 6.

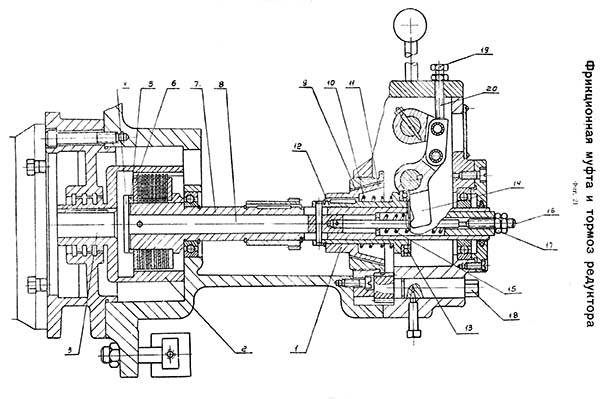
Фрикционная муфта і тормоз редуктора токарного верстата ИЖ-250
Тормоз верстата расположен в редукторе і находится на одном валу з фрикционной муфтой. При повороте рукоятки тормоза вилка 14 давит на упорный шарикоподшипник (8109 ГОСТ 6874-54) і перемещает втулку.
Вместе з ней перемещается влево валик 8 і диск 4 — муфта расцепляется. Одновременно при перемещении ВТУЛКИ стакан 11 своим наружным конусом з помощью пружины 10 прижимается к внутреннему конусу шестерни 9 — происходит торможение.
Растормаживание осуществляется пружиной 15. Регулювання зазору между ведущим і ведомым дисками фрикционной муфты производится гайками 17, при завертывании которых кольцо 5 з помощью тяги 16, валика 8 і диска 4 нажимает на диск 6, уменьшая тем самым зазор между ведущими і ведомыми дисками.
Регулювання тормоза осуществляется поворотом вала-шестерни 18. При повороте вала-шестерни 18 вправо происходит вывинчивание шестерик 9 из диска і зазор между шестерней 9 і стаканом 11 уменьшится.
Регулювання холостого ходу рукоятки 1 редуктора производится винтом 19 з контргайкой 20. Рукоятка 1 в крайнем левом положении должна мати небольшой люфт (10..15 мм у кінця рукоятки).
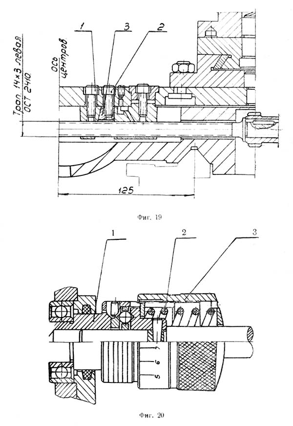
Регулювання люфта гвинта поперечної подачі (см. фиг. 19)
Регулювання предохранительной муфты коробки подач (см. фиг. 20)
| Наименование параметра | ИЖ-250 | ИЖ-250П | 1И611п | 250итвм |
|---|---|---|---|---|
| Основні параметри | ||||
| Класс точності по ГОСТ 8-82 | Н | П | П | В |
| Наибольший диаметр заготовки обрабатываемой над станиной, мм | 250 | 250 | 250 | 240 |
| Наибольший диаметр заготовки обрабатываемой над суппортом, мм | 125 | 125 | 125 | 168 |
| Наибольшая длина заготовки (РМЦ), мм | 500 | 500 | 500 | 500 |
| Высота оси центров над плоскими направляющими станины, мм | 150 | 150 | 130 | 150 |
| Высота от опорной поверхности резца до линии центров, мм | 20 | 20 | 16 | 16 |
| Наибольшее рассояние от оси центров до кромки резцедержателя, мм | 130 | 127 | ||
| Шпиндель | ||||
| Диаметр сквозного отверстия в шпинделе, мм | 33 | 33 | 27 | 25 |
| Наибольший диаметр прутка, проходящий через отверстие в шпинделе, мм | 30 | 30 | 24 | 24 |
| Количество ступеней прямого обертання шпинделя, об/мин | 22 | 22 | 21 | 21 |
| Частота прямого обертання шпинделя, об/мин | 16..2000 | 16..2000 | 20..2000 | 25..2500 |
| Размер внутреннего конуса в шпинделе, М | Морзе 5 | Морзе 5 | Морзе 4 | Морзе 4 |
| Кінець шпинделя по ГОСТ 12593-72 | резбовой | резбовой | 4 | 4 |
| Торможение шпинделя | Есть | есть | есть | |
| Подачи | ||||
| Наибольшая длина ходу каретки суппорта, мм | 500 | 500 | 500 | 500 |
| Цена деления лимба продольного переміщення суппорта, мм | 0,1 | 0,1 | 0,1 | 0,1 |
| Продольное перемещение за один оборот лимба, мм | 23,5 | 23,5 | 20 | 20 |
| Наибольшее поперечное перемещение суппорта, мм | 150 | 150 | 180 | 165 |
| Цена деления лимба поперечного переміщення суппорта, мм | 0,05 | 0,05 | 0,02 | 0,05 |
| Поперечное перемещение за один оборот лимба, мм | 3 | 3 | 3 | 3 |
| Пределы рабочих подач продольных, мм/об | 0,07..2,17 | 0,07..2,17 | 0,01..1,8 | 0,01..1,8 |
| Пределы рабочих подач поперечных, мм/об | 0,01..1,08 (1/2 от прод.) | 0,01..1,08 (1/2 от прод.) | 0,005..0,9 | 0,005..0,9 |
| Скорость быстрых перемещений суппорта, продольных, м/мин | нет | нет | нет | нет |
| Скорость быстрых перемещений суппорта, поперечных, м/мин | нет | нет | нет | нет |
| Пределы шагов нарезаемых різьб метрических, мм | 0,2..6 | 0,2..6 | 0,2..48 | 0,2..48 |
| Пределы шагов нарезаемых різьб дюймовых | 24..3,5 | 24..3,5 | 24..0,5 | 24..0,5 |
| Пределы шагов нарезаемых різьб модульных | 0,2..6 | 0,2..6 | 0,2..30 | 0,2..12 |
| Выключающие продольные упоры | есть | есть | есть | есть |
| Выключающие поперечные упоры | нет | нет | есть | есть |
| Быстрое перемещение суппорта | нет | нет | нет | нет |
| Резцовые салазки | ||||
| Наибольшее перемещение верхних салазок суппорта, мм | 120 | 120 | 120 | 120 |
| Цена деления лимба, мм | 0,1 | 0,1 | 0,05 | 0,05 |
| Наибольшие розміри державки резца, мм | 20 х 20 | 20 х 20 | 16 х 16 | 16 х 16 |
| Цена деления шкалы поворота, град | 1 | 1 | 1 | 1 |
| Задня бабка | ||||
| Размер внутреннего конуса пиноли задньої бабки по ГОСТ 25557-82 | Морзе 3 | Морзе 3 | Морзе 3 | Морзе 3 |
| Центр пиноли задньої бабки по ГОСТ 13214-79 | Морзе 3 | Морзе 3 | Морзе 3 | Морзе 3 |
| Наибольшее перемещение пиноли задньої бабки, мм | 90 | 90 | 85 | 85 |
| Цена деления линейки перемещение пиноли, мм | 1 | 1 | 1 | 1 |
| Цена деления лимба перемещение пиноли, мм | 0,05 | 0,05 | ||
| Поперечное смещение пиноли, мм | ±10 | ±10 | ±10 | ±10 |
| Електроустаткування | ||||
| Количество електродвигателей на станке | 3 | 3 | 3 | 3 |
| Електродвигун головного привода, кВт | 2,6/ 3 | 2,6/ 3 | 3 | 3 |
| Електродвигун станції змазки, кВт | 0,18 | 0,18 | 0,08 | 0,09 |
| Електродвигун насоса охлаждения, кВт | 0,12 | 0,12 | 0,12 | 0,18 |
| Насос охлаждения (помпа) | ПА-22 | ПА-22 | ПА-22 | ПА-22 |
| Габаритные розміри і масса верстата | ||||
| Габарити верстата (длина ширина высота), мм | 2030 х 875 х 1220 | 2030 х 875 х 1220 | 1770 х 970 х 1300 | 1790 х 810 х 1400 |
| Масса верстата, кг | 1570 | 1570 | 1180 | 1180 |