Виробник токарного верстата 250ІТВМ - Іжевський верстатобудівний завод Іжмаш , заснований у 1807 році.
Історія верстатобудування на Іжевському машинобудівному заводі "Іжмаш" починається 28 липня 1930 р. після виходу наказу №181 про створення верстатобудівного відділу.
Першою продукцією верстатобудівного виробництва на заводі став токарний верстат фірми "Леве" із зовнішньою трансмісією.
Найбільш масовими моделями універсальних токарних верстатів, випущеними в різний час, стали "Удмурт", "Удмурт-2" (161-АМ), ІЖ-250, 1І611П, 1ІС611В, 95ТС, 250ІТВМ, 250ІТВМ4 та токар.
Верстати токарно-гвинторізні моделей 250ІТВМ призначені для токарної обробки в центрах, патроні або цанзі, а також для нарізування різьблень метричної, модульної та дюймової для експлуатації на великих та малих підприємствах.
Верстати можуть застосовуватися в інструментальному та приладобудівному виробництві, пов'язаному з точною обробкою невеликих за розмірами деталей.
З метою тривалого збереження точності обробки верстати 250ІТВМ необхідно використовувати тільки для фінішних або напівчистових операцій. Верстат моделі 250ІТВМФ1 оснащений системою цифрової індикації (надалі УЦІ), що дозволяє підвищити продуктивність праці за рахунок скорочення допоміжного часу на пробні проходи, вимірювання деталей. Застосування УЦІ полегшує роботу токаря за рахунок виключення розрахунків та необхідності запам'ятовування оборотів лімбу.
Конструкція універсальних токарно-гвинторізних верстатів моделей 250ІТВМ виконана на базі верстата ІЖ1І611П та 250-ІТВ (ІЖ 250-ІТВ) .
Верстат моделі 250ІТВМ є базовою моделлю для верстатів 250ІТВМ.03, 250ІТВМФ1, 250ІТПМ.
Верстат моделі 250ІТВМФ1 додатково оснащується пристроєм цифрової індикації (УЦІ).
Верстат 250ІТПМ (клас точності П за ГОСТ 8-82) застосовується для виконання грубіших і менш точних робіт і виготовляється за особливим замовленням.
Конструкція верстата моделі 250ІТВМ.03 відрізняється від базової моделі 250ІТВМ великою міжцентровою відстанню (500 мм та 750 мм)
Привід головного руху здійснюється від електродвигуна через дванадцяти швидкісний редуктор, клинові та поліклінові ремені. При повороті маховика у двох селекторних дисках створюється певна комбінація отворів під фіксуючі пальці важелів, що перемикають блоки шестерень. Після цього відтягуванням рукоятки на себе спочатку здійснюється пригальмовування шестерень, що обертаються, а потім їх перемикання. У передній бабці розміщені приймальний шків, шпиндель, перебір 1:8, ланка збільшення кроку різьблення. Верстат моделі 250 ІТВМФ1 оснащений системою цифрової індикації (УЦІ).
Оснащення верстата УЦІ дозволяє:
Для точного відліку поперечних переміщень передбачено механізм-верньєр, що дозволяє здійснювати переміщення 0,005 мм/об. Коробка подач забезпечує широкий діапазон величин різьби, подовжньої і поперечної подач. Для нарізування точного різьблення передбачено пряме з'єднання ходового ггвинта з гітарою, минаючи механізм коробки подач.
Фартух закритого типу забезпечує поздовжні та поперечні подачі супорта вручну та механічно від ходового валика, а також нарізування різьблення за допомогою ходового ггвинта. Керування подачами здійснюється однією рукояткою. Напрямок включення рукоятки збігається з напрямком переміщення супорта. Наявність блокувального пристрою виключає можливість одночасного включення ходового ггвинта та ходового валика, а також поздовжньої та поперечної подач. На верстаті встановлюються електродвигуни та апаратура, розраховані на напругу 380 В трифазного змінного струму частотою 50Гц, напрузі місцевого освітлення 36 В. Підключення верстата до електромережі здійснюється пакетним вмикачем.
Клас точності верстатів 250ІТВМ за ГОСТ 8-82
Верстати призначені для використання в умовах УХЛ4 ГОСТ 15150-69.
У верстатах використані винаходи за авторськими свідоцтвами 173094, 312739, 249142, 28М05, 288496, 583912, 831503, 1199461.
Верстати сертифіковані. Сертифікат відповідності № РОСС UA.АЯ04.В10876, термін дії до 17.06.2006 року.

Габарити робочого простору верстата 250ітвм

Фото токарно-гвинторізного верстата 250итвм
Фото токарно-гвинторізного верстата 250ітвм. Завантажити у збільшеному масштабі

Фото токарно-гвинторізного верстата 250итвм
Фото токарно-гвинторізного верстата 250ітвм. Завантажити у збільшеному масштабі

Фото передньої бабки токарно-гвинторізного верстата 250итвм

Фото передньої бабки токарно-гвинторізного верстата 250итвм
Фото передньої бабки токарно-гвинторізного верстата 250ітвм. Завантажити у збільшеному масштабі

Шпиндель токарно-гвинторізного верстата 250итвм

Суппорт токарно-гвинторізного верстата 250итвм
Супорт токарно-гвинторізного верстата 250ітвм. Завантажити у збільшеному масштабі

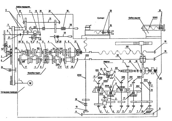
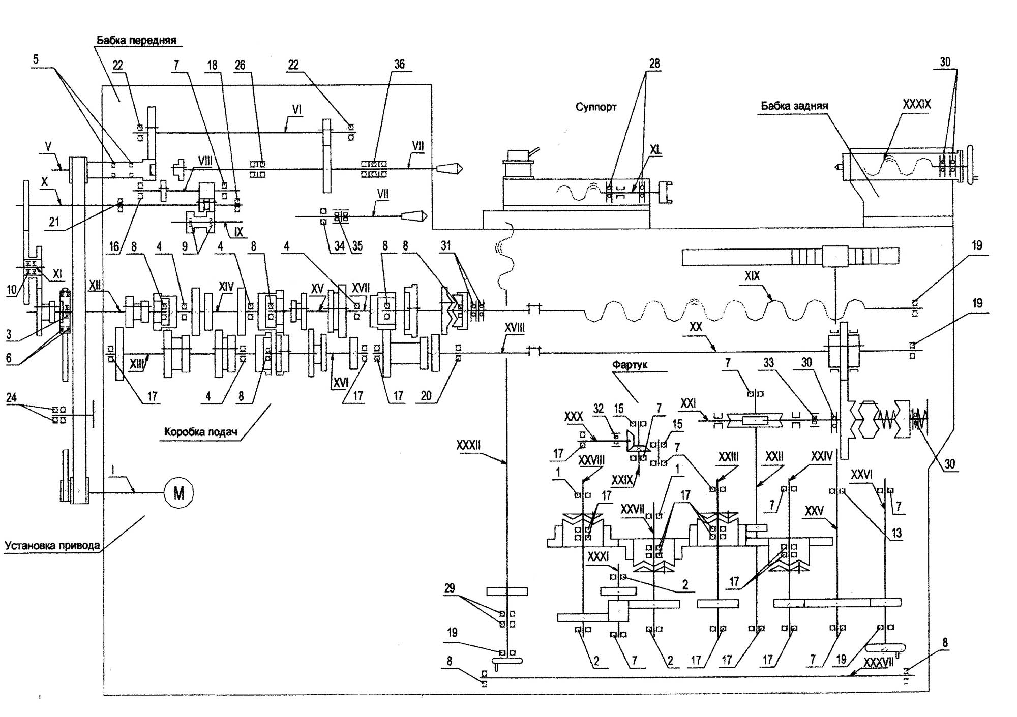
Розташування основних вузлів токарного верстата 250ітвм

Розташування органів керування токарним верстатом 250итвм

Список графических символів верстата 250итвм
Список графических символів токарно-гвинторізного верстата 250ИТВМ. Скачать в увеличенном масштабе

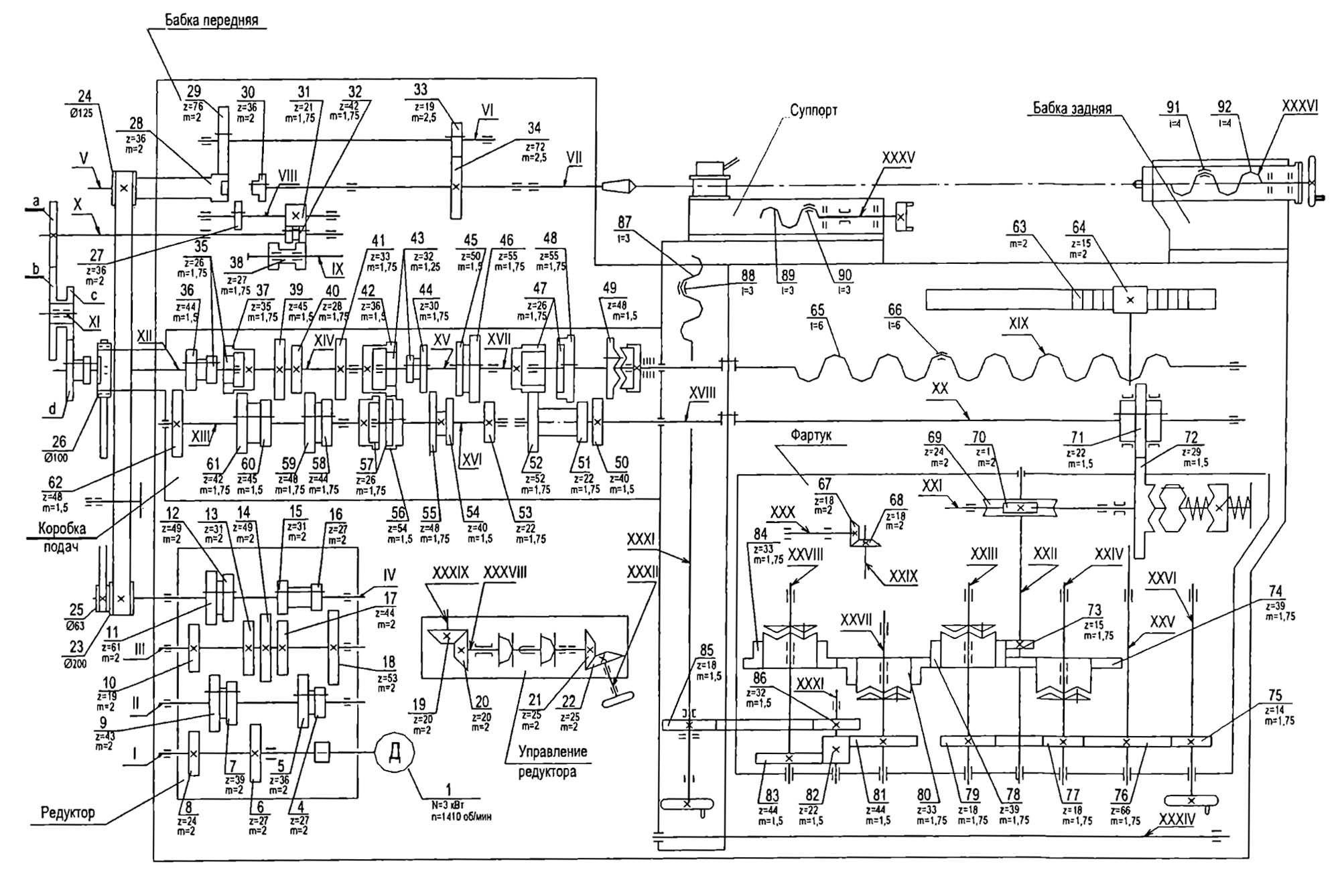
Кінематична схема токарно-гвинторізного верстата 250итвм
Схема кінематична токарно-гвинторізного верстата 250ИТВМ. Скачать в увеличенном масштабе

Схема розположення підшибників безредукторного верстата 250итвм
Примечание. Иллюстрации сборочных единиц, опис которых приводится ниже, приведены в третьей частини руководства по експлуатации 250ИТВМ.00.000 РЭ2 Відомості по запасным частям.
Станина (250ИТВМ.10.000, 250ИТВМ.03.10.000)
Станина литая чугунная жесткой конструкції з дополнительными П-образными ребрами устанавливается на монолитной тумбе. Станина имеет две призматические і две плоские направляющие. Внутри тумбы верстата смонтированы редуктор і електродвигатель головного привода, станція змазки і установка для охлаждения.
Редуктор (250ИТВМ.17.000)
Редуктор, установленный в левой частини тумбы, представляет собой четырехосную коробку швидкостей з приводом от фланцевого електродвигуна.
Редуктор крепится болтами к переходному кронштейну 51, кронштейн закреплен на основании тумбы.
Изменение частоти обертання осуществляется преселективным пристрійм, позволяющим производить її выбор во время роботи верстата. Выбор частоти обертання производится маховиком 1 (рисунок 6), поворотом которого в двух дисках создается определенная комбинация отверстий под фиксирующие пальцы рычагов, переключающих блоки зубчатых колес. В нужный момент увімкнення предварительно выбранной маховиком частоти обертання шпинделя осуществляется з помощью рукоятки 2 (рисунок 6) в два етапа: вначале рукоятку оттягивают на себя до появления заметного зусилля, удерживая рукоятку в етом положении, выжидают, пока не снизится частота обертання шпинделя (не выше 100 об/мин), затем рукоятку оттягивают до отказа, произведя, таким образом, увімкнення установленной частоти обертання.
При работе на низкой частоте обертання шпинделя (ниже 100 об/мин.) увімкнення може быть произведено сразу движением рукоятки до отказа. Если по каким-либо причинам після первой попытки переключение не произошло, необходимо отпустить рукоятку і произвести переключение повторно.

Передня бабка токарно-гвинторізного верстата 250итвм
Передня бабка токарно-гвинторізного верстата 250ИТВМ. Скачать в увеличенном масштабе
Передня бабка (250ИТВМ.21.000)
В передньої бабке шкивная группа вынесена на левый торец корпуса, что позволяет производить замену приводного ремня без какой-либо разборки вузла.
Корпус передньої бабки базируется на штырь, расположенный под шпинделем, что дает возможность избежать увода шпинделя в сторону при тепловых деформациях і удобно произвести выверку оси шпинделя. Шпиндель верстата получает вращение от шкива напрямую і через перебор 1:8. На передньої стенке бабки (справа) находится рукоятка переключения шестерен перебора і зубчатой муфты. Керування перебором і зубчатой муфтой сблокировано так, что одновременное их увімкнення невозможно. Чтобы не смять торцы шестерен, переключение на ходу не рекомендуется. В корпусе передньої бабки имеется звено увеличения шага і трензель.
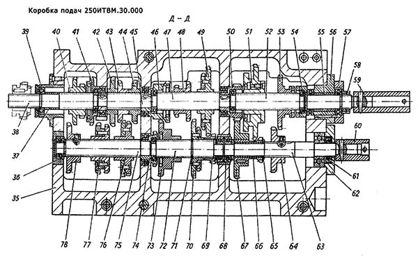
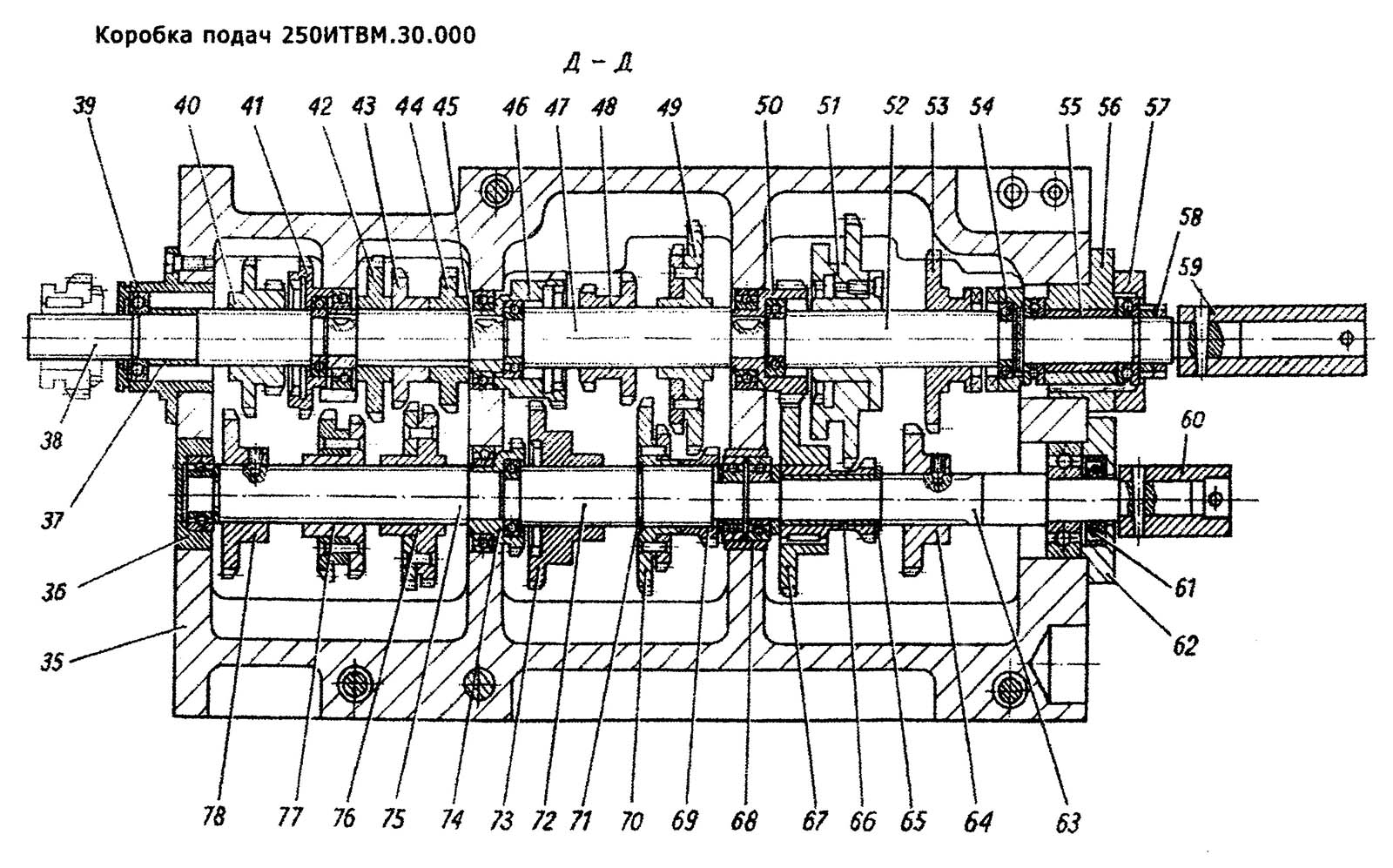
Коробка подач (250ИТВМ.30.000)

Коробка подач токарно-гвинторізного верстата 250итвм
Коробка подач токарно-гвинторізного верстата 250ИТВМ. Скачать в увеличенном масштабе
Коробка подач закрытого типа позволяет нарезать метрические, модульные, дюймовые різьби і получать подачі от 0,01 до 1,8 мм/об.
Поперечные подачі равны половине продольных. Передача руху в коробку подач от редуктора идет клиновым ремнем на приемный вал коробки подач при точении і через сменные шестерни при нарезании різьби.
Переключення рукояток коробки подач на частотах обертання шпинделя до 100 об/мин, допускается производить на ходу верстата, на более высоких частотах на замедлении при кратковременном отключении верстата рукояткой 2 (рисунок 6).
Гітара (250ИТВМ.25.000)
Гітара крепится на левом торце шпиндельной бабки. Увімкнення ременной і зубчатой передачи сблокировано і не може быть произведено одновременно. Выбор передачи производится при помощи рукоятки 3 (рисунок 6) расположенной на передньої крышке коробки подач.
Бабка задня (250ИТП.40.000)
Прижим задньої бабки осуществляется поворотом рукоятки 26 (рисунок 6), регулювання прижима производится гайками 21. Для более надежного зажиму предусмотрен дополнительный винт 19.
Для обточки небольших конусов корпус задньої бабки може смещаться з линии центров в пределах ±10 мм гвинтами.
Для выверки осей передньої і задньої бабки относительно направляючих станины в горизонтальной плоскости необходимо совместить платики на корпусе і поддоне. Положение пиноли фиксируется рукояткой 25 (рисунок 6).

Фартук токарно-гвинторізного верстата 250итвм
Фартук токарно-гвинторізного верстата 250ИТВМ. Скачать в увеличенном масштабе
Фартук (250ИТВМ.50.000)
Фартук обеспечивает получение продольных і поперечных подач суппорта вручную; механически от коробки подач через ходовой вал, а также нарезание різьб при помощи ходового гвинта.
Фартук имеет четыре муфты, позволяющие осуществить прямую і обратную подачу в продольном і поперечном направлениях. Керування подачей осуществляется одной рукояткой поз.29 (рисунок 6).
Перемещение рукоятки при включении того или иного руху совпадает з направлением переміщення суппорта при левом вращении ходового вала, независимо от обертання шпинделя.
Для автоматичного отключения подач при работе по жестким упорам, а также при перегрузках фартук имеет механізм, который можно регулировать винтом 31 (рисунок 6). Для налаштування на максимальное тяговое усилие равное 5000 Н (500 кг) необходимо винт 31 завернуть до отказа, затем вывернуть на п'ять оборотів і зафиксировать гайкой. При срабатывании механізма рукоятка 29 (рисунок 6) автоматически в нейтральное положение не возвращается, її переключение необходимо произвести вручную. В некоторых случаях робота механізма сопровождается незначительным треском, что не является признаком его неисправности.
Наличие блокировочного пристроя исключает возможность одновременного увімкнення ходового гвинта і ходового вала, а также поздовжньої і поперечної подачі.
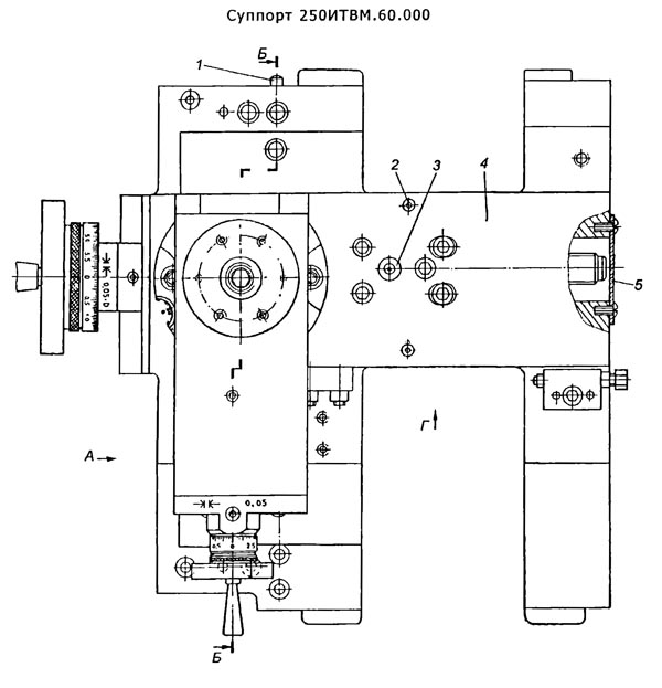
Суппорт (250ИТВМ.60.000)

Креслення суппорта токарно-гвинторізного верстата 250итвм
Суппорт крестовой конструкції имеет ручное і механическое продольное перемещение по направляющим станины і поперечное перемещение по направляющим каретки. Ручное поперечное перемещение осуществляется маховиком 19 (рисунок 6). Верхня часть суппорта имеет независимое ручное перемещение по направляющим средней поворотной частини і може поворачиваться на 60° в сторону робочого і на 70° от робочого. На суппорте установлен четырехпозиционный поворотный резцедержатель. На поперечної каретке предусмотрена установка заднего резцедержателя, поставляемого по особому заказу.
Зона різання защищена ограждением, имеющим смотровое окно из прозрачного материала. Ограждение крепится на стойке, что дает возможность регулировки по высоте. При обработке хрупких материалов имеется возможность установки дополнительного щитка з правой стороны ограждения.
| Наименование параметра | 250ИТВМ.01 | 250ИТВМ.03 | 250ИТВМФ1 |
|---|---|---|---|
| Основні параметри | |||
| Класс точності по ГОСТ 8-82 | В | В | В |
| Наибольший диаметр заготовки обрабатываемой над станиной, мм | 240 | 240 | 240 |
| Наибольший диаметр заготовки обрабатываемой над суппортом, мм | 168 | 168 | 168 |
| Наибольший диаметр заготовки устанавливаемой над станиной, мм | 300 | 300 | 300 |
| Наибольшая длина заготовки (РМЦ), мм | 500 | 750 | 500 |
| Шпиндель | |||
| Диаметр сквозного отверстия в шпинделе, мм | 25 | 25 | 25 |
| Наибольший диаметр прутка, проходящий через отверстие в шпинделе, мм | 24 | 24 | 24 |
| Количество ступеней прямого обертання шпинделя, об/мин | 21 | 21 | 21 |
| Частота прямого обертання шпинделя, об/мин | 25..2500 | 25..2500 | 25..2500 |
| Количество ступеней обратного обертання шпинделя, об/мин | 21 | 21 | 21 |
| Частота обратного обертання шпинделя, об/мин | 25..2500 | 25..2500 | 25..2500 |
| Размер внутреннего конуса в шпинделе, М | Морзе 4 | Морзе 4 | Морзе 4 |
| Кінець шпинделя по ГОСТ 12593-72 | 4 | 4 | 4 |
| Допустимый крутящий момент на шпинделе, Нм | 1051,90 | 1051,90 | 1051,90 |
| Подачи | |||
| Наибольшая длина ходу каретки суппорта, мм | 500 | 500 | 500 |
| Цена деления лимба продольного переміщення суппорта, мм | 0,1 | 0,1 | 0,1 |
| Продольное перемещение за один оборот лимба, мм | 20 | 20 | 20 |
| Наибольшее поперечное перемещение суппорта, мм | 165 | 165 | 165 |
| Цена деления лимба поперечного переміщення суппорта, мм | 0,05 | 0,05 | 0,05 |
| Поперечное перемещение за один оборот лимба, мм | 3 | 3 | 3 |
| Наибольшее перемещение верхних салазок суппорта, мм | 120 | 120 | 120 |
| Число ступеней продольных подач | |||
| Пределы рабочих подач продольных, мм/об | 0,01..1,8 | 0,01..1,8 | 0,01..1,8 |
| Число ступеней поперечных подач | |||
| Пределы рабочих подач поперечных, мм/об | 0,005..0,9 | 0,005..0,9 | 0,005..0,9 |
| Скорость быстрых перемещений суппорта, продольных, м/мин | нет | нет | нет |
| Скорость быстрых перемещений суппорта, поперечных, м/мин | нет | нет | |
| Количество нарезаемых різьб метрических | |||
| Пределы шагов нарезаемых різьб метрических, мм | 0,2..48 | 0,2..48 | 0,2..48 |
| Количество нарезаемых різьб дюймовых | |||
| Пределы шагов нарезаемых різьб дюймовых | 24..0,5 | 24..0,5 | 24..0,5 |
| Количество нарезаемых різьб модульных | |||
| Пределы шагов нарезаемых різьб модульных | 0,2..12 | 0,2..12 | 0,2..12 |
| Количество нарезаемых різьб питчевых | нет | нет | нет |
| Дискретность УЦИ по координатам X/Z. мм | - | - | 0,001/ 0,005 |
| Задня бабка | |||
| Размер внутреннего конуса пиноли задньої бабки по ГОСТ 25557-82 | Морзе 3 | Морзе 3 | Морзе 3 |
| Центр пиноли задньої бабки по ГОСТ 13214-79 | Морзе 3 | Морзе 3 | Морзе 3 |
| Наибольшее перемещение пиноли задньої бабки, мм | 85 | 85 | 85 |
| Цена деления линейки перемещение пиноли, мм | 1 | 1 | 1 |
| Цена деления лимба перемещение пиноли, мм | 0,05 | 0,05 | 0,05 |
| Поперечное смещение пиноли, мм | ±10 | ±10 | ±10 |
| Електроустаткування | |||
| Количество електродвигателей на станке | 3 | 3 | 3 |
| Електродвигун головного привода, кВт/ об/мин | 3/ 1410 | 3/ 1410 | 3/ 1410 |
| Електродвигун станції змазки, кВт/ об/мин | 0,09/ 1350 | 0,09/ 1350 | 0,09/ 1350 |
| Електродвигун насоса охлаждения, кВт/ об/мин | 0,18/ 2730 | 0,18/ 2730 | 0,18/ 2730 |
| Насос охлаждения (помпа) | ПА-22 | ПА-22 | ПА-22 |
| Суммарная мощность електродвигателей на станке, кВт | 3,27 | 3,27 | 3,27 |
| Габаритные розміри і масса верстата | |||
| Габарити верстата (длина ширина высота), мм | 1790_810_1400 | 2005_810_1400 | 1790_810_1400 |
| Масса верстата, кг | 1180 | 1240 | 1190 |