Розробник верстата - Рязанське спеціальне бюро верстатобудування .
Виробник універсального токарно-гвинторізного верстата 1н65 - Рязанський верстатобудівний завод РСЗ , заснований у 1949 році.
Універсальний токарно-гвинторізний верстат 1Н65 є вдосконаленою моделлю верстата 1М65 .
На основі універсальних токарних верстатів Рязанським верстатобудівним заводом було освоєно випуск токарних верстатів з ЧПУ - 16К30Ф3 , 16М30Ф3 , 16К40РФ3, 16Р50Ф3... .
Також заводом освоєно випуск сучасних токарних обробних центрів з числом координат від 4 до 8, токарних верстатів з ЧПУ похилої та горизонтальної компоновок, трубообробних верстатів - для обробки кінців труб діаметром до 460 мм, колесотокарних, вальцетокарних, верстатів для обробки глибоких отворів та ін.
Універсальний токарно-гвинторізний верстат моделі 1Н65 замінив застарілу модель верстата цієї серії 1м65 .
Токарний верстат 1Н65 є базовою та молодшою моделлю класу верстатів: РТ117 та РТ817 .
Токарно-гвинторізний верстат 1Н65 призначений для обробки деталей середніх та великих розмірів, в умовах одиничного та дрібносерійного виробництва. На верстаті можна проводити зовнішнє і внутрішнє точення, включаючи точення конусів, розточування, свердління та нарізання різьблень - метричної, модульної, дюймової).
Супорт верстата 1Н65 має механічне переміщення верхньої частинини, що дозволяє робити точення довгих конусів. Точення коротких конусів також здійснюється рухом верхньої частинини супорта.
Зміна величин подач і налаштування на крок різьби, що нарізається, здійснюються перемиканням зубчастиних коліс коробки подач і налаштуванням гітари змінних шестерень.
Супорт має швидке переміщення в поздовжньому та поперечному напрямках, яке здійснюється від індивідуального електродвигуна.
Токарний верстат 1Н65 призначений для обробки чорних та кольорових металів з великими швидкостями різання різцями зі швидкорізальної сталі та твердих сплавів.
Коробка подач закритого типу забезпечує нарізування стандартного різьблення. Точні різьблення нарізаються із застосуванням змінних зубчастиних коліс, минаючи коробку подач.
Зміна чисел оборотів шпинделя та швидкості подачі супорта здійснюються перемиканням зубчастиних коліс коробки швидкостей та коробки подач за допомогою рукояток.
Переміщення задньої бабки та висування пінолі виконуються вручну обертанням маховичків.
Клас точності верстата Н або П згідно з ГОСТ 8-82Е. Шорсткість обробленої поверхні V 6.
Вид кліматичного виконання - УХЛ4 за ГОСТ 15150-69.
- Виробник – Рязанський верстатобудівний завод РСЗ.
Основні параметри верстата - відповідно до ГОСТ 18097-93 . Верстати токарно-гвинторізні та токарні. Основні розміри. Норми точності.
У 1930 році на Московському верстатобудівному заводі "Червоний пролетар" було прийнято рішення про розробку нового верстата токарного, стандартного, скорочено ТЗ. Дещо пізніше його перейменували на ДІП-200 – Догонім І Перегонім , за головним гаслом першої п'ятирічки, де 200 – висота центрів над станиною. Як прототип був обраний токарно-гвинторізний верстат німецької фірми VDF . У квітні 1932 року розпочалася підготовка випуску першої партії верстатів ДІП-200.
25 квітня 1932 року був зібраний і випробуваний перший радянський універсальний токарно-гвинторізний верстат з коробкою швидкостей - ДІП-200 . До кінця 1932 року було випущено 25 ДІПів.
У 1934 році на Московському верстатобудівному заводі "Червоний пролетар" освоюється випуск важких універсальних токарно-гвинторізних верстатів верстатів ДІП-300 (1д63) , ДІП-400 (1д64) , ДІП-500 (1д65) .
У 1940 році освоєно виробництво токарних верстатів ДІП-40 (1д64), ДІП-50 (1д65).
У 1944 році виробництво цих верстатів було передано на Рязанський верстатобудівний завод РСЗ , заснований у 1944 році.
Для освоения производства верстатів на РСЗ первым был выбран токарно-гвинторізний верстат ДИП-400 з высотой центров 400 м, который был коренным образом переработан і получил наименование - модель 164.
В токарно-винторезном станке моделі 164 было предусмотрено преселективное керування скоростями. Для изменения величины подач верстата имелось две рукоятки. Керування переміщеннями суппорта і каретки осуществлялось от одной рукоятки, в которую вмонтирована кнопка для увімкнення ускоренных перемещений суппорта і каретки. Верхня часть суппорта имела механические переміщення. В пиноли задньої бабки вмонтирован вращающийся центр. Верстат был оснащен копировальным пристрійм, в фартуке верстата установлены електромагнітні муфты. Применение легированных сталей для шестерен з соответствующей термообработкой і шлифовкой по профилю зуба обеспечивали надежность і долговечность верстата. Технічна характеристика верстата моделі 164 была выше уровня лучших образцов токарно-винторезных верстатів того часу.
Первый верстат был предъявлен Государственной комиссии уже 21 декабря 1949 года. Верстат 164 установлен на постамент возле головного корпуса завода.
Верстат 164 впіслядствии постоянно унифицировался, дорабатывался, совершенствовался, появлялись новые модели:
В 1953 году запущен в производство первый верстат 165-й серии - модель 165 (диаметр обробки - Ø 1000 мм).
Серийный выпуск токарных верстатів: 1м65, 1н65, РТ117, РТ817, РТ755Ф3.

Габарит робочого простору токарного верстата 1н65

Посадочные і присоединительные розміри верстата 1н65

Фото токарно-гвинторізного верстата 1н65

Фото токарно-гвинторізного верстата 1н65

Фото токарно-гвинторізного верстата 1н65

Розташування складових частин токарного верстата 1н65-0, 1н65ф1-0

Розташування складових частин токарного верстата 1н65, 1н65ф1, 1н65-5, 1н65ф1-5, 1н65г

Розташування органів керування верстатом 1н65-0, 1н65ф1-0
Органы керування токарно-гвинторізним верстата 1Н65-0, 1Н65Ф1-0. Скачать в увеличенном масштабе

Розташування органів керування верстатом 1н65, 1н65ф1, 1н65-5, 1н65ф1-5, 1н65г

Розташування органів керування на пультах верстата 1н65
Електроустаткування верстата предназначено для подключения к трехфазной сети переменного тока з глухозаземленным или изолированным нейтральным проводом.
Питание ланцюгів електроустаткування токарно-гвинторізного верстата 1Н65 осуществляется следующими напряжениями:
На станке установлены три трехфазных короткозамкнутых асинхронных електродвигуна:

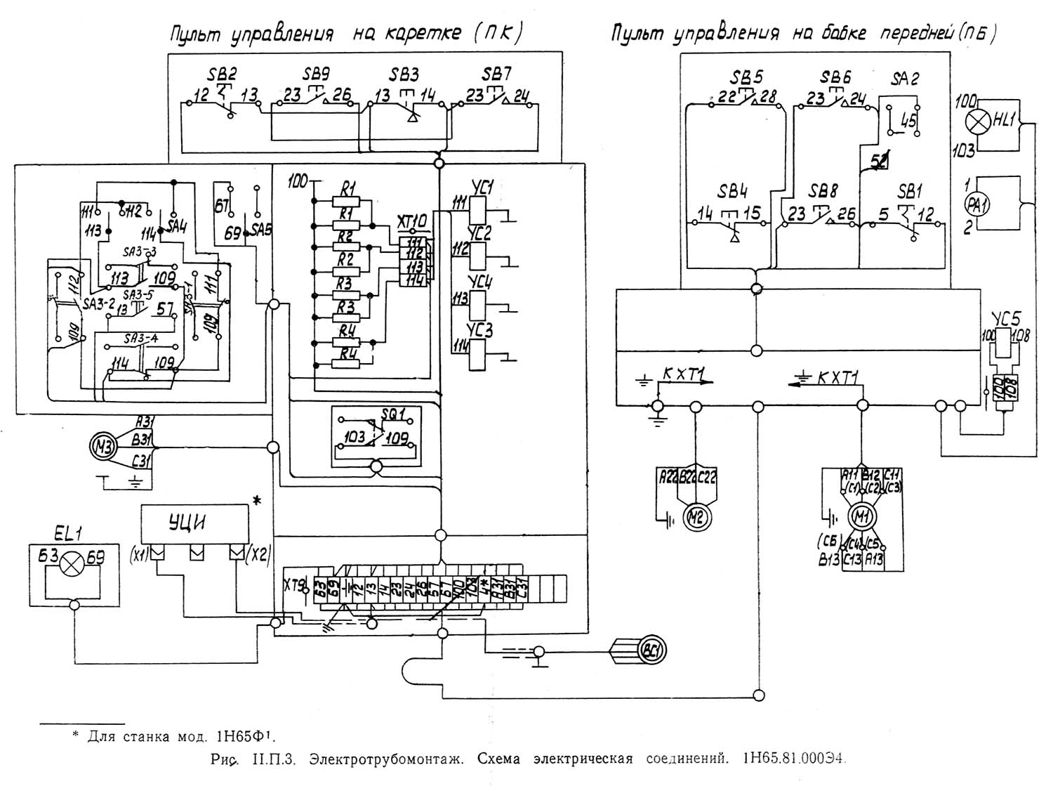
Електрична схема токарно-гвинторізного верстата 1н65
Схема електрична принципова токарно-гвинторізного верстата 1н65. Скачать в увеличенном масштабе
Вся аппаратура керування електроприводами верстата смонтирована в нише передньої бабки.
Керування електроприводами верстата дистанционное кнопкове і осуществляется со следующих мест:
Присоединение електроустаткування статика к цеховой електросети осуществляется з помощью вводного выключателя QF1, установленного на боковой стенке ниши передньої бабки.
Захист електродвигателей і целей керування от токов короткого замыкания і перегрузок производится автоматическими выключателями і тепловыми реле.
Величины номинальных токов і значений уставок выключателей і тепловых реле даны в перечне елементів 1Н65.00.000ПЭЗ.
На станке предусмотрена пулевая защита, осуществляемая размыканием замыкающихся блок-контактов в ланцюги саможивлення магнитных пускачів і реле, исключающая, независимо от положения органів керування, самопроизвольное увімкнення верстата при восстановлении внезапно исчезнувшего напряжения.
На кожухе вводного выключателя предусмотрено специальное пристрій, з помощью которого вводный выключатель QF1 запирается в отключенном положении при ремонтi електроустаткування верстата.
На фартуке каретки верстата предусмотрен переключатель режимов роботи па три положения (SA4), соответствующий трем видам работ: токарная работа, конусное точение (внутреннее), конусное точение (наружное).
Электробезопасность електроустаткування согласно ГОСТ 12.1.019—79 і ГОСТ 12.3.019—80.
Електроустаткування, установленное на станке, рассчитано для роботи от силовой сети 380 В.
Степень защиты електрошафи і пультов керування — IP54 по ГОСТ 14254—80.
При монтаже верстата в соответствии з ГОСТ 12.2.009—80 применяется следующая расцветка проводов:
Перевіряється надійність заземлення верстата та електрошафи.
Перевіряється правильність монтажу електроустаткування та підключення електроустаткування верстата до цехової мережі.
Перевіряється правильність уставок реле часу, теплових реле, опорів.
Після перевірки електроустаткування від'єднуються в електрошафі дроти живлення всіх електродвигунів.
Увімкненням ввідного автоматичного вимикача QF1 електроустаткування верстата підключається до цехової мережі.
Впливом на органи керування на пультах, кінцеві вимикачі перевіряється правильність і чіткість спрацьовування магнітних пускачів і апаратури керування електродвигунами, а також перевіряється дія блокувань і сигналізації.
Відключається вступний вимикач QF1 і під'єднуються в електрошафі дроту живлення електродвигунів.
Проводиться перевірка із включенням електродвигунів та інших виконавчих органів.
Перед включенням електроустаткування верстата необхідно виконати такі операції:
Загоряється сигнальна лампочка HL1 молочного кольору на щитку передньої бабки, що сигналізує про наявність напруги електрошафи.
Увімкненням вступного вимикача QF1 здійснюється подача напруги від зовнішньої мережі для живлення електроустаткування верстата.
Аварійне відключення електроприводів верстата здійснюється натисканням на одну з кнопок SB1 або SB2 аварійного відключення "Стоп" червоного кольору, з грибоподібним штовхачем, збільшеного розміру, з примусовим поверненням, розташованих на пультах передньої бабки та каретки,
Для зняття напруги зі верстата необхідно відключити ввідний вимикач QF1.
Головний електропривід (обертання виробу) здійснюється від асинхронного електродвигуна трифазного струму М1 типу 4АМ18054У3, потужністю 22 кВт, 1470 об/хв.
Для зменшення пускового струму схемою передбачено включення обмоток статора електродвигуна на зірку з наступним перемиканням на трикутник.
Пуск електродвигуна M1 "вперед" здійснюється натисканням на одну з кнопок SB6 або SB7, розташованих на пультах (передньої бабки та каретки. При цьому включається реле К1 і своїми замикаючими контактами стає на саможивлення, включається магнітний пускач КМ1, реле часу КТ1, а контактами, що розмикають) розриває ланцюги котушок магнітних пускачів КМЗ та КМ5.
Пускатель КМ1 головними контактами подключает електродвигатель M1 к питающей сети, а блок-контактами включает магнитный пускатель КМ2, который в свою очередь головними контактами включает обмотку статора електродвигуна M1 в «звезду»; пуск електродвигуна з пониженным пусковым током, замыкающий блок-контакт включает реле часу КТ2, а размыкающими блок-контактами разрывает ланцюги електромагнитной муфты YC5 і пускателя КМЗ.
С выдержкой часу реле КТ1 своим размыкающим контактом отключает пускатель КМ1, а замыкающим включает катушку пускателя КМ4 — происходит переключение обмоток статора со «звезды» на «треугольник» — рабочий режим електродвигуна M1.
Останов електродвигуна M1 осуществляется нажатием на одну из кнопок SB3 или SB4, расположенных на пультах передньої бабки і каретки. Отключаются реле К1, магнитные пускатели КМ2 і КМ4, реле часу КТ1 і КТ2.
Замыкается блок-контакт пускателя КМ2 в ланцюги тормозной муфты YC5 — происходит торможение шпинделя. По истечении регулируемой выдержки часу 12—15 з контакт реле часу КТ. размыкается і отключает тормозную муфту YC5.
Пуск електродвигуна «назад» осуществляется нажатием на одну из кнопок SB8 или SB9, расположенных на пультах передньої бабки і каретки.
При етом включаются реле К2, магнитные пускатели КМ1, КМЗ, КМ5 реле часу КТ1, КТ2 Дальнейшая робота електросхеми аналогична вышеописанному.
Пуск електродвигуна M1 для наладочных режимов производится нажатием на кнопку SB5 «прерывистое вращение шпинделя вперед».
В етом случае включаются реле КЗ, магнитные пускатели КМ1 і КМ2; вращение шпинделя будет происходить до тех пор, пока нажата кнопка.
Контроль нагрузки електродвигуна M1 производится по амперметру РА1, (который включен через трансформатор тока ТА1 в ланцюг двигуна і установлен на косынке передньої бабки.
Привід подач обеспечивает через звенья кінематичної ланцюги связь шпинделя з ходовым винтом или ходовым валом.
Рух суппорту передається через електромагнітні муфты YC1...YC4, которые встроены в фартук. Увімкнення електромагнітних муфт производится крестовым переключателем SA3, причем направление увімкнення рукоятки переключателя совпадает з направлением руху суппорта.
Электропривід ускоренных перемещений осуществляется от електродвигуна трехфазного тока МЗ типа 4АМ80В4УЗ мощностью 1,5 кВт, 1415 об/мин
Увімкнення електродвигуна МЗ производится нажатием на кнопку SA3-5 «Толчок», встроенную в головку рукоятки крестового переключателя.
Включается магнитный пускатель КМ7, который подключает електродвигатель МЗ к питающей сети. Направление ускоренных перемещений суппорта или каретки в соответствующую сторону производится з помощью електромагнітних муфт YC1... YC4 так же, как в приводе подачі.
Электропривід насоса охлаждения осуществляется от електродвигуна М2, трехфазного тока типа Х14-22М мощностью 0,12 кВт, 2800 об/мин.
Пуск і зупинка електродвигуна М2 производятся переключателем SA2, установленным на пульті передньої бабки.
Освещение зоны різання осуществляется светильником НКП03-60-004 з лампочкой EL1 на 24 В, 60 Вт, которая питается от обмотки 24 В трансформатором TV1.
Для верстата 1Н65Ф1 применено пристрій цифровой индикации (УЦИ), которое предназначено для визуального отсчета в цифровой форме переміщення суппорта.
Питание УЦИ осуществляется напряжением 110 В от трансформатора TV1. Перед началом роботи з УЦИ необходимо выдержать все блоки во включенном состоянии в течение 30 мин.
Налаштування масштабирования N = 12.
Подробное опис роботи УЦИ дано в инструкции завода-изготовителя.
В схеме керування електромагнитными муфтами имеется блокировка, запрещающая увімкнення електромагнітних муфт фартука при включенной маточной гайке.
Осуществляется размыканием замыкающего контакта конечного выключателя SQL
Сигнальная лампочка HL1 молочного цвета, расположенная на щитке (передньої бабки, сигнализирует о наличии напряжения на станке.

Список елементів токарно-гвинторізного верстата 1Н65
Список елементів токарно-гвинторізного верстата 1Н65. Скачать в увеличенном масштабе

Розташування електроустаткування токарно-гвинторізного верстата 1Н65
Розташування електроустаткування токарно-гвинторізного верстата 1Н65. Скачать в увеличенном масштабе

Схема соедимнений токарно-гвинторізного верстата 1Н65
Схема соедимнений токарно-гвинторізного верстата 1Н65. Скачать в увеличенном масштабе
| Наименование параметра | ДИП-500 (1д65) |
165 | 1м65 | 1н65 |
|---|---|---|---|---|
| Основні параметри | ||||
| Класс точності по ГОСТ 8-82 | Н | Н | Н, П | Н, П |
| Наибольший диаметр обрабатываемой заготовки над станиной, мм | 1000 | 1000 | 1000 | 1000 |
| Наибольший диаметр обрабатываемой заготовки над суппортом, мм | 620 | 600 | 600 | 650 |
| Наибольшая длина заготовки (РМЦ), мм | 5000 | 2800, 5000 | 3000, 5000, 8000 | 1000, 3000, 5000 |
| Высота устанавливаемого резца, мм | 45 х 45 | 50 | ||
| Наибольшая масса заготовки в центрах, кг | 5000 | 5000 | 5000 | |
| Шпиндель | ||||
| Диаметр сквозного отверстия в шпинделе, мм | 100 | 85 | 85 | 128 |
| Наибольший диаметр зажимаемого прутка, мм | 80 | 80 | 120 | |
| Наибольший крутящий момент на шпинделе, кН/м | 9,5 | |||
| Число ступеней частот прямого обертання шпинделя | 12 | 24 | 24 | 24 |
| Частота прямого обертання шпинделя, об/мин | 4,25..192 | 5...500 | 5...500 | 5...500 |
| Размер внутреннего конуса в шпинделе | КМ 6 | 100, 1:20 | 100, 1:20 | 100, 1:20 |
| Кінець шпинделя по ГОСТ 12595-72 | 1-15М | 1-15М | 2-15М | |
| Диаметр стандартного патрона, мм | 1000 | |||
| Торможение шпинделя | есть | есть | есть | есть |
| Подачи | ||||
| Наибольшее продольное перемещение суппорта РМЦ=3000, мм | 2520 | 2710 | 700, 2700, 4500 | |
| Наибольшее поперечное перемещение суппорта, мм | 600 | 600 | 600 | |
| Цена деления лимба при продольном перемещении, мм | нет | 0,1 | 0,1 | 0,1 |
| Цена деления лимба при поперечном перемещении, мм | 0,05 | 0,05 | 0,05 | 0,05 |
| Наибольшее продольное перемещение на оборот лимба, мм | 10 | 50 | 50 | 50 |
| Наибольшее поперечное перемещение на оборот лимба, мм | 12 | 6 | 6 | 6 |
| Число ступеней продольных подач | 32 | 32 | 40 | |
| Пределы продольных подач, мм/об | 0,225..3,15 | 0,20..3,05 | 0,20..3,05 | 0,05..3,05 |
| Пределы поперечных подач, мм/об | 0,114..1,6 | 0,07..1,04 | 0,07..1,04 | 0,017..1,04 |
| Найбільше поздовжнє зусилля різання Pz, кН | 12 | 12 | 41 | |
| Найбільше поперечне зусилля різання Pх, кН | 780 | 780 | ||
| Швидкість швидких переміщень супорта, поздовжніх, м/хв. | ні | 2,16 | 3 | 3 |
| Швидкість швидких переміщень супорта, поперечних, м/хв. | ні | 0,735 | 1 | 1 |
| Кількість нарізних різьблень метричних | 22 | 44 | ||
| Межі кроків різьб метричних, що нарізаються, мм | 1..14 | 1...120 | 1...120 | 1...120 |
| Кількість нарізних різьблень дюймових | 36 | 31 | ||
| Межі кроків різьблення дюймових, ниток на дюйм | 2..28 | 28...¼ | 28...¼ | 28...¼ |
| Кількість нарізних різьблень модульних | 13 | 37 | ||
| Межі кроків різьблення нарізаних модульних, модуль | 0,25..3,5 | 0,5...30 | 1...120 | 0,5...30 |
| Кількість нарізних різьблення питних | ні | ні | ні | ні |
| Вимикаючі упори поздовжні | ні | ні | ||
| Вимикаючі упори поперечні | ні | ні | ||
| Різцеві санки (верхній супорт) | ||||
| Найбільше переміщення різцевих санчат, мм | 240 | 240 | 240 | |
| Ціна поділу лімба переміщення різцевих санчат, мм | 0,05 | 0,05 | 0,05 | 0,05 |
| Число ступенів подач | 40 | |||
| Межі поздовжніх подач, мм/про | 0,017..1,04 | |||
| Швидкість швидких переміщень, мм/хв. | 1 | |||
| Найбільший кут повороту, град | ±90° | |||
| Ціна одного поділу кута повороту, град | 1° | |||
| Задня бабка | ||||
| Центр у шпинделі за ГОСТ 13214-79 | Морзе 6 | Морзе 5 | Морзе 5 | |
| Найбільше переміщення пінолі, мм | 300 | 300 | 300 | |
| Найбільше переміщення пінолі зі встановленим інструментом, мм | 280 | |||
| Діаметр пінолі, мм | 120 | |||
| Найбільше переміщення бабки у поперечному напрямку, мм | ±30 | ±15 | ||
| Електроустаткування | ||||
| Кількість електродвигунів на верстаті | 1 | 3 | 4 | 3 |
| Електродвигун головного приводу, кВт | 17 | 22 | 22 | 22 |
| Електродвигун швидкого ходу супорта, кВт | ні | 1,5 | 1,5 | 1,5 |
| Привід насоса мастила | Вбудований | C12-54 | ||
| Насос охолодження (помпа) | ПА-22 | ПА-22 | 0,12 | |
| Сумарна потужність усіх електродвигунів, кВт | 23,62 | |||
| Габарити та маса верстата | ||||
| Габарити верстата (довжина ширина висота) РМЦ = 2800,3000 мм | 8000 х 1700 х 1620 | 5825 х 2100 х 1760 | 6140 х 2200 х 1760 | 4100..8180 х 2200 х 1770 |
| Маса верстата РМЦ = 3000 кг | 11500 | 12500 | 12800 | 9850..15750 |
Замовити
Хто володіє інформацією – той володіє світом.
Натан Ротшильд