Верстати ТНП-111 випускав – Рязанський верстатобудівний завод РСЗ , заснований у 1949 році.
В даний час токарний верстат ТНП-111 знято з виробництва і більше не випускається.
Токарно-гвинторізний верстат ТНП-111 є верстатом класу «хобі», і призначений для індивідуального (побутового) застосування, тобто за своїми конструктивними особливостями та технічними характеристиками верстат не призначений для використання на виробництві.
Токарний верстат металу ТНП-111 призначений для обробки заготовок з металу, деревини, всіх видів пластмаси методом точення.
Верстат ТНП-111 є настільним токарним верстатом і призначається для всіляких токарних робіт по металу:
По деревині передбачається виконання таких операцій:
Широкий діапазон регулювання частоти обертання та швидкості поздовжньої подачі збільшує арсенал ріжучого інструменту, що застосовується.
Традиційне наочне компонування верстата у поєднанні з відпрацьованою кінематичною схемою дозволяє впевнено забезпечити токарну обробку з класом точності «Н» протягом тривалого терміну експлуатації.
У порівнянні з пропонованими на ринку малогабаритними верстатами - він простий в експлуатації, надійний та довговічний.
Лита станина і жорсткі загартовані напрямні забезпечують високу точність деталі, що обробляється. Він зручний для обробки деталей невеликих розмірів у майстернях, сервісному автомобілі, вдома.
Верстат ТНП-111 працює від однофазної мережі змінного струму напругою 220 В частотою 50 Гц.
За допомогою нескладних пристроїв, виготовлених на верстаті самим любителем, можна виконувати й інші роботи.
Завдяки широким можливостям верстата використання його в домашніх умовах становить великий інтерес і при оволодінні трудовими навичками робота на ньому принесе велике задоволення.
Верстат ТНП-111 можна також широко використовувати у шкільних гуртках, клубах, палацах піонерів, піонерських таборах тощо. для виготовлення радіодеталей, моделей літаків та кораблів, дрібних оригінальних речей домашнього вжитку та прикрас, індивідуальних іграшок, деталей, ігор та ін.







Обертання шпинделя здійснюється від електродвигуна через клинопасову передачу (див. рис.6.2).
Передбачено 5 робочих ступенів обертання шпинделя: 600 об/хв, 1050 об/хв, 1660 об/хв, 2880 об/хв, 4000 об/хв.
Переміщення каретки вправо та вліво здійснюється ходовим гвинтом 9 рис. 6.2 який приводиться в рух маховиком поз.7 рис.5.1.
Бабка передня є одним із основних вузлів верстата. Корпус передньої бабки виконаний цільнолитим Шпиндель передньої бабки змонтований на двох роликових підшипниках. Заодно зі шпинделем змонтовано барабан для виконання фугувальних робіт по дерезу. На правий кінець шпинделя монтуються додаткові налагодження для робіт з дерева та металу, а на лівий встановлюється заточувальний пристрій.
Бабка задня змонтована на циліндричних направляючих станини, б цільнолітому корпусі є висувна піноль для підтримки заготовок.
Каретка (супорт) змонтована на циліндричних направляючих станини.
На верхню поверхню супорта (повзушки) встановлюється різцетримач , а також інші налагодження в залежності від робіт, що виконуються.
Для затискання каретки при поздовжньому переміщенні передбачений гвинт у корпусі каретки /Рис.7.1, поз.5/
Ріжучий інструмент під час роботи на верстаті застосовується стандартний.

Операцію фугування необхідно виконувати при знятому 3-х кулачковому патроні та заточувальному пристрої.
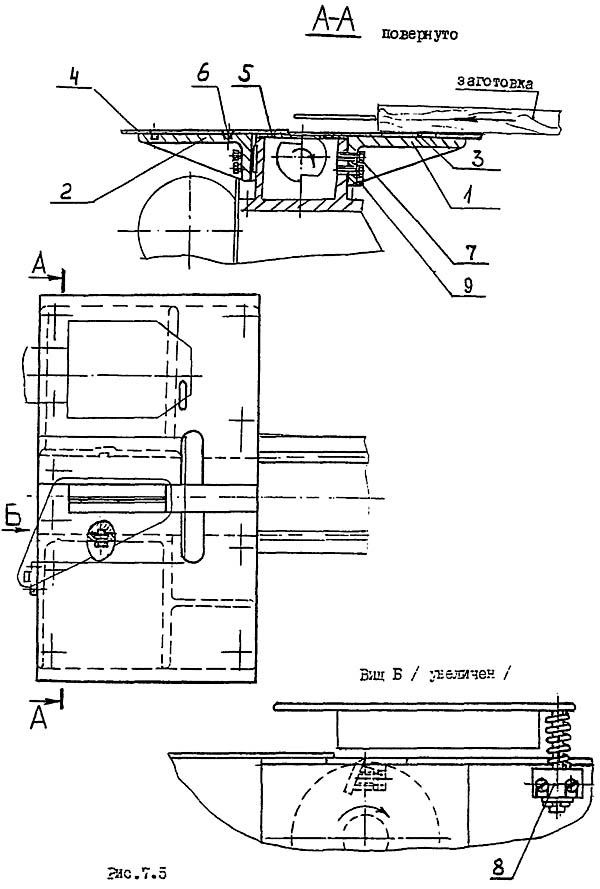
Для здійснення фугування (стругання) необхідно зібрати та встановити на корпусі передньої бабки стіл (рис. 7.5.).
Стіл складається з кронштейнів:
Складання столу здійснюється в наступній послідовності:
При цьому площина заднього столу повинна збігатися з кромками ножів фуганка, що ріжуть. Остаточно закріпити кронштейн столу до корпусу передньої бабки ггвинтами (поз. 7), збирання передньої частини столу проводиться аналогічно, при цьому до переднього кронштейна столу (поз.1) кріпиться сталевий лист (поз. 3).
Для забезпечення техніки безпеки при фугуванні на торець переднього кронштейна столу встановлюється кожух (поз.8), що закриває ножі фуганка, що обертається. Кожух підпружинний і після проходження обробленої дошки через фуганок повертається у вихідне положення, закриваючи барабан, що обертається з ножами.
Регулювання на глибину різання здійснюється переміщенням переднього кронштейна стола за висотою за рахунок ексцентрика. (Поз.9). Розмір глибини різання забезпечується від 0 до 3,0 мм.
Шестигранник ексцентрика виведений на передню стінку кронштейна І. Регулювання здійснюється ключем.
Для операції фугування необхідно рівномірно подавати заготівлю з притиском її до площині столу. Рівномірну подачу заготовки можна також здійснювати за допомогою напрямної планки (див. низу операція пиляння), встановлюючи її в залежності від заготовки, що обробляється.
Заміна та встановлення ножів у фугувальній головці проводиться послідовно наступним чином (див. рис.7.5а):

| Найменування параметру | ТНП-111 | |
|---|---|---|
| Основні параметри верстата | ||
| Найбільший діаметр заготовки над станиною, мм | 150 | |
| Найбільший діаметр заготовки над супортом, мм | 80 | |
| Найбільша довжина заготовки у центрах (РМЦ), мм | 280 | |
| Найбільша довжина обробки заготовки в патроні, мм | 250 | |
| Максимальний розмір державки різця, мм | 10 х 10 | |
| Найбільший діаметр свердління сталі, мм | 6 | |
| Передня бабка. Шпіндель | ||
| Діаметр наскрізного отвору в шпинделі, мм | 15,2 | |
| Приєднання патрона до шпинделя | Морзе 2 | |
| Число ступенів частот прямого обертання шпинделя | 5 | |
| Частота прямого обертання шпинделя, об/хв | 600..4000 | |
| Диаметр токарного патрона, мм | 80 | |
| Супорт. Подання | ||
| Найбільше поздовжнє переміщення каретки супорта, мм | 200 | |
| Переміщення супорта поздовжнє на один поділ лімба, мм | 0,05 | |
| Найбільше поперечне переміщення супорта, мм | 65 | |
| Переміщення супорта поперечне на один поділ лімба, мм | 0,01 | |
| Конус в шпинделе передньої бабки | Морзе 1 | |
| Межі поздовжніх робочих подач супорту, мм/про | ні | |
| Межі кроків різьб метричних, що нарізаються, мм | ні | |
| Межі кроків різьб дюймових, ниток на дюйм | ні | |
| Задня бабка | ||
| Найбільше переміщення пінолі, мм | 20 | |
| Конус задньої бабки | Морзе 1 | |
| Електроустаткування | ||
| Номінальна напруга живлення, | 220 в 50 Гц | |
| Електродвигун постійного струму головного приводу, кВт | 0,75 | |
| Габарити та маса верстата | ||
| Габарити верстата (довжина ширина висота), мм | 860 х 485 х 300 | |
| Маса верстата, кг | 90 |