Виробник токарного верстата моделі 165 - Рязанський верстатобудівний завод РСЗ , заснований у 1949 році.
Свій перший верстат Рязанський верстатобудівний завод випустив 21 лютого 1949 - це був токарно-гвинторізний верстат 164 серії. Протягом короткого часу заводом було запущено в виробництво ще три серії токарних верстатів - 166, 165 у 1953 році, 163 у 1956 році.
У міру вдосконалення конструкції верстатів завод випускав все більш сучасні моделі - 1М63 , 1М63Б , 1М63БФ101 , 1М63Н , 16К30 , 1А64 , 16К40 , 1М65 , 1Н65 .
На основі універсальних токарних верстатів Рязанським верстатобудівним заводом був освоєний випуск токарних верстатів з ЧПУ - 16К30Ф3 , 16М30Ф3 , 16К40РФ3, 16Р50Ф3 та ін.
Також заводом освоєно випуск сучасних токарних обробних центрів з числом координат від 4 до 8, токарних верстатів з ЧПУ похилої 1П756ДФ3 і горизонтальної компоновок, трубообробних верстатів 1А983 , 1Н983 - для обробки кінців труб діаметром до 460 мм, колесотокарних, колесотокарних та ін.
Токарно-гвинторізний верстат призначений для обробки деталей середніх та великих розмірів, в умовах одиничного та дрібносерійного виробництва. На верстаті можна виробляти зовнішнє і внутрішнє точення, включаючи точення конусів, розточування, свердління та нарізування різьблень - метричної, модульної, дюймової та питної).
Технічні характеристики та жорсткість конструкція станини, каретки, шпинделя верстата 165 дозволяють повністю використовувати можливості роботи на високих швидкостях різання із застосуванням різців із швидкорізальної сталі або оснащених пластинами із твердих сплавів при обробці деталей із чорних та кольорових металів.
Супорт верстата 165 має механічне переміщення верхньої частинини, що дозволяє робити точення довгих конусів. Точення коротких конусів також здійснюється рухом верхньої частинини супорта.
Зміна величин подач і налаштування на крок різьби, що нарізається, здійснюються перемиканням зубчастиних коліс коробки подач і налаштуванням гітари змінних шестерень.
Супорт має швидке переміщення в поздовжньому та поперечному напрямках, яке здійснюється від індивідуального електродвигуна.
Верстат 165 призначений для обробки чорних та кольорових металів з великими швидкостями різання різцями зі швидкорізальної сталі та твердих сплавів.
Коробка подач закритого типу забезпечує нарізування стандартного різьблення. Точні різьблення нарізаються із застосуванням змінних зубчастиних коліс, минаючи коробку подач.
Зміна чисел оборотів шпинделя та швидкості подачі супорта здійснюються перемиканням зубчастиних коліс коробки швидкостей та коробки подач за допомогою рукояток.
Переміщення задньої бабки та висування пінолі виконуються вручну обертанням маховичків.
Клас точності верстата Н. Шорсткість обробленої поверхні V 6.
Технічна характеристика та жорсткість верстатів дозволяють повністю використовувати можливості швидкорізального та твердосплавного інструменту при обробці як чорних, так і кольорових металів.
Вид кліматичного виконання - УХЛ4 за ГОСТ 15150-69.
Клас точності - Н за ГОСТ 8-82Е.
165 – Ø 1000 універсальний токарно-гвинторізний
1Н65, 1Н65Ф1, 1Н65Г, 1Н65ГФ1 – Ø 1000 універсальний токарно-гвинторізний
16К50, 16К50П – Ø 1000 універсальний токарно-гвинторізний
1658, 1658 – Ø 1000 універсальний токарно-гвинторізний
РТ28608, РТ539, РТ53901, РТ732, РТ366, РТ731 – Ø 1000 універсальний токарно-гвинторізний
У 1934 році на Московському верстатобудівному заводі "Червоний пролетар" освоюється випуск важких універсальних токарно-гвинторізних верстатів ДІП-300 , ДІП-400 , ДІП-500 . Як прототип був обраний токарно-гвинторізний верстат німецької фірми VDF.
У 1944 році виробництво цих верстатів було передано на Рязанський верстатобудівний завод РСЗ .
У 1953 році запущено у виробництво перший верстат 165-ї серії – модель 165 (діаметр обробки – Ø 1000 мм).
Серійний випуск токарних верстатів: 1м65 , 1н65 .

Габарит робочого простору токарного верстата моделі 165

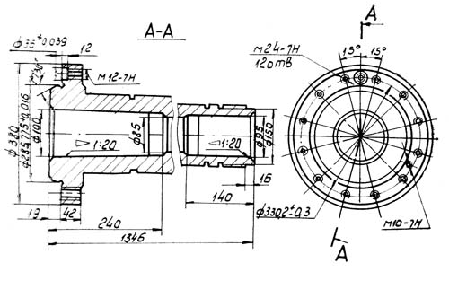
Шпиндель токарно-гвинторізного верстата 165

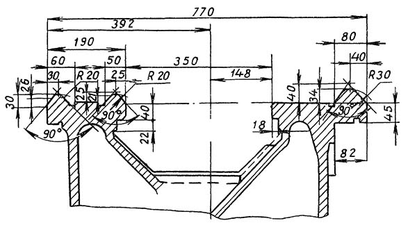
Станина токарно-гвинторізного верстата 165
Станина токарно-гвинторізного верстата 165. Дивитись у збільшеному масштабі

Фото токарно-гвинторізного верстата 165
Фото токарно-гвинторізного верстата 165. Дивитись у збільшеному масштабі

Фото токарно-гвинторізного верстата 165
Фото токарно-гвинторізного верстата 165. Дивитись у збільшеному масштабі

Фото токарно-гвинторізного верстата 165
Фото токарно-гвинторізного верстата 165. Дивитись у збільшеному масштабі

Розташування основних вузлів токарного верстата 165
Розташування складових частинин токарно-гвинторізного верстата 165. Дивитись у збільшеному масштабі

Розташування органів керування токарним верстатом 165
Розташування органів керування токарно-гвинторізним верстатом 165. Дивитись у збільшеному масштабі

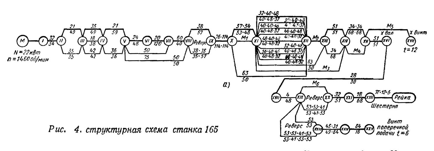
Структурна схема токарного верстата 165 (с кінематичної схемой 2)
1. Структурна схема токарно-гвинторізного верстата моделі 165. Дивитись у збільшеному масштабі

Кінематична схема токарно-гвинторізного верстата 165
1. Кінематична схема токарно-гвинторізного верстата моделі 165. Дивитись у збільшеному масштабі
2. Кінематична схема токарно-гвинторізного верстата моделі 165. Дивитись у збільшеному масштабі

Схема розположення підшибників токарно-гвинторізного верстата 165
Привід головного руху осуществляется от електродвигуна через клиноременную передачу.
Коробка швидкостей сообщает шпинделю 24 различных скорости как прямого, так і обратного обертання через кинематические ланцюги согласно табл. 4.
Реверс шпинделя осуществляется електродвигуном.
На вал IX коробки швидкостей вращение передається от шпинделя через зубчасті колеса 21—22, 26—27 или от вала V (при включении звена увеличения шага в восемь раз) через зубчасті колеса 16—24, 23—22, 26—27. Бал IX при етом получает соответственно один или восемь оборотів на один оборот шпинделя.
Блок зубчатых колес 25 і 28 предназначен для изменения направления переміщення каретки при нарезании різьби.
В коробку подач рух передається з вала IX через сменные зубчасті колеса 30—32—31.
Коробка подач сообщает суппорту через обгонную муфту, ходовой вал XXIII і механізм фартука 32 продольных і поперечных подачі.
Расчет кінематичної ланцюги поздовжньої і поперечної подач производится по формуле
i = iсм * iк.п * iф
где:
iсм — передаточное отношение сменных зубчатых колес;
iк.п — передаточное отношение коробки подач;
iф — передаточное отношение фартука.
Кинематические ланцюги, через которые осуществляются подачі, приведены в табл. 5 для коробки подач і в табл. 6 для фартука.
Нарезание різьб осуществляется через кинематические ланцюги коробки подач, приведенные в табл. 7. Кроме того, нарезание різьб можно производить при прямом з'єднанні ходового гвинта со сменными шестернями, подбирая соответствующее iсм (см. табл. 24). Диапазон подач і різьб расширяется при использовании звена увеличения шага в восемь раз.
Список елементів кінематичної схеми (см. рис. 4) приведен в табл. 8, а корригированных зубчатых колес — в табл.9.
Станина является базовой сборочной единицей, на которой монтируются все остальные сборочные единицы і механізмы верстата.
На верхней частини станины расположены три призматические направляющие, из которых передняя і задня є базой каретки, а средняя — базой задньої бабки.
Внутри станины имеются наклонные люки для відведення стружки і охлаждающей жидкости в сторону, противоположную рабочему месту.
Под левой головной частью станины находятся ниши, в одной из которых смонтирован електродвигатель головного привода, а в другой — електронасос охлаждения з резервуаром для охлаждающей жидкости. Корито для сбора охлаждающей жидкости выполнено монолитным з корпусом станины.
В правой частини станины на передньої стенке смонтирован кронштейн со встроенными в него опорами ходового гвинта і ходового вала і редуктором швидкого переміщення суппорта з фланцевым електродвигуном.
Для предотобертання провисания ходового гвинта і ходового вала в станке з РМЦ 5000 имеются две подвески.

Бабка передняя токарно-гвинторізного верстата 165
Бабка передняя устанавливается на левой головной частини станины, фиксируется штифтами і крепится болтами.
В корпусе передньої бабки смонтированы:
Шпиндель смонтирован на трех опорах качения, из которых передняя і задня регулируемые.
Опис регулювання шпиндельных підшибників приведено в разделе «Регулювання».
Налаштування частоти обертання шпинделя, а также налаштування на нарезание правой или левой різьби нормального или увеличенного шага производится переміщенням зубчатых колес по шлицевым валам з помощью рукояток, расположенных на передньої стенке бабки передньої (см. рис. 37 і табл. 22).
Шлицы валов і зубья зубчатых колес закалены і отшлифованы.
Увімкнення звена увеличения шага возможно только при работе з перебором.
Бабка задня перемещается по направляющим станины от редуктора ручного переміщення вращением валика 26 (см. рис. 3).
Бабка крепится к станине при помощи двух прихватов тремя болтами.
Для жесткой фиксации в осевом направлении в бабке задньої имеется упор, который можно вводить в литые впадины станины рукояткой 27.
Корпус бабки смещается по мостику в поперечном направлении (см. подраздел «Регулювання»).
В пиноль бабки встроен вращающийся шпиндель, підшипники передньої опори которого регулируются з помощью гаек.
Быстрое перемещение пиноли производится маховиком 29. стопорение — рукояткой 33.
Медленное перемещение пиноли осуществляется рукоятками 31 через червячный редуктор, включаемый рукояткой 30.
Для сверления, зенкерования і развертывания поворотом толкателя 28 необходимо включить зубчатую муфту, жестко соединяющую шпиндель з пинолью.
В шпинделе бабки задньої имеется прорезь для лапок хвостового режущего инструмента.
При смене центра или инструмента пиноль необходимо вдвинуть в корпус бабки до отказа. При етом толкатель выталкивает центр или инструмент из шпинделя.
Суппорт крестовой конструкції имеет продольное перемещение вместе з кареткой по направляющим станины і поперечное по направляющим каретки. Оба переміщення осуществляются механически (с рабочей подачей і использованием механізма швидкого переміщення) і вручную.
Резцовые салазки, несущие четырехпозиционный резцедержатель, перемещаются вручную по направляющим поворотной частини, которую можно повернуть вокруг вертикальной оси на любой угол.
Гайка винтовой пары поперечного переміщення суппорта составная і разделена регулировочным клином. Регулювання зазоров в направляючих каретки, поворотной частини, производимое клиньями, в' винтовой паре поперечного' переміщення суппорта приведено в подразделе 2.4. «Регулювання».
Фартук — закрытого типа со съемной передньої стенкой (крышкой).
Рух суппортной группе передається механізмом фартука от ходового вала или ходового гвинта.
Благодаря наличию в фартуке четырех електромагнітних муфт керування механическим переміщенням суппортной группы сосредоточено в одной рукоятке 23 керування механическими ходуми каретки і суппорта (см. рис. 3), причем направление увімкнення рукоятки совпадает з направлением подачі.
Дополнительным нажатием кнопки 24 (см. рис. 3), встроенной в рукоятку 23, можно включить быстрый ход суппорта в направлении наклона рукоятки керування (23).
Благодаря обгонной муфте, вмонтированной в коробку подач, увімкнення швидкого ходу возможно при включенной подаче.
Гайка ходового гвинта разрезная, включается рукояткой 21 через кулачковое пристрій.
Во избежание одновременного увімкнення гайки ходового гвинта і подачі имеется електромеханическая блокировка.
В фартуке смонтирован механізм предохранительной муфты, исключающей поломку верстата при перегрузках. Регулювання її приведена в подразделе 2.4. «Регулювання».
Коробка подач — закрытого типа со съемной передньої стенкой (крышкой).
Механізм коробки подач позволяет получить все подачі і нарезаемые на станке різьби, не прибегая к изменению налаштування сменных шестерен.
Настройку коробки подач на подачу или нарезание різьби производить в соответствии з табл. 23 і 24 в следующем порядке (см. рис. 3 і рис. 38):
При налаштуванні на нарезание різьб з шагом підвищеної точності ходовой винт соединить зубчатыми муфтами напрямую з приемным валом коробки подач в соответствии з табл. 25 (см. рис. 39).
Комплект сменных зубчатых колес з iсм = 2/3, позволяющий получать на станке все різьби і подачі, указанные в разделе «Паспорт», установлен на стенке бабки передньої.
В конструкції механізма сменных шестерен предусмотрена возможность установки і других комплектов зубчатых колес.
В состав верстата входит четырехкулачковый несамоцентрирующий патрон диаметром 1000 мм.
Для обробки нежестких деталей верстат снабжен двумя люнетами — подвижным і неподвижным.

Регулювання підшибників шпинделя токарно-гвинторізного верстата 165
По истечении некоторого часу може потребоваться регулювання механізмов з целью обеспечения нормальных зазоров і компенсации износа. Ниже даются указания по регулированию окремих механізмов.
Шпиндель токарного верстата 165 смонтирован на 5-и підшипниках:
Підшипники передньої опори шпинделя надлежит регулировать в следующем порядке (рис. 21):
Для чего предварительно снять стакан, закрывающий конец шпинделя, затем ослабляют стопорный винт 10 і подтягивают гайку 9.
После регулировки підшипника винт 10 стопорится вновь. Правильность регулировки установить методами проверки радиального і осьового биения шпинделя согласно нормам точності на верстат. При выключенном зацеплении зубчатых колес шпиндель після регулировки підшибників должен свободно провертываться от руки.
При транспортировке или же в процессе роботи може нарушиться параллельность оси шпинделя относительно направляючих станины. В етом случае ослабляются все винты, соединяющие коробку швидкостей со станиной. Ось шпинделя выставляется з помощью винтов 1, ввинченных в колодки 2, расположенные под коробкой швидкостей з обеих сторон і жестко связанные з післядней. После выставки оси шпинделя винты затягиваются.
Поперечное перемещение корпуса задньої бабки при точении конусов или при установці оси пиноли соосно з осью шпинделя осуществляется з помощью ослабления і подтягивания двух винтов 1, расположенных по обе стороны задньої бабки. При установці задньої бабки в исходное положение необходимо совместить риски, нанесенные на платиках корпуса задньої бабки і мостика со стороны заднего торца.
Зазор в направляючих резцовых салазок регулируется путем подтягивания клина 1 винтом 3, після чего положение фиксируется винтом 2.
| Наименование параметра | ДИП-500 (1д65) |
165 | 1м65 | 1н65 |
|---|---|---|---|---|
| Основні параметри | ||||
| Класс точності по ГОСТ 8-82 | Н | Н | Н, П | Н, П |
| Наибольший диаметр обрабатываемой заготовки над станиной, мм | 1000 | 1000 | 1000 | 1000 |
| Наибольший диаметр обрабатываемой заготовки над суппортом, мм | 620 | 600 | 600 | 650 |
| Наибольшая длина заготовки (РМЦ), мм | 5000 | 2800, 5000 | 3000, 5000, 8000 | 1000, 3000, 5000 |
| Высота устанавливаемого резца, мм | 45 х 45 | 50 | ||
| Наибольшая масса заготовки в центрах, кг | 5000 | 5000 | 5000 | |
| Шпиндель | ||||
| Диаметр сквозного отверстия в шпинделе, мм | 100 | 85 | 85 | 128 |
| Наибольший диаметр зажимаемого прутка, мм | 80 | 80 | 120 | |
| Наибольший крутящий момент на шпинделе, кН/м | 9,5 | |||
| Число ступеней частот прямого обертання шпинделя | 12 | 24 | 24 | 24 |
| Частота прямого обертання шпинделя, об/мин | 4,25..192 | 5...500 | 5...500 | 5...500 |
| Размер внутреннего конуса в шпинделе | КМ 6 | 100, 1:20 | 100, 1:20 | 100, 1:20 |
| Кінець шпинделя по ГОСТ 12595-72 | 1-15М | 1-15М | 2-15М | |
| Диаметр стандартного патрона, мм | 1000 | |||
| Торможение шпинделя | есть | есть | есть | есть |
| Подачи | ||||
| Наибольшее продольное перемещение суппорта РМЦ=3000, мм | 2520 | 2710 | 700, 2700, 4500 | |
| Наибольшее поперечное перемещение суппорта, мм | 600 | 600 | 600 | |
| Цена деления лимба при продольном перемещении, мм | нет | 0,1 | 0,1 | 0,1 |
| Цена деления лимба при поперечном перемещении, мм | 0,05 | 0,05 | 0,05 | 0,05 |
| Наибольшее продольное перемещение на оборот лимба, мм | 10 | 50 | 50 | 50 |
| Наибольшее поперечное перемещение на оборот лимба, мм | 12 | 6 | 6 | 6 |
| Число ступеней продольных подач | 32 | 32 | 40 | |
| Пределы продольных подач, мм/об | 0,225..3,15 | 0,20..3,05 | 0,20..3,05 | 0,05..3,05 |
| Пределы поперечных подач, мм/об | 0,114..1,6 | 0,07..1,04 | 0,07..1,04 | 0,017..1,04 |
| Наибольшее продольное усилие різання Pz, кН | 12 | 12 | 41 | |
| Наибольшее поперечное усилие різання Pх, кН | 780 | 780 | ||
| Скорость быстрых перемещений суппорта, продольных, м/мин | нет | 2,16 | 3 | 3 |
| Скорость быстрых перемещений суппорта, поперечных, м/мин | нет | 0,735 | 1 | 1 |
| Количество нарезаемых різьб метрических | 22 | 44 | ||
| Пределы шагов нарезаемых різьб метрических, мм | 1..14 | 1...120 | 1...120 | 1...120 |
| Количество нарезаемых різьб дюймовых | 36 | 31 | ||
| Пределы шагов нарезаемых різьб дюймовых | 2..28 | 28...¼ | 28...¼ | 28...¼ |
| Количество нарезаемых різьб модульных | 13 | 37 | ||
| Пределы шагов нарезаемых різьб модульных | 0,25..3,5 | 0,5...30 | 1...120 | 0,5...30 |
| Количество нарезаемых різьб питчевых | нет | нет | нет | нет |
| Выключающие упоры продольные | нет | нет | ||
| Выключающие упоры поперечные | нет | нет | ||
| Резцовые салазки (верхний суппорт) | ||||
| Наибольшее перемещение резцовых салазок, мм | 240 | 240 | 240 | |
| Цена деления лимба переміщення резцовых салазок, мм | 0,05 | 0,05 | 0,05 | 0,05 |
| Число ступеней подач | 40 | |||
| Пределы продольных подач, мм/об | 0,017..1,04 | |||
| Скорость быстрых перемещений, мм/мин | 1 | |||
| Наибольший угол поворота, град | ±90° | |||
| Цена одного деления угла поворота, град | 1° | |||
| Задня бабка | ||||
| Центр в шпинделе по ГОСТ 13214-79 | Морзе 6 | Морзе 5 | Морзе 5 | |
| Наибольшее перемещение пиноли, мм | 300 | 300 | 300 | |
| Наибольшее перемещение пиноли з установленным инструментом, мм | 280 | |||
| Диаметр пиноли, мм | 120 | |||
| Наибольшее перемещение пиноли в поперечном направлении, мм | ±30 | ±15 | ||
| Електроустаткування | ||||
| Количество електродвигателей на станке | 1 | 3 | 4 | 3 |
| Електродвигун головного привода, кВт | 17 | 22 | 22 | 22 |
| Електродвигун швидкого ходу суппорта, кВт | нет | 1,5 | 1,5 | 1,5 |
| Привід насоса змазки | Встроен | С12-54 | ||
| Насос охлаждения (помпа) | ПА-22 | ПА-22 | 0,12 | |
| Суммарная мощность всех електродвигателей, кВт | 23,62 | |||
| Габарити і масса верстата | ||||
| Габарити верстата (длина ширина высота) РМЦ=2800,3000, мм | 8000 х 1700 х 1620 | 5825 х 2100 х 1760 | 6140 х 2200 х 1760 | 6140 х 2200 х 1770 |
| Масса верстата РМЦ=3000, кг | 11500 | 12500 | 12800 | 12800 |
Замовити
Хто володіє інформацією – той володіє світом.
Натан Ротшильд