Виробник та розробник токарного верстата моделі 1ІС611В - Іжевський верстатобудівний завод Іжмаш , заснований у 1807 році.
Історія верстатобудування на Іжевському машинобудівному заводі "Іжмаш" починається 28 липня 1930 р. після виходу наказу №181 про створення верстатобудівного відділу.
Першою продукцією верстатобудівного виробництва на заводі став токарний верстат фірми "Леве" із зовнішньою трансмісією.
Найбільш масовими моделями універсальних токарних верстатів, випущеними в різний час, стали "Удмурт", "Удмурт-2" (161-АМ), ІЖ-250, 1І611П, 1ІС611В, 95ТС, 250ІТВМ, 250ІТВМ4 та токар.
Верстат токарно-гвинторізний 1ИС611В изготовлен на базе токарно-гвинторізного верстата 1и611п.
Універсальний токарно-гвинторізний верстат 1ІС611В високої точності інструментальної групи призначений для виконання найрізноманітніших робіт у центрах, цангових або кулачкових патронах по чорних та кольорових металах, включаючи точення конусів, а також для нарізування метричних, модульних, дюймових різьблень.
Верстат 1ІС611В застосовується для чистових та напівчистових робіт у одиничному та дрібносерійному виробництві. Верстати призначені для експлуатації переважно у багатоповерхових будинках, а також у рухомих ремонтних майстернях та судах.
Токарно-гвинторізний верстат 1ІС611В забезпечує:

Габаритні розміри робочого простору верстата 1611в

Фото токарно-гвинторізного верстата 1ис611в
Фото токарно-гвинторізного верстата 1ИС611В. Дивитись у збільшеному масштабі

Фото токарно-гвинторізного верстата 1ис611в

Фото токарно-гвинторізного верстата 1ис611в
Фото токарно-гвинторізного верстата 1ИС611В. Дивитись у збільшеному масштабі

Розташування основних вузлів верстата 1ис611в

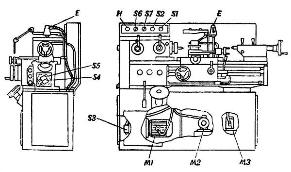
Розташування органів керування токарно-гвинторізним верстатом 1ис611в
Електроустаткування выполнено по следующим документам
Питание ланцюгів електроустаткування осуществляется следующими напряжениями:
Електроустаткування верстата предназначено для подключения к трехфазной сети переменного тока з глухозаземленным или изолированным нейтральным проводом.
На станке установлены четыре трехфазных короткозамкнутых асинхронных електродвигуна:

Електрична схема токарно-гвинторізного верстата 1ис611в
Схема електрична токарно-гвинторізного верстата 1ИС611В. Дивитись у збільшеному масштабі
Загальні відомості. На станке установлены три трехфазных короткозамкнутых асинхронных електродвигуна (см. рис. 13 і 14).
С задньої стороны передньої бабки установлен електрошкаф з аппаратурой керування.
Ввод питающих проводов в електрошкаф осуществляется сверху или знизу через отверстие в угольнике з трубной резьбой 1/2". (Применяется провод марки ПВ3 сечением не менее 1,5 мм2).
Над передньої бабкой в електрошкафу расположены органы керування:
Около выключателя сети установлена также сигнальная лампочка Н з линзой белого цвета, показывающая включенное состояние выключателя S6.
Освещение робочого места производится светильником з гибкой стойкой, установленным з задньої стороны суппорта. С левой стороны редуктора установлен выключатель для отключения обертання шпинделя і притормаживания електродвигуна головного приводу при переключении скорости обертання шпинделя.
С правой стороны станины установлены два выключателя, действующие от валика керування для увімкнення і отключения обертання шпинделя, а также і его реверсирования.
При уходе за електрообладнанням необходимо периодически проверять состояние пусковой і релейной апаратури. При її осмотрах особое внимание следует обращать на надежное замыкание і размыкание контактных мостиков.
Во время експлуатации електродвигателей систематически производить технические осмотры і профилактические ремонты. Их периодичность устанавливается в зависимости от производственных условий, но не реже одного раза в два месяца.
При профилактических ремонтах должна производиться разборка електродвигателей, внутренняя і наружная чистка і замена змазки підшибників.
Схема електрична принципова показана на рис. 14. В табл. 11 указан перечень к схеме.
Перед началом роботи необходимо убедиться, что выключатель сети находится во включенном состоянии, о чем должна показывать сигнальная лампочка, а валик керування — в нейтральном (среднем) положении. Затем включается насос змазки.
Пуск електродвигуна Ml головного приводу осуществляется переводом рукоятки валика керування в верхнее или нижнее положение. В верхнем положении рукоятки нажимается выключатель
S1 который включает пускатель К2, при етом будет прямое вращение електродвигуна Ml.
При переводе рукоятки валика в нижнее положение нажимается выключатель S5, который включает пускатель КЗ, при етом електродвигателю Ml будет обеспечено обратное вращение.
При установці валика керування из верхнего или нижнего положения в нейтральное (среднее) отключается пускатель К2 или КЗ включается реле часу К4, которое своим замыкающим контактом включает пускатель торможения К5, а другой размыкающийся контакт з выдержкой часу отключает етот пускатель. Величина выдержки, настроенная на время 2,5 сек., обеспечивает торможение електродвигуна Ml до полного его останова.
Электродинамическое торможение происходит путем подачі постоянного тока от выпрямителя V в обмотку статора електродвигуна.
Переключення скорости редуктора осуществляется его рукояткой, действующей на выключатель S3, который размыкает ланцюг обертання двигуна і соединяет ланцюг електродинамического торможения. После переключения скорости при опускании рукоятки ланцюг обертання електродвигуна Ml восстанавливается.
При срабатывании тепловой защиты во время обертання шпинделя відключення електродвигателей происходит только після окончания обробки детали. После чего увімкнення обертання шпинделя возможно только після восстановления кнопки возврата теплового реле в исходное положение.
Увімкнення і відключення електронасоса охлаждения М3 производится выключателем S7 при работающем двигателе змазки М2.
Увімкнення і відключення местного освещения производится выключателем S8, установленным на светильнике.
Захист електроустаткування верстата от токов коротких замыканий обеспечивается плавкими предохранителями F3 . .. F8.
Захист електродвигателей от длительных перегрузок осуществляется тепловыми реле F1 і F2.
Нулевая защита електрической схеми обеспечивается пускателем К1.
При первоначальном пуске верстата необходимо прежде всего проверить надежность заземления і качество монтажа електроустаткування внешним осмотром.
Вводным выключателем S6 Верстат подключить к цеховой сети. Проверить выдержку реле часу. Величина выдержки должна быть 2,5 сек. (время, необходимое для електродинамического торможения електродвигуна головного руху).
Нажатием кнопки S2 зеленого цвета проверить правильность обертання електродвигуна насоса змазки М2. При несоответствии обертання необходимо поменять между собой любые фазы електроживлення верстата.

Список елементів токарно-гвинторізного верстата 1ИС611В
Список елементів токарно-гвинторізного верстата 1ИС611В. Дивитись у збільшеному масштабі

Схема розміщення електроустаткування на токарно-винторезном станке 1ис611в

Монтажная схема токарно-гвинторізного верстата 1ИС611В
Схема Монтажная токарно-гвинторізного верстата 1ИС611В. Дивитись у збільшеному масштабі
| Наименование параметра | 1И611П | 250ИТВМ.01 | 1ИС611В |
|---|---|---|---|
| Основні параметри | |||
| Класс точності по ГОСТ 8-82 | П | В | В |
| Наибольший диаметр заготовки над станиной, мм | 250 | 240 | 250 |
| Наибольший диаметр заготовки над суппортом, мм | 125 | 168 | 125 |
| Наибольшая длина заготовки (РМЦ), мм | 500 | 500 | 500 |
| Высота центров, мм | 130 | 150 | 130 |
| Наибольшее расстояние от оси центров до кромки резцедержателя, мм | 130 | 127 | 130 |
| Шпидель | |||
| Диаметр сквозного отверстия в шпинделе, мм | 25 | 25 | 25 |
| Наибольший диаметр прутка, мм | 24 | 24 | 24 |
| Число ступеней частот прямого обертання шпинделя | 21 | ||
| Частота прямого обертання шпинделя, об/мин | 20..2000 | 25..2500 | 25..2500 |
| Число ступеней частот обратного обертання шпинделя | 21 | ||
| Частота обратного обертання шпинделя, об/мин | 20..2000 | 25..2500 | 25..2500 |
| Размер внутреннего конуса в шпинделе, М | Морзе 4 | Морзе 4 | Морзе 4 |
| Кінець шпинделя по ГОСТ 12593-72 | 4 | 4 | 4 |
| Суппорт. Подачи | |||
| Наибольшее продольное перемещение (длина ходу каретки; длина обточки) по валику і по винту, мм | 500 | 500 | 500 |
| Наибольшие розміри державки резцов, мм | 16 х 16 | 16 х 16 | 16 х 16 |
| Высота от опорной поверхности резца до линии центров, мм | 16 | 16 | 16 |
| Цена деления лимба при продольном перемещении, мм | 0,1 | 0,1 | 0,1 |
| Цена деления лимба при поперечном перемещении, мм | 0,01 | 0,01 | 0,01 |
| Число ступеней продольных подач | 25 | ||
| Пределы рабочих подач продольных, мм/об | 0,01..1,8 | 0,01..1,8 | 0,01..3,0 |
| Число ступеней поперечных подач | |||
| Пределы рабочих подач поперечных, мм/об | 0,005..0,9 | 0,005..0,9 | |
| Скорость быстрых перемещений суппорта, продольных, м/мин | нет | нет | нет |
| Швидкість швидких переміщень супорта, поперечних, м/хв. | ні | ні | ні |
| Межі кроків різьб метричних, що нарізаються, мм | 0,2..48 | 0,2..48 | 0,2..48 |
| Межі кроків різьблення дюймових | 24..0,5 | 24..0,5 | 24..0,5 |
| Межі кроків різьблення модульних | 0,2..30 | 0,2..12 | 0,2..30 |
| Межі кроків різьблення питних | ні | ні | ні |
| Різьбопокажчик | ні | ||
| Захист від перевантаження | є | ||
| Блокування | є | ||
| Вимикаючі упори | є | ||
| Швидке переміщення | ні | ||
| Різцеві санки | |||
| Найбільший кут повороту, град | 160 | ||
| Ціна розподілу шкали повороту, град | 1 | 1 | 1 |
| Найбільше переміщення різцевих санок (верхнього супорта), мм | 120 | ||
| Ціна поділу лімба переміщення різцевих санчат, мм | 0,05 | ||
| Задня бабка | |||
| Конус | Морзе 3 | Морзе 3 | Морзе 3 |
| Найбільше переміщення пінолі, мм | 85 | ||
| Ціна поділу лінійки переміщення пінолі, мм | 1 | ||
| Ціна поділу лімба переміщення пінолі, мм | 0,05 | ||
| Поперечне зміщення, мм | ±10 | ||
| Електроустаткування | |||
| Кількість електродвигунів на верстаті | 3 | 3 | 3 |
| Електродвигун головного приводу, кВт | 3 | 3 | 3 |
| Тип електродвигуна головного приводу | AOL2-32-4 | AIR100S4PU3 | 4А100S4 |
| Електродвигун швидких переміщень, кВт | ні | ні | ні |
| Електродвигун насоса мастила, кВт | 0,08 | 0,09 | |
| Електродвигун насоса охолодження, кВт | 0,05 | 0,12 | |
| Габарити та маса верстата | |||
| Габарити верстата (довжина ширина висота), мм | 1770 х 970 х 1300 | 1790 х 810 х 1400 | 1880 х 830 х 1339 |
| Маса верстата, кг | 1120 | 1180 | 1200 |