Виробник токарного верстата 1А64 - Рязанський верстатобудівний завод РСЗ , заснований у 1949 році.
Свій перший верстат Рязанський верстатобудівний завод випустив 21 лютого 1949 - це був токарно-гвинторізний верстат 164 серії. Протягом короткого часу заводом було запущено в виробництво ще три серії токарних верстатів - 166, 165 у 1953 році, 163 у 1956 році.
У міру вдосконалення конструкції верстатів завод випускав все більш сучасні моделі - 1М63 , 1М63Б , 1М63БФ101 , 1М63Н , 16К30 , 1А64 , 16К40 , 1М65 , 1Н65 .
На основі універсальних токарних верстатів Рязанським верстатобудівним заводом був освоєний випуск токарних верстатів з ЧПУ - 16К30Ф3 , 16М30Ф3 , 16К40РФ3, 16Р50Ф3 та ін.
Також заводом освоєно випуск сучасних токарних обробних центрів з числом координат від 4 до 8, токарних верстатів з ЧПУ похилої 1П756ДФ3 і горизонтальної компоновок, трубообробних верстатів 1А983 , 1Н983 - для обробки кінців труб діаметром до 460 мм, колесотокарних, колесотокарних та ін.
Верстат 1А64 запущений у серію в 1953 році і замінив у виробництві застарілий токарний верстат 164.
На зміну токарно-гвинторізний верстат 1А64 прийшов токарно-гвинторізний верстат більш досконалої конструкції - 16К40 .
Верстат 1А64 призначений для обробки чорних та кольорових металів з великими швидкостями різання різцями зі швидкорізальної сталі та твердих сплавів.
Так як верстат 1А64 дозволяє обробляти заготівлі масою до 5 тонн, його доцільно застосовувати в умовах одиничного і дрібносерійного виробництва, в ремонтних і інструментальних цехах промислових підприємств.
На верстаті 1А64 можна виконувати різноманітні токарні роботи, включаючи точення конусів, а також нарізання метричної, модульної та дюймової різьблення.
Зміна чисел оборотів шпинделя та швидкості подач супорта здійснюється перемиканням зубчастиних коліс коробки швидкостей та коробки подач за допомогою рукояток.
Для поздовжніх і поперечних переміщень супорта є ручний та механічний приводи.
Для швидких ходів супорта застосовується окремий електродвигун.
Технічна характеристика та жорсткість верстатів дозволяють повністю використовувати можливості швидкорізального та твердосплавного інструментів при обробці чорних та кольорових металів.
Клас точності верстата Н.
Шорсткість обробленої поверхні V 6.
Розробник верстата 1А64 - Рязанське спеціальне конструкторське бюро верстатобудування.
Виробник - Рязанський верстатобудівний завод
У 1934 році на Московському верстатобудівному заводі "Червоний пролетар" освоюється випуск важких універсальних токарно-гвинторізних верстатів ДІП-300 , ДІП-400 , ДІП-500 . Як прототип був обраний токарно-гвинторізний верстат німецької фірми VDF.
У 1944 році виробництво цих верстатів було передано на Рязанський верстатобудівний завод РСЗ .
У 1949 році запущено у виробництво перший верстат 164-ї серії – модель 164 (діаметр обробки – Ø 800 мм).
У 1953 році запущено у виробництво верстат наступного покоління серії - 1а64 .
З 1972 року початок серійного випуску токарних верстатів: 1л64 , 1м64 .
У 1978 році початок серійного випуску верстата 16К40 .
У 1992 році початок серійного випуску останньої моделі серії - 16р40 .

Габаритні розміри робочого простору токарного верстата 1а64

Габарити робочого простору токарного верстата 1а64

Шпиндель токарно-гвинторізного верстата 1а64

Станина токарно-гвинторізного верстата 1а64
Станина токарно-гвинторізного верстата 1а64. Дивитись у збільшеному масштабі

Фото токарно-гвинторізного верстата 1а64

Фото токарно-гвинторізного верстата 1а64
Фото токарно-гвинторізного верстата 1а64. Дивитись у збільшеному масштабі

Фото токарно-гвинторізного верстата 1а64
Фото токарно-гвинторізного верстата 1а64. Дивитись у збільшеному масштабі

Фото токарно-гвинторізного верстата 1а64
Фото токарно-гвинторізного верстата 1а64. Дивитись у збільшеному масштабі

Розташування основних вузлів токарного верстата 1А64
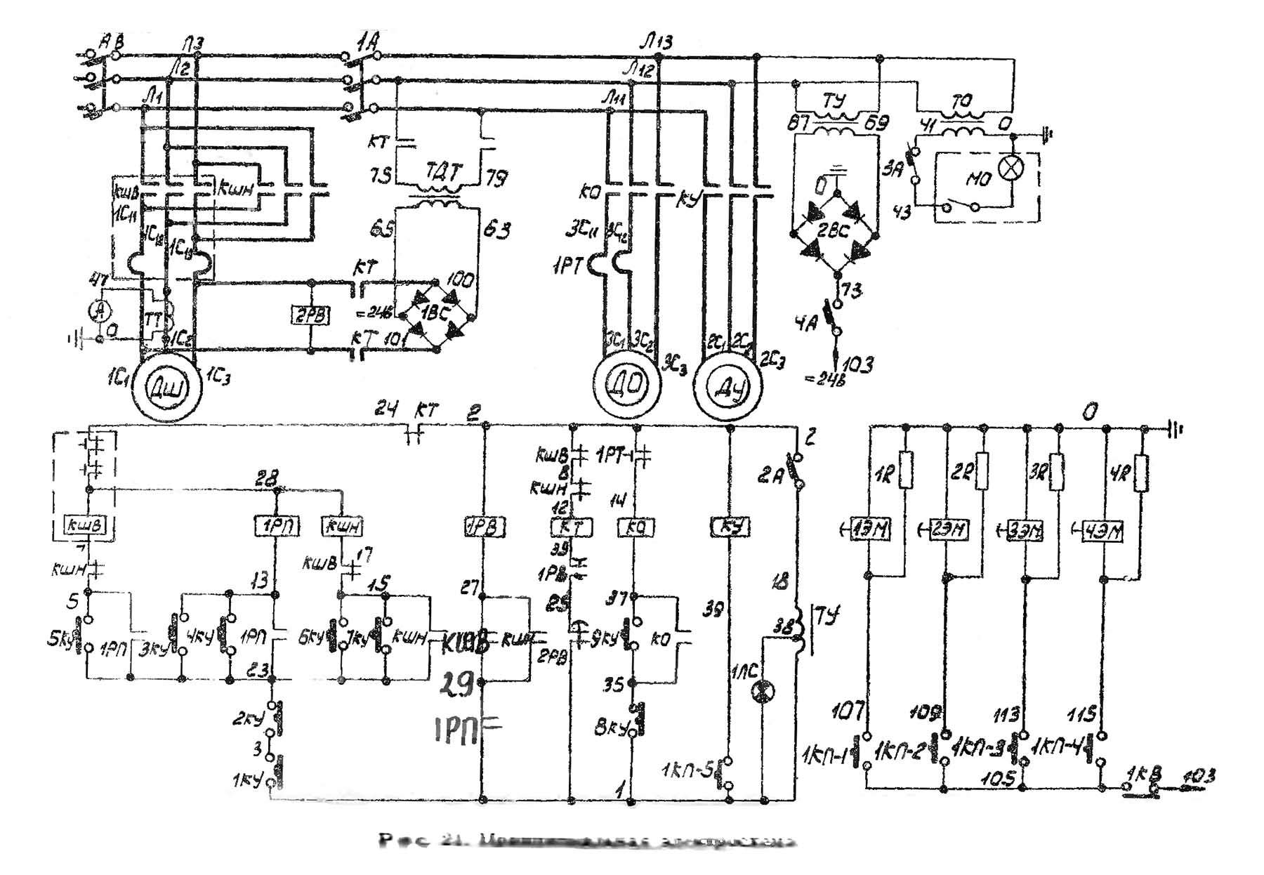
Електроустаткування токарно-гвинторізного верстата моделі 165 выполнено по:
Питание ланцюгів електроустаткування осуществляется следующими напряжениями:
Електроустаткування верстата предназначено для подключения к трехфазной сети переменного тока з глухозаземленным или изолированным нейтральным проводом.
Вся аппаратура керування електроприводами верстата смонтирована в нише передньої бабки.
На станке установлены наступні електродвигатели:
Керування електроприводами верстата дистанционное, кнопкове, осуществляется (см. рис. 18):
Присоединение електроустаткування верстата к цеховой електросети осуществляется з помощью вводного автомата (автоматичного выключателя) BAI, установленного на боковой степи ниши передньої бабки. Ввод осуществляется проводом сечением 10 мм2.
Захист електродвигателей і ланцюгів керування от токов короткого замыкания і перегрузок производится автоматическими выключателями і тепловыми реле.
Величины номинальных токов і значений уставок магнитных пускачів і реле приведены в табл. 11, 12, 13.
Нулевая защита електроустаткування верстата осуществляется размыканием з. (замыкающих) блок-контактов в ланцюги саможивлення магнитных пускачів і реле при исчезновении напряжения в цеховой електросети.
Перед первоначальным пуском проверяется:
После проверки електроустаткування в станції керування отсоединяются провода живлення всех електродвигателей. Увімкненням вводного автомата ВА1 автоматичного выключатели електрообладнання верстата подключается к цеховой сети. Воздействием на органы керування на пультах, на конечные выключатели і другие аппараты нажимного дії проверяются правильность і четкость срабатывания магнитных пускачів і апаратури керування електродвигунами і другими исполнительными пристроями, а также проверяется действие блокировок і сигнализации.
Отключается вводной автомат ВА1 і к станції керування подсоединяются провода живлення електродвигателей.
Производится проверка з включением електродвигателей і других исполнительных органів.

Електрична схема токарного верстата 1а64, 165
Схема електрична токарно-гвинторізного верстата 165 (1970 год). Дивитись у збільшеному масштабі
Нулевая защита електроустаткування верстата осуществляется размыканием з. (замыкающих) блок-контактов в ланцюги саможивлення магнитных пускачів і реле при исчезновении напряжения в цеховой електросети.
Перед включением електроустаткування верстата необходимо выполнить наступні операции:
Вручную включить вводной автомат ВА1, установленный на боковой стенке ниши передньої бабки.
На щитке передньої бабки загорается сигнальная лампочка ЛС1 белого цвета, сигнализирующая о включении автомата ВА1. Увімкненням вводного автомата ВА1 осуществляется подача напряжения от внешней сети для живлення електроустаткування верстата.
Аварийное відключення електроприводов верстата производится нажатием на кнопку «Аварийный стоп», расположенную на пульті передньої бабки.
Для снятия напряжения со верстата необходимо отключить вручную вводной автомат ВА1.
Главный електропривід (вращение вироби) осуществляется от асинхронного електродвигуна трехфазного тока M1 типа АО2-62-4 мощностью 17 кВт, 1450 об/мин. Пуск електродвигуна M1 «Вперед» осуществляется нажатием на кнопки Кн3 или Кн4 «Пуск». При етом включается пускатель РП1, который своим з. (замыкающим) контактом становится на самопитание і включает магнитный пускатель Р1; з. контакты пускачів Р1 і РП1 включают реле часу РВ1, которое замыкает свой контакт в ланцюги магнитного пускателя РЗ.
Магнитный пускатель Р1 производит запуск електродвигуна М1. Одновременно з етим размыкаются р. (размыкающие) блок-контакты магнитного пускателя Р1 в ланцюги магнитных пускачів Р2 і РЗ, а з запуском електродвигуна M1 включается реле часу РВ2, которое размыкает свой р. контакт в ланцюги магнитного пускателя РЗ.
Останов електродвигуна M1 осуществляется нажатием на кнопки Кн1, Кн2 «Стол». Отключаются пускатель РП1, реле часу РВ1 і магнитный пускатель Р1, разрывая ланцюг живлення електродвигуна M1.
С отключением електродвигуна M1 отключается реле часу РВ2, которое з выдержкой часу 1—2 сек (достаточной для снижения напряжения на статоре електродвигуна до допустимой величины) з целью предохранения от пробоя селеновых выпрямителей Д1, замыканием своего р. контакта включает магнитный пускатель РЗ.
Магнитный пускатель РЗ своими з. контактами замыкает ланцюг електродинамического торможения електродвигуна Ml, включенную в звезду статорную обмотку і селеновый выпрямитель Д1, питаемый от трансформатора Tp1.
Електродвигун M1 тормозятся в режиме динамического торможения.
По истечении выдержки часу, достаточного до полного торможения електродвигуна Ml, реле часу РВ1 размыкает свой временной контакт з. і отключает магнитный пускатель РЗ.
Електродвигун M1 окончательно тормозится і останавливается.
Пуск електродвигуна «Назад» осуществляется нажатием на кнопки Кн6 или Кн7 «Пуск». При етом включается магнитный пускатель Р2, который своими з. контактами становится на самопитание, производит запуск електродвигуна M1 і включает реле часу РВ1. Одновременно з етим размыкаются р. блок-контакты в ланцюги магнитных пускачів Р1 і РЗ. Останов і торможение електродвигуна M1 після запуска «Назад» производится так же, как після запуска «Вперед».
Пуск електродвигуна M1 для наладочных режимов производится нажатием на кнопку Кн5 «Толчок».
В етом случае включается только магнитный пускатель Р1, который производит запуск в толчковом режиме електродвигуна M1.
Контроль нагрузки електродвигуна M1 производится амперметром А1.
Электропривід подачі связан з головним приводом через кинематическую ланцюг коробки швидкостей з коробкой подач. Перемещение каретки влево или вправо і суппорта вперед-назад осуществляется з помощью електромагнітних муфт ЭМ1-ЭМ4 (ЭМ1 і ЭМ2 влево-вправо, ЭМЗ і ЭМ4 — вперед-назад).
Керування електромагнитными муфтами производится з помощью крестового переключателя установкой его в одно из четырех положений.
Для предотобертання пробоя електромагнітних муфт і уменьшения електрической дуги на контактах при отключении катушек предусмотрены разрядные сопротивления.
В схеме керування електромагнитными муфтами имеется блокировка, запрещающая увімкнення електромагнітних муфт при включенной маточной гайке.
Эта блокировка осуществляется размыканием р. контакта конечного выключателя ВК1.
Электропривід осуществляется от отдельного електродвигуна трехфазного тока МЗ типа 4АХ80В4, мощностью 1,5 кВт, 1400 об/мин.
Увімкнення електродвигуна МЗ производится нажатием на кнопку ВУ 1-5 «Толчок», встроенную в головку рукоятки крестового переключателя.
Включается магнитный пускатель Р5 для толчкового обертання електродвигуна М3. Быстрое перемещение каретки і суппорта в соответствующую сторону производится з помощью електромагнітних муфт ЭМ1-ЭМ4 аналогично тому, как в приводе подачі.
Электропривід насоса охлаждения осуществляется от електродвигуна М2 трехфазного тока типа ПА22, мощностью 0,125 кВт, 2800 об/мин.
Пуск електродвигуна М2 производится нажатием на кнопку Кн8 "Стоп". При етом включается магнитный пускатель Р4, который своими з, контактами ставится на самопитание і производит пуск електродвигуна М2.
Останов електродвигуна М2 осуществляется нажатием на Кн8 «Стоп». При етом отключается магнитный пускатель Р4 і електродвигатель М2 останавливается. Местное освещение. Для освещения робочого места используется аппарат местного освещения ЛО1 з лампочкой на 24 В, 40 Вт, которая питается от обмотки 24 В трансформатора Тр2.

Список елементів токарно-гвинторізного верстата 1А64
Список елементів токарно-гвинторізного верстата 1А64. Дивитись у збільшеному масштабі

Список елементів токарно-гвинторізного верстата 1А64
Список елементів токарно-гвинторізного верстата 1А64. Дивитись у збільшеному масштабі

Схема розположення електроустаткування токарно-гвинторізного верстата 1А64

Монтажная схема токарно-гвинторізного верстата 1А64
Схема Монтажная токарно-гвинторізного верстата 1А64. Дивитись у збільшеному масштабі

Монтажная схема токарно-гвинторізного верстата 1А64
Схема Монтажная токарно-гвинторізного верстата 1А64. Дивитись у збільшеному масштабі
| Наименование параметра | 16К40 | 1М64 | 1А64 |
|---|---|---|---|
| Основні параметри | |||
| Класс точності по ГОСТ 8-82 | Н,П | Н | Н |
| Наибольший диаметр заготовки над станиной, мм | 800 | 800 | 800 |
| Наибольший диаметр заготовки над суппортом, мм | 490 | 450 | 450 |
| Наибольшая длина заготовки (РМЦ), мм | 3000 | 2800 | 2800 |
| Наибольшая масса заготовки в центрах, кг | 4000 | 5000 | 5000 |
| Шпидель | |||
| Диаметр сквозного отверстия в шпинделе, мм | 105 | 85 | 85 |
| Наибольший диаметр обрабатываемого прутка, мм | 100 | 80 | 80 |
| Торможение шпинделя | Имеется | Имеется | Имеется |
| Наибольший крутящий момент на шпинделе, кН/м | 6,3 | ||
| Число ступеней частот прямого обертання шпинделя | 24 | 24 | 24 |
| Частота прямого обертання шпинделя, об/мин | 6,3..1250 | 7,1..750 | 7,1..750 |
| Размер внутреннего конуса в шпинделе, М | Конус морзе 6 | Конус морзе 6 | Конус морзе 6 |
| Кінець шпинделя по ГОСТ 12595-72 | 1-11М | 1-11М | 1-11М |
| Суппорт. Подачи | |||
| Наибольшее продольное перемещение суппорта, мм | 3000 | 2520 | 2520 |
| Наибольшее поперечное перемещение суппорта, мм | 445 | 600 | 600 |
| Цена деления лимба при продольном перемещении, мм | 1 | 0,1 | 0,1 |
| Цена деления лимба при поперечном перемещении, мм | 0,1 | 0,05 | 0,05 |
| Наибольшее продольное перемещение на оборот лимба, мм | 300 | 60 | 50 |
| Наибольшее поперечное перемещение на оборот лимба, мм | 5 | 6 | 6 |
| Число ступеней продольных подач суппорта | 96 | 32 | 32 |
| Пределы продольных рабочих подач суппорта, мм/об | 0,06..22,4 | 0,20..3,05 | 0,20..3,05 |
| Число ступеней поперечных подач суппорта | 96 | 32 | 32 |
| Пределы поперечных рабочих подач суппорта, мм/об | 0,024..8,29 | 0,07..1,04 | 0,07..1,04 |
| Скорость быстрых перемещений суппорта, продольных, м/мин | 5,2 | 3 | 2,16 |
| Скорость быстрых перемещений суппорта, поперечных, м/мин | 2 | 1 | 0,735 |
| Количество нарезаемых різьб метрических | |||
| Пределы шагов нарезаемых різьб метрических, мм | 1..224 | 1..120 | 1..120 |
| Количество нарезаемых різьб дюймовых | |||
| Пределы шагов нарезаемых різьб дюймовых | 28..0,25 | 28..0,25 | 28..0,25 |
| Количество нарезаемых різьб модульных | |||
| Пределы шагов нарезаемых різьб модульных | 0,28..56 | 0,5..30 | 0,5..30 |
| Количество нарезаемых різьб питчевых | |||
| Пределы шагов нарезаемых різьб питчевых | 112...0,5 | нет | |
| Наибольшее продольное/ поперечное усилие різання, кН | 200/ 200 | 120/ 78 | 120/ 78 |
| Резцовые салазки | |||
| Кількість позицій для інструменту в різцетримачі | 4 | 4 | 4 |
| Найбільше переміщення різцевих санчат, мм | 200 | 240 | 240 |
| Висота хвостовика різця, встановленого в різцетримачі, мм | 50 | 50 | |
| Ціна одного поділу лімба, мм | 0,05 | 0,05 | |
| Межі робочих подач різцевих санчат, мм/об | 0,024..8,29 | ||
| Швидкість швидких переміщень різцевих санок, м/хв | 2 | ||
| Найбільший кут повороту різцевих санок, град | ±90° | ±90° | |
| Задня бабка | |||
| Найбільше переміщення пінолі, мм | 300 | ||
| Центр пінолі | Морзе 5 | ||
| Ціна одного поділу лінійки пінолі, мм | 1 | ||
| Переміщення пінолі за один оберт маховика, мм | 12 | ||
| Найбільше поперечне усунення задньої бабки, мм | ±15 | ||
| Електроустаткування | |||
| Кількість електродвигунів на верстаті | 4 | 4 | |
| Потужність електродвигуна головного приводу, кВт | 18,5 | 17 | |
| Потужність електродвигуна швидкого ходу, кВт | 1,1 | 1,5 | |
| Потужність електродвигуна насоса мастила, кВт | 0,12 | 0,12 | |
| Потужність електродвигуна насоса охолодження, кВт | 0,125 | 0,125 | |
| Насос охолодження (помпа) | 200Х14-22 | ПА-22 | |
| Габарити верстата, мм | 5780 х 1850 х 1625 | 5825 х 2000 х 1660 | 5825 х 2000 х 1660 |
| Маса верстата, кг | 7100 | 11400 | 11400 |