Виробник токарного верстата 16М30Ф3 - Рязанський верстатобудівний завод РСЗ , заснований у 1949 році.
Свій перший верстат Рязанський верстатобудівний завод випустив 21 лютого 1949 - це був токарно-гвинторізний верстат 164 серії. Протягом короткого часу заводом було запущено в виробництво ще три серії токарних верстатів - 166, 165 у 1953 році, 163 у 1956 році.
У міру вдосконалення конструкції верстатів завод випускав все більш сучасні моделі - 1М63 , 1М63Б , 1М63БФ101 , 1М63Н , 16К30 , 1А64 , 16К40 , 1М65 , 1Н65 .
На основі універсальних токарних верстатів Рязанським верстатобудівним заводом був освоєний випуск токарних верстатів з ЧПУ - 16К30Ф3 , 16М30Ф3 , 16К40РФ3, 16Р50Ф3 та ін.
Також заводом освоєно випуск сучасних токарних обробних центрів з числом координат від 4 до 8, токарних верстатів з ЧПУ похилої 1П756ДФ3 і горизонтальної компоновок, трубообробних верстатів 1А983 , 1Н983 - для обробки кінців труб діаметром до 460 мм, колесотокарних, колесотокарних та ін.
Токарний верстат з ЧПУ 16М30Ф3 призначений для токарної обробки поверхонь деталей типу тіл обертання зі ступінчастиним та простим криволінійним профілями та для нарізування різьблення; застосовується в умовах одиничного та дрібносерійного виробництва у цехах машинобудівних заводів та інших галузях промисловості.
Верстат 16М30Ф3 оснащений системою програмного керування «Електроніка НЦ-31».
З верстатом 16М30Ф3 поставляються транспортер для збирання стружки та пневмопатрон.
Шорсткість оброблених на верстаті поверхонь:
Клас точності верстата П згідно з ГОСТ 8-77.
Верстат 16М30Ф3 призначений для внутрішніх та експортних поставок.
Основні конструктивні особливості верстата: широкий діапазон регулювання швидкостей шпинделя та подач, жорсткість основних вузлів верстата; переміщення пінолі задньої бабки та затиску патрона механізоване; на чотирипозиційний різцетримач можна встановлювати вісім інструментальних блоків; застосування накладних сталевих загартованих направляючих у поєднанні з опорами кочення гарантує тривале збереження точності верстата; перемикання 12 ступенів частоти обертання автоматичного шпинделя; застосовані швидкохідні приводи подач із зворотним зв'язком; підвищено норми точності верстата; механізовано видалення стружки за допомогою транспортера; коригування та редагування програм здійснюються безпосередньо на верстаті.
Розробник - Рязанське спеціальне конструкторське бюро верстатобудування (РСКБС).
У 1934 році на Московському верстатобудівному заводі "Червоний пролетар" освоюється випуск важких універсальних токарно-гвинторізних верстатів ДІП-300 , ДІП-400 , ДІП-500 . Як прототип був обраний токарно-гвинторізний верстат німецької фірми VDF.
У 1944 році виробництво цих верстатів було передано на Рязанський верстатобудівний завод РСЗ .
У 1956 році запущена у виробництво перша модель 163-ї серії – 163 – РМЦ 1400, 2800.
У 1968 році запущено у виробництво наступне покоління серії-модель 1м63 , 1м63Б .
З 1973 року початок серійного випуску токарних верстатів: 16К30 , 16К30Ф3 , 1М63Бф101 , 16М30Ф3 , 1П756ДФ3 .
Верстати 163 серії вироблялися, також, у Тбілісі - 1Д63А , 1М63Д , 1М63ДФ101 .
У 1992 році початок серійного випуску останньої моделі 163 серії 1М63Н .
Наприклад: 16К30Ф3, 16М30Ф3, 16Р30Ф3, 16М40.

Габарит робочого простору токарного верстата з ЧПУ 16М30Ф3141
Габарит робочого простору токарного верстата з ЧПУ 16М30Ф3. Дивитись у збільшеному масштабі

Габарит робочого простору токарного верстата з ЧПУ 16М30Ф3-33

Габарит робочого простору токарного верстата з ЧПУ 16М30Ф171, 16М30Ф3141

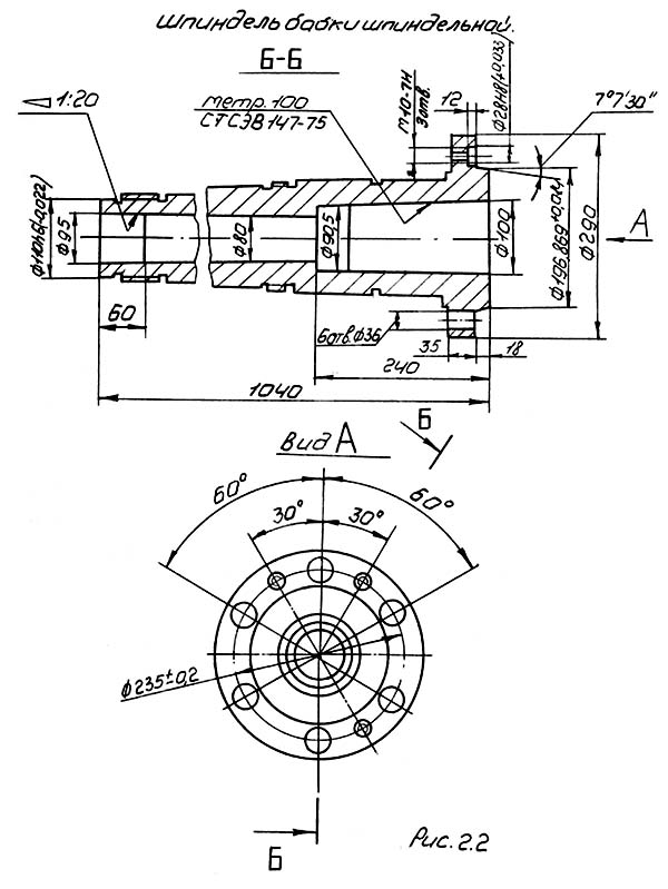
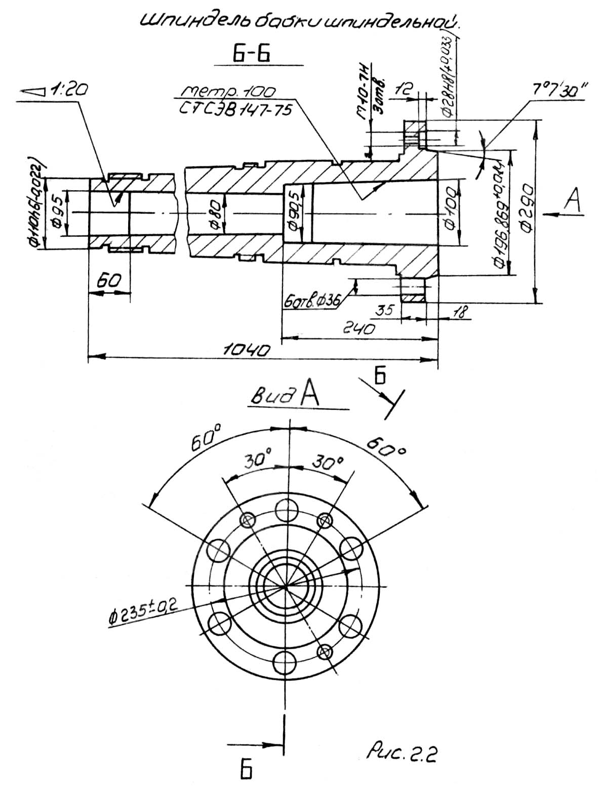
Креслення шпинделя токарного верстата з ЧПУ 16М30Ф3
Креслення шпинделя токарного верстата з ЧПУ 16М30Ф3. Дивитись у збільшеному масштабі

Фото токарного верстата з ЧПУ 16М30Ф3

Фото токарного верстата з ЧПУ 16М30Ф3
Фото токарного верстата з ЧПУ 16М30Ф3. Дивитись у збільшеному масштабі

Фото токарного верстата з ЧПУ 16М30Ф3

Фото токарного верстата з ЧПУ 16М30Ф3
Фото токарного верстата з ЧПУ 16М30Ф3. Дивитись у збільшеному масштабі

Фото токарного верстата з ЧПУ 16М30Ф3
Фото токарного верстата з ЧПУ 16М30Ф3. Дивитись у збільшеному масштабі

Фото токарного верстата з ЧПУ 16М30Ф3
Фото токарного верстата з ЧПУ 16М30Ф3. Дивитись у збільшеному масштабі

Фото токарного верстата з ЧПУ 16М30Ф3
Фото токарного верстата з ЧПУ 16М30Ф3. Дивитись у збільшеному масштабі

Фото токарного верстата з ЧПУ 16М30Ф3
Фото токарного верстата з ЧПУ 16М30Ф3. Дивитись у збільшеному масштабі

Фото токарного верстата з ЧПУ 16М30Ф3
Фото токарного верстата з ЧПУ 16М30Ф3. Дивитись у збільшеному масштабі

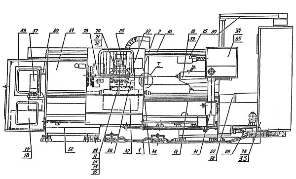
Розташування складових частин токарного верстата з ЧПУ 16М30Ф3141
Розташування складових частин токарного верстата з ЧПУ 16М30Ф3. Дивитись у збільшеному масштабі
Кожуха защитные - 16М30Ф3.12.000
Станція представляет групповой електропривід для металлорежущих машин з приводом головного руху 30 kW і двумя приводами подач з длительными крутящими моментами 23 Nm
1. Металлический шкаф содержит:
2. Двигатели постоянного тока

Розташування органів керування токарним верстатом з ЧПУ 16М30Ф3-33
Розташування органів керування токарним верстатом з ЧПУ 16М30Ф3. Дивитись у збільшеному масштабі

Пульт керування токарним верстатом з ЧПУ 16М30Ф3-33
Пульт керування токарним верстатом з ЧПУ 16М30Ф3. Дивитись у збільшеному масштабі

Пульт керування токарним верстатом з ЧПУ 16М30Ф3-33
Пульт керування токарним верстатом з ЧПУ 16М30Ф3. Дивитись у збільшеному масштабі
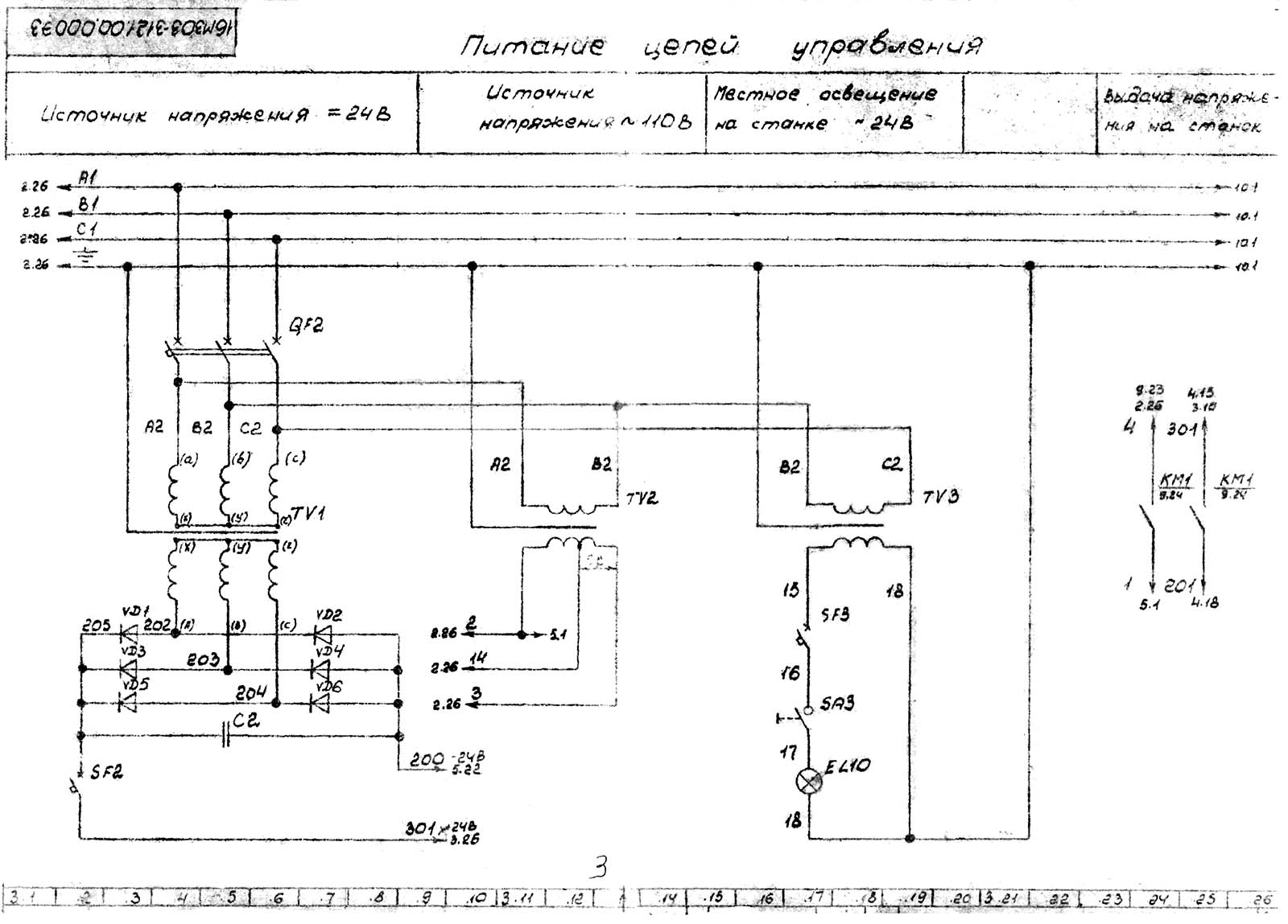
Питание електроустаткування верстата осуществляется от четырехпроводной линии ~380 В, 50 Гц.
Питание целей керування переменного тока осуществляется напряжением ~110 В от понижающего трансформатора TV2.
Питание ланцюгів керування постоянного тока осуществляется напряжением =24 В от TV1 і выпрямителей VD1...VD6, С2.
Питание електромагнитов осуществляется напряжением ~110 В от понижающего трансформатора TV2.
Питание местного освещения осуществляется ~24 В от понижающего трансформатора TV3.
Питание УЧПУ осуществляется напряжением ~220 В от понижающего трансформатора TV5.
Перед включением електроустаткування верстата необходимо выполнить наступні операции:
Загорается сигнальная лампочка белого цвета HL3 на пульті верстата сигнализирующая о подаче напряжения на верстат.
Аварийное відключення верстата должно производится нажатием на грибовидную кнопку красного цвета SB1 «Загальний стоп» на пульті верстата, которая отключает ланцюги керування на 110В і 24В. Происходит останов всех движений.
Для снятия напряжения со верстата необходимо вручную отключить вводной выключатель QF1.
Увімкнення УЧПУ при начальном пуске осуществляется следующим образом:
ВНИМАНИЕ
На время технологического останова (для замера, установки-снятия заготовки ..) переключатель SA8 на пульті керування ставить в положение «Стоп шпинделя».
(16М30Ф3-3121.00.000 Э3 лист 19..21)
Электропривід механізма выбора диапазонов шпинделя осуществляется от асинхронного електродвигуна М10, встроенного в головку «ЭМГ-53» (Р=0,55кВт, N=3000 об/мин).
Конечные выключатели SQ13..SQ16 контролируют диапазоны шпинделя, а именно:
Зацепление шестерен контролируется конечными выключателями SQ17..SQ18.
Номер выбранного диапазона (0, 1, 2, 3) отмечается лампочками HL13..HL16.
В наладочном режиме выбор диапазона шпинделя осуществляется клавиатурой з пульта УЧПУ, в автоматическом – по программе командами М40..М43.
При подаче одной из команд М40..М43 включается реле КА7.
(16М30Ф3-3121.00.000 Э3 лист 14)
Для керування отжимом і зажимом детали в патроне служат кнопки SB11 і SB12 встроенные в педали.
Зажиму соответствуют обесточенное состояние пускателя КМ6 і електромагнита YA13.
(16М30Ф3-3121.00.000 Э3 лист 6, 7)
Электроприводы подач на станке выполнены на высокомоментных електродвигунах постоянного тока производства НРБ.
По координате Х – електродвигатель М8 типа «4МТВС».
По координате Z – електродвигатель М9 того же типа со встроенным тахогенератором BR2, тормозом YB2, позистором RK1.
В качестве датчиков обратной связи (ДОС) по положению применены преобразователи измерительные фотоелектрические ВЕ-178.
Ограничение перемещений, аварийное ограничение перемещений і выход в исходное положение подвижных органів верстата контролируется блоками путевых выключателей SQ3, SQ4.
При выключении выключателей ограничения переміщення (SQ3-1, SQ3-2 по координате Х і SQ4-1, SQ4-4 по координате Z) сигнал останова приводов подач вырабатывает УЧПУ.
При включении выключателей аварийного ограничения (SQ3-4 по координате Х і SQ4-4 по координате Z) они снимают готовность верстата і отключают приводы подач.
При подходе к исходному положению предусмотрено снижение скорости по сигналам от SQ3-3, SQ4-3 і останов по нуль метке ДОС.
- Відключення вводного автомата QF1 при открывании дверок електрошафи размыканием контактов SQ1, SQ2 в ланцюги QF1.
- Невозможно одновременное увімкнення пускачів КМ13, КМ14 при работе механізма выбора диапазонов
- Исключена возможность руху каретки і суппорта за крайние положения конечных выключателей SQ3, SQ4.
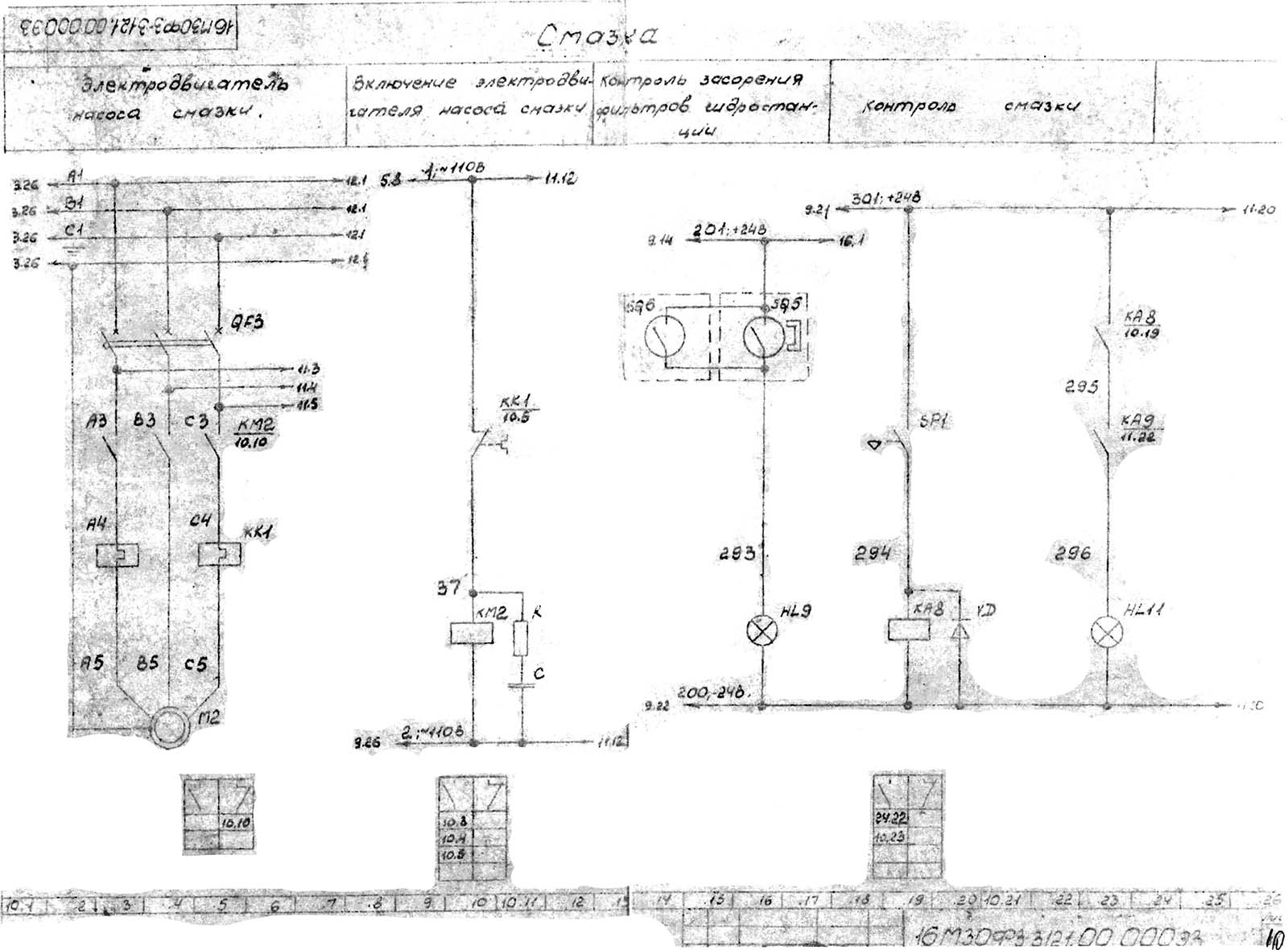
- Исключена возможность увімкнення і роботи шпинделя при отсутствии давления в системе змазки.
- Исключена возможность отжима-зажиму пиноли задньої бабки і пневмопатрона при вращении шпинделя.
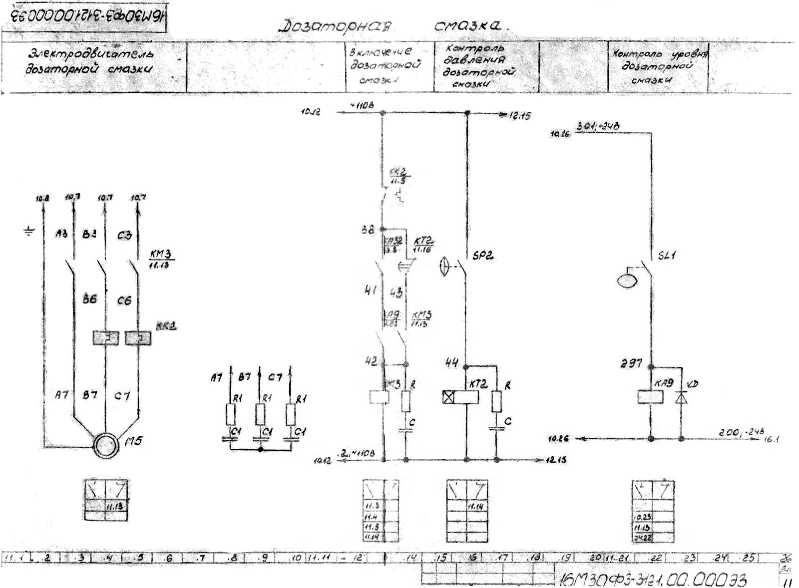
- Невозможно продолжение цикла роботи верстата при отсутствии контроля посадки резцедержки, открытом ограждении, а также отсутствии давления в пневмосистеме і уровня масла в станції дозаторной змазки.
- Невозможно одновременное увімкнення пускачів КМ11, КМ11 при работе пиноли задньої бабки
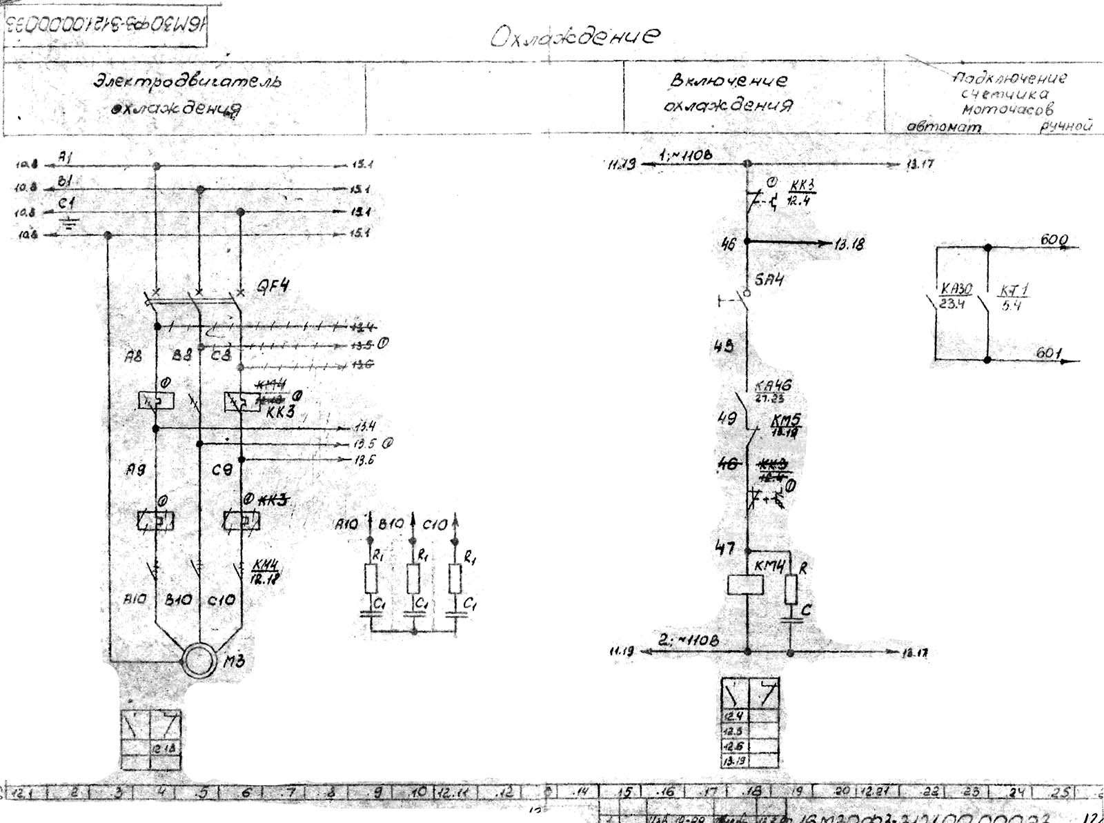
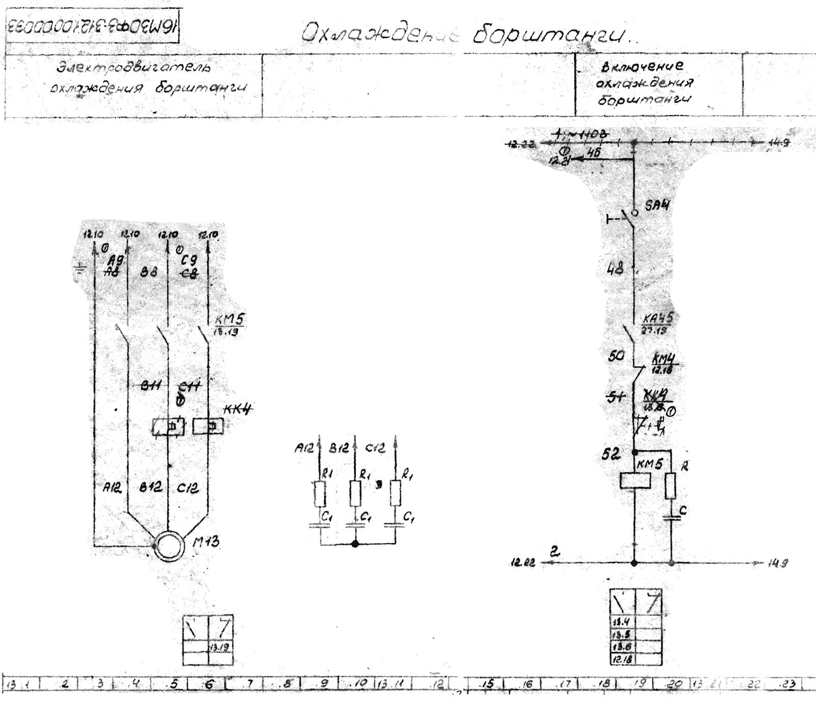
- Невозможно одновременное увімкнення пускачів КМ4, КМ5 при включении охлаждения резцедержки і борштанги.
На пульті верстата:
HL3 - лампа молочного цвета - подача напряжения на верстат
HL7 - лампа зеленого цвета - сигналізація готовности верстата
HL4 - лампа красного цвета - срабатывание тепловой защиты
HL8 - лампа красного цвета - нарушение зоны ограничения перемещений
HL9 - желтого цвета - засорение фильтра станції змазки
HL11 - лампа зеленого цвета - готовность системы змазки
HL13..HL16 - лампа зеленого цвета - выбранный диапазон шпинделя
HL12 - желтого цвета - посадка резцедержателя
HL5 - лампа зеленого цвета - готовность головного привода
HL6 - лампа зеленого цвета - готовность приводов подач по Х і Z.

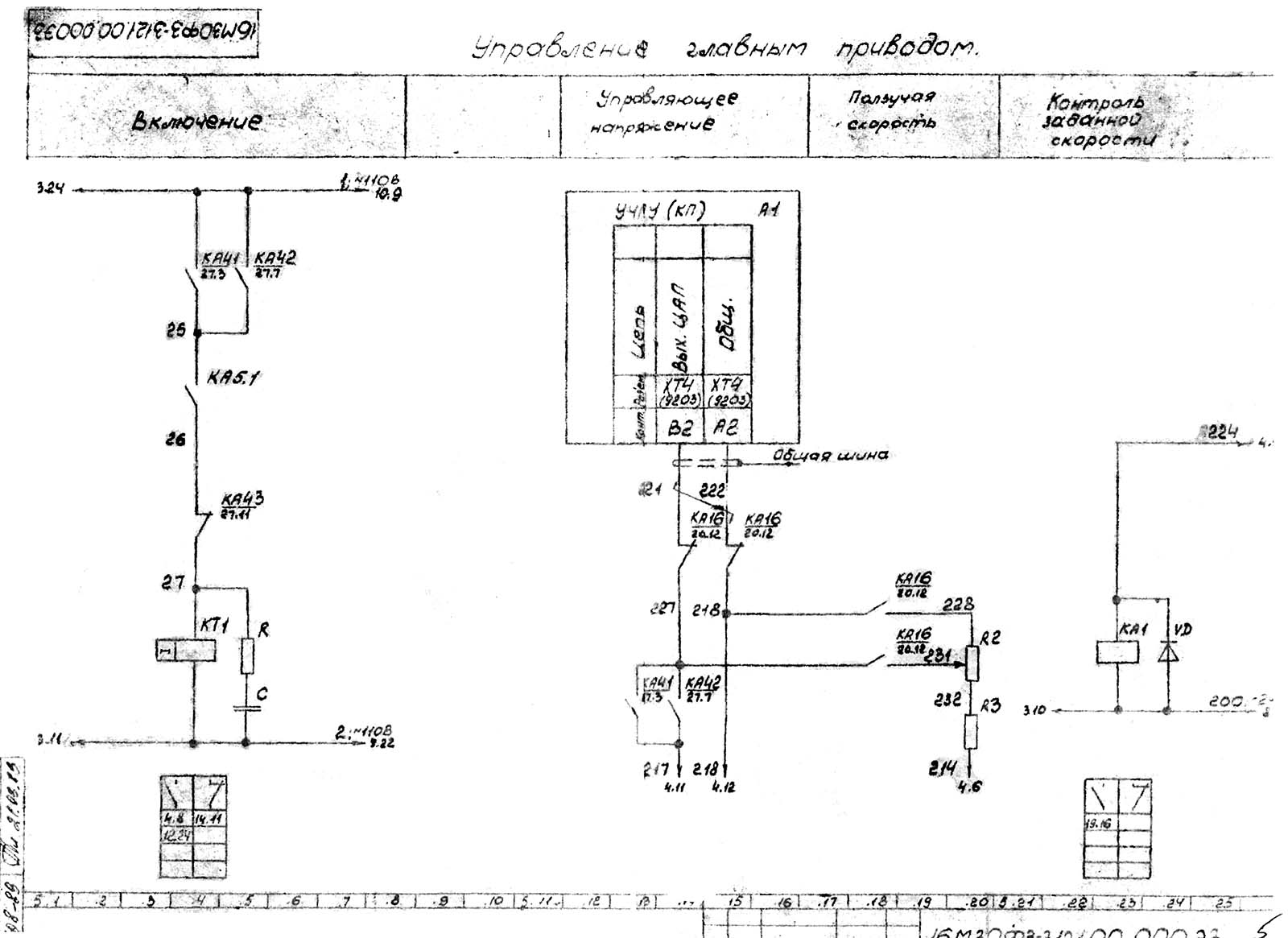
Електрична схема токарного верстата 16М30Ф3-121
Електрична схема токарного верстата 16М30Ф3-121. Дивитись у збільшеному масштабі

Електрична схема токарного верстата 16М30Ф3-121
Електрична схема токарного верстата 16М30Ф3-121. Дивитись у збільшеному масштабі

Електрична схема токарного верстата 16М30Ф3-121
Електрична схема токарного верстата 16М30Ф3-121. Дивитись у збільшеному масштабі

Електрична схема токарного верстата 16М30Ф3-121
Електрична схема токарного верстата 16М30Ф3-121. Дивитись у збільшеному масштабі

Електрична схема токарного верстата 16М30Ф3-121
Електрична схема токарного верстата 16М30Ф3-121. Дивитись у збільшеному масштабі

Електрична схема токарного верстата 16М30Ф3-121
Електрична схема токарного верстата 16М30Ф3-121. Дивитись у збільшеному масштабі

Електрична схема токарного верстата 16М30Ф3-121
Електрична схема токарного верстата 16М30Ф3-121. Дивитись у збільшеному масштабі

Електрична схема токарного верстата 16М30Ф3-121
Електрична схема токарного верстата 16М30Ф3-121. Дивитись у збільшеному масштабі

Електрична схема токарного верстата 16М30Ф3-121
Електрична схема токарного верстата 16М30Ф3-121. Дивитись у збільшеному масштабі

Електрична схема токарного верстата 16М30Ф3-121
Електрична схема токарного верстата 16М30Ф3-121. Дивитись у збільшеному масштабі

Електрична схема токарного верстата 16М30Ф3-121
Електрична схема токарного верстата 16М30Ф3-121. Дивитись у збільшеному масштабі

Електрична схема токарного верстата 16М30Ф3-121
Електрична схема токарного верстата 16М30Ф3-121. Дивитись у збільшеному масштабі

Електрична схема токарного верстата 16М30Ф3-121
Електрична схема токарного верстата 16М30Ф3-121. Дивитись у збільшеному масштабі

Електрична схема токарного верстата 16М30Ф3-121
Електрична схема токарного верстата 16М30Ф3-121. Дивитись у збільшеному масштабі

Електрична схема токарного верстата 16М30Ф3-121
Електрична схема токарного верстата 16М30Ф3-121. Дивитись у збільшеному масштабі

Електрична схема токарного верстата 16М30Ф3-121
Електрична схема токарного верстата 16М30Ф3-121. Дивитись у збільшеному масштабі

Електрична схема токарного верстата 16М30Ф3-121
Електрична схема токарного верстата 16М30Ф3-121. Дивитись у збільшеному масштабі

Електрична схема токарного верстата 16М30Ф3-121
Електрична схема токарного верстата 16М30Ф3-121. Дивитись у збільшеному масштабі

Електрична схема токарного верстата 16М30Ф3-121
Електрична схема токарного верстата 16М30Ф3-121. Дивитись у збільшеному масштабі

Електрична схема токарного верстата 16М30Ф3-121
Електрична схема токарного верстата 16М30Ф3-121. Дивитись у збільшеному масштабі

Електрична схема токарного верстата 16М30Ф3-121
Електрична схема токарного верстата 16М30Ф3-121. Дивитись у збільшеному масштабі

Електрична схема токарного верстата 16М30Ф3-121
Електрична схема токарного верстата 16М30Ф3-121. Дивитись у збільшеному масштабі

Електрична схема токарного верстата 16М30Ф3-121
Електрична схема токарного верстата 16М30Ф3-121. Дивитись у збільшеному масштабі

Електрична схема токарного верстата 16М30Ф3-121
Електрична схема токарного верстата 16М30Ф3-121. Дивитись у збільшеному масштабі

Електрична схема токарного верстата 16М30Ф3-121
Електрична схема токарного верстата 16М30Ф3-121. Дивитись у збільшеному масштабі

Електрична схема токарного верстата 16М30Ф3-121
Електрична схема токарного верстата 16М30Ф3-121. Дивитись у збільшеному масштабі

Електрична схема токарного верстата 16М30Ф3-121
Електрична схема токарного верстата 16М30Ф3-121. Дивитись у збільшеному масштабі

Електрична схема токарного верстата 16М30Ф3-121
Електрична схема токарного верстата 16М30Ф3-121. Дивитись у збільшеному масштабі

Список елементів токарного верстата 16М30Ф3-121
Список елементів токарного верстата 16М30Ф3-121. Дивитись у збільшеному масштабі

Список елементів токарного верстата 16М30Ф3-121
Список елементів токарного верстата 16М30Ф3-121. Дивитись у збільшеному масштабі

Список елементів токарного верстата 16М30Ф3-121
Список елементів токарного верстата 16М30Ф3-121. Дивитись у збільшеному масштабі

Список елементів токарного верстата 16М30Ф3-121
Список елементів токарного верстата 16М30Ф3-121. Дивитись у збільшеному масштабі

Список елементів токарного верстата 16М30Ф3-121
Список елементів токарного верстата 16М30Ф3-121. Дивитись у збільшеному масштабі

Список елементів токарного верстата 16М30Ф3-121
Список елементів токарного верстата 16М30Ф3-121. Дивитись у збільшеному масштабі

Список елементів токарного верстата 16М30Ф3-121
Список елементів токарного верстата 16М30Ф3-121. Дивитись у збільшеному масштабі

Список елементів токарного верстата 16М30Ф3-121
Список елементів токарного верстата 16М30Ф3-121. Дивитись у збільшеному масштабі

Список елементів токарного верстата 16М30Ф3-121
Список елементів токарного верстата 16М30Ф3-121. Дивитись у збільшеному масштабі

Список елементів токарного верстата 16М30Ф3-121
Список елементів токарного верстата 16М30Ф3-121. Дивитись у збільшеному масштабі

Список елементів токарного верстата 16М30Ф3-121
Список елементів токарного верстата 16М30Ф3-121. Дивитись у збільшеному масштабі
| Наименование параметра | 16К30ФС353 | 16М30Ф3-141 |
|---|---|---|
| Основні параметри верстата | ||
| Класс точності верстата П по ГОСТ 8—82 | П | П |
| Наибольший диаметр обрабатываемого вироби над станиной, мм | 630 | 670 |
| Наибольший диаметр обрабатываемого вироби над суппортом, мм | 320 | 320 |
| Наибольшая длина обрабатываемого вироби, мм | 1400 | 1500, 3000 |
| Наибольшая масса обрабатываемого вироби, мм | 850 | |
| Шпиндель | ||
| Диаметр отверстия в шпинделе, мм | 71 | |
| Наибольший диаметр прутка проходящего через отверстие в шпинделе, мм | 70 | 80 |
| Количество швидкостей шпинделя (обшее/ по программе) | 24/ 12 | Б/с |
| Пределы оборотів шпинделя, об/мин | 6,3..1600 | 8..2000 |
| Кінець шпинделя по ГОСТ 12593-72 | 11М | 11М |
| Наибольший крутящий момент на шпинделе, кНм | 3,40 | 2,29 |
| Суппорт | ||
| Наибольшее перемещение суппорта: продольное/ поперечное (рмц=1500, 3000), мм | 1200/ 300 | 1260, 2700/ 330 |
| Высота резца, устанавливаемого в резцедержателе, мм | 32 | 32 |
| Количество инструментов, устанавливаемых в резцедержатель, мм | 4, 8 | 5..9 |
| Время смены инструмента, с | 4 | |
| Максимальная скорость поздовжньої подачі при нарезании різьби, мм/мин | 2400 | |
| Наибольшая величина подачі в режиме автоматичного керування, мм/мин | 2400 | |
| Розміри нарезаемых метрических резьб, мм | 0,01...20,47 | |
| Диапазон швидкостей подач (продольных і поперечных), мм/мин | 0,01..20,47 | 1..4000 |
| Скорость быстрых ходов (продольных/ поперечных), мм/мин | 6000/ 5000 | 10000/ 10000 |
| Дискретность задания переміщення (продольного/ поперечного, мм | 0,05/ 0,01 | 0,001/ 0,001 |
| Точность переміщення (продольного/ поперечного, мм | 0,098/ 0,032 | |
| Наибольшая скорость в режиме ручного керування, мм/об | 1,5 | |
| Наибольшее усилие подачі (продольное/ поперечное), кН | 15/ 5 | 20/ 20 |
| Задня бабка | ||
| Центр шпинделя задньої бабки по ГОСТ 13214-67 | Морзе 6 | |
| Наибольшее перемещение пиноли, мм | 240 | |
| Наибольшее перемещение пиноли от гідроцилиндра, мм | 100 | |
| Параметри систем ЧПУ | ||
| Обозначение системы ЧПУ | НЦ-31 | НЦ-31 |
| Количество управляемых координат (всего/ одновременно | 2/ 2 | 2/ 2 |
| Тип датчика нулевого положения | ||
| Тип датчика обратной связи | Фотоимпульсные | |
| Електроустаткування і приводы верстата | ||
| Электросеть | 380/220 В,50 Гц | |
| Количество електродвигателей на станке | 6 | 9 |
| Електродвигун головного привода, кВт | 22 | 30 |
| Електродвигун приводов подач, кВт | 2,8 | 30 Нм |
| Електродвигун резцедержки, кВт | 0,5 | 0,5 |
| Електродвигун станції змазки, кВт | 0,12 | 1,5 |
| Електродвигун насоса охлаждения, кВт | 1,5 | 0,125 |
| Суммарная мощность електродвигателей, кВт | 50 | |
| Суммарная мощность верстата, кВт | ||
| Габарити і масса верстата | ||
| Габарити верстата (длина х ширина х высота), мм | 5290 х 3470 х 2105 | 5290 х 3875 х 2130 |
| Масса верстата з ЧПУ, кг | 7800 | 8000 |