Токарний настільний багатофункціональний верстат Універсал-В (ТШ3-01) випускався на підприємстві Воткінський машинобудівний завод , заснований у 1759 році.
Металорізальні верстати на Воткінському машинобудівному заводі випускаються починаючи з 1956 р. Це вертикально-фрезерні верстати 6Н13 , ВМ127 , ВМ127М , універсально-фрезерні ВМ130 , ВМ133 , горизонтально-фрезерні верстати сталевий верстат Універсал-В .
В даний час ВАТ "Воткінський завод" головне підприємство ракетно-космічного комплексу та виробник широкої гами цивільної продукції.
Токарно-гвинторізний настільний верстат Універсал-В є верстатом класу «хобі», і призначений для індивідуального (побутового) застосування, тобто за своїми конструктивними особливостями та технічними характеристиками верстат не призначений для використання на виробництві.
Токарний верстат металу Універсал-В призначений для обробки заготовок з металу, деревини, всіх видів пластмаси методом точення.
Верстат Універсал-В є настільним токарним верстатом і призначається для всіляких токарних робіт:
Відмінною особливістю верстата Універсал-В є широка універсальність та можливість переналагодження за допомогою пристроїв, які дозволяють виконувати такі роботи:
За допомогою нескладних пристроїв, виготовлених на верстаті самим любителем, можна виконувати й інші роботи.
Традиційне наочне компонування верстата у поєднанні з відпрацьованою кінематичною схемою дозволяє впевнено забезпечити токарну обробку з класом точності «Н» протягом тривалого терміну експлуатації.
У порівнянні з пропонованими на ринку малогабаритними верстатами - він простий в експлуатації, надійний та довговічний.
Завдяки широким можливостям верстата використання його в домашніх умовах становить великий інтерес і при оволодінні трудовими навичками робота на ньому принесе велике задоволення.
Верстат можна також широко використовувати у шкільних гуртках, клубах, палацах піонерів, піонерських таборах тощо. для виготовлення радіодеталей, моделей літаків та кораблів, дрібних оригінальних речей домашнього вжитку та прикрас, індивідуальних іграшок, деталей, ігор та ін.
Верстат працює від однофазної мережі змінного струму напругою 220 В частотою 50 Гц.
Лита станина, жорсткі загартовані напрямні та основні корпусні деталі верстата виготовлені з якісного модифікованого чавуну з проведеним старінням та забезпечують високу точність оброблюваної деталі.
У верстаті Універсал-В встановлено пристрій, що забезпечує зміну напрямку переміщення супорта без зміни напрямку обертання шпинделя та його зупинки.
Норми точності за токарними операціями:
Технологічні можливості верстата Універсал-В можуть задовольнити як професіонала з різнобічними інтересами, так і любителя.
Виробник верстата Універсал-В - завод СтанкоКонструкція м. Москва.
На станині верстата закріплено порожнисту циліндричну напрямну. Вона є загальною базою для основних вузлів верстата: шпиндельної бабки, супорта, задньої бабки. Іншою загальною базою для цих вузлів є плоска напрямна станини.
У передній частинині станини під кожухом розташований ходовий гвинт поздовжнього переміщення супорта.
На лівій стінці передньої бабки встановлено кронштейн. На ньому закріплений електродвигун приводу верстата.
Під кожухом, що закриває кронштейн, розташовані шківи приводу шпинделя обертання і механізм приводу подач.
Верстат поставляється у токарномуу виконанні. Додаткове приладдя, що входить до комплекту поставки (див. табл.7), служать для того, щоб здійснювати за допомогою нескладних переналагодження інші виконання верстата: фрезерно-свердлувальне, шліфувальне, фугувальне і т.д.
Нижче описано пристрій додаткового приладдя та наведені способи налагодження на різні види обробки.
У комплект поставки входять дві різцетримки: рухома та нерухома.
За допомогою рухомої різцетримки, яка змонтована на каретці, можна обробляти конусні поверхні. Нерухома різцетримка кріпиться до повзуна супорта за допомогою ггвинта і сухаря, що входить до одного з Т-подібних пазів повзуна. У каретці розташовані два гвинти, які за допомогою тих же сухарів кріплять каретку до повзуна супорта.
Загалом каретка може бути встановлена в будь-якому з пазів повзуна супорта відповідно до вимог налагодження.
Для обробки конусних поверхонь каретку слід встановити на повзуні так, щоб спочатку нульовий штрих шкали каретки збігався з ризиком на лівому торці повзуна. Така установка здійснюється за допомогою одного ггвинта в основі каретки, який повертається в спеціально передбачений для цієї мети різьбовий отвір, розташований на верхній площині повзуна між двома Т-подібними пазами. Ціна поділу шкали каретки – 1°.
УВАГА! Після розвороту каретки на потрібний кут, необхідно, щоб уникнути аварії, надійно зафіксувати її кріпильним гвинтом, як було описано вище.
Затискач складається з цанги, гайки та кільця, цанга вставляється в конусний отвір шпинделя, а гайка навертається на шпиндель по різьбленню. За допомогою цієї гайки в цангу, що переміщається вздовж осі, затискається заготовка або ріжучий інструмент, вставлені в її внутрішній циліндричний отвір.

Фрезерно-свердлильний пристрій токарного верстата Універсал-В
Пристрій (рис.4) являє собою стійку 3, по направляючих якої переміщається стіл 4. Переміщення здійснюється обертанням, маховичка I, жорстко пов'язаного з ходовим гвинтом 2. Заготовка кріпиться до столу прихватами 11 за допомогою шпильок 10, гайок 9, гвинтів 8 і сухарів 7, що входять у Т-подібні пази столу. Для того, щоб налагодити верстат на фрезерні або свердлильні роботи, необхідно закріпити стійку на супорті верстата за допомогою планок 6 і гвинтів 5, як це показано на рис.4.
Кінцева фреза або свердло закріплюються в цанговому затиску або спеціальному свердлильному патроні 12, що входить в комплект поставки.
Патрон 12 з'єднується зі шпинделем за допомогою спеціального хвостовика 13, що також входить у комплект поставки.
Крім прихватів для закріплення оброблюваної деталі можуть бути використані лещата, які ггвинтами за допомогою сухарів кріпляться до столу фрезерно-свердлильного пристрою. На нерухомій губці лещат є два призматичні пази, які дозволяють зручно закріплювати деталі циліндричної форми.
Перша модель настільного токарного верстату Універсал із двома круглими напрямними була розроблена організацією ЕНІМС (Екпериментальний науково-дослідний інститут металорізальних верстатів). За основу було взято верстат Unimat SL австрійської фірми EMCO (За 40 років продано понад 600 тисяч верстатів цієї моделі).
Токарний станок Універсал вироблявся серійно на підприємстві Московський верстатобудівний завод СтанкоКонструкція .
С 1968 года завод СтанкоКонструкція начал производить токарно-гвинторізний настільний верстат Універсал-2 - значительно усовершенствованный верстат Універсал.
У другій половині 80-х років конструкція верстата була значно перероблена: починаючи з моделі Універсал-3 замість двох круглих направляючих з'явилася одна більшого діаметра посередині станини і передня бабка більше не від'єднувалася від станини. Верстат почали серійно випускати одразу кілька заводів:

Габарити робочого простору токарного верстата Універсал-В

Креслення шпинделя токарно-гвинторізного верстата Універсал-В

Фото токарно-гвинторізного верстата Універсал-В

Фото токарно-гвинторізного верстата Універсал-В

Розташування складових частин токарного верстата Універсал-В

Розташування органів керування токарним верстатом Універсал-В

Кінематична схема токарно-гвинторізного верстата Універсал-В
Схема кінематична токарно-гвинторізного верстата Універсал-В. Дивитись у збільшеному масштабі
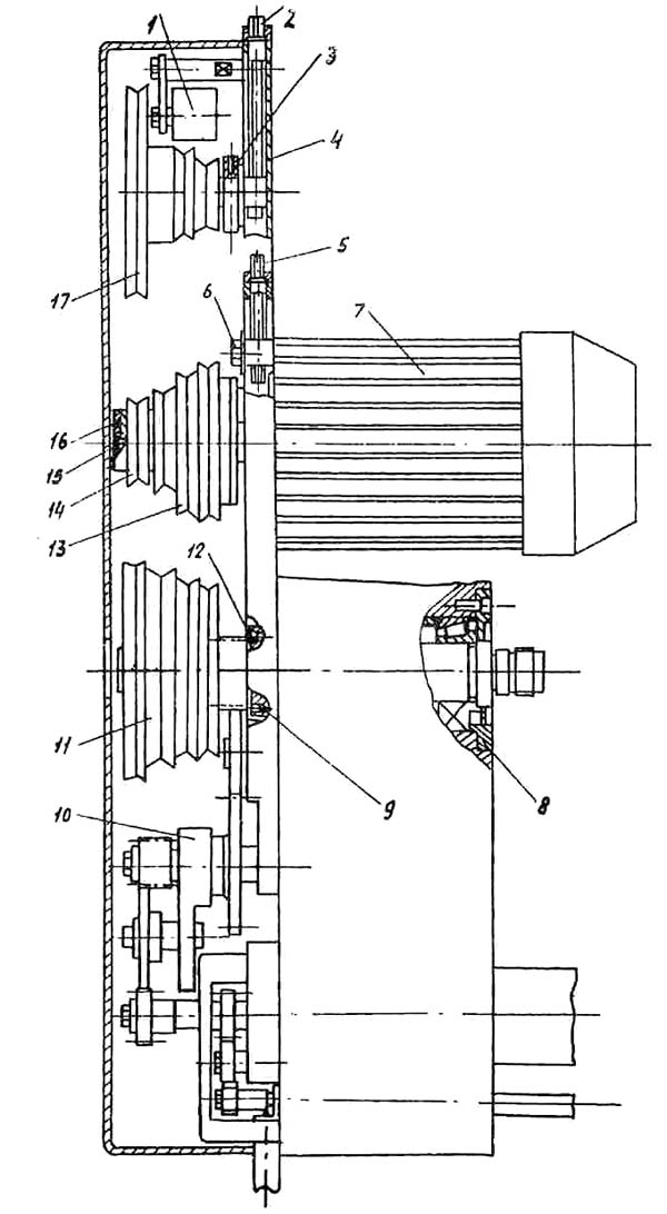
У цій ланцюгу обертання шпинделя здійснюється від електродвигуна 3 через клинопасову передачу (див. рис.3) . Передбачено 9 робочих частот обертання шпинделя.
Дві щаблі (200 і 300 об/хв) можна отримати, якщо шків 13, жорстко сидить на валу електродвигуна, з'єднати ременем з проміжним шківом 1, а той у свою чергу по струмку "а" - зі шківом 2, що вільно обертається щодо валу електродвигуна . Зі шківа 2 по одному з двох вільних струмків - "в" або "с" - обертання передається безпосередньо на шків 9, жорстко пов'язаний зі шпинделем.
Один ступінь (650 об/хв) виходить шляхом передачі обертання зі шківа 13 прямо на шків 9, минаючи проміжні шківи 1 і 2.
Ще два ступені (525 і 1000 об/хв) можна отримати, якщо на шків 13 одягнути змінний шків 12 так, щоб торець, на якому є кулачки, був звернений назовні. Зі шківа 12, як і в першому випадку, обертання передається на проміжний шків 1, а з нього по струмку "в" - на шків 2, який передає обертання шківу 9 по струмках "а" або "с".
Чотири ступені, що залишилися (1200, 1700, 2800 і 3200 об/хв.) виходять, якщо вал електродвигуна з'єднати зі шківом 2 через шків 12 за допомогою кулачків, наявних на одному з торців останнього. Тепер за будь-яким із чотирьох струмків обертання можна передати на шків 9.
Примітка: ступінь 1200 об/хв може бути отримана і без з'єднання валу електродвигуна зі шківом 2.
Переміщення супорта вправо та вліво здійснюється, ходовим гвинтом 14.
Обертання на ходовий гвинт передається безпосередньо зі шпинделя жорстко закріпленим на ньому зубчастим колесом II.
Через зубчасте колесо 10 обертання передається зубчастим колесам 8 і А, далі - на проміжний валик 5. Є два варіанти передачі обертання на цей валик: перший варіант (на схемі позначений цифрою I) через блок зубчастих коліс Б-В і колесо Г і другий (на схемі позначений цифрою ІІ) – через зубчасті колеса Б і В.
Перший варіант використовується для здійснення подачі при звичайному гострінні, другий - при нарізанні різьблення. З валиком 5 жорстко пов'язане зубчасте колесо 6. З цього колеса на колесо 7, закріплене на лівому кінці ходового ггвинта, обертання можна передати через пару зубчастих коліс 15 і 16 - і тоді суппорт буде переміщатися вліво, або через зубчасте колесо 17, що забезпечить переміщення супорта праворуч. Усі три колеса (15, 16 та 17) змонтовані на поворотному пристрої 4 (див. Д-Д) і знаходяться у постійному зачепленні із зубчастим колесом 6 (центральним) . Таким чином, можна здійснити переміщення супорту як праворуч, так і ліворуч при одному і тому ж напрямку обертання шпинделя.
Є також можливість відключити подачу супорта без зупинки обертання шпинделя. Це забезпечується розчепленням зубчастих коліс II і 10 за допомогою того ж поворотного пристрою 4 і 18 пружини.
УВАГА! Щоб уникнути поломки зубчастих коліс ланцюга приводу подач включення і перемикання напрямку переміщення супорта слід виконати при шпинделі, що не обертається.
Переміщення пінолі задньої бабки та поперечне переміщення супорта здійснюються маховичками через відповідні гвинтові пари, як показано на кінематичній схемі.

Таблиця налаштування частоти обертання шпинделя токарного верстата Універсал-В

Шпиндельная бабка і привід головного руху токарного верстата Універсал-В

Схема розположення точок змазки токарного верстата Універсал-В

Електрична схема токарно-гвинторізного верстата Універсал-В
За способом захисту від ураження електричним струмом електроустаткування верстата належить до класу I, тобто. має робочу ізоляцію, елемент для заземлення та провод із заземлюючою жилою для приєднання до джерела живлення та заземлення.
Принципова електрична схема верстата наведена на рис.14, перелік елементів електроустаткування – у табл.4. Електроапаратура розташована в окремій коробці (див. рис.1, поз.6). Коробка закрита кришкою. Кришка кріпиться двома ггвинтами, один гвинт знаходиться у центрі кришки під гумовим килимком, інший кріпить кришку до станини, забезпечуючи заземлення кришки.
Живлення електроустаткування здійснюється від однофазної мережі змінного струму напругою 220 В, частотою 50 Гц.
Пуск і зупинка електродвигуна здійснюється за допомогою реле KV (див. рис.14), яке керується кнопками SB2 (пуск) та SB1 (зупинка). При пуску реле KV включається і стає на саможивлення, підключаючи своїми контактами електродвигун до мережі та забезпечуючи нульовий захист, тобто. відключення електродвигуна за відсутності напруги у мережі. Захист електродвигуна від перевантаження проводиться пускозахисним реле А, яке розриває пускову цепь, через що відключається реле KV. Повторний пуск можливий лише 15-50 з, тобто. після повернення елементів теплового захисту пускозахисного реле А у вихідне положення.
При пуску електродвигуна збільшення його пускового моменту відбувається за рахунок підключення контактами реле пускозахисту А пускового конденсатора С1 паралельно робочому конденсатору С2. Після розгону електродвигуна та зменшення, пускового струму конденсатор С1 відключається.
Реверсування електродвигуна здійснюється з допомогою перемикача SA, який за середньому (вертикальному) положенні рукоятки забезпечує відключення електродвигуна, тобто. його зупинка навіть при включеному реле KV. Рукоятку слід залишати у нейтральному положенні
| Найменування параметру | Універсал-В | |
|---|---|---|
| Основні параметри верстата | ||
| Найбільший діаметр заготовки над станиною, мм | 150 | |
| Найбільший діаметр заготовки над поперечними напрямними супорта, мм | 90 | |
| Найбільша довжина заготовки у центрах (РМЦ), мм | 250 | |
| Рекомендована глибина точення за один прохід, мм | ||
| Максимальна глибина точення за один прохід, мм | ||
| Максимальний розмір державки різця, мм | 8 х 8 | |
| Найбільший діаметр свердління сталі, мм | 6 | |
| Передня бабка. Шпіндель | ||
| Діаметр наскрізного отвору в шпинделі, мм | 15 | |
| Конус в шпинделе передньої бабки | Морзе 2 | |
| Приєднання патрона до шпинделя | М27 | |
| Число ступеней частот прямого обертання шпинделя | 9 | |
| Частота прямого обертання шпинделя, об/мин | 200..3200 | |
| Діаметр виробу, що затискається в патроні, мм | 4..70 | |
| Ход гильзы передньої бабки, мм | 30 | |
| Супорт (поперечний повзун). Подання | ||
| Найбільше поздовжнє переміщення каретки супорта, мм | 215 | |
| Переміщення супорта поздовжнє на один поділ лімба, мм | 0,05 | |
| Найбільше поперечне переміщення супорта, мм | 90 | |
| Переміщення супорта поперечне на один поділ лімба, мм | 0,05 | |
| Найбільше переміщення різцевих санчат (верхній супорт, складовий повзун), мм | ||
| Кут повороту різцевих санок, град | ||
| Межі поздовжніх робочих подач супорту, мм/про | 0,05..0,175 | |
| Межі кроків різьб метричних, що нарізаються, мм | 0,2..2,5 | |
| Межі кроків різьб дюймових, ниток на дюйм | ||
| Задня бабка | ||
| Найбільше переміщення пінолі, мм | 30 | |
| Конус задньої бабки | Морзе 2 | |
| Електроустаткування | ||
| Номінальна напруга живлення, | 220 в 50 Гц | |
| Електродвигун постійного струму головного приводу, кВт | 0,37 | |
| Габарити та маса верстата | ||
| Габарити верстата (довжина ширина висота), мм | 690 х 410 х 230 | |
| Маса верстата, кг | 62 |