Виробник настільного токарного верстата ТН-1М - Мічурінський завод Прогрес , заснований в 1957 році та Спеціальне конструктМосквао-технологічне бюро верстатобудування "Оріон" м. Нижній Новгород. .
Настільний універсальний токарний верстат ТН-1М – це модернізований верстат ТН-1. Призначений для виконання всіх видів токарної обробки деталей із металу, деревини, пластмаси.
У токарномуу верстаті ТН-1М удосконалено конструкцію різцевих санчат супорта (верхній супорт, поворотний супорт, рухома різцетримка).
У верстаті ТН-1М застосовано консольне кріплення лобзика нової конструкції, що дозволяє маневрувати деталлю при обробці і не обмежує її розміри.
Удосконалено пристрій для глибокого свердління.
Доповнений револьверною головкою та цанговим патроном ТН-1М може тиражувати однотипні деталі в напівавтоматичному режимі.
За допомогою універсальних пристроїв і пристосувань можна проводити точення, свердління, нарізування зовнішніх і внутрішніх різьблень, проточку конусних поверхонь, виконання зовнішніх і внутрішніх канавок, внутрішнє і зовнішнє розточування отворів і діаметрів.
Верстат ТН-1М використовується в побутових та виробничих умовах.
Верстат ТН-1М є настільним універсальним токарно-гвинторізним верстатом і призначається для всіляких токарних робіт при масі деталі до 5 кг, у тому числі:
Традиційне наочне компонування верстата у поєднанні з відпрацьованою кінематичною схемою дозволяє впевнено забезпечити токарну обробку з класом точності «Н» протягом тривалого терміну експлуатації.
У порівнянні з пропонованими на ринку малогабаритними верстатами - він простий в експлуатації, надійний та довговічний.
Верстат ТН-1М має кілька варіантів комплектування:
Набір пристроїв, що розширюють можливості верстата під час проведення токарних робіт на замовлення споживача:
Додаткове приладдя, що входить в комплект поставки, служать для того, щоб здійснювати за допомогою нескладних переналагодок інші виконання верстата, токарно-центрове, фрезерно-свердлильне, шліфувальне, фугувальне, заточувальне, для роботи лобзиком, для роботи дисковою пилкою, розточувальне.
У комплект поставки входять дві різцетримки
За допомогою рухомої різцетримки змонтованої на каретці можна обробляти конусні поверхні і нарізати різьблення.
У каретці розташовані два гвинти, які за допомогою сухарів кріплять каретку до повзуна супорта.
Загалом каретка може бути встановлена в будь-якому з пазів повзуна супорта відповідно до вимог налагодження.
Для обробки конусних поверхонь каретку слід встановити на повзуні так, щоб спочатку нульовий штрих шкали каретки збігався з ризиком на лівому торці повзуна. Така установка здійснюється за допомогою одного ггвинта 5 на підставі каретки, який повертається в спеціально передбачений для цієї мети різьбовий отвір, розташований на верхній площині повзуна між двома Т-подібними пазами. Ціна розподілу шкали каретки 1
УВАГА! Після розвороту каретки на потрібний кут необхідно, щоб уникнути аварії, надійно зафіксувати її кріпильним гвинтом, як було описано вище.
Нерухома різцетримка кріпиться до повзуна супорта за допомогою ггвинта і сухар, що входить до одного з Т-подібних пазів повзуна.
За допомогою задньої бабки можна проводити обробку виробів у центрах.
При цьому задню бабку встановлюють і фіксують з урахуванням довжини деталі, що обробляється. Один кінець деталі затискають в якомусь пристосуванні (трикулачковий патрон, повідковий патрон) встановленому на шпинделі, а другий кінець деталі підтискають центром (рухомим або НЕ рухомим).
Центр задньої бабки може також служити для підтискання інших пристроїв верстата, що входять в комплект.
Затискач складається з втулки 1, цанги 3 та гайки 2.
Втулка з цангою вставляється в конусний отвір шпинделя, а гайка навертається на шпиндель по різьбленню. За допомогою цієї гайки в цангу, що переміщається вздовж осі, затискається заготовка або ріжучий інструмент, вставлені в її внутрішній циліндричний отвір.
Пристрій являє собою стійку 3, по направляючих якої переміщається стіл 4. Переміщення здійснюється обертанням маховичка жорстко 1 пов'язаного з ходовим гвинтом 2.
Заготівля кріпиться до столу прихватами 11 за допомогою шпильок 10, гайок 9, гвинтів 8 і сухарів, що входять у Т-подібні пази столу. Для того, щоб налагодити верстат на фрезерні або свердлильні роботи необхідно закріпити стійку на супорті верстата за допомогою планок 6 і гвинтів 5, як це показано на рис. 16.
Перша модель настільного токарного верстата Універсал із двома круглими напрямними була розроблена організацією ЕНІМС (Екпериментальний науково-дослідний інститут металорізальних верстатів). За основу було взято верстат Unimat SL австрійської фірми EMCO. За 40 років продано понад 600 тисяч верстатів.
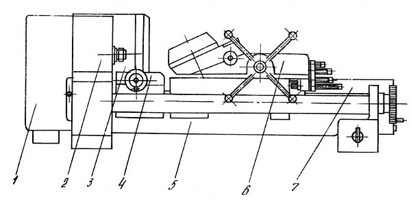
Верстат почав вироблятися серійно на підприємстві Московський верстатобудівний завод СтанкоКонструкція .
У другій половині 80-х років конструкція верстата була значно перероблена: починаючи з моделі Універсал-3, замість двох круглих направляючих з'явилася одна більшого діаметра посередині станини і передня бабка більше не від'єднувалася від станини. Верстат почали серійно випускати одразу кілька заводів:




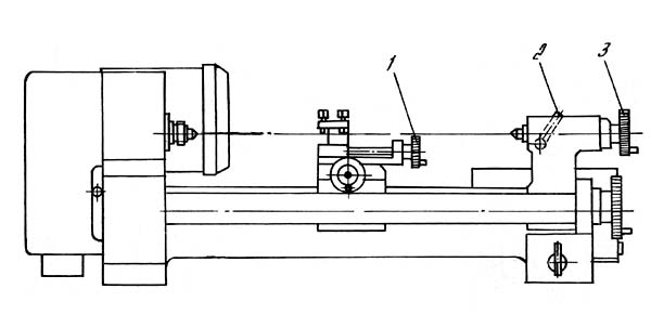
Фото токарно-гвинторізного верстата ТН-1М. Дивитись у збільшеному масштабі



Працюючи з прутком на супорті встановлюється солдатик, що з ггвинта 1, стійки 2 і гайки 3. У стійці 2 кріпиться гвинтом 1 відрізкою різець.

Схема кінематична токарно-гвинторізного верстата ТН-1М. Дивитись у збільшеному масштабі
В етой ланцюги вращение шпинделя осуществляется от електродвигуна 1 через клиноременную передачу. Предусмотрено 9 рабочих частот обертання шпинделя.
Две ступени (200 і 271 об/мин) можно получить, если шкив 2, жестко сидящий на валу електродвигуна 1, соединить ремнем з промежуточным шкивом 4, а тот, в свою очередь по ручью «а»— со шкивом 5, свободно вращающимся относительно вала електродвигуна 1, Со шкива 5 по одному из двух свободных ручьев «в» или «с» вращение передається непосредственно на шкив 6, жестко связанный со шпинделем.
Одна ступень (650 об/мин) получается путем передачи обертання со шкива 5 прямо на шкив 6, минуя промежуточные шкивы 4 і 5.
Еще две ступени 525 і 1000 об/мин) можно получить, если на шкив 2 надеть сменный шкив 3, чтобы торец, на котором имеются кулачки, был обращен наружу Со шкива 3, как і в первом случае, вращение передається на промежуточный шкив 4, а з него, по ручью «в» на шкив 5, который передает вращение шкиву 6 по ручьям «а» или «с».
Оставшиеся четыре ступени (1200, 1700, 2800 і 3200 об/мин) получаются, если вал електродвигуна 1 соединить со шкивом 5 через шкив 3 з помощью кулачков, имеющихся на одном из торцев післяднего. Тогда по любому из четырех ручьев вращение можно передавать на шкив 6.
Перемещение суппорта вправо і влево осуществляется ходовым винтом VII.
Вращение на ходовой винт передається непосредственно со шпинделя жестко закрепленным на кем зубчатым колесом 7.
Через зубчатое колесо 8 вращение передається зубчатыми колесами 9 і А, далее на промежуточный валик VI. Имеется два варіанта передачи обертання на етот валик:
Первый варіант используется для осуществления подачі при обычном точении, второй при нарезании різьби.
С валиком VI жестко связано зубчатое колесо 11. С етого колеса на колесо 14, закрепленное на левом кінці ходового гвинта, вращение можно передать либо через пару зубчатых колес 12 і 13 і тогда супорт будет перемещаться влево, либо через зубчатое колесо 11, что обеспечит перемещение суппорта вправо. Все три колеса 11, 12 і 13) смонтированы на поворотном устройстве 12 і находятся в постоянном зацеплении з центральным зубчатым колесом 10. Таким образом, можно осуществлять перемещение суппорта как вправо, так і влево при одном і том же направлении обертання шпинделя.
Имеется также возможность отключать подачу суппорта без останова обертання шпинделя. Это обеспечивается расцеплением зубчатых колес 7 і 8 з помощью того же поворотного пристроя.
Поперечное перемещение суппорта осуществляется от маховичка 38 через винт VIII.
Перемещение корпуса револьверної головки осуществляется при вращении штурвала 25 через передачу зубчатое колесо 26 рейка 27 Зубчатое колесо 26 закреплено на оси штурвала 25, а рейка 27 на салазках револьверної головки.
Поворот инструментального диска 39 на одну позицию осуществляется следующим образом. При перемещении корпуса револьверної головки вправо одно плечо рычага 29, упирается в упор 30 закрепленный в салазках револьверної головки і рычаг 29, поворачиваясь вокруг своей оси вторым плечом выводит фиксатор 31 из зацепления з звездочкой 38. При етом сжимается пружина 32. При дальнейшем перемещении корпуса 28 револьверної головки упор 34 входит в один из шести винтовых пазов барабана 33. При етом барабан 33 начинает поворачиваться. Одновременно поворачивается вал X синхронно з барабаном 33 і через конические зубчасті колеса 36, 37 вал IX з инструментальным диском 39 і звездочкой 38. При дальнейшем движении вправо рычаг 29 соскакивает з упора 30 і пружина 32 заводит фиксатор 31 в соответствующую впадину звездочки 38 фиксируя инструментальный диск револьверної головки 39. Одновременно поворачивается і барабан 35 з регулируемыми упорами. При етом напротив упора 34 располагается соответствующий упор. При движении влево барабан 33 вращается упором 34 в обратном направлении. Кулачки муфты проскальзывают, отжимая пружину 36. Упор 34 выходит из паза кулачка 33. При дальнейшем движении влево осуществляется рабочий ход.

Перемещение подвижной резцедержки осуществляется от маховичка 39 через винт XI.
Перемещение пиноли задньої бабки осуществляется от маховичка 40 через винт XII.


| Наименование параметра | ТН-1М | ТН-1 |
|---|---|---|
| Основні параметри верстата | ||
| Класс точності | Н | Н |
| Наибольший диаметр заготовки, устанавливаемой над станиной, мм | 150 | 150 |
| Наибольший диаметр заготовки, обрабатываемой над суппортом, мм | 90 | 90 |
| Высота центров над плоскими направляющими станины, мм | 75 | 75 |
| Наибольшая длина заготовки, обрабатываемой в центрах (РМЦ), мм | 350 | 350 |
| Наибольшая диаметр заготовки, обрабатываемой в патроне, мм | 70 | 70 |
| Наибольшая диаметр сверления по стали, мм | 6 | 6 |
| Шпиндель | ||
| Диаметр сквозного отверстия в шпинделе, мм | 15 | 15 |
| Присоединение патрона к шпинделю. Кінець шпинделя | М27х2 | М27х2 |
| Конус Морзе шпинделя | Морзе 2 | Морзе 2 |
| Число ступеней частот прямого обертання шпинделя | 9 | 9 |
| Частота прямого обертання шпинделя, об/мин | 200, 271, 525, 650, 1000, 1200, 1700, 2800, 3200 | 200, 271, 525, 650, 1000, 1200, 1700, 2800, 3200 |
| Число ступеней частот обратного обертання шпинделя | 9 | 9 |
| Частота обратного обертання шпинделя, об/мин | 200, 271, 525, 650, 1000, 1200, 1700, 2800, 3200 | 200, 271, 525, 650, 1000, 1200, 1700, 2800, 3200 |
| Наибольший крутящий момент на шпинделе, Нм | 1,2 | 1,2 |
| Торможение шпинделя | нет | нет |
| Блокировка рукояток | нет | нет |
| Суппорт. Подачи | ||
| Наибольшее продольное перемещение суппорта, мм | 350 | 350 |
| Перемещение суппорта продольное на одно деление лимба, мм | 0,05 | 0,05 |
| Наибольшее поперечное перемещение суппорта, мм | 90 | 90 |
| Перемещение суппорта поперечное на одно деление лимба, мм | 0,05 | 0,05 |
| Число ступеней продольных подач суппорта | 6 | 6 |
| Межі поздовжніх робочих подач супорту, мм/про | 0,05; 0,75; 0,1; 0,125; 0,150; 0,175 | 0,05; 0,75; 0,1; 0,125; 0,150; 0,175 |
| Межі робочих поперечних подач супорта, мм/про | ні | ні |
| Кількість нарізних різьблень метричних | 18 | 18 |
| Межі кроків різьб метричних, що нарізаються, мм | 0,2..2,5 | 0,2..2,5 |
| Межі кроків різьблення дюймових | ні | ні |
| Межі кроків різьблення модульних | ні | ні |
| Межі кроків різьблення питних | ні | ні |
| Висота різця, мм | 8 | 8 |
| Рухома різцетримка | ||
| Найбільше переміщення верхніх (різцевих) санчат, мм | ||
| Переміщення різцевих санок на один поділ лімба, мм | 0,05 | 0,05 |
| Кут повороту різцевих санчат, град | ±90° | ±90° |
| Револьверна головка | ||
| Кількість позицій | 6 | 6 |
| Діаметр базового отвору під інструментальні державки, мм | 14 | 14 |
| Робочий хід (ручне переміщення), мм | 40 | 40 |
| Установче переміщення, мм | 50 | 50 |
| Задня бабка | ||
| Конус Морзе пінолі | Морзе 2 | Морзе 2 |
| Найбільше переміщення пінолі, мм | 30 | 30 |
| Електроустаткування. Привід | ||
| Параметри мережі живлення | 220 В, 50 Гц | 220 В, 50 Гц |
| Електродвигун головного приводу, кВт | 0,55 | 0,55 |
| Синхронна частота обертання електродвигуна головного приводу, об/хв | 3000 | 3000 |
| Габарити та маса верстата | ||
| Габарити верстата (довжина ширина висота), мм | 825 х 410 х 280 | 825 х 410 х 300 |
| Маса верстата, кг | 80 | 85 |