Токарний багатофункціональний верстат Універсал був розроблений організацією ЕНІМС (Екпериментальний науково-дослідний інститут металорізальних верстатів).
Виробником настільного токарного верстата Універсал є завод Московський верстатобудівний завод "СтанкоКонструкція " , заснований в 1932 році.
Починаючи з 1964 р. завод розпочав виготовлення ерозійних верстатів із використанням електрофізико-хімічних методів обробки. Практично у всіх інструментальних цехах різних підприємств використовуються електроерозійні верстати і, зокрема, моделі МА96, ЛФ96Ф3, СК96Ф3, 4732Ф3М, 4733Ф3 та сучасні моделі СКЕ200Ф2, СКЕ200Ф3, СКЕ250Ф2, СКЕ.
Настільний токарний верстат Універсал є верстатом класу «хобі», і призначений для індивідуального (побутового) застосування, тобто за своїми конструктивними особливостями та технічними характеристиками верстат не призначений для використання на виробництві.
Токарний верстат металу Універсал призначений для обробки заготовок з металу, деревини, всіх видів пластмаси методом точення.
Верстат Універсал є настільним токарним верстатом і призначається для всіляких токарних робіт:
Шпиндель токарного верстата Універсал порожниста сталева деталь, з внутрішнім отвором 10 мм для обробки пруткового матеріалу, змонтований на 2-х роликових підшипниках у передній та задній опорах передньої бабки.
Шпиндель отримує 10 швидкостей обертання електромотора потужністю 120 Вт через шківний привід. 4-і швидкості виходять перестановкою шківних ременів між 4-х ступінчастиними шківами електродвигуна та приймальним шківом шпинделя. Інші швидкості досягаються застосуванням додаткового (проміжного) шківа.
Передній кінець шпинделя Універсал має різьблення М20 для встановлення на шпиндель токарного або повідкового патрона (див. статтю Токарні патрони ).
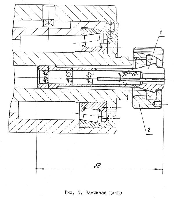
На різьбовий кінець шпинделя можна також встановити цанговий затискач з різними внутрішніми отворами.
У свердлильному виконанні шпиндель може переміщатися вздовж осі на 25 мм за допомогою ручки і пари: зубчасте колесо - зубчаста рейка. У токарномуу виконанні гільза шпинделя затискається двома ггвинтами і не використовується.
Супорт із встановленим на ньому різцем переміщається по поздовжнім напрямним на 160 мм і поперечним - на 55 мм.
На верстаті Універсал не можна нарізати різьблення т.к. немає механічної подачі супорта - гвинт ходовий не з'єднаний з приводом і супорт переміщається тільки вручну.
На верстаті "Універсал" (рис. 1) із застосуванням додаткових пристроїв та пристроїв, що додаються до верстата, можна виконувати найрізноманітніші види механічної обробки по металу, дереву, пластмасам та іншим матеріалам.
Відмінною особливістю верстата є широка універсальність та можливість переналагодження за допомогою пристроїв, які дозволяють виконувати такі роботи:
Верстат працює від однофазної мережі змінного струму напругою 220 В частотою 50 Гц.
Верстат "Універсал" при переналагодженні та встановленні додаткових пристроїв може мати такі основні виконання:
В даний час токарний верстат Універсал знято з виробництва і більше не випускається. Замість нього випускається досконаліший токарний настільний верстат Універсал-3М .
Перша модель настільного токарного верстата Універсал із двома круглими напрямними була розроблена організацією ЕНІМС (Екпериментальний науково-дослідний інститут металорізальних верстатів). За основу взято верстат Unimat SL австрійської фірми EMCO (За 40 років продано понад 600 тисяч верстатів цієї моделі).
Токарний верстат Універсал вироблявся серійно на підприємстві Московський верстатобудівний завод СтанкоКонструкція .
З 1968 року завод СтанкоКонструкція почав виробляти токарно-гвинторізний настільний верстат Універсал-2 – значно вдосконалений верстат Універсал.
У другій половині 80-х років конструкція верстата була значно перероблена: починаючи з моделі Універсал-3, замість двох круглих направляючих з'явилася одна більшого діаметра посередині станини і передня бабка більше не від'єднувалася від станини. Верстат почали серійно випускати одразу кілька заводів:

Розташування складових частинин токарного верстата Універсал
У перерахованих виконаннях верстат складається з наступних основних частинин та пристроїв:
Опис інших дрібніших пристроїв та пристроїв наведено в розділі "Налагодження верстата та правила роботи на верстаті".
При механічній обробці різних матеріалів (сталь, чавун, дерево, пластмаса і т.д.) та виконанні різних видів обробки (обточування, розпилювання, свердління, шліфування тощо) залежно від матеріалу ріжучого інструменту (інструментальна, швидкорізальна сталь або твердий сплав) необхідна певна швидкість різання для забезпечення хорошої якості поверхні та збереження ріжучих властивостей інструменту. Так, при дуже великій швидкості різання різальний інструмент швидко затупиться, а при дуже низькій - оброблювана поверхня вийде рваною або шорсткою. Для отримання доцільної швидкості різання необхідно, щоб шпиндель обертався з відповідним числом обертів n за хвилину, яке можна визначити за наступною найпростішою формулою:
n = 320 · V / D об / хв
де V - швидкість різання м/хв;
D - діаметр оброблюваної деталі або різального інструменту (коли обертається різальний інструмент). Рекомендуються наступні швидкості різання:

Фото токарного верстата Універсал
Фото токарного верстата Універсал. Дивитись у збільшеному масштабі

Фото токарного верстата Універсал
Фото токарного верстата Універсал. Дивитись у збільшеному масштабі

Фото токарного верстата Універсал
Фото токарного верстата Універсал. Дивитись у збільшеному масштабі

Фото токарного верстата Універсал
Фото токарного верстата Універсал. Дивитись у збільшеному масштабі

Фото токарного верстата Універсал
Фото токарного верстата Універсал. Дивитись у збільшеному масштабі

Фото токарного верстата Універсал
Фото токарного верстата Універсал. Дивитись у збільшеному масштабі

Фото токарного верстата Універсал
Фото токарного верстата Універсал. Дивитись у збільшеному масштабі

Свердлильне, фрезерне та шліфувальне виконання верстата Універсал

Виконання верстата Універсал з дисковою пилкою

Виконання верстата Універсал для робіт лобзиковою пилкою

Смазка токарного верстата Універсал
Перед початком роботи верстата необхідно змащувати круглі напрямні станини та супорта, гвинти поздовжнього та поперечного переміщення супортів, піноль та гвинт для її переміщення.
Мастило проводиться наступним чином. Різьблення гвинтів переміщення супорта, а також круглі напрямно і зовнішню поверхню пінолі змастити з маслянки, рівномірно подаючи краплями. Після цього прогнати суппорт і піноль на повний хід і назад.
Опори гвинтів супорта та пінолі сказати через спеціально передбачені отвори, заглушені різьбовими пробками. Олія індустріальна 20 ГОСТ 1707-51.
Підшипники кочення шпинделя, приводних шківів та ексцентрикового пристрою лобзикової пилки покривати періодично консистентним мастилом (солідол жировий) УС-2 або *УС-3 ГОСТ 1033-51.
У шпиндельні підшипники мастило вводиться через спеціальний отвір у гільзі, заглушений різьбовою пробкою. У підшипники шківів та ексцентрика мастило вводиться при зніманні фланців.
У перший період експлуатації верстата вводити густе мастило не слід, оскільки воно закладено на заводі-виробнику.

Кінематична схема приводу шпинделя верстата Універсал
Кінематична схема приводу шпинделя показана на рис. 6, з якої видно, в які струмки шківів необхідно встановити ремені, щоб отримати відповідне число оборотів шпинделя. Для того щоб натягнути ремені, необхідно відкинути кожух назад, відпустити на 1/2-1 оборот гайку 1 (рис.7) спеціальним ключем і, зрушивши електродвигун, звільнити ремені. Далі встановити ремені в потрібне положення, знову натягнути їх і закріпити гайкою I. зняти шків 4 і зворотним боком поставити на місце так, щоб його виступ увійшов до пазу сусіднього шківа, а штифт - в отвір шківа. Гвинтом 3 надійно закріпити шків 4.

Привід верстата Універсал

Шпиндельная бабка токарного верстата Універсал

Затискна цанга верстата Універсал

Верстат Універсал у налагодженні для свердління

Пристрій верстата Універсал для плоскошліфувальних робіт
У тому випадку, якщо в підшипниках шпинделя з'явиться зайвий проміжок або зайвий натяг, необхідно їх відрегулювати. Для цього (рис. 8) слід відвернути гайку 2 і 4, зняти шків 6 і обертати гайку 5. При затягуванні гайки 5 зазор у підшипнику зменшується, при ослабленні - збільшується. Правильно відрегульовані підшипники не повинні мати осьовий люфт, який можна перевірити, переміщуючи шпиндель вперед і назад в осьовому напрямку. Однією з причин появи вібрацій при різанні може бути неправильне регулювання підшибників.
Для переналагодження верстата на свердлильні, фрезерні та шліфувальні роботи необхідно зняти шпиндельну бабку з приводом і електродвигуном, для чого через вікно в дерев'яній підставці знизу відвернути повністю дві гайки 3 (рис. 8) трубчастим ключем, що додається до верстата, і вийняти два попереду шпиндельної бабки. Після цього кронштейн 2 (рис. 10) закріпити на шпиндельній бабці тими ж гайками 3. Замість шпиндельної бабки встановити в отвір станини стійку I, надіти шайбу 4 і закріпити гайку 3 трубчастим ключем. Кронштейн 2 зі шпиндельною бабкою і приводом надягти на стоїку і закріпити гвинтом 5 за допомогою ключа. Положення кронштейна за висотою залежить від висоти оброблюваної деталі та довжини різального інструменту.
Свердла та кінцеві фрези закріплюються в патроні типу II діаметром 1-6 мм або в цангу I (рис.9). Для встановлення патрона необхідно в конічний отвір шпинделя вставити конічну оправку 6 (рис.10), на вільний кінець якого насадити патрон. При виконанні плоскошліфувальних робіт на різьбовий кінець шпинделя навернути зібране шліфувальне оправлення (рис.11).
Оброблювані вироби можуть закріплюватися в лещатах або на прямокутному столі), які встановлюються на верхні санки супорта.
Для встановлення лещат необхідно зняти різцетримач, який кріпиться до санок гвинтом і сухарем, що знаходиться в Т-подібному пазі. Використовуючи два короткі гвинти і, додавши один сухар в Т-подібний паз, надійно закріпити ггвинтами лещата на верхніх санках.
Тиски (рис. 12) мають прикрутну губку I, в якій зроблено два взаємно перпендикулярні пази у вигляді призи, що дозволяє зручно кріпити деталі циліндричної форми у вертикальному та горизонтальному положеннях.
Установка прямокутного столу (рис. 13) аналогічна до встановлення лещат. Стіл затискається ггвинтами та чотирма сухарями, що додаються до верстату. Деталі, що обробляються, кріпляться на столі за допомогою двох прихватів, кожен з яких виконаний у вигляді планки з двома ггвинтами.
Планка при затиску повинна одним кінцем спиратися на деталь, іншим - в гвинт регулювальний і розташовуватися горизонтально, щоб уникнути вигину гвинтів при затиску деталі гайкою.
Для забезпечення ближчого підходу супорта до шпиндельної бабці необхідно зняти огороджувальну втулку поздовжнього ггвинта, закріплену з лівого боку супорта.
Вертикальне підведення і подача ріжучого інструменту здійснюється переміщенням гільзи у шпиндельній бабці рукояткою 7 (рис. 10). При цьому за допомогою двох гвинтів, що є в шпиндельній: бабці, необхідно попередньо підтиснути гільзу так, щоб вона не падала під дією власного носа вниз і про той же час могла порівняно легко поміщатися від рукоятки 7. Подача при свердлінні повинна бути такою, щоб вона не викликала поломки свердла чи тертя без зняття помітної стружки. Перед свердлінням отворів необхідно накернити оброблений виріб і, переміщуючи суппорт у двох напрямках, точно поєднати лунку з вершиною свердла.
При фрезеруванні вертикальним переміщенням гільзи здійснюється лише врізання, після чого за допомогою гвинтів на шпиндельній бабці слід закріпити гільзу. Подача у горизонтальній площині здійснюється у двох взаємно перпендикулярних напрямках шляхом переміщення супорта. Якщо необхідно фрезерувати по контуру, його слід навести попередньо креслилом на поверхні оброблюваної деталі.
При плоскому шліфуванні абразивне коло у вертикальному напрямку також подається лише на глибину, яка має становити невелику величину (0,01-0,02 мм). У деяких випадках можна знімати шар металу завглибшки до 0,5 мм. Подача в горизонтальному напрямку повинна здійснюватися супортом рівномірно і досить швидко до повного виходу кола з контакту з деталлю, що обробляється. Наприкінці обробки досягнення хорошої чистоти поверхні робиться так зване виходжування, тобто. здійснюється подача без врізання шліфувального кола доти, доки зникне іскра.
Шліфувальний круг може бути використаний для заточування різних інструментів.
Розпилювальні роботи виконуються на спеціальному прямокутному столі (рис. 14), у прорізі якого обертається дискова пилка. До верстату додається пилка для розпилювання дерева або іншого матеріалу, аналогічного за механічними властивостями. При застосуванні інших типів пилок можна розрізати тонкі металеві листи або смуги.
Налаштування пристрою здійснюється в такий спосіб. Відвернути гайки, що кріплять шпиндельну бабку через вікно у дерев'яній підставці, зняти шпиндельну бабку, встановити проставок, на який знову встановити шпиндельну бабку і закріпити знизу гайками.
На передній різьбовий кінець шпинделя (рис. 14) слід навернути перехідник I із закріпленою пилкою і затягнути стрижнем, вставляючи його в отвори перехідника. На верхні санки супорта закріпити кронштейн 2 за допомогою двох гвинтів 3 і сухарів 4, що розташовуються в Т-подібних пазах. Після цього прямокутний стіл 5 розташувати так, щоб пилка пройшла в його проріз і знаходилася посередині западини запобіжного кожуха 6. Потім, переміщуючи суппорт у двох взаємно перпендикулярних напрямках, поєднати отвори столу 5 і кронштейна 2 для кріплення ггвинтами 7 . увійти в отвір втулки 9. Якщо вони не співпадуть, слід гайку 10 відпустити, ввести супортом штир і знову закріпити гайку 10. До місця тертя штиря і втулки періодично подавати 2-3 краплі масла. Переміщуючи стіл 5 супортом у поздовжньому напрямку, забезпечити вільне обертання пилки так, щоб вона не торкалася столу та запобіжного кожуха. Після цього суппорт закріпити спеціально передбаченим гвинтом. Необхідно, щоб при обертанні пили втулка 9 сильно не нагрівалася через неправильне регулювання втулки. Для зручного і правильного напрямку матеріалу, що розрізається, служить обмежувач II, який кріпиться двома ггвинтами 12. При цьому край обмежувача II, звернений до пилки, повинен бути встановлений строго паралельно її полотну.
Розрізання матеріалу здійснюється шляхом рівномірної подачі його вздовж пилки та притиску до обмежувача II.
УВАГА! При роботі слід дотримуватися обережності і пальці руки повинні знаходитися на досить безпечній відстані від пилки, що обертається. Робота з відкинутою огорожею неприпустима.
| Найменування параметру | Універсал | Універсал-2 | Універсал-3 | Універсал-3м |
|---|---|---|---|---|
| Основні параметри верстата | ||||
| Найбільший діаметр заготовки над станиною, мм | 100 | 125 | 150 | 150 |
| Найбільший діаметр заготовки над супортом, мм | 50 | 60 | 90 | 90 |
| Найбільша довжина заготовки у центрах (РМЦ), мм | 150 | 180 | 250 | 250 |
| Рекомендована глибина точення за один прохід, мм | ||||
| Максимальна глибина точення за один прохід, мм | ||||
| Максимальний розмір державки різця, мм | 8 х 8 | 8 х 8 | 8 х 8 | 8 х 8 |
| Найбільший діаметр свердління сталі, мм | 6 | 6 | 6 | 6 |
| Передня бабка. Шпіндель | ||||
| Діаметр наскрізного отвору в шпинделі, мм | 10 | 10 | 15 | 15 |
| Приєднання патрона до шпинделя | М20 | М20 | M27x2 | M27x2 |
| Розмір конуса шпинделя | Морзе №1 | Морзе №2 | Морзе №2 | Морзе №2 |
| Число ступенів частот прямого обертання шпинделя | 10 | 11 | 9 | 9 |
| Частота прямого обертання шпинделя, об/хв | 160..2890 | 140..3000 | 200..3200 | 200..3200 |
| Диаметр токарного патрона, мм | 80 | 80 | 80 | 80 |
| Ход гильзы передньої бабки, мм | 25 | 30 | - | - |
| Супорт (поперечний повзун). Подання | ||||
| Найбільше поздовжнє переміщення каретки супорта, мм | 160 | 160 | 215 | 215 |
| Переміщення супорта поздовжнє на один поділ лімба, мм | 0,05 | 0,05 | ||
| Найбільше поперечне переміщення супорта, мм | 55 | 60 | 90 | 90 |
| Переміщення супорта поперечне на один поділ лімба, мм | 0,05 | 0,05 | ||
| Найбільше переміщення різцевих санчат (верхній супорт, складовий повзун), мм | - | - | ||
| Ціна поділу шкали повороту різцевих санчат, град | - | - | 1 | 1 |
| Межі поздовжніх робочих подач супорту, мм/про | - | 0,05..0,175 | 0,05..0,175 | 0,05..0,175 |
| Межі кроків різьб метричних, що нарізаються, мм | - | 0,2..2 | 0,2..2,5 | 0,2..2,5 |
| Задня бабка | ||||
| Найбільше переміщення пінолі, мм | 20 | 20 | 30 | 30 |
| Конус задньої бабки | Морзе 1 | Морзе 1 | Морзе 1 | Морзе 2 |
| Електроустаткування | ||||
| Номінальна напруга живлення, | 220 В 50 Гц | 220 В 50 Гц | 220 В 50 Гц | 220 В 50 Гц |
| Електродвигун головного приводу, Вт | 120 | 250 | 370 | 550 |
| Габарити та маса верстата | ||||
| Габарити верстата (довжина ширина висота), мм | 480 х 318 х 216 | 665 х 352 х 227 | 675 х 410 х 280 | 690 х 410 х 230 |
| Маса верстата, кг | 26,5 | 38 | 60 | 62 |