metalinstryment.com
Довідник по металорізальних верстатів та пресовому обладнанні

ВМ501ПМФ4 Верстат горизонтально-фрезерный з ЧПУ і АСИ
Схеми, опис, характеристики

Верстат горизонтально-фрезерный ВМ501ПМФ4 з ЧПУ і АСИ







Відомості про виробника горизонтально-фрезерного многооперационного верстата моделі ВМ501ПМФ4

Изготовитель горизонтально-фрезерного многооперационного верстата моделі ВМ501ПМФ4 - Воткинский машиностроительный завод, основанный в 1759 году.

Металлорежущие верстати на Воткинском машиностроительном заводе выпускаются начиная з 1956 г. Это вертикально-фрезерные верстати 6Н13, ВМ127, ВМ127М, универсально-фрезерные ВМ130, ВМ133, горизонтально-фрезерные верстати з ЧПУ ВМ500ПМФ4, ВМ501ПМФ4, а также токарний настільний верстат Універсал-В.

В настоящее время ОАО «Воткинский завод» головное предприятие ракетно-космического комплекса і изготовитель широкой гаммы гражданской продукции.





Верстати, выпускаемые Воткинским машиностроительным заводом, ВМЗ


ВМ501ПМФ4 Верстат горизонтально-фрезерный з ЧПУ і АСИ. Назначение, область применения

Многооперационный горизонтально-фрезерный верстат ВМ501ПМФ4 создан на базе специализированного многооперационного верстата моделі ВМ500ПМФ4.

Верстат горизонтально-фрезерный ВМ501ПМФ4 з круглым поворотным столом горизонтальный з числовым программным керуванням (ЧПУ) і пристрійм автоматичною смены инструмента (АСИ) предназначен для комплексной обробки плоских деталей средних размеров сложной формы.

Верстат ВМ501ПМФ4 предназначен для многооперационной обробки разнообразных деталей сложной конфигурации из стали, чугуна, цветных і легких сплавов.

На станке можно производить получистовое і чистовое фрезерование плоскостей, пазов і криволинейных поверхностей различными типами фрез, а также растачивание, сверление, зенкерование, развертывание отверстий і нарезание різьби метчиками і резцами по заданной программе.

Верстат може быть использован в мелкосерийном і серийном производствах различных отраслей промышленности.

Принцип роботи і особливості конструкції верстата

Сегодня ета модель верстата не производится.

Верстат ВМ501ПМФ4 состоит из стационарного базового вузла, который является станина, смонтированная на основании, і трех подвижных вузлів, разделенных линейными направляющими.

По вертикальным направляющим станины (ось координат "Y") перемещается основа суппорта, несущее направляющие для переміщення стола в продольном направлении (ось координат "X").

По верхним горизонтальным направляющим станины перемещается шпиндельна головка в поперечном направлении (ось координат "Z").

К салазкам, расположенным на основании суппорта, крепится круглый стол, обеспечивающий вращение детали без ограничения угла поворота (ось координат "В").

В процессе обробки обеспечивается автоматическая смена инструментов з одновременным изменением частоти обертання шпинделя. Механізм смены инструментов закреплен на станине, он рассчитан на 20 инструментов. Подъем і опускание магазина инструментов осуществляется пневмоцилиндром. Поворот магазина инструментов происходит от електродвигуна через редуктор і стековый механізм.

Рабочая зона верстата ограждена откидными щитками для защиты робочого от брызг СОЖ і отлетающей стружки.

На относительно подвижных вузлах установлены датчики обратной связи типа "Индуктосин" огражденные по длине ходу кожухами. Крайние положения подвижных вузлів контролируются системой упоров і конечных переключателей по каждой из осей координат. Электрические і гідравлические связи между относительно подвижными частинами верстата производятся з помощью гибких шлангов і металлорукавов.




ВМ501ПМФ4 Загальний вигляд горизонтально-фрезерного многооперационного верстата

Фото горизонтально-фрезерного многооперационного верстата ВМ501ПМФ4

Фото горизонтально-фрезерного многооперационного верстата ВМ501пмф4

Фото горизонтально-фрезерного многооперационного верстата ВМ501ПМФ4. Дивитись у збільшеному масштабі



Фото горизонтально-фрезерного многооперационного верстата ВМ501ПМФ4

Фото горизонтально-фрезерного многооперационного верстата ВМ501пмф4

Фото горизонтально-фрезерного многооперационного верстата ВМ501ПМФ4. Дивитись у збільшеному масштабі



Фото горизонтально-фрезерного многооперационного верстата ВМ501ПМФ4

Фото горизонтально-фрезерного многооперационного верстата ВМ501пмф4

Фото горизонтально-фрезерного многооперационного верстата ВМ501ПМФ4. Дивитись у збільшеному масштабі



Фото горизонтально-фрезерного многооперационного верстата ВМ501ПМФ4

Фото горизонтально-фрезерного многооперационного верстата ВМ501пмф4



Фото горизонтально-фрезерного многооперационного верстата ВМ501ПМФ4

Фото горизонтально-фрезерного многооперационного верстата ВМ501пмф4



Фото горизонтально-фрезерного многооперационного верстата ВМ501ПМФ4

Фото горизонтально-фрезерного многооперационного верстата ВМ501пмф4






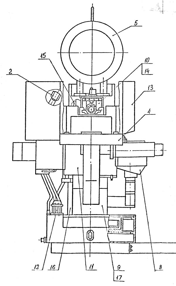
Розташування основних вузлів горизонтально-фрезерного многооперационного верстата ВМ501ПМФ4

Розташування основних вузлів горизонтально-фрезерного многооперационного верстата ВМ501ПМФ4

Розташування основних вузлів горизонтально-фрезерного многооперационного верстата ВМ501ПМФ4


Розташування основних вузлів горизонтально-фрезерного многооперационного верстата ВМ501ПМФ4

Розташування основних вузлів горизонтально-фрезерного многооперационного верстата ВМ501ПМФ4


  1. Пневмогідрошкаф - ВМ501ПМФ4.27.000
  2. Механізм поворота датчика "0Z" - ВМ501ПМФ4.34.000
  3. Подставка - ВМ501ПМФ4.35.000
  4. Стол круглый - ВМ501ПМФ4.50.000
  5. Механізм смены инструмента - ВМ501ПМФ4.60.000
  6. Электрошкаф - ВМ501ПМФ4.81.000
  7. Шкаф УЧПУ "2Р32" - ВМ501ПМФ4.82.000
  8. Пульт керування - ВМ501ПМФ4.80.000
  9. Станина - ВМ500ПМФ4.01.000
  10. Головка шпиндельна ВМ500ПМФ4.02.000
  11. Суппорт - ВМ500ПМФ4.03.000
  12. Охлаждение - ВМ500ПМФ4.28.000
  13. Ограждение - ВМ500ПМФ4.30.000
  14. Привід поперечных перемещений - ВМ500ПМФ4.40.000
  15. Установка датчика поперечных перемещений - ВМ130Ф3.25.000
  16. Установка датчика вертикальних перемещений - ВМ130Ф3.26.000
  17. Привід вертикальних перемещений - ВМ130Ф3.41.000



ВМ501ПМФ4 Кінематична схема горизонтально-фрезерного многооперационного верстата

Кінематична схема ВМ501ПМФ4 горизонтального сверлильно-фрезерно-расточного верстата

Кінематична схема горизонтально-фрезерного многооперационного верстата ВМ501пмф4

Схема кінематична горизонтального сверлильно-фрезерно-расточного верстата ВМ501ПМФ4. Дивитись у збільшеному масштабі



Кінематична схема верстата состоит из кинематических ланцюгів окремих его механізмов.

Вращение шпинделей осуществляется от електродвигуна переменного тока через коробку швидкостей, которая имеет двенадцать ступеней.

Перемещение подвижных вузлів (стола, основания суппорта і шпиндельной головки) осуществляется через упрощенные редукторы з помощью передач винт-гайка качения (ВГК) от раздельных електродвигателей постоянного тока.


Опис конструкції основних вузлів горизонтально-фрезерного верстата ВМ501ПМФ4

Пульт керування верстатом

Пульт керування верстатом (ПС) (см. рис .5.1, поз.8) предназначен для керування переміщеннями вузлів верстата в ручном режиме, для зажиму і разжима инструментов, автоматичною установки исполнительных органів в нулевые положения, увімкнення режимов роботи верстата, для аварийного виключення механізмов верстата.

Панель керування електрошафи

Панель керування електрошафи (см.рис.5.1, поз.18) предназначена для контроля за работой приводов перемещений исполнительных органів, увімкнення і отключения ручной подачі змазки і СОЖ.

Пульт керування УЧПУ

Пульт керування УЧПУ (рис. 6.3), показанный на рис. 5.1, поз. 19, предназначен для керування УЧПУ.

Станина

Станина (рис.6.5) является базовым узлом, на котором монтируются остальные вузли і механізмы верстата. Она закреплена на основании і зафиксирована штифтами. Станина снабжена вертикальными і горизонтальными направляющими.

Коробка швидкостей

Коробка швидкостей смонтирована непосредственно в корпусе станины к позволяет сообщать шпинделю верстата двенадцать различных частот обертання в пределах от 0,75 до 33,33 об/мин (45 до 2000 об/мин).

Механізм переключения швидкостей

Механізм переключения швидкостей (рис.6.6) верстата создан на основе принципов селективного і преселективного керування з полной автоматизацией переключения от системы программного керування (ПУ). Перемещение блоков колес для переключения происходит от рычагов 1-4, поворачивающихся вокруг оси 5. Этот поворот осуществляется толкателями б, которые действуют тогда, когда на них нажимает диск 7 при своем осевом перемещении. Диск перемещается вправо для увімкнення передачи от пружины 8, а влево - для установки в нейтральное положение от поршня 9 в гідроцилиндре (под давлением масла).

Осевое перемещение диска, имеющего несколько отверстий, вызывает перемещение толкателей лишь тогда, когда против толкателя не оказывается отверстия в диске. Для набора швидкостей диск устанавливается путем поворота его з помощью зубчатой передачи 60/65.

При необходимости переключения подается сигнал от системы ПУ на перевод блоков в нейтральное положение і перемещение поршня 9 влево, что вызывает увімкнення микропереключателя 10. При етом включается вращение диска 7, ето вращение происходит до тех пор, пока магнат II не вызовет замыкание одного из контактов геркона 12 под действием магнитного поля, создаваемого магнитом. От сигнала геркона происходит реверс двигуна 13 механізма переключателя.

Одновременно дается команда на толчковый поворот двигуна приводу головного руху і снятие давления в гідроцилиндре для переміщення диска 7. Под действием пружины 8 происходит перемещение диска, толкателей і одного из рычагов з соответствующим блоком зубчатых колес. При перемещении диска вправо включается микропереключатель сигнализирующий о том, что переключение произошло.





Головка шпиндельна

Головка шпиндельна горизонтально-фрезерного многооперационного верстата ВМ501ПМФ4

Головка шпиндельна горизонтально-фрезерного многооперационного верстата ВМ501пмф4

Головка шпиндельна горизонтально-фрезерного многооперационного верстата ВМ501ПМФ4. Дивитись у збільшеному масштабі



В корпусе 1 шпиндельной головки (рис 6.7) смонтирован шпиндель 2. Передней і задньої опорами служат радиальные двухрядные роликовые підшипники 3 і 4. Осевые нагрузки, действующие на шпиндель, воспринимаются опорно-радиальным подшипником 5, смонтированным в передньої опоре. Шпиндельная головка перемещается в поперечном направлении по направляющим станины. Перемещение осуществляется при помощи передачи винт-гайка качения, корпус которой жестко прикреплен к корпусу шпиндельной головки. Зажим направляючих шпиндельной головки производится з помощью двух мембранных камер, расположенных в планках направляючих станины при подаче к ним давления масла.

Зажим инструментальных оправок в гнезде шпинделя 2 производится тарельчатыми пружинами 6 через тягу 7, коромысло 8 і кулачки 9. Разжим инструментальной оправки производится гідроцилиндром 10, который сжимает пакет тарельчатых пружин 6, перемещая тягу 7 вместе з кулачками 9. Кулачки 9 под действием пружин 11 западают в кольцевую канавку шпинделя, освобождая оправку. В верхней частини корпуса I расположены масляные ванны для змазки підшибників шпинделя.

При разжиме оправок должно происходить их принудительное выталкивание из шпинделя на величину 0,5 мм. Регулювання величины выталкивания производится винтом 12.

Ориентирование шпинделя осуществляется з помощью гідроцилиндра 13, шток которого связан з кулачком 14, воздействующим на стенки спирального паза втулки 15 і разворачивающим її вместе со шпинделем. В кінці ходу кулачок 14 западает в паз втулки 15 і фиксирует ее.

Стол круглый

Стол круглый состоит из корпуса I, планшайби 2, установленной на комбинированном подшипнике 3. Вращение от електродвигуна 4 через спироидную пару, состоящую из спироидного червяка 5 і спироидного колеса б, передається на планшайбу.

При необходимости возможен зажим планшайби при помощи кольцевого гідроцилиндра 7 і гибкой мембраны 8.

Стол имеет пристрій для контроля начального положения планшайби, состоящее из индикатора нуля 9 і кулачка 10.

В качестве датчика обратной связи на столе применен датчик круговых перемещений типа "Индуктосин", статор 11 которого нерухомо закреплен на корпусе стола, ротор 12 установлен на валу 13 і вращается вместе з планшайбой 2.

Муфта 14 предназначена для подвода гідравлики к приспособлению, устанавливаемому на планшайбе стола.

Для ручного поворота планшайби на валу спироидного червяка 5 имеется шестигранное углубление под ключ.

Суппорт

Суппорт (рис.б.10, 6.11, 6.11а) состоит из основания суппорта і салазок.

Зажим салазок 3 на основании суппорта 4 производится гідроцилиндром 5. Контроль зажиму происходит з помощью микропереключателя 6.

Зажим суппорта на станине производится з помощью мембранных камер 7. Зазоры направляючих регулируются з помощью клина 8.

Датчик обратной связи приводу продольных перемещений состоит из линеек 9, которые установлены на салазках, і головки датчика 10, расположенной на основании суппорта.

Контроль нулевого положения салазок относительно основания суппорта производится з помощью индикатора нуля 11 і кулачка 12, закрепляемого на салазках. Нулевое положение суппорта относительно станины контролируется индикатором нуля 13, з помочью кулачка 14, закрепляемого на основании суппорта.

Перемещение салазок относительно основания суппорта осуществляется приводом поздовжньої подачі, который состоит из редуктора 15 і передачи винт-гайка качения 16.

Индикатор нуля

Индикатор нуля (рис.6.12) служит для контроля нулевого положения (начального положения исполнительных органів верстата перед обработкой), а также для автоматичною установки исполнительных органів в нулевое положение в режиме УСТАНОВКА "0".

Индикатор нуля состоит из корпуса I, в котором расположены два " толкателя 2 к два рычага 3, воздействующих на два микропереключателя 4, з помощью пружин 5 толкатели взаимодействуют со ступенчатым кулачком б, каждая из ступеней которого воздействует на свой толкатель в определенной післядовательности. Один из микропереключателей дает команду на переключение ускоренного переміщення исполнительного органа на медленное, а второй контролирует нулевое положение исполнительных органів в узкой зоне. Величина етой зоны, регулируемая гвинтами 7, не должна превышать X мм (*0,5 мм от нулевого положения),

Привід поперечных перемещений

Привід поперечных перемещений (рис.6.13) состоит из редуктора I, передачи винт-гайка качения 2 і кронштейна 3, установленного на станине.

Редуктор приводу продольных і поперечных перемещений

Редуктор (рис.6.14) состоит из електродвигуна постоянного тока I, двух пар зубчатых зацеплений, вала 2, который соединяется гвинтами передачи винт-гайка качения з помощью гвинта 4 і корпуса 5. Редуктор снабжен предохранительной муфтой, расположенной в губчатом колесе 3. Диск 6, з нанесенной на нем риской служит для проверки люфта в приводе перемещений.

Передача винт-гайка качения (ВГК)

Передача ВТК (рис.6.15) состоит из гвинта I, двух гаек 2, установленных вместе з зубчатыми втулками 3 в корпусе 4 і зубчатой втулки 5, предназначенной для регулировки люфта в передаче.

В кінці шарикового гвинта установлены упоры б о полиуретановыми демпферами 7, которые взаимодействуют з выступами А на зубчатых втулках 3, выполняя роль жестких упоров в кінці ходу исполнительных органів верстата.




Привід вертикальних перемещений

Привід вертикальних перемещений (рис.6.16) состоит из електродвигуна постоянного тока I, пары зубчатых винтовых колес 2 і передачи ВГК 3. В приводе установлена предохранительная муфта 4- со срезным штифтом.

Для проверки люфта приводу служит барабан 5 з нанесенной на нем риской і указатель б.

Датчик поперечных перемещений

Датчик поперечных перемещений (рис.6.17) состоит из линеек I, установленных на кронштейне 2, который крепится к корпусу шпиндельной головки, в головки датчика 3, установленной на станине.

Датчик вертикальних перемещений

Линейка I датчика вертикальних перемещений (рис.6.18) з помощью кронштейна 2 установлена на станине.

Головка датчика з помощью пленки 3 закреплена на суппорте.

Режими роботи верстата

Верстат имеет четыре режима роботи:

  1. РУЧНОЙ - керування переміщеннями исполнительных органів верстата і работой механізмов верстата от кнопок о пульта керування верстатом;
  2. АВТОМАТ - перемещение исполнительных органів верстата в автоматическом режиме при обработке деталей по программе;
  3. УСТАНОВКА "0" - автоматическая установка исполнительных органів верстата в нулевые положения;
  4. ВЫХОД В ТОЧКУ - подготовка к продолжению автоматичною роботи, если ета робота была прервана, з післядующими діїми в ручном режиме.

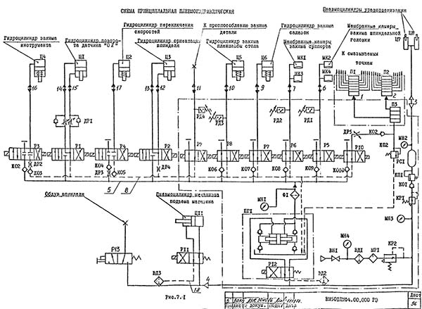
Гідравлічна схема горизонтально-фрезерного многооперационного верстата ВМ501ПМФ4

Гідравлічна схема горизонтально-фрезерного многооперационного верстата ВМ501ПМФ4

Гідравлічна схема горизонтально-фрезерного многооперационного верстата ВМ501ПМФ4

Гідравлічна схема горизонтально-фрезерного многооперационного верстата ВМ501ПМФ4. Дивитись у збільшеному масштабі






Верстат горизонтально-фрезерный з ЧПУ і АСИ. Відеоролик.



Основні технические данные і характеристики верстата ВМ501ПМФ4

Наименование параметра 2204вмФ4 ВМ501пмф4
Основні параметри
Класс точності по ГОСТ 8-82 В П
Модель пристроя ЧПУ Размер 2М1300-84, 2С42, Фанук 6М-Е 2Р32
Количество управляемых координат 8
Количество одновременно управляемых координат при линейной/ круговой интерполяции 4/3
Наибольший диаметр сверления в стали 45, мм 12
Наибольший диаметр растачивания, мм 60
Пределы диаметров нарезаемой різьби, мм М12
Наибольший диаметр торцевой фрезы, мм
Наибольшая длина инструмента, устанавливаемого на станке, мм 350
Наименьшее і наибольшее расстояние от оси шпинделя до стола, мм 90…590 65…305
Расстояние от торца шпинделя до центра стола, мм 200…700 90…290
Расстояние от оси шпинделя до оси круглого стола, мм ±125
Рабочий стол
Розміри рабочей поверхности стола, мм Ø 630 Ø 250
Предельные розміри обрабатываемых поверхности (длина х ширина х высота), мм 400 х 400 х 300
Максимальная нагрузка на стол (по центру), кг 300 40
Число Т-образных пазов Розміри Т-образных пазов 7
Наибольшее продольное перемещение стола (X), мм 500 250
Наибольшее поперечное перемещение стола (Z), мм 500 200
Наибольшее вертикальное перемещение шпиндельной головки (Y), мм 500 240
Круговое перемещение стола (B), град 360°
Предел рабочих подач стола і ползуна, мм/мин 1…4000
Скорость швидкого переміщення по координатам X, Z, мм/мин 10000 8000
Скорость швидкого переміщення по координате Y, м/мин 10000 8000
Наибольшая частота обертання стола (координата B), об/мин 10 19,4
Допустимое усилие подачі по координате X, Y, Z, кН 9,806
Точность позиционирования по координате X, Y, Z, мм 0,012
Шпиндель
Частота обертання шпинделя, об/мин (число ступеней) 40…2500 (Б/с) 45…2000 (12)
Количество швидкостей шпинделя Б/с 12
Номинальный крутящий момент на шпинделе, Нм 320
Конус шпинделя по ГОСТ 15945-70 50
Конус шпинделя по ГОСТ 19860-74 40АТ5
Магазин инструмента
Емкость инструментального магазина, шт. 30 20
Время смены инструмента/ от реза до реза, с 5/ 16 13
Наибольший диаметр инструмента, устанавливаемого в магазине, мм (без пропуска гнезд) 160 (100) 70
Наибольшая длина инструмента, устанавливаемого в шпинделе верстата, мм 350 150
Максимальный диаметр сверла, мм 30
Наибольшая масса оправки, устанавливаемой в магазине, кг 12/ 16
Електроустаткування і привод
Електродвигун приводу головного руху, кВт (об/мин) 6,3 22 (1450)
Електродвигун переключения швидкостей шпинделя, кВт 0,01
Электродвигатели приводу подач (X, Y, Z) і поворота стола, кВт 1,1
Электродвигатели приводу подач (X, Y, Z) і поворота стола, Н.м (кгс.см) 5,2 (53) 4 шт
Электродвигатели зажиму инструмента, кВт 0,18
Электродвигатели зажиму стола і шпиндельной головки, кВт 0,01
Электронасос охлаждающей жидкости, кВт 0,12 0,12
Електродвигун переключения швидкостей шпинделя, кВт - 0,7
Електродвигун обертання магазина, кВт 0,4
Електродвигун автооператора, кВт 0,37
Електродвигун перегружателя, кВт 0,18
Електродвигун насоса змазки, кВт 0,25
Суммарная мощность установленных на станке електродвигателей, кВт 11,2 4,5
Габарити і масса верстата
Габарити верстата (длина ширина высота), мм 3470 х 2900 х 2825 2095 х 3000 х 2320
Масса верстата, кг 7250 2400

    Список литературы

  1. Верстат специализированный многооперационный ВМ501ПМФ4. Руководство по експлуатации ВМ501ПМФ4.00.000 РЭ, 1985

  2. Грачев Л.Н. Конструкція і наладка верстатів з программным керуванням і роботизированных комплексов, 1986
  3. Панов Ф.С. Работа на верстатах з ЧПУ, 1984