metalinstryment.com
Довідник по металорізальних верстатів та пресовому обладнанні

ВМ-132 Верстат фрезерный широкоуніверсальний
руководство, схеми, опис, характеристики

ВМ-132 Верстат фрезерный широкоуніверсальний







Відомості про виробника фрезерного верстата ВМ132

Універсальный фрезерный верстат ВМ132 выпускался на предприятии Воткинский машиностроительный завод, основанный в 1759 году.

Металлорежущие верстати на Воткинском машиностроительном заводе выпускаются начиная з 1956 г. Это вертикально-фрезерные верстати 6Н13, ВМ127, ВМ127М, универсально-фрезерные ВМ132, ВМ133, горизонтально-фрезерные верстати з ЧПУ ВМ500ПМФ4, ВМ501ПМФ4, а также токарний настільний верстат Універсал-В.





Верстати, выпускаемые Воткинским машиностроительным заводом



ВМ132 Верстат фрезерный широкоуніверсальний високою точності. Назначение, область применения

Фрезерный широкоуніверсальний верстат ВМ-132 предназначен для фрезерування деталей цилиндрическими, дисковыми і фасонными фрезами при помощи горизонтального шпинделя, і торцовыми, кінцівыми і шпоночными фрезами при помощи поворотного вертикального шпинделя.

Фрезерный верстат ВМ-132 предназначен для фрезерування, растачивания і сверления поверхностей деталей типа корпусов, рычагов і фланцев из черных і цветных металлов і их сплавов в условиях мелкосерийного і серийного производства. Верстат рекомендуется использовать для выполнения точной і чистовой обробки.

На станке можно выполнять ряд фрезерных і расточных работ з високою точностью, которая може быть достигнута, если верстат установлен в помещении з постоянной температурой 20±2°С і влажностью 65±5%, если вблизи верстата нет источников тепла і вибрации. На станке можно выполнять, также, сверление і рассверливание, долбление, центрование, цекование, зенкерование, развертывание, растачивание.

Принцип роботи і особливості конструкції верстата

Наличие двух шпинделей горизонтального і поворотного вертикального, а также большого количества приладдя к верстату, делает его широкоуниверсальным і удобным для роботи в инструментальных цехах машиностроительных заводов при изготовлении пристосувань, инструмента, рельефных штампов і прочих изделий.

Широкий диапазон оборотів шпинделя і подач, наличие механических подач і быстрых перемещений обеспечивают економичную обработку различных деталей в оптимальных режимах.

Верстат применяется в единичном і мелкосерийном производстве в инструментальных і механических цехах машиностроительных предприятий.

Конструктивные особливості верстата при високою точності обробки обеспечивают широкие технологические возможности, простоту керування і обслуживания. Технологические возможности і еффективность роботи на станке достигаются наличием вертикального і горизонтального рабочих столов, горизонтального і вертикального шпинделей, бесступенчатой регулировкой швидкостей подач.

По заказу потребителя верстат комплектуется пневмомеханической системой зажиму инструмента, системой цифровой индикации фактического положения координат.

Патент № 39471.

Преимущества использования широкоуніверсального фрезерного верстата ВМ-132:


Аналоги універсального фрезерного верстата ВМ-130





ВМ-132 Загальний вигляд широкоуніверсального фрезерного верстата

Фото широкоуніверсального фрезерного верстата ВМ-132

Фото широкоуніверсального фрезерного верстата ВМ-132

Фото широкоуніверсального фрезерного верстата ВМ-132. Дивитись у збільшеному масштабі



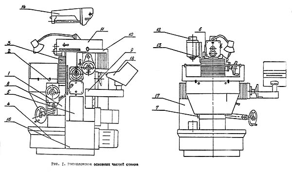
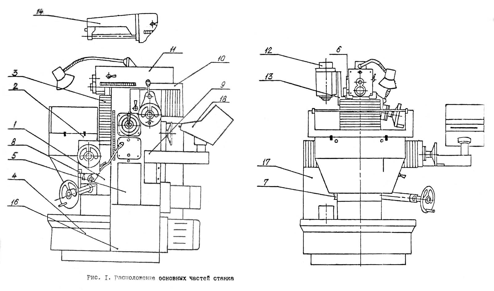
ВМ-132 Розташування складових частин фрезерного верстата

Розташування основних вузлів фрезерного верстата ВМ-132

Розташування основних вузлів фрезерного верстата ВМ-132

Розташування основних вузлів фрезерного верстата ВМ-132. Дивитись у збільшеному масштабі



Список складових частин широкоуніверсального фрезерного верстата ВМ132

  1. Суппорт - ВМ132.03.000
  2. Стол угловой - ВМ132.50.000
  3. Ограждение направляючих - ВМ132.04.000
  4. Станція - СОЖ ВМ132.28.000
  5. Станина - ВМ132.01.000
  6. Датчик обратной связи по координате Z - BM132.15 000
  7. Датчик, обратной связи по координате Y - BM132.10.000
  8. Датчик обратной связи по координате X - ВМ132.11.000
  9. Кронштейн - ВМ131ВФ1.12.000
  10. Ограждение гвинта - ВМ131ВФ1 13.000
  11. Головка горизонтальная - ВМ132.20.000
  12. Головка вертикальная - ВМ132.21.000
  13. Кронштейн приемный - ВМ131ВФ1.24.000
  14. Кронштейн поддержки оправки - ВМ132.25.000
  15. Електроустаткування верстата - ВМ132.80.000
  16. Электрошкаф - ВМ132.81 000
  17. Узел индикации - ВМ132.80.100-03

ВМ-132 Розташування органів керування фрезерным верстатом

Розташування органів керування фрезерным верстатом ВМ-132

Розташування органів керування фрезерным верстатом ВМ-132

Розташування органів керування фрезерным верстатом ВМ-132. Дивитись у збільшеному масштабі



Список органів керування консольно-фрезерным верстатом ВМ-132

  1. Маховичок вертикального переміщення суппорта
  2. Рукоятка зажиму суппорта
  3. Рукоятка зажиму салазок суппорта
  4. Рукоятка включении подач суппорта
  5. Маховичок продольного переміщення стола
  6. Кнопка ускоренного перемещении стола (вверх, вниз, вдоль)
  7. Рукоятка отключения вращении горизонтального шпинделя
  8. Рукоятка зажиму горизонтальной головки
  9. Кнопка ускоренного переміщення горизонтальной головки
  10. Рукоятка увімкнення механической подачі горизонтальной головки
  11. Маховичок переміщення горизонтальной головки
  12. Маховичок ручного проворота шестерен коробки швидкостей
  13. Рукоятка установки частоти обертання шпинделя
  14. Рукоятка фиксации нулевого положения вертикальной головки
  15. Пульт керування верстатом




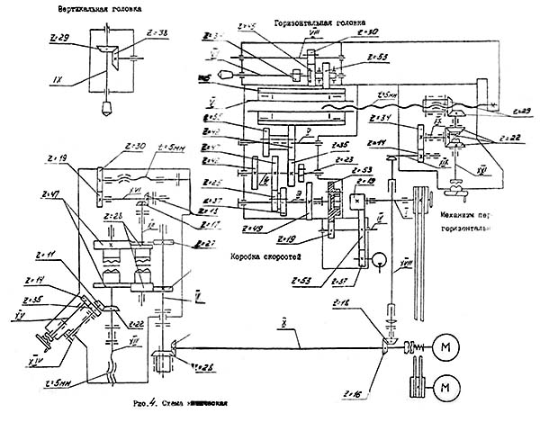
Кінематична схема фрезерного верстата ВМ-132

Кінематична схема ВМ-132 cтанок широкоуніверсальний фрезерный

Кінематична схема фрезерного верстата ВМ-132

Кінематична схема фрезерного верстата ВМ-132. Дивитись у збільшеному масштабі



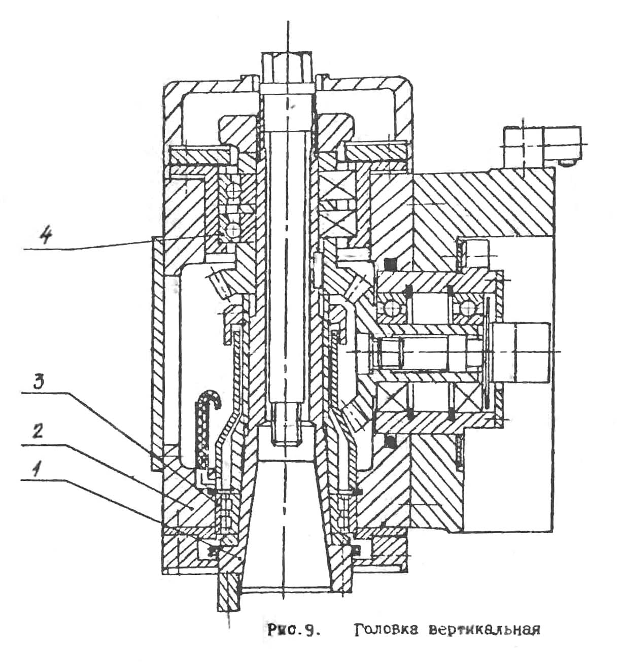
Вертикальная фрезерна  головка широкоуніверсального фрезерного верстата ВМ-132

Вертикальная фрезерна головка широкоуніверсального фрезерного верстата ВМ-132

Вертикальная фрезерна головка широкоуніверсального фрезерного верстата ВМ-132. Дивитись у збільшеному масштабі






Технічні характеристики фрезерного верстата ВМ132

Наименование параметра ВМ-130В ВМ-131ВФ1 ВМ-132
Основні параметри верстата
Класс точності по ГОСТ 8-82 В В В
Розміри рабочей поверхности горизонтального (углового) стола, мм 250 х 630 250 х 630 250 х 630
Розміри рабочей поверхности вертикального стола (основного), мм 160 х 500 160 х 500
Расстояние от оси горизонтального шпинделя до стола при ручном перемещении, мм 60..360 60..360 60..360
Рабочий стол
Максимальная нагрузка на стол (по центру), кг 140 140
Число Т-образных пазов Розміри Т-образных пазов 3 4 4
Наибольшее продольное перемещение стола (по си X), мм 250 250/ 245 250
Наибольшее вертикальное перемещение стола (ручное/ от механической подачі) (по си Z), мм 300 300/ 295 300
Наибольшее поперечное перемещение вертикальной головки (по си Y), мм 200 200 200
Перемещение стола на одно деление лимба (продольное, поперечное, вертикальное), мм 0,02 0,02 0,02
Скорость швидкого продольного ходу стола (по си X), мм/мин 800 2400
Скорость швидкого поперечного ходу головки (по си Y), мм/мин 800 2400
Скорость швидкого вертикального ходу стола (по си Z), мм/мин 800 2400
Число ступеней рабочих подач стола 9 Б/с Б/с
Число ступеней рабочих подач шпиндельной бабки 9 Б/с Б/с
Пределы продольных рабочих подач стола (по си X), мм/мин 10..400 12..1250 12..1250
Пределы поперечных рабочих подач шпиндельной бабки (по си Y), мм/мин 10..400 12..1250
Пределы вертикальних рабочих подач стола (по си Z), мм/мин 10..400 12..1250
Наибольшее усилие, допускаемое для поздовжньої подачі (по оси X), (кгс) 316
Наибольшее усилие, допускаемое для поперечної подачі (по оси Y), (кгс) 572
Наибольшее усилие, допускаемое для вертикальной подачі (по оси Z), (кгс) 498
Горизонтальный шпиндель
Частота обертання горизонтального шпинделя, об/мин 45..2000 45..2000 45..2000
Количество швидкостей горизонтального шпинделя 12 12 12
Внутренний конус горизонтального шпинделя. Морзе 4 40АТ5 ISO 40
Торможение шпинделя есть есть
Предохранение шпинделя от перегрузки (муфта) есть есть
Сверлильно-фрезерна поворотная головка
Частота обертання шпинделя сверлильно-фрезерной поворотной головки, об/мин 90..4000 90..4000
Количество швидкостей шпинделя сверлильно-фрезерной поворотной головки 12 12
Наибольшее перемещение гильзы (пиноли) вертикального шпинделя, мм 60
Механическая подача шпинделя сверлильно-фрезерной поворотной головки, мм/об 0,05
Расстояние от торца шпинделя сверлильно-фрезерной головки до стола, мм 335
Расстояние от оси шпинделя сверлильно-фрезерной головки до направляючих станины (вылет), мм
Внутренний конус шпинделя сверлильно-фрезерной головки. Морзе 2
Фрезерно-расточная поворотная головка
Частота обертання шпинделя фрезерно-расточной поворотной головки, об/мин 45..2000 45..2000
Количество швидкостей шпинделя фрезерно-расточной поворотной головки 12 12
Расстояние от торца шпинделя фрезерно-расточной головки до стола, мм 330
Расстояние от оси шпинделя фрезерно-расточной головки до направляючих станины (вылет), мм
Угол поворота фрезерно-расточной головки в вертикальной плоскости, мм ±90° ±45° ±45°
Внутренний конус шпинделя фрезерно-расточной поворотной головки. Морзе 4 40АТ5 ISO 40
Привод
Количество електродвигателей на станке 2 3 3
Електродвигун приводу головного руху, кВт (об/мин) 2,2 3,0 (1430) 3,0 (1430)
Електродвигун приводу подач, Н • м - 14
Електродвигун насоса охлаждающей жидкости, кВт 0,12 (2800) 0,12 (2800) 0,12 (2800)
Габарити і масса верстата
Габарити верстата (длина ширина высота), мм 1400 х 1000 х 1720 1380 х 1700 х 1820 1400 х 1100 х 1720
Масса верстата, кг 930 1040 980

    Список литературы:

  1. Верстат фрезерный широкоуніверсальний ВМ132. Руководство по експлуатации, 1993

  2. Аврутин С.В. Основы фрезерного дела, 1962
  3. Аврутин С.В. Фрезерне дело, 1963
  4. Ачеркан Н.С. Металлорежущие верстати, Том 1, 1965
  5. Барбашов Ф.А. Фрезерне дело 1973, с.141
  6. Барбашов Ф.А. Фрезерные роботи (Профтехобразование), 1986
  7. Блюмберг В.А. Справочник фрезеровщика, 1984
  8. Григорьев С.П. Практика координатно-расточных і фрезерных работ, 1980
  9. Копылов Р.Б. Работа на фрезерных верстатах,1971
  10. Косовский В.Л. Справочник молодого фрезеровщика, 1992, с.180
  11. Кувшинский В.В. Фрезерование,1977
  12. Ничков А.Г. Фрезерные верстати (Библиотека станочника), 1977
  13. Пикус М.Ю. Справочник слесаря по ремонту металлорежущих верстатів, 1987
  14. Плотицын В.Г. Расчёты настроек і наладок фрезерных верстатів, 1969
  15. Плотицын В.Г. Наладка фрезерных верстатів,1975
  16. Рябов С.А. Современные фрезерные верстати і их оснастка, 2006
  17. Схиртладзе А.Г., Новиков В.Ю. Технологическое обладнання машиностроительных производств, 1980
  18. Тепинкичиев В.К. Металлорежущие верстати, 1973
  19. Чернов Н.Н. Металлорежущие верстати, 1988
  20. Френкель С.Ш. Справочник молодого фрезеровщика (3-е изд.) (Профтехобразование), 1978








Заказать