metalinstryment.com
Довідник по металорізальних верстатів та пресовому обладнанні

FSS 350MR верстат консольно-фрезерный вертикальний общего назначения
характеристики, схеми, опис

FSS350MR Загальний вигляд консольного фрезерного верстата







Відомості про виробника консольно-фрезерного верстата FSS 350MR

В 1993 году Гомельский станкостроительный завод им. С. М. Кирова, СтанкоГомель заключил долговременное лицензионное соглашение з фирмой HECKERT Chemnitzer Werkzeugmaschinen GmbH по производству на заводе гаммы консольно-фрезерных верстатів серии FW, FU, FSS.

В настоящее время ОАО "СтанкоГомель" (Гомельский станкостроительный завод им. С.М. Кирова) выпускает вертикальные консольно-фрезерные верстати под маркой FSS-350MR (FSS-315) і FSS-450MR (FSS-400).

В России (СССР) аналогичные верстати 6Т12 (6Р12) выпускаются предприятием Горьковский завод фрезерных верстатів.





Верстати, выпускаемые предприятием Гомельский станкостроительный завод им. С. М. Кирова, СтанкоГомель


FSS350MR Вертикальный консольно-фрезерный верстат універсальний. Назначение і область применения

Вертикальные консольно-фрезерные верстати моделі FSS350MR є аналогами вертикальних фрезерных верстатів - 6Т12 і FSS-315 компании Heckert, ГДР.

Консольно-фрезерные верстати FSS350MR могут использоваться как для серийного, так і для штучного производства. Благодаря мощной конструкції і широкому числу оборотів на них могут обрабатываться детали из стали, чугуна і лёгких металлов инструментами из быстрорежущей стали і твердосплавными инструментами.


Принцип роботи і особливості конструкції верстата FSS350MR

Возможно фрезерование как встречное, так і попутное (только з гідравлическим механізмом попутной подачі).

Вертикальный консольно-фрезерный верстат моделі FSS350MR, FSS450MR (аналоги, производимые в СССР — 6Т12, 6Т13) позволяют вести обработку стали, чугуна вертикально закрепленными фрезами в автоматических циклах, а именно маятниковое фрезерование, фрезерование з ускоренным перескоком, фрезерование по прямоугольному циклу в трех плоскостях.

На верстатах данной серии шпиндельна голова поворачивается в обе стороны на 45˚, что позволяет расширить функциональность оборудования.

Верстати хорошо зарекомендовали себя в мелкосерийном і крупносерийном производствах.

Гідравлическое опускающее пристрій позволяет автоматически опускать деталь относительно инструмента при ускоренном отводе. Таким образом, сохраняется качество полученной поверхности вироби і лучше сохраняется инструмент. По окончании ускоренного відведення деталь возвращается в первоначальное положение.

Фрезерный шпиндель при отключении его приводу останавливается після свободного різання посредством електрического дискового тормоза.

Керування производится c подвесного пульта керування.

Верстати FSS350MR оборудованы електромеханическими натяжными пристроями.

Специальные приспособления і пристроя расширяют область применения для специальных заданий обробки.

Верстати FSS350MR позволяют вести обработку стали і чугуна в автоматических циклах:


Комплект поставки

На верстатах данной серии шпиндельна голова поворачивается в обе стороны на 45˚, что позволяет расширить функциональность оборудования.

К основным достоинствам данных фрезерных верстатів относится:

Фторопластовое покрытие направляючих стола і стойки обладает хорошими антифрикционными свойствами і антизадирной способностью, что позволяет обеспечить стабильность параметров точності в течение длительного часу.

Фрезерование на станке FSS350MR методом попутной подачі позволяет осуществлять еффективную обработку глубоких пазов і деталей из высокопрочных материалов. Высокие характеристики точності вертикально-фрезерного верстата позволяют производить детали самого высокого качества; например, неплоскостность поверхности стола на всей длине не превышает 16 мкм.

Вертикальный консольно-фрезерный верстат FSS350MR позволяет вести обработку деталей из стали і чугуна в автоматических циклах горизонтально закрепленными фрезами і дисковыми фрезами, закрепленными на оправке.




FSS350MR Габаритные розміри робочого простору вертикального консольно-фрезерного верстата

FSS350MR Габаритные розміри робочого простору вертикального консольно-фрезерного верстата

Габаритные розміри робочого простору верстата FSS350MR

FSS350MR Габаритные розміри робочого простору вертикального консольно-фрезерного верстата. Дивитись у збільшеному масштабі



FSS350MR Загальний вигляд вертикального консольно-фрезерного верстата

FSS350MR Загальний вигляд консольно-фрезерного верстата

Фото вертикального фрезерного верстата FSS350MR


FSS350MR Загальний вигляд консольно-фрезерного верстата

Фото вертикального фрезерного верстата FSS350MR


FSS350MR Загальний вигляд консольно-фрезерного верстата

Фото вертикального фрезерного верстата FSS350MR


FSS350MR Розташування складових частин консольно-фрезерного верстата

FSS350MR Розташування складових частин консольно-фрезерного верстата

Розташування основних вузлів фрезерного верстата FSS350MR


Список складових частин консольно-фрезерного верстата FSS350MR





Конструкція і принцип дії консольно-фрезерного верстата FSS350MR

Механические вузли

Основная плита і стойка

Основная плита (основание) і стойка привинчены друг к другу. На передньої стороне стойки на широкой направляющей скользит консоль.

На основную плиту опирается ходовой винт для руху консоли (вертикально, ось z). Одновременно опорная плита выполнена» как бак для охлаждающей жидкости. Задня стенка стойки закрыта дверцей. У верстатів FW/FU 315/400 на стойке крепится контропора, а у FSS 315/400 - поворотная шпиндельна головка. На правой стороне стойки привинчен распределительный шкаф.

Фото вертикального фрезерного верстата FSS350MR

Конструкція направляючих вертикального фрезерного верстата FSS350MR

FSS350MR Габаритные розміри робочого простору вертикального консольно-фрезерного верстата. Дивитись у збільшеному масштабі



Конструкція направляючих вертикального фрезерного верстата FSS350MR

Конструкція направляючих вертикального фрезерного верстата FSS350MR

Конструкція направляючих вертикального фрезерного верстата FSS350MR. Дивитись у збільшеному масштабі



Главный привод

В стойку встроены главная передача і главный двигатель (Рис. 5/1 ... 5/3). Фрезерный шпиндель приводится в действие електродвигуном через клиновые ремни і 18-ти ступенчатую передачу з передвижными зубчатыми колёсами. Двигатель привинчен к балансиру, путём его переміщення натягиваются клиновые ремни.


Привід і опори фрезерного верстата FSS350MR

Привід і опори фрезерного верстата FSS350MR



Привід і опори фрезерного верстата FSS350MR

Привід і опори фрезерного верстата FSS350MR


Шпиндельная головка верстата FSS 315/400

Поворотная шпиндельна головка вертикального консольно-фрезерного верстата FSS 315/400 закреплена на стойке і имеет одну консоль (Рис. 4/9; Привод: Рис. 5/3).

Контропора з серьгами у верстатів FW/FU 315/400

Контропора перемещается в призме стойки і жёстко зажата. Её можно переместить параллельно к оси фрезерного шпинделя.

Обе серьги ("106", Рис. 4/8), для подпорки длинных фрезерных оправок, можно перемещать по направляющей контропори в требуемое положение і зажимать. При применении коротких инструментов можно підшипники контропори снимать. Радиальный зазор регулируемой втулки в серьге (подшипник ковзання) регулируем.

Консоль

Консоль може перемещаться только по оси Z. Она направляется по стойке і приводится в рух вертикальным ходовым винтом. Во избежание падения консоли из-за износа вертикальной маточной гайки встроена упорная гайка. Эта вторая закаленная гайка действует, если маточная гайка изношена или поломана. Таким образом, оператор і верстат защищены от опасностей (повреждений).

Консоль направляет крестовый супорт или салазки поворотной частини у FU 315/400.

В консоли находятся:

Механізм подачі

Подача по осям X, Y і Z производится от одного електродвигуна через 18-ти ступенчатую передачу. На валу VII находятся рядом з механической предохранительной муфтой две електромагнітні муфты для передачи подачі і ускоренного ходу на консольные валы. Зубчасті колеса переключаются на валу II, IV і V. Механізм подачі имеет отдельную смазку шестеренчатым насосом на валу II (циркуляционная смазка).

Крестовый суппорт

Для руху по оси Y крестовый супорт направляется по консоли. Он держит в верхней частини направляющую для стола для руху по оси X. Этим обеспечивается прямоугольность между осями X і У. Привід для руху по оси X осуществляется в крестовом суппорте через зубчатый вал, цилиндрическое і коническое колесо до шлицевого вала і шпинделя в столе (Рис. 5/4).

Продольное рух стола можно выключить при помощи переключающей системы рычагов в крестовой салазке. Этим возможен привід от аппаратов на столе до гладкого вала через левый подшипник стола. Кроме того, на крестовой салазке находится механізм попутной подачі для оси X і на передньої стороне находится кнопка для керування зажимным пристрійм. Только у FU 315/400 стол поворачиваем. Вместо крестовой салазки имеются салазка поворотной частини і поворотная часть.

Стол

Стол скользит на продольных направляючих крестового суппорта. Направляющие ковзання, а также приводные елементы смазываются со стороны консоли (насос на механізме подачі) через смазочное пристрій на крестовом суппорте. Для закрепления деталей или зажимных пристосувань, а также дополнительного пристроя (настольные аппараты) имеются Т-образные пазы. На столе имеются канавки для стока охлаждающей жидкости.

Конструкція і принцип дії вспомогательных вузлів

Механізм опускания консоли

Механізм опускания консоли работает от гідравлики і находится справа в консоли. При повороте рукоятки в опоре вертикального шпинделя консоль опускается на 0,7 мм. Это выполняется совершенно автоматически при ускоренном ходе і при соответствующем предварительном выборе. Опускание консоли на 0,7 мм можно измерить стрелочным индикатором между столом і фрезерным шпинделем. По окончании ускоренного ходу консоль автоматически поднимается

Нормальный уровень масла в консоли является предпосылкой для надёжного функционирования гідросистемы механізма опускания консоли. Принцип дії показан на рис. 5/8. Если всё же пристрій не действует при нормальном уровне масла, то следует из гідросистемы удалить воздух согласно раздела 4.2.8.

Пристрій для фрезерування з попутной подачей

Для обробки при попутном фрезеровании необходим минимальный зазор между шпинделем стола і гайкой. Это достигается гідравлическим пристрійм для фрезерування з попутной подачей, которое системой рычагов давит на маточную гайку для попутного фрезерування, прилегающей на стороны профиля різьби шпинделя стола (Рис. 5/7). Нормальный уровень масла является предпосылкой для надёжного функционирования гідросистемы. Пристрій работает при движении подачі влево или вправо автоматически і отключается при ускоренном ходе для сохранения маточной гайки стола.

Пристрій охлаждающей жидкости

Основная плита верстата служит баком для жидкости. Насос для подачі охлаждающей жидкости привинчен к основной плите і доступен після открытия задньої дверцы стойки. Насос може перекачивать масло для змазки і охлаждения режущего инструмента или емульсию. Охлаждающая жидкость направляется через трубопровод к сливному соплу. У верстатів FSS 315/400 проток по спирали c запорным краном закреплен на шпиндельной головке, а у верстатів FW/FU 315/400 - на серьге. Охлаждающая жидкость течёт назад от стола через крестовую салазку, трубопровод, консоль і телескопическую трубу в основную плиту.

Механізм для замедленного ходу

Механізм для замедленного ходу (спецвиконання, Рис. 5/6) приводится в действие шестерней вала II механізма подачі і включается или выключается електромагнитной муфтой.

Передача скорости замедленного ходу на оси X, Y или Z производится через цилиндрическое колесо центр X. Конечный выключатель (S9) предотвращает переключение на замедленный ход, если скорость подачі меньше 63 мм/мин. Он находится за шкалой для швидкостей подачі.

Для предотобертання поломки зубьев в механізме для замедленного ходу в центре VIII встроена предохранительная муфта.

Обратное ручное перемещение

Специальное виконання з обратным ручным переміщенням возможно только у консольно-фрезерных верстатів FSS 400.





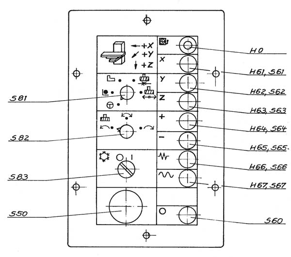
FSS350MR Розташування органів керування консольно-фрезерным верстатом

FSS350MR Розташування органів керування консольно-фрезерным верстатом

Розташування органів керування консольно-фрезерным верстатом FSS350MR


Опис елементів керування верстатом FSS350MR

Электрические елементы керування расположены в основном централизованно. Консольно-фрезерные верстати имеют поворотное табло керування 260 і панель керування 261 на левой боковой стенке распределительного шкафа (см. рис. 4/7).

Из-за поворотного табло керування место обслуживания може быть изменяемым і его можно согласовывать для необходимой потребности. На табло керування находятся все електрические елементы керування, необходимые для вызова рабочих процессов. Панель керування на боковой стенке распределительного шкафа позволяет в основном выполнить предварительный выбор етих рабочих процессов.

Для штучных заготовок можно вызывать все руху от руки на табло керування. Для серийных заготовок возможно использование кулачкового керування. При етом старт цикла обробки также производится от руки. Затем цикл обробки протекает автоматически, согласно установленных командных упоров.

Механические елементы керування размещены по всему верстату і служат в основном для налагодження верстата для специфического производственного задания.


FSS350MR Пульт керування консольно-фрезерного верстата

FSS350MR Пульт керування консольно-фрезерного верстата

Пульт керування консольно-фрезерного верстата FSS350MR


Электрические елементы керування

Электрическими елементами керування і индикации є многопозиционные переключатели, нажимные кнопки, светящиеся «кнопки, сигнальные лампочки і для функции аварийный стоп предназначен блокирующий переключатель. Достигнута высокая кінцінтрация елементів керування на поворотном табло керування і на панелі керування у распределительного шкафа.

Децентрализовано расположены только главный выключатель на распределительном шкафу, а также толчковые кнопки для фрезерного привода, приводу подачі і електрического зажимного приспособления, которые находятся на станке. Толчковые кнопки находятся непосредственно у механических вузлів, керування которых они делают возможным.

Механические елементы керування

В качестве механических елементів керування на вузлах верстата имеются шестигранники, зажимные винты, установочные болты, рукоятки і маховички. Для шестигранников, зажимных винтов і установочных болтов можно применять стандартные инструменты керування і поставляемую рукоятку.





Керування фрезерным верстатом FSS350MR. Установка работоспособности

Светящаяся кнопка находится на панелі керування у левой боковой стенки распределительного шкафа 261 (смотрите рис. 4/7). Работоспособность керування верстата сигнализируется светящейся кнопкой "Керування ВКЛ." (S54, Н54)

Предпосылками для работоспособности є закрытая дверь стойки (контролируется з S52), не нажатая кнопка аварийного стопа (S50), а также безошибочно работающая система керування. Если одна или несколько предпосылок не даны, тогда вызывается функция аварийный стоп. После установки исходного положения нажать заново кнопку "Керування ВКЛ."

Предварительный выбор режима роботи многопозиционными переключателями

Многопозиционные переключатели позволяют выполнять предварительный выбор различных рабочих процессов. Многопозиционные переключатели S81, S82 і S83 , которые часто включаются, находятся на поворотном табло керування 260 (см. рис. 4/10). Многопозиционные переключатели S85, S86, S87, S88 і S89, служащие для предварительного выбора технологических параметров, расположены на панелі керування на левой боковой стенке распределительного шкафа 261 (см. рис. 4/П).

Необходимо учесть, чтобы многопозиционные переключатели включались только в состоянии покоя верстата.

Отдельные многопозиционные переключатели выполняют ниженаступні функции: (Оцифровка положения переключателя начинается слева по часовий стрелке)

Кнопкове керування

На підвісному пульті керування 260 (см. рис. 4/10) расположенные кнопки служат для пуска і останова всех движений верстата. При етом осуществляются рабочие процессы, вызванные многопозиционными переключателями.

Кнопки от S61 до S67 выполнены светящимися кнопками, причем встроенные контрольные лампы Н61 до Н67 сигнализируют выбранную или сработанную функции.

Аварийный стоп

Нажимая на кнопку "Аварийный стоп" S50 в случае опасности моментально останавливаются все руху верстата. Так как фрезерный шпиндель по инерции не вращается, то не происходит свободное резание инструмента, находящегося в работе. До увімкнення прерванного направления подачі необходимо стол, крестовый супорт или консоль сначала переместить на незначительное расстояние в противоположном направлении. Этим предотвращается повреждение или разрушение режущих кромок.

Необходимо причины, вызывающие опасность, немедленно і до повторного увімкнення системы керування устранить.

Повторное увімкнення системы керування выполняется при помощи нажатия светящейся кнопки "Керування ВКЛ." (S54, Н54).

Верстат выключить

Нажатием кнопки "Верстат ВЫКЛ." (S60) моментально отключаются руху верстата. Фрезерный шпиндель ещё некоторое время вращается по инерции для достижения свободного різання инструмента. Эта функция останова для окончания робочого процесса выполняется от руки. Командные упоры - стоп вызывают одинаковую функцию.

Режим "Работа"

Режим "Работа" (S81, положение 3). Все начатые руху выполняются самостоятельно до их изменения или прерыванием при помощи "Верстат ВЫШЕ". В етом режиме роботи управляющие кулачки могут применяться для керування автоматическим режимом роботи.

Вызов одного руху:

"Кратковременный ПУСК"

"Кратковременный ПУСК" (S81, положение 1)

Начатое рух производится з кратковременным пуском, ето значит только до тех пор, пока нажимается кнопка выбора направления.

Вызов одного руху - Выполняется как при режиме роботи "Работа" (см. выше)

Изменить выбранные движение, скорость і ось можно только нажатием на кнопку S60 і новым предварительным выбором.

Режим "Наладка"

Режим "Наладка" (S81, положение 2)

В етом режиме роботи включается только вращение фрезы.

Для налагодження верстата можно все оси перемещать при помощи кривошипной рукоятки (см. 4.2.12).

- Нажатием одной кнопки направления (S64 или S65) включается рух фрезы з выбранным направлением обертання.

Кнопки для предварительного выбора осей і скорости нееффективны.

- Кнопка S60 служит для останова обертання фрезы.

Специальная функция

В распределительном шкафу находится переключатель S90.

В положении "Без обертання фрезы" он позволяет експлуатацию верстата в режимах роботи "Работа" і "Кратковременный пуск" без обертання фрезы (многопозиционный переключатель S81 в положении переключения 3 или 1).

На основании имеющейся опасности переключатель S90 находится в распределительном шкафу і он должен обслуживаться обученным персоналом.

Если распределительный шкаф замкнут, то переключатель S90 должен обязательно находиться в положении "Вращение фрезы".

Выбор числа оборотів

Установка числа оборотів фрезерного шпинделя выполняется вращением рукоятки переключения 101 (рис. 4/5 до 4/7). Один оборот рукоятки влево или вправо вызывает переключение на одну ступень числа оборотів. Можно переключать из высокого числа оборотів на низкое і наоборот. Каждое переключение числа оборотів указывается на шкале. Переключать разрешается только при выключенной подаче.

Если рукоятка не прокручивается, так как в передаче имеется зубчатое зацепление, тогда кратковременным нажатием кнопки "Кратковременный пуск" S56 (рис. 4/5 до 4/7) можно вызвать вращение передачи.

Выбор подачі

Скорость подачі устанавливается поворотом рукоятки переключения 117 (рис. 4/5 до 4/7). Один оборот рукоятки вправо или влево вызывает переключение на одну ступень подачі. Можно переключать з високою ступени подачі на низкую і наоборот. Указанная на шкале скорость подачі действительна только для продольного переміщення і поперечного переміщення. Скорость подачі по вертикальной оси составляет только уз указанного значения. Переключать можно только тогда, если передача находится в состоянии покоя! Если рукоятка не проворачивается, так как в передаче имеется зубчатое зацепление, тогда коротким нажатием на кнопку "Кратковременный пуск" S57 (рис. 4/5 до 4/7) можно вызвать вращение передачи.

Приспособление для подачі охлаждающего средства

Бак для охлаждающей жидкости у консольно-фрезерных верстатів (FW, FU ИЛИ FSS ) находится на базовой плите. Этот бак закрыт крышками 121. Насос для подачі охлаждающей жидкости привинчен к базовой плите і доступ к нему возможен після открытия задньої дверцы стойки.

Охлаждающее средство подается от насоса через шланг в стойке сзади справа над консольно-фрезерным верстатом до передньої левой стороны керування. У верстатів FSS спираль расхода з выпускным сопло прикреплено к шпиндельной головке, а у верстатів FW і FU - к контропоре. Розташування' зажимной скобы на призме для направляючих контропори може быть произвольным.

Муфтовый кран 105 в подводящем трубопроводе позволяет регулировать количество жидкости до полного запирания трубопровода без отрицательного дії на насос для подачі охлаждающей жидкости. Назад охлаждающее средство течет со стола через крестовый суппорт, трубопровод, консоль і телескопическую трубку в базовую плиту. Насос для охлаждающей жидкости може перекачивать масло для охлаждения или емульсию.

Керування:

Механізм попутной подачі (продольное рух стола)

Глубокие пазы, тонкостенные детали (которые трудно поддаются зажиму) или высокопрочные материалы зачастую лучше фрезеровать способом попутной подачі.

Предпосылкой етого является безупречная компенсация зазору между винтом подачі стола і гайкой. Эта компенсация вызывается гідравлическим механізмом попутной подачі, который встроен слева в крестовом суппорте или в поворотной частини.

Керування:

- Многопозиционный переключатель S86 (рис. 4/11) переключить в положение I "ВКЛ."

- В етом положении механізм попутной подачі при движении подачі стола влево или вправо выполняется полностью автоматически і отключается при ускоренном ходе для лучшего сохранения гайки гвинта подачі стола.

- При переключении з ускоренного ходу на подачу необходимо учитывать, что на врезание инструмента требуются примерно 3 секунда для достижения полного дії механізма попутной подачі.

Опускание консоли (ось Z)

Работа з опусканием консоли предотвращает контакт фрезы з заготовкой во время ускоренного відведення, следовательно, способствует сохранению фрезерного инструмента і защищает поверхность заготовки от повреждения режущими кромками инструмента.

- Многопозиционный переключатель S87 (рис. 4/II) установить в положение I "ВКЛ."

- В етом положении переключения консоль, до любого ускоренного руху в продольном направлении і в поперечном направлении, автоматически опускается примерно на 0,7 мм.

- При любой форме окончания ускоренного ходу консоль опять поднимается. Заготовка для дальнейшей обробки занимает при етом всегда первоначальное положение. Рух подачі допускается только при полностью поднятой консоли.

- Специальная функция "Наладка механізма для опускания консоли"

Специальная функция служит для удаления воздуха из механізма для опускания консоли. Многопозиционный переключатель S85 (рис. 4/II) установить в положение 5. Нажатием кнопки S67 (рис. 4/10) на поворотном табло керування 260 двигатель механізма для опускания консоли вращается в направлении "Опустить" і наполняет маслом гідросистему. Нажатием на кнопку S57 (рис. 4/5, 4/6, 4/7) двигатель механізма для опускания консоли вращается в направлении "Поднять" Кнопки S67 (примерно 30 сек) і S57 (примерно 5 сек) нажимаются многократно і попеременно, гарантируя етим надёжную продувку.

Электрическое пристрій для зажиму инструментов

Внимание!

Во время процессов зажиму і разжима инструмента необходимо инструмент предохранять от прокручивания в пазовом сухаре фрезерного шпинделя, для предотобертання прокручивания инструмента натяжным винтом приспособления для зажиму і исключения травмирования. У инструментов, весом больше 16 кг применять для опори инструментов подходящие вспомогательные средства, чтобы предотвратить выпад инструмента из фрезерного шпинделя і повреждения на инструменте і на станке. Перед зажимом необходимо почистить крутой конус фрезерного шпинделя і инструмента, а также поводок.

Зажим инструмента:

  1. Многопозиционный переключатель S81 установить в положение 4 "Инструмент зажать" (см. рис. 4/10)
  2. Инструмент вставить і зафиксировать во фрезерном шпинделе
  3. Нажать кнопку S251- "Инструмент зажать/разжать" (см. рис. 4/5,4/6,4/7) Инструмент зажимаемся. По достижении установленного момента закручивания механізм для зажиму автоматически отсоединяется і двигатель механізма для зажиму отключается. Процесс зажиму можно повторить только після предварительного разжима.

Разжим инструмента:

  1. Многопозиционный переключатель S61 установить в положение 5 "Инструмент разжать"
  2. Инструмент зафиксировать
  3. Нажать кнопку S251 "Инструмент зажать/разжать"

Инструмент разжимается. После окончания процесса разжима кнопку S251 опять отпустить, так как при разжиме не происходит автоматическое відключення механізма для зажима.

- Примечание:

Кнопка S251 по причинам безопасности выполнена кнопкой кратковременного пуска. Этим она должна во время процесса зажиму і разжима постоянно нажиматься, однако при появлении нерегулярностей прервать зажим і разжим возможно при помощи отпускания кнопки.

- Указание:

Так как для функционирования режимов роботи "Кратковременный пуск", "Наладка", "Работа" (многопозиционный переключатель S81, положение 1,2,3) необходима сигналізація "Приспособление для зажиму инструментов отсоединено і зажато", то один инструмент должен быть постоянно зажат. При применении инструментов или пристосувань, которые не вставляются в крутой конус фрезерного шпинделя, зажимать тогда поставляемую центрирующую оправку.

Замедленный ход (Спецвиконання)

Керування замедленным ходом выполняется светящимися кнопками S66/H66 (см. раздел 4.2.3.) или командными упорами "Замедленный ход" (см. раздел 4.2.II). У верстатів стандартного исполнения отсутствует на табло керування кнопка S66/H66 і командные упоры тоже не поставляются.

Замедленный ход является специальной подачей з неизменной скоростью 50 мм/мин. Замедленный ход возможен поетому только как і подача з вращением фрезы. Замедленным ходом по необходимости происходит понижение скорости подачі.

Этим замедленный ход служит для защиты инструмента і верстата. Возникающие, при врезании і выходе инструмента из контакта з изделием, ударные нагрузки на инструмент і верстат при помощи замедленного ходу значительно сокращаются.

Кроме того, у верстатів з замедленным ходом повышается точность отключения при работе з командными упорами. Так, например, если до переключения на ускоренный отвод или до прерывания руху подачі со "Стоп" включается замедленный ход. При фрезеровании по прямоугольному циклу автоматическое увімкнення замедленного ходу происходит незадолго до достижения точки переключения от одной координаты на другую при помощи управляющих кулачков "прямоугольный цикл". Этим самым і здесь также повышается точность отключения.

Если скорость подачі ниже 63 мм/мин, то не происходит переключение на замедленный ход, т.к. в етом случае не происходит понижение скорости подачі.

Размещение командных упоров

На любой оси (X, Y, Z) можно устанавливать командные упоры для требуемого робочого процесса. На них имеются символы вида вызываемого руху і поворотом на 180 градусов могут действовать в любом направлении (+,-). Возможно керування всеми процессами руху і соответственно положений многопозиционных переключателей всеми дополнительными функциями (например, охлаждающее средство, опускание консоли і т.д.). Примеры для розміщення командных упоров даны в разделе 7. Командные упоры подразделяются на ниженаступні виды:

Эти упоры показаны на рис. 4/3.1 і 4/3.2.





FSS350MR Схема електрична консольно-фрезерного верстата

FSS350MR електрична схема консольно-фрезерного верстата

Електрична схема консольно-фрезерного верстата FSS350MR


Електроустаткування верстата FSS350MR

Консольно-фрезерные верстати стандартного исполнения рассчитаны на трехфазный ток 380в, 50 Гц. Другие напряжения (220 до 500в) і частоти (60 Гц) возможны как спецвиконання. Независимо от напряжения сети управляющее напряжение составляет 24в. Напряжение для станочного светильника составляет обычно 24в, 50 Гц. Можно употреблять лампочки максимально до 100 Вт. Для електроживлення магнитных муфт приготавливается постоянное напряжение 24в. Электрические приборы размещены в распределительном шкафу, который прикручен к стойке.


FSS350MR Настановне креслення консольно-фрезерного верстата

FSS350MR Настановне креслення консольно-фрезерного верстата

Настановне креслення консольно-фрезерного верстата FSS350MR






FSS350MR верстат консольно-фрезерный вертикальний. Відеоролик.



Технічні характеристики консольного фрезерного верстата FSS350MR

Наименование параметра FSS350MR FSS400MR 6Т12 6Т13
Основні параметри верстата
Розміри поверхности стола, мм 315 х 1250 400 х 1600 320 х 1250 400 х 1600
Наибольшая масса обрабатываемой детали, кг 1000 1500 400 630
Наибольший продольный ход стола (Ось X). Механіка, мм 850 1120 800 1000
Наибольший поперечний ход стола (Ось Y). Механіка, мм 270 345 320 400
Наибольший вертикальний ход стола (Ось Z). Механіка, мм 350 400 420 430
Наибольший продольный ход стола (Ось X). Вручную, мм 1150
Наибольший поперечний ход стола (Ось Y). Вручную, мм 370
Наибольший вертикальний ход стола (Ось Z). Вручную, мм 430
Расстояние от торца шпинделя до поверхности стола, мм 95..450 100..500 30..450 70..500
Расстояние от оси шпинделя до вертикальних направляючих станины (вылет), мм 360 450 380 460
Шпиндель
Мощность приводу головного руху, кВт 5,5 11 7,5 11
Частота обертання шпинделя, об/мин 28..1400 28..1400 31,5..1600 31,5..1600
Количество швидкостей шпинделя 18 18 18 18
Ступенчатый переход швидкостей шпинделя 1,25 1,25
Перемещение пиноли шпинделя, мм 90 90 70 80
Перемещение пиноли шпинделя на одно деление лимба, мм 0,05 0,05 0,05 0,05
Угол поворота шпиндельной головки, град ±45° ±45° ±45° ±45°
Кінець шпинделя Конус ISO 50 Конус ISO 50 50 50
Максимальный допустимый момент обертання, Нм 925 1850
Диаметр переднего підшипника, мм 100 100
Наибольший диаметр резцовой фрезерной головки, мм 250 315
Рабочий стол. Подачи
Пределы продольных і поперечных подач стола (X, Y), мм/мин 16..800 16..800 12,5..1600 12,5..1600
Пределы вертикальних подач стола (Z), мм/мин 5..250 5..250 4,1..530 4,1..530
Количество подач стола (продольных, поперечных, вертикальних) 18 18 22 22
Скорость быстрых перемещений (продольных, поперечных/ вертикальних) X, Y/ Z, м/мин 3,15/ 1,0 3,15/ 1,0 4/ 1,330 4/ 1,330
Перемещение стола на одно деление лимба (продольное, поперечное, вертикальное), мм 0,05 0,05 0,05 0,05
Перемещение стола на один оборот лимба (продольное, поперечное/ вертикальное), мм 6/ 2 6/ 2
Наибольшее допустимое усилие різання (продольное/ поперечное/ вертикальное), кН 15/ 12/ 5 20/ 12/ 8
Механіка верстата
Выключающие упоры подачі (поздовжньої, поперечної, вертикальной) Есть Есть Есть Есть
Блокировка ручной і механической подач (поздовжньої, поперечної, вертикальной) Есть Есть Есть Есть
Блокировка раздельного увімкнення подач Есть Есть Есть Есть
Торможение шпинделя Есть Есть Есть Есть
Предохранительная муфта от перегрузок Есть Есть Есть Есть
Автоматическая прерывистая подача Есть Есть Есть Есть
Електроустаткування і приводы верстата
Количество електродвигателей на станке 4 5 4 4
Електродвигун головного руху, кВт 5,5 11 7,5 11
Електродвигун приводу подач, кВт 1,5 2,2 3 3
Електродвигун зажиму инструмента, кВт 0,25 0,25
Електродвигун насоса СОЖ, кВт 0,12 0,12
Суммарная мощность всех електродвигателей, кВт 8,23 14,43 10,87 14,37
Габарити і масса верстата
Габарити верстата (длина ширина высота), мм 2800 x 2420 x 2635 3500 x 2920 x 2710 2280 х 1965 х 2265 2570 х 2252 х 2430
Масса верстата, кг 2960 4700 3250 4300









Заказать

Кто владеет информацией - тот владеет миром.

Натан Ротшильд