metalinstryment.com
Довідник по металорізальних верстатів та пресовому обладнанні

7430 долбежный верстат з гідравлическим приводом
опис, характеристики, схеми

Фото долбежного верстата 7430







Відомості про виробника долбежного верстата 7430

Разработчиком і изготовителем долбежного верстата 7430 является Гомельский станкостроительный завод им. С. М. Кирова СтанкоГомель, основанный в 1885 году.





Верстати, выпускаемые предприятием Гомельский станкостроительный завод им. С. М. Кирова, СтанкоГомель


7430 Долбежный верстат з гідравлическим приводом. Назначение і область применения

Долбежный верстат з гідравлическим приводом моделі 7430 предназначен для обробки фасонных отверстий (квадратных, шестигранных, шлицевых і др.), прорізання шпоночных пазов і канавок в конических і цилиндрических отверстиях, а также для строгания наружных коротких плоских і фасонных линейчатых поверхностей з поднутрением до 10° в условиях индивидуального і мелкосерийного производства, а также в ремонтных мастерских.

Наличие трёх видов подач стола (поздовжньої, поперечної і круговой) даёт возможность обробки на данном станке 7430 нескольких поверхностей з одной установки. Наличие механических подач стола, механізма автоматичного останова, дистанционного керування позволяет многостаночное обслуговування.

Верстат 7430 предназначен для обробки долблением плоских і фасонных поверхностей, пазов і канавок в разнообразных деталях, а также различных видов штампов, устанавливаемых непосредственно на столе или в приспособлениях. Возможность поворота рамы з долбяком позволяет обрабатывать наклонные плоскости, не меняя позиции детали.

Стол перемещается как вручную, так і механически. Круговая подача стола дает возможность обрабатывать на станке круглые детали і зубчасті колеса.

Принцип роботи долбежного верстата 7430

Резец специальной конфигурации закрепляют в резцедержателе долбяка. Обрабатываемую деталь устанавливают на круглом столе верстата. Рух долбяка вниз является рабочим ходом, в течение которого происходит снятие стружки з обрабатываемой детали. Рух долбяка вверх представляет собой холостой ход, в кінці которого происходит продольная или поперечная подача стола з деталью или поворот стола вокруг вертикальной оси (круговая подача). При обработке плоскостей столу сообщается продольная или поперечная подача, а при обработке цилиндрических участков поверхностей — круговая подача.

Механізм ручного поворота стола снабжен специальным делительным пристрійм, позволяющим делить заготовку на любое нужное количество равных частин или поворачивать стол з заготовкой на заданный угол.

Конструктивные особливості

В отличие от ряда моделей верстатів з кулисным приводом долбяка і механическим приводом подачі в станке моделі 7430 возвратно-поступательное рух долбяку сообщается гідроприводом, а продольные, поперечные і круговые подачі стола осуществляются гідромеханическим пристрійм.

Долбяк соединен з рабочим цилиндром, а скалки поршня робочого цилиндра закреплены неподвижно. Реверсирование руху долбяка і налаштування на требуемую величину ходу осуществляют посредством упоров, находящихся в боковом пазу долбяка. Место ходу долбяка настраивается переміщенням долбяка относительно цилиндра.

Механическая подача стола і перемещение его вручную одновременно невозможны благодаря наличию блокировочного механізма. Для обробки матриц, штампов і других подобных деталей з наклонными внутренними поверхностями направляющие долбяка могут быть повернуты на угол до 10°. На нижнем кінці долбяка имеется отверстие для крепления резцовой головки, которая може быть повернута вокруг своей оси на 360°

Технічні характеристики долбежного верстата з гідравлическим приводом 7430

Изготовитель Гомельский станкостроительный завод, СтанкоГомель.





7430 Посадочные і присоединительные базы долбежного верстата

Рабочий стол долбежного верстата 7430

Рабочий стол долбежного верстата 7430


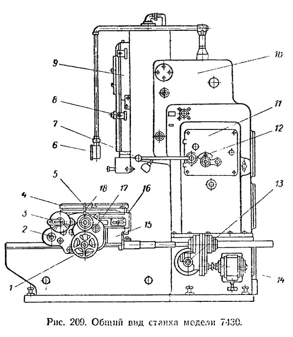
7430 Розташування складових частин долбежного верстата

7430 Розташування складових частин долбежного верстата з гідроприводом

Розташування основних вузлів долбежного верстата 7430


Специфікація складових частин долбежного верстата 7430

Специфікація складових частин долбежного верстата 7Д450

  1. квадрат ручного продольного переміщення стола;
  2. рукоятка делительного пристроя поворота стола;
  3. рукоятка увімкнення і виключення подач;
  4. кнопочная станція;
  5. рукоятка пуска і остановки верстата;
  6. квадрат для установки места ходу долбяка;
  7. рукоятка установки скорости ходу долбяка;
  8. рукоятка установки величины подачі;
  9. квадрат ручного поперечного переміщення стола;
  10. рукоятка реверсирования стола;
  11. маховичок ручных продольных і поперечных перемещений стола.




7430 Розташування органів керування долбежным верстатом

Розташування органів керування долбежным верстатом 7430 з гідроприводом

Розташування органів керування долбежным верстатом 7430

Список органів керування долбежным верстатом 7430

  1. маховичок ручных продольных і поперечных перемещений стола;
  2. квадрат ручного продольного переміщення стола;
  3. рукоятка делительного пристроя поворота стола
  4. стол;
  5. рукоятка увімкнення і виключення подач;
  6. кнопочная станція;
  7. рукоятка пуска і останова верстата;
  8. квадрат для установки места ходу долбяка;
  9. долбяк з резцовой головкой;
  10. станина;
  11. гідропанель керування гідросистемой;
  12. рукоятка установки скорости ходу долбяка;
  13. рукоятка установки величины подачі;
  14. привід подач;
  15. поперечные салазки;
  16. продольные салазки стола;
  17. квадрат ручного поперечного переміщення стола;
  18. рукоятка реверсирования стола.




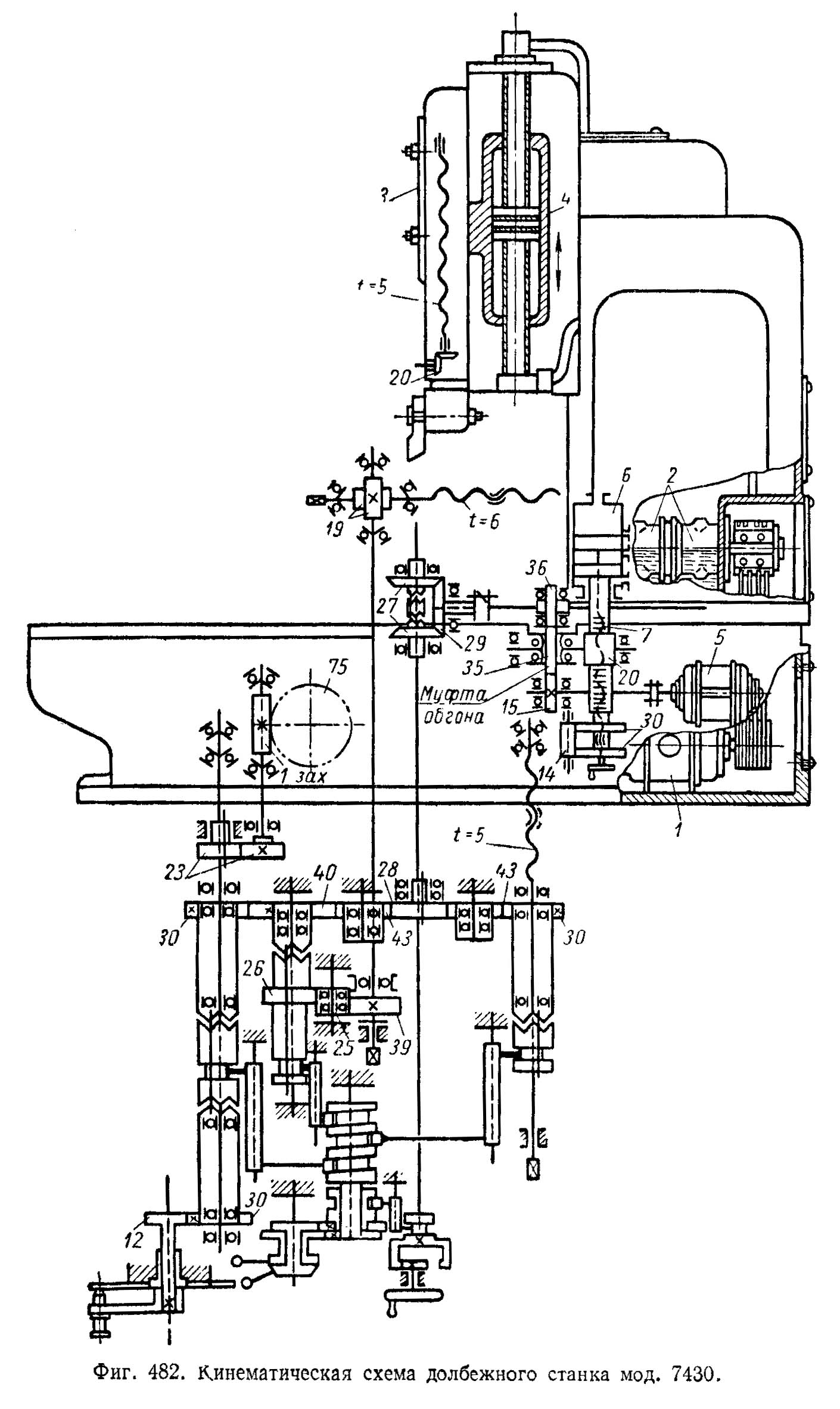
7430 Кінематична схема долбежного верстата

7430 Схема кінематична долбежного верстата з гідроприводом

Кінематична схема долбежного верстата 7430

1. Схема кінематична долбежного верстата 7430. Дивитись у збільшеному масштабі

2. Схема кінематична долбежного верстата 7430. Дивитись у збільшеному масштабі



Движения в станке

Рух різання

Возвратно-поступательное перемещение долбяка з резцом осуществляется гідроприводом, получающим питание от сдвоенного насоса Н1 і Н2 производительностью соответственно 25 і 100 л/мин. Этот насос приводится в рух електродвигуном мощностью 7 кВт через клиноременную передачу 175—255 (рис. 120, б). Масло, нагнетаемое насосами Н1 і Н2, попеременно поступает в нижнюю или верхнюю (полость робочого цилиндра Ц1 жестко связанного з долбяком.

Движения подач

Подача стола осуществляется в момент реверсирования долбяка з холостого на рабочий ход, а зарядка механізма подач происходит при переключении долбяка з робочого ходу на холостой. При подходе долбяка к верхнему крайнему положению масло от насоса И\ поступает в рабочую полость цилиндра Ц2 і перемещает вниз поршень со штоком Ш. Последний связан со стаканом Сн, на котором нарезана рейка. Реечное колесо 20, находящееся в зацеплении з рейкой, поворачивает вал I, муфту обгона Мо і шестерню 35, которая зацепляется з колесом 36, установленным на валу II. От вала II через конічний реверс 27—29—27, управляемый муфтой М1, приводится во вращение вал III, от которого цели подач разветвляются.

Продольная подача стола осуществляется но ланцюги: шестерни 28—43—30, муфта М2, ходовой винт IV.

Поперечная подача сообщается от шестерни 28 через шестерни 43—40, муфту М3, шестерни 26—25—39, вал V і винтовую зубчатую передачу 19—19 ходовому винту VI. Круговую подачу стол получает от шестерни 28 через шестерни 43—40—30, муфту М4, вал VII, цилиндрическую передачу 23—23, вал VIII і червячную передачу 1—72.

Вспомогательные руху

Ручні продольные і поперечные переміщення стола осуществляются маховичком МХ1 через зубчатую передачу внутреннего зацепления, вал III і далее по цепям механических подач. Установочное перемещение стола в продольном направлении производится квадратом К1 в поперечном направлении — квадратами К2 і Кз. Поворот стола при делении заготовки на равные частини осуществляется рукояткой Р з помощью делительного диска Д, прикрепленного к столу, при включении муфты М4 вниз.

Для быстрых перемещений стола предусмотрен електродвигатель мощностью 1,7 кВт, рух от которого передається через шестерни 15—35, муфту обгона Мо і по кинематическим цепям рабочих подач.

Налаштування верстата на требуемую величину подачі производится маховичком Мх2, при вращении которого посредством шестерен 30—14—30 поворачивается гайка Г, устанавливающая упор У, который ограничивает ход стакана Сн з рейкой.

Длина ходу долбяка настраивается переставными упорами У1 і У2 (рис. 120, а), место ходу его обесточивается поворотом квадрата К4 (рис. 120, б) через конические шестерни 20—30 і вертикальний ходовой винт XI, перемещающий долбяк относительно цилиндра.





Гідропривід верстата 7430

7430 Схема Гідравлічна долбежного верстата з гідроприводом

Гідравлічна схема долбежного верстата 7430

Гідравлічна схема долбежного верстата 7430. Дивитись у збільшеному масштабі



После увімкнення електродвигуна масло, подаваемое насосом Н2 (рис. 120, а), через дроссель Д поступает в золотник 32.

При положении золотника 32, указанном на схеме, через левую его выточку масло направляется в левый канал поворотного сальника С і в верхнюю полость робочого цилиндра Ц1, осуществляя холостой ход долбяка. Из нижней полости робочого цилиндра через правый канал поворотного сальника С, правую выточку золотника 32 і выточки 1 і 2 золотника керування 3, масло сливается в бак.

В кінці холостого ходу долбяка нижний переставной упор У1, воздействуя на рычаг Р, перемещает золотник 31 влево. В етот момент часть масла от насоса подач Н1 через выточки 3 і 4 і обратный клапан Ок1 поступает под правый торец золотника 32 і смещает его влево; при етом масло от насоса Н2 через дроссель Д і правую выточку золотника 32 будет поступать в правый канал поворотного сальника С і в нижнюю полость робочого цилиндра Ц1, осуществляя рабочий ход долбяка. Масло, находящееся в верхней полости цилиндра Ц\, через левый канал сальника, левую выточку золотника 32 і выточки 5 і 6 золотника 31 будет сливаться в бак. По окончании робочого ходу долбяка верхний переставной упор У2 рычагом Р сместит золотник 31 вправо; при етом часть масла от насоса Н1 подач через выточки 7 і 8 і обратный клапан Ок2 поступит под левый торец золотника 32 і переместит его вправо; в етом случае долбяк будет совершать холостой ход, повторяя цикл роботи.

Зарядка цилиндра подач Ц2 происходит следующим образом. При ходе долбяка вверх от насоса Н1 масло поступает под правый торец золотника подачі 33. смещая его влево; масло, находящееся слева от золотника 33, проходя по каналам і через выточки 4 і 9. сливается в бак.

Основной поток масла от насоса подачі Н1 через правую вы точку золотника 33поступаетв нерабочуюполостьцилиндра подач Ц2. Масло из рабочей полости етого цилиндра через левую выточку золотника З3 сливается в бак.

При ходе долбяка вниз масло, подаваемое насосом подачі Н1, через выточки 3 і 4 поступит под левый торец золотника Зз і сместит его вправо, а масло, находящееся справа от золотника З3, поступит к систему. Такое смещение произойдет ввиду разности и. сечениях левой і правой полости цилиндра золотника 33. При правом положении золотника Зз основной поток масла от насоса Н1 пойдет через левую его выточку і рабочую полость цилиндра подач Ц2, осуществляя подачу.


7430 Технічні характеристики долбежного верстата

Технічні характеристики долбежного верстата 7430

Технічні характеристики долбежного верстата 7430

Технічні характеристики долбежного верстата 7430. Дивитись у збільшеному масштабі







7430 Долбежный верстат з гідравлическим приводом. Відеоролик.




Технічні характеристики долбежного верстата 7430

Наименование параметра 7430 7М430 7Д430 7Д450
Основні параметри верстата
Класс точності верстата Н Н Н Н
Ход долбяка H1, мм 125..380 120..320 120..320 120..500
Диаметр стола, мм 650 630 630 800
Расстояние от плоскости стола до направляючих долбяка Н, мм 420 500 500 700
Расстояние от долбяка до станины (вылет) l, мм 560 590 615 710
Наибольшая высота обрабатываемого вироби при обработке наружной поверхности, мм 300 320 500 650
Наибольшая высота обрабатываемого вироби при обработке внутренней поверхности, мм 250 250 325
Долбежная головка верстата (долбяк)
Наибольшее перемещение долбяка, мм 570 500 700
Наибольший угол поворота долбяка в направлении поздовжньої подачі, град 10 10 10
Наибольшее сечение резца, мм 40 х 25 32 х 20 40 х 25
Скорость долбяка под нагрузкой, м/мин 3..38 3..38
Установочное регулювання ходу долбяка, мм
Наибольшее усилие різання, кг
Рабочий стол верстата
Наибольшие переміщення стола продольные (по направляющим станины), мм 635 650 650 800
Наибольшие переміщення стола поперечные (по направляющим салазок), мм 635 500 510 650
Наибольшие переміщення стола круговые, град 360° 360° 360° 360°
Цена деления лимба при продольном і поперечном перемещении стола, мм 0,2 0,1 0,1
Цена деления лимба при круговом перемещении стола, град 1 1 1
Пределы подач за один двойной ход продольные, мм 0,1..1,25 0,2..2,4 0,1..2,5 0,1..2,5
Пределы подач за один двойной ход поперечные, мм 0,1..1,25 0,2..2,4 0,1..2,5 0,1..2,5
Пределы подач за один двойной ход круговые, град 0..2,0° 0,1..1,4° 0,1..1,4° 0,1..1,4°
Скорость швидкого переміщення стола продольная, мм/мин 2,5 2,8 2,8
Скорость швидкого переміщення стола поперечная, мм/мин 2,5 2,8 2,8
Скорость швидкого переміщення стола круговая, об/мин 4,07 4,5 4,5
Електроустаткування. Привод
Количество електродвигателей на станке 3 3 3
Електродвигун гідроприводу (головного руху), кВт 7 7 10 10
Електродвигун ускоренного переміщення стола, кВт 1,7 2,2 3,0
Електродвигун електронасоса СОЖ, кВт 0,12 0,12 0,12
Суммарная мощность електродвигателей, кВт 8,82 12,32 13,12
Габарити і масса верстата
Габарити верстата (длина ширина высота), мм 2500 х 1990 х 2670 2650 х 1810 х 2890 3030 х 2175 х 3010 3540 х 2890 х 3465
Масса верстата, кг 5500 5200 5700 8200


    Список литературы:

  1. Аврутин Р.Д. Справочник по гідроприводам металлорежущих верстатів,1965
  2. Гинсбург Е.Г. Производство зубчатых колес, 1978
  3. Калашников А.С. Технология изготовления зубчатых колес, 2004
  4. Копылов Р.Б. Работа на строгальных і долбежных верстатах, 1975
  5. Мильштейн М.З. Нарезание зубчатых колес, 1972.
  6. Овумян Г.Г., Адам А.И. Справочник зубореза, 1983.
  7. Сильвестров Б.Н., Захаров И.Д. Конструкція і наладка зуборезных і резьбофрезерных верстатів, 1979.
  8. Шавлюга Н.И. Расчет і примеры наладок зубофрезерных і зубодолбежных верстатів, 1978.
  9. Яковцев А.Д. Работа на строгальных і долбёжных верстатах, 1966








Даже если Вы находитесь на правильном пути, то никуда не доберетесь, если будете просто стоять на одном месте.

Уилл Роджерс